Головной вагон. Оборудование головного вагона электропоезда ЭР2 с измененной лобовой частью (см. рис. 4,а) расположено в кабине машиниста, служебном помещении, в служебном тамбуре и под вагоном. В кабине машиниста (рис. 6) находятся аппараты управления, сигнализации, контроля, радиовещания, а также радио-и телефонной связи. Эти аппараты расположены на пульте управления со стороны машиниста и помощника машиниста, а также на задней стенке кабины.
Аппараты, находящиеся на центральном пульте, скомпонованы по принципу их назначения в отдельные съемные блоки. Соединение электрических цепей блоков с цепями вагона осуществляется штепсельными разъемами ШР. Они установлены внутри пульта и закрыты съемной крышкой.
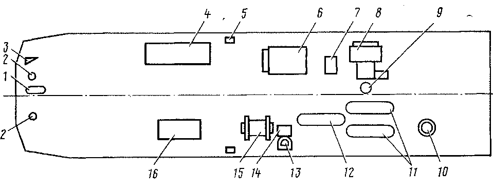
В блоках в соответствии с их назначением установлено оборудование (рис. 7).
В блоке А смонтированы аппараты управления 33 (см. рис. 6) — переключатель и кнопка АЛСН, рукоятка бдительности 31, аппараты управления системой оповещения 34 — переключатель для переговоров по радио и оповещения пассажиров, регулятор громкости, кнопка звонка, выключатели управления наружными раздвижными дверями 27; в блоке Б — скоростемер 20, освещение скоростемера 21, радиостанция ЖР-ЗМ 22, выключатель освещения скоростемера 23, телефон 24; в блоке В — вольтметр 14; в блоке Г — второй пульт управления радиостанции ЖР-ЗМ 9. (На электропоездах более позднего выпуска второй пульт радиостанции расположен слева от сиденья помощника машиниста на боковой стенке.)

Рнс. 6. Расположение оборудования в кабине машиниста электропоезда ЭР2 (а) и общий вид кабины (б)

Рис. 7. Схема расположения блоков на пульте управления электропоезда ЭР2
В блоке Д установлены выключатель управления 38 и предохранители 16. На электропоезде ЭР2Р в этом блоке смонтирована рукоятка для регулирования уставки реле ускорения (БРУ). В блоке К перед машинистом, находятся все основные выключатели 18 управления поездом («Возврат БВ и РП», «Токоприемник поднят», «Токоприемник опущен», «Пониженное ускорение», «Ручной пуск», «Питание дверей», «Зеленый свет», «Управление песочницей», «Пониженное» освещение пульта», «Нормальное» освещение пульта). На электропоезде ЭР2Р, кроме перечисленных выключателей, смонтированы выключатели: возврат защиты, аварийный ЭПТ (отпуск тормоза), освещения кабины и измерительных приборов на пульте.
В блоке Л установлены сигнальные лампы 15 [реле напряжения (РН), контроля закрытия двер'ей, реле перегрузки тяговых двигателей (РП), быстродействующий выключатель (БВ), линейный контактор (ЛК), реле боксования (РБ), реле перегрузки динамотора (РПД), реле перегрузки компрессора (РПК), реле перегрузки отопления (РПО), сигнализатора отпуска тормоза (СОТ), торможения (Т), отпуска (О) контроля целостности проводов электротормоза (К)1; в блоке М — манометры 17 (тормозного цилиндра, уравнительного резервуара, тормозной и напорной магистралей); в блоке О — переключатели обогрева лобовых и боковых окон кабины машиниста 10, обогрева окон кабины машиниста 11, тормозной переключатель ПТ 39.
В блоке Р предусмотрены место для расписания движения поездов 8, лампа для освещения расписания 7.
В блоке С смонтирован переключатель 12 яркости сигнальных ламп; в блоке У — розетки 19 телефона, пульт управления 25 усилителя УП-50.
'На пульте установлены также локомотивный светофор 13, кран машиниста 26, микрофоны 32 для оповещения и переговоров, переключатель 28 прожектора на тусклый свет, контроллер машиниста 36.
Со стороны помощника машиниста расположены маховик ручного тормоза 4, отделения для технической документации 3 и для аптечки 5, штепсельные разъемы 6 для подключения цепей обогрева лобовых и боковых окон.
Под пультом на полу перед креслом машиниста установлена педаль для воздействия на клапан тифона и свистка. Такая же педаль находится также и перед креслом помощника машиниста. Внутри пульта управления смонтированы предохранители и рейка зажимов с проводами (рис. 8).
На задней стенке кабины расположены розетки / (см. рис. 6, а) маршрутного указателя, панель 2 с кнопками В К и В системы АЛСН, громкоговоритель 40 для переговоров между кабинами, светильник 37 для освещения кабины, лампы

Рис. 8. Расположение предохранителей и проводов в пульте управления электропоезда ЭР2 (начиная с № 1028)

Рис. 9. Планировка головного вагона электропоезда ЭР2 (с № 1028):
1 — шкаф с выключателями вспомогательных цепей; 2 — шкаф с панелью управления и регулятором давления АК-ПБ; 3— шкаф с усилителем, передатчиком и блоком питания радиостанции; 4 — шкаф с реле, панелью отопления и вентиляции; 5 — шкаф с аппаратами локомотивной сигнализации; 6 — шкаф для одежды локомотивной бригады; 7 — шкаф с рейками для междувагоИ' иых соединений; 8 — шкаф свободный
зеленого света 30, громкоговоритель радиостанции 35, панель 29 блока ВВ с выключателями вспомогательных нужд. Доступ к внутреннему монтажу блока осуществляется через двери шкафа / (рис. 9) служебного тамбура.
В блоке ВВ скомпонованы выключатели: освещения кабины, маршрутного указателя, сигналов красного огня, буферных фонарей, сигнальных ламп освещения, дежурного освещения, вентиляции, отопления, вспомогательного компрессора, отопления кабины, радиосвязи, выключатель с вольтметром, выключатель ВА отключения ЭПК системы АЛСН и обогрева маслоотделителя. Над блоком ВВ находится блок Т с термоконтакторами, регулирующими температуру воздуха в кабине.
В шкафу 2 (см. рис. 9) находится блок с регулятором напряжения СРН (рис. 10), а также контакторы батарей КБ1 и КБ2, промежуточное реле батареи ПРА, полупроводниковый диод ДБ, выполняющий функции реле обратного тока генератора, регулятор давления АК-ПБ, контакторы вентиляции В, главного освещения ОС, обогрева влагомаслосборника ОМ, промежуточного реле отопления ПРО, реле промежуточное термоавтоматики ПТР, реле токовое вентиляторов ТРВ, предохранители Пр1, — Прб, Пр9 — Пр14, резистор вентилятора и рейки зажимов 9.
На электропоездах с № 1101 вместо вибрационных регуляторов напряжения во 2-м шкафу установлен бесконтактный регулятор напряжения БРЗГ (блок регулирования и защиты генератора).
В шкафу 3 (см. рис. 9) размещены усилитель радиооповещения У400, приемопередатчик, блок питания радиостанции и переходное устройство из комплекта аппаратуры радиооповещения «ТОН».
В шкафу 4 (см. рис. 9) расположена панель с аппаратами электропневматического тормоза, вентиляции и отопления кабины (рис. 11).,
В шкафу 5 (см. рис. 9) находятся аппараты локомотивной сигнализации и отопительный канал.С обеих сторон служебного тамбура у задней стенки кабины машиниста расположены шкаф 6 для одежды и шкаф /, где размещены: элект- * ропневматический клапан автостопа, кран двойной тяги, электрический звонок, штепсельные разъемы, вентиль замещения электропневматического торможения пневматическим. На каркасах этих шкафов около наружных дверей установлены панели с выключателями управления раздвижными дверями и лампы сигнализации закрытого положения дверей, а также пульты радиооповещения «ТОН».

Рис. 10. Расположение электрооборудования в шкафу 2 головного вагона электропо-езда ЭР2;
'л~ Р™?С1??Ы Рег>'ЛЯТ0Ра напряжения; 2 - регулятор напряжения; 3 - лампы контроля изоляции: 4 — контактор включения вентиляции; 5 —контактор включения освещения; 6 ^ диод- 7 — контактор включения обогрева влагомаслоотделителя; 8 - резистор двигателей вентиляторов- 9 — рейки

РИС- і*- -^положение электрооборудования в шкафу 4 головного вагона электропоезда ЭР2: г
І^.РЛ,ЛЄ К.0НТР°ЛЯ безопасности; 2 - реле блокировки лестницы; 3 - реле электропиевматического тормоза; 4 - реле торможения; 5-контактор включения вентиляции кабины; «™релГ отпуска *7-промежуточное реле термоавтоматики кабины; «-реле контроля отпуска тормозов (олок-реле), У реле токов вентилятора кабины машиниста

Рис. 12. Расположение оборудования под кузовом головного вагона электропоезда ЭР2
В канале КО рядом со шкафом / расположены электронагреватели отопления кабины и термоконтакт с легкоплавким сплавом. Над шкафом 6 расположен шкафчик для продуктов и термоса. В торцовом шкафу 7 смонтированы рейки для междувагонных соединений.
На крыше вагона размещена антенна радиостанции.
Под вагоном установлены ящик с аккумуляторной батареей'4 (рис. 12), тормозной цилиндр 15, маслоотделитель 10 с электрообогревателем, электровоздухораспределитель 13, воздухораспределитель 14, запасной резервуар 12 вместимостью 78 л, компрессор 8, два главных резервуара // по 170 л каждый, делитель напряжения с генератором управления 6, камера 7 с контакторами Я К-125, уравнительный резервуар / вместимостью 20 л, свисток 2, тифон 3, фильтр 9, розетка 5 типа РЗ-8Б, камера 16 с контакторами Я К-104 (для включения вспомогательных цепей).
Моторный вагон. Электрическое и пневматическое оборудование размещено на крыше вагона, в шкафах тамбура и под кузовом вагона (рис. 13, а). На крыше вагона находятся токоприемник Л-13У (Л-14М), дроссель и конденсатор для защиты от радиопомех, два разрядника РМВУ-3,3; опорные изоляторы и соединительная шина для параллельной работы токоприемников.
Для подъема на крышу вагона имеется выдвижная лестница с блокировочным устройством.


Рис. 14. Расположение оборудования под кузовом прицепного вагона электропоезда ЭР2
Шкаф 1 (рис. 13, б) тамбура низковольтный. В нем установлены разъединитель цепей управления РУМ, четыре реле РП-23-17, реле РРУ, ПРО, БР1, БР2, реле ТРВ1, контакторы В, ОС, ПРУ, ОМ, панель ІІР-345, три пакетных выключателя (БВ, «Управление» и «Дежурное освещение»), кнопки «Токоприемник поднят» и «Токоприемник опущен», рейки с зажимами. В шкафу 1 также находятся пневматический клапан токоприемника, регулятор давления А К-11Б, манометр, сигнальные лампы, выключатель освещения подножек.
Шкаф 2 тамбура высоковольтный. В нем установлены счетчик электроэнергии с шунтом, ящик с добавочными резисторами, панель с реле ускорения ПР-102, амперметр. Двери шкафа имеют электрическую блокировку.
Шкаф 3 свободный, в шкафу 4 смонтированы рейки с зажимами.
На тележках установлены тяговые двигатели 1 типа УРТ-НОБ (см. рис. 13, а). К кузову вагона крепится камера 2 (ЯК-106Д-5), в которой уста-новлены высоковольтный предохранитель вспомогательных цепей, главный разъединитель, силовой реостатный контроллер, реверсивный переключатель, а также реле РН, РБ1, РБ2, ПРО, РП1-2, защитная панель с дифференциальным реле, блок резисторов, электромагнитные контакторы МК1, МК2.
Под кузовом находятся: два ящика 3 пусковых резисторов (КФ-115А); резисторы 5 ослабления возбуждения (КФ-ЗЗУ); ящик 6 для размещения запасных частей (ЗИП); камера 4 (ЯК-125Б-2), в которой смонтированы контакторы МК для подключения цепей отопления вагона; тормозные цилиндры 7-—по два на каждую тележку; два индуктивных шунта 8, два запасных резервуара 9 вместимостью по 78 л каждый; влагомаслоотделитель 10; воздухораспределитель //; электровоздухораспределитель 12; вспомогательный компрессор 13 для подъема токоприемника; камера 14 (ЯК-П5А) с электропневматическими контакторами ЛК 1-2, М, II 1-2, Ш 1-2; быстродействующий выключатель 15 (БВП-105А1). Там же расположены относящиеся к тормозной системе реле давления и сигнализатор неотпуска тормозов (СОТ), а также бункера песочницы 16.
Прицепной вагон. Расположение шкафов в тамбурах прицепного вагона аналогично показанному на рис.13, б для моторного вагона. В шкафу 1 установлена панель ПА-368, на которой смонтированы контакторы В, ОС, реле ТРВ, полупроводниковый диод ДБ, контактор ОМ, регулировочный реостат двига-телей-венти ля тор ов, предохранители низкого напряжения. На панели ПУ-10Г этого же шкафа установлены регулятор напряжения СРВ с блоком резисторов, рубильник аккумуляторной батареи, два предохранителя, амперметр и вольтметр аккумуляторной батареи. На панели ПР-138 смонтированы реле КБ1, КБ2 и ПРА. Кроме того, в шкафу расположены реле ПРО и ПТР. На левой стенке шкафа установлен выключатель ПОБ для включения наружного и внутреннего питания. Внизу находится рейка с зажимами для низковольтных проводов. На электропоездах с № 1101 в шкафу 1 прицепного вагона, так же как
и на головном вагоне, вместо вибрационных регуляторов напряжения СРН установлен бесконтактный регулятор напряжения БРЗГ. Шкаф 2 используют как подсобное помещение. Шкафы 2 и 3 свободные. В шкафу 4 находятся рейки с зажимами.
На крыше проложены провода параллельного соединения токоприемников, на концах крыши для этого предусмотрены опорные изоляторы.
Под кузовом вагона расположены ящик ЯК-ЮБ / (рис. 14) с контакторами и реле, аккумуляторная батарея 5, маслоотделитель 2, делитель напряжения 3, электрокомпрессор 10 с фильтром 11, электровоздухораспределитель 7, воздухораспределитель 8, тормозной цилиндр 6, два главных резервуара 4 вместимостью по 170 л каждый и один резервуар 9 вместимостью 78 л.
|
|