СЦБИСТ - железнодорожный форум, фотогалерея, социальная сеть


§ 71. Реле, бесконтактные датчики, регуляторы напряжения и блоки защиты

Общие сведения. На э.п.с. реле используют в устройствах защиты, при автоматизации процессов управления, а также в качестве промежуточных для размножения или передачи сигналов от одной цепи управления в другую. Наибольшее распространение получили электрические реле, а для выполнения некоторых специальных функций — тепловые, воздухоструйные и другие. По виду контролируемого параметра (входной величины) различают реле тока, напряжения, времени, реле оборотов, давления и др. По значению параметра, на которое они реагируют, различают реле максимальные (срабатывают при возрастании контролируемой величины) и минимальные (при уменьшении ее). Реле, срабатывающие при определенных значениях разности контролируемых величин, называют дифференциальными. По принципу действия реле делят на контактные — электромагнитные, электродинамические, тепловые и т. д. и бесконтактные — магнитные, полупроводниковые.

Рассмотрим конструкции реле, наиболее распространенных на э.п.с.

Реле максимальной токовой защиты (реле перегрузки). Эти реле служат для защиты тяговых двигателей или вспомогательных машин от перегрузки и токов к.з. Реле срабатывают, когда ток в цепи тяговых двигателей или цепи вспомогательных машин превышает ток уставки реле.

Реле перегрузки электромагнитные имеют токовую катушку, включенную последовательно в защищаемую цепь. Реле выпускают без механизма возврата (самовосстанавливающиеся) и с механизмом возврата (восстанавливаемые).

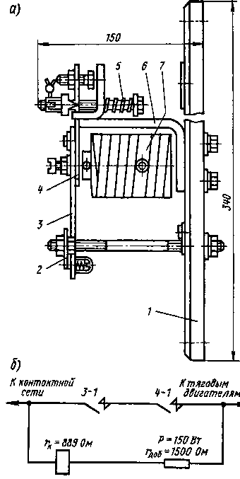
К самовосстанавливающимся относят, например, реле перегрузки РП-1, РТ-253, РТ-255, РТ-406, РТ-410, РТ-430, РТ-102, РТ-500, РТ-502 различных исполнений. Якорь этих реле после размыкания цепи и исчезновения тока в катушке автоматически возвращается в исходное рабочее положение, и контакты цепи управления вновь замыкаются Указанные реле по конструкции (рис. 201) максимально унифицированы. К восстанавливаемым относят реле перегрузки типов РП-5, РП-429, РП-19, Р-103/Р-102, РП-ЗБ, РМ-165 и РП-14А, у которых контакты после размыкания цепи не возвращаются в исходное рабочее положение. Реле этих типов используют вместе с контакторами, что обеспечивает повторное замыкание цепи только по усмотрению машиниста.

Характерной особенностью реле перегрузок является большое значение отношения тока срабатывания к номинальному току; обычно оно равно 1,5—2,0 Реле перегрузки типов РП-19, РП-14А, Р-103/Р-102 (рис. 202) и РП-18В компактны, универсальны по конструкции, в которой использованы возможности уменьшения габаритных размеров и технологического упрощения деталей магнито-провода, определяемые условиями работы импульсных реле. Конструкция реле позволяет применить для одного, двух, трех реле и более один механизм восстановления, блок-контакты которого переключаются при срабатывании любого реле.

Зазор б между планкой 6 и шпилькой обеспечивает накопление кинетической энергии движущимся якорем. Чтобы определить цепь, в которой сработало реле, применен указатель. Когда якорь притягивается к сердечнику под действием собственного веса, указатель занимает вертикальное положение (на рис. 202 показано штриховыми линиями).

Регулируют реле перегрузки на определенный ток срабатывания, изменяя натяжение пружины 16 регулировочным винтом; требуемое усилие пружины 14 может быть установлено регулировочным винтом 13

Дифференциальные реле. Дифференциальное реле предназначено для защиты электрооборудования при малых токах к.з., малой скорости нарастания больших токов к.з. или при таких перебросах в цепи двигателей, когда образуется контур тока, в который не включены другие защитные аппараты. Работа дифференциальных реле основана на принципе сравнения токов в начале и конце защищаемой цепи. Дифференциальные реле, установленные на э.п.с., обычно вызывают отключение быстродействующих выключателей (при замыкании или электрических пробоях на землю в цепи тяговых двигателей) или контакторов (при аварийном режиме в цепи вспомогательных машин).


Якорь 1 дифференциального реле (рис. 203) к магнитопроводу 6 притягивается под действием усиленного магнитного потока подмагничивающей катушки 7, вызванного временным увеличением тока в ее витках. После притяжения якоря ток в подмагничивающей катушке уменьшается, однако якорь удерживается притянутым под действием меньшего магнитного потока. Ступенчатое изменение магнитного потока подмагничивающей катушки увеличивает чувствительность реле и уменьшает расход электроэнергии.

Одновременно с притяжением якоря к магнитопроводу замыкаются контакты 8 и 9, включенные последовательно в цепь удерживающей катушки быстродействующего выключателя БВ.


Силовые катушки 4 к 5 включены в цепи тяговых двигателей соответственно со стороны источника энергии и со стороны земли. Магнитные потоки этих катушек направлены встречно, причем магнитный поток катушки 5 имеет то же направление, что и магнитный поток подмагничиваюшей катушки 7. При исправной силовой цепи результирующий магнитный поток равен нулю. Якорь 1 удерживается потоком катушки 3.


Рис. 203. Принципиальная схема включения дифференциального реле

В случае замыкания на землю, например в точке А, через силовую катушку 4 проходит ток /, а через катушку 5 — ток I — /„, где /к — ток, ответвляющийся в землю в точке А. Неравенство токов катушек 4 и 5 вызывает появление магнитного потока, направленного встречно потоку подмагничиваюшей катушки 7. При увеличении тока I уменьшается результирующий поток, проходящий через якорь реле, и сила притяжения якоря к магнитопроводу. При некотором значении тока /к сила притяжения становится недостаточной для удержания якоря и пружина 2 отрывает якорь от магнито-провода; контакты 8 и 9 размыкают цепь удерживающей катушки БВ, и он выключается, что предотвращает возможное повреждение какого-либо аппарата или тягового двигателя. Магнитный поток, создаваемый током небаланса при большом токе к.з., проходит через магнитный шунт 3 и якорь 1. Как только якорь / отпадет от сердечника, большая часть магнитного потока будет проходить по магнитному шунту, так как воздушные зазоры между шунтом и магнитопрово-дом значительно меньше, чем воздушный зазор между якорем и магнитопроводом. Если бы не было шунта 3, то весь магнитный поток проходил бы через якорь / и перемагничивал магнитную систему реле


Конструкция дифференциального реле показана на рис. 204, а.

Иногда дифференциальные реле изготовляют с двумя низковольтными катушками подмагничивания При этом якорь в притянутом положении удерживается магнитным потоком только одной катушки.

Такими являются дифференциальные реле типов Д-2, ПР-114А, 1СВ, 7СВ и др. Когда по подмагничивающим катушкам протекает ток цепи управления и в силовой цепи нет короткого замыкания, то образуется магнитный поток Ф, (рис. 204, б), который проходит по стержням I и III и через воздушные зазоры а, — а4, создавая в последних одинаковые м.д с. На якорь II в этом случае действует только пружина 14\ он прижат к упо-РУ 13.

При к.з. или перебросе в цепи тягового двигателя ток в одном из силовых проводов будет больше, чем в другом. Разность этих токов создаст в стержнях I и. III результирующий поток небаланса Ф2, который уменьшит индукцию в зазорах а2 и а3 и увеличит ее в зазорах а1 и а4. М.д.с., создаваемые потоком небаланса, складываются с м.д.с. от потока катушек на одних участках и вычитаются на других. Поэтому якорь, преодолевая сопротивление пружины 14, поворачивается против часовой стрелки вокруг оси О,, размыкает контакты 12 в цепи катушки быстродействующего выключателя, и он отключается. На электропоездах переменного тока ЭР9М, ЭР9Т, ЭР9Е применяют бесконтактные дифференциальные реле РДБ-101А-1.

Блок дифференциальных реле БРД.

Блоки БРД-204 и БРД-356 устанавливают на электровозах ВЛ60К, ВЛ80К, ВЛ80Т, ВЛ80С для контроля скорости нарастания тока при аварийных режимах в силовых цепях. Если скорость превышает наибольшую, которая может быть в рабочем режиме, то блок срабатывает и своими контактами вызывает отключение главного выключателя.

Блок состоит из двух дифференциальных реле / и II, собранных на панелях 1 к 14 (рис. 205), скрепленных шпильками 13, и силовой шины 12 с индуктивным шунтом 15. Реле закрыто прозрачным кожухом 5. На панели 1 размещены добавочные резисторы 7. Ветви шины 12 пропущены Через окна двух магнитопроводов И и 16 навстречу друг другу. Концы А и Б шины 12 подключены к силовой цепи электровоза между равнопотенциальными точками двух выпрямителей. Активные сопротивления обеих ветвей различаются незначительно, так как ветви имеют равные длину и площадь сечения. Ветвь с индуктивным шунтом обладает большим индуктивным сопротивлением. Ток I распределяется по ветвям шины пропорционально их активным и индуктивным сопротивлениям. Поэтому при протекании общего тока I, меняющегося во времени, возникает небаланс токов: А/=/2 — /,. Значение Д/ зависит от скорости изменения тока и соотношения индуктивностей в ветвях шины.

М.д.с от тока небаланса Д/ в одном реле направлена в одну сторону, в другом — в противоположную. М.д.с. от катушки 10 действует на участке якоря 9 при показанном на рис. 205, б силовом токе в реле II встречно м.д.с. от тока небаланса, а в реле I согласно с ней. Поэтому при к.з. в блоке со стороны вывода Б резко возрастет ток в направлении от А к Б; в результате перераспределения тока в ветвях шины увеличится ток небаланса. Это вызовет срабатывание под действием отключающей пружины 8 реле //, которое своими контактами замкнет цепь отключающей катушки 17 главного выключателя. В этом случае реле I не сработает, так как на участке его действия м.д.с. от тока небаланса действует согласно с м.д.с. от удерживающей катушки 3.


Рис 205 Блок дифференциальных реле БРД-356 (а) и его схема (б)

При к.з. со стороны вывода А ток будет направлен от Б к А, что вызывает срабатывание реле I под действием пружины 6 и блокировки 2.

Якоря 4 и 9 реле притягиваются к сердечникам магнитопроводов II и 16 при подаче напряжения 50 В на последовательно соединенные катушки 3 к 10 нажатием кнопки «Выключение ГВ». После включения реле последовательно с удерживающими катушками вводятся резисторы, ограничивающие ток. При этом для удержания якорей 4 и 9 в притянутом положении достаточно меньшей м.д.с. Для регулирования тока в цепи катушек сопротивление резистора гд можно изменять.

Реле ускорения и торможения. Реле ускорения применяют на моторных вагонах для автоматического управления работой реостатного или группового контроллера, при помощи которого осуществляется разгон поезда. Реле ускорения реагирует на пусковой ток тяговых двигателей. Реле торможения применяют на моторных вагонах с электрическим торможением Оно реагирует на скорость выведения реостатным контроллером тормозных резисторов при электрическом торможении в зависимости от генераторного тока тяговых двигателей.

Все реле ускорения и торможения имеют токовую катушку, включаемую в цепь тяговых двигателей. При уменьшении тока в этой катушке до определенного значения реле срабатывает, вызывая действие аппаратов силовой цепи, переключающих ступени резисторов. Реле ускорения и торможения выполняют с магнитной системой соленоидного и клапанного типа.


Рис 206. Реле ускорения Р-40Б

На электросекциях преимущественно применяются менее чувствительные к тряске реле с магнитной системой клапанного типа.

Реле ускорения Р-40 (рис. 206) собирают на изоляционной панели 4. Оно имеет две катушки, установленные на сердечнике 2: токовую 1, включенную последовательно в цепь тяговых двигателей, и подъемную 3, включенную в цепь управления.

Сердечник этого реле втягивается внутрь катушки после соприкосновения контактов при значительном приращении тока тяговых двигателей. Для обеспечения четкого действия этого реле служит подъемная катушка 3, которая кратковременно получает питание от цепи управления в процессе перехода группового контроллера с одной позиции на другую. При этом катушка 3 резко увеличивает магнитный поток и вызывает притяжение якоря 7. Якорь затем удерживается магнитным потоком одной катушки 1, пока ток в цепи тяговых двигателей не уменьшится до определенного значения, при котором якорь под действием пружины 8 отпадет и замкнутся контакты 6 и 5.

Ток, при котором якорь реле отпадает, грубо регулируют, изменяя воздушный зазор (с помощью контакта 5), и более точно — натяжение пружины 8 с помощью винта 9.

Реле Р-40 выпускают различных исполнений и применяют в качестве реле ускорения (Р-40Б-9, Р-40В, Р-40В-1), ус-корения-торможения РУТ (Р-40-22), торможения РТ, РМТ (Р-40-18), обратного тока РОТ-П (Р-40-14). Все эти реле имеют одинаковую конструкцию и отличаются расчетными данными катушек.

Иногда параллельно контактам реле подключают конденсаторы. Так как в цепи управления ток постоянный, то он через конденсатор не проходит и последний на работу цепи управления не влияет. В момент разрыва цепи контактами реле вследствие того, что ток меняется от максимального значения до нуля, конденсатор заряжается, поглощая при этом большую часть энергии, выделяемой в цепи. Это и предохраняет контакты реле от подгорания, ослабляя образующуюся дугу.

Реле напряжения. Это электромагнитные реле с многовитковой катушкой из меди малой площади сечения; применяют их в качестве реле повышенного и пониженного напряжения, нулевых реле, промежуточных реле, реле контроля земли, реле времени, реле заземления.

Катушки таких реле обычно выполняют на напряжение до 500—600 В, а при более высоком напряжении включают последовательно с ними добавочный резистор. Это повышает надежность катушки по изоляции и обеспечивает меньшее влияние нагрева катушки на уставку реле, так как добавочный резистор делают из материала, имеющего значительно меньший температурный коэффициент (нихром, константан) по сравнению с медью.

Реле напряжения, как и реле перегрузки, подразделяют на восстанавливаемые и самовосстанавливающиеся. Однако реле напряжения с механизмом восстановления получили сравнительно небольшое распространение Более широко используются самовосстанавливающиеся реле. Они имеют простейшую конструкцию: магнитная система с якорем и катушкой и одна или несколько пар контактов.

В качестве реле максимального и пониженного напряжения, промежуточных и защитных применяют ряд электромагнит ных реле различных исполнений, но сходных по конструкции и принципу работы. Для примера на рис. 207, а показаны реле повышенного напряжения РПН-5 и РПН-3, применяемые на электровозах ВЛ10 и ВЛ8. Аналогичную конструкцию имеет промежуточное реле РП, реле низкого напряжения РНН-3, реле контроля защиты РКЗ-З электровозов ВЛ10, ВЛ8, ВЛ60, ВЛ60". Во избежание прилипания якоря к сердечнику и обеспечения высокого коэффициента возврата к якорю реле указанных типов приклепана латунная прокладка. Регулировку уставки реле осуществляют натяжением пружины 5.


Рис. 207. Реле повышенного напряжения РГТН-5 и РПН-3 электровозов ВЛ10, ВЛ8(а), реле времени РЭВ-312 (б), РЭВ-294 (в) и реле заземления РЗ-ЗОЗ (г) электровозов ВЛ80\ ВЛ80Т,

ВЛ80С-

1 — панель; 2 — магнитопровод, 3 — наконечник полюсный; 4 — якорь, 5 — пружина регулировочная, 6 — упоры, 7 — регулировочная гайка; 8 — регулировочная шпилька, 9 — стойка, 10 — рычаг; 11 н 16 — катушки, 12 — контакты мостикового типа; 13 — блокировка; 14 — пружина, 15 — демпферная медная трубка; 17 — указатель срабатывания, 18 — шток


Реле времени. В силовых цепях используют реле времени РЭВ-312 (рис. 207, б), в цепях управления — реле РЭВ-294 (рис. 207, в).

При включении в цепь постоянного тока катушек 16, обладающих самоиндукцией, ток, а значит, и сила притяжения нарастают не мгновенно, а по экспоненциальному закону. Точно так же спадает ток и соответственно тяговое усилие при отключении питания катушки 16. Демпферная медная трубка 15 увеличивает коэффициент самоиндукции. Регулировку реле времени от 0,5 до 3 с производят шпилькой 8. Реле промежуточные РП-277, РП-280, РП-282, РП-396, реле заземления РЗ-ЗОЗ (рис. 207, г), реле контроля земли РКЗ-306 электровозов ВЛ80“ и ВЛ80Т не имеют медной демпферной трубки; в остальном оии максимально унифицированы с реле РЭВ-312 и РЭВ-294. Реле РПН-5 и РПН-3 имеют блок-контакты мостикового типа. У реле РЭВ-312 и РЭВ-294 блокировка 13 представляет собой отдельный узел; в ней переключение контактов осуществляется штоком 18.

Реле и датчики боксования. Они служат датчиками для выявления боксования, когда сила тяги Р локомотива по абсолютному значению превысит максимальную силу трения Ттл% = (где Рк — давление колеса на рельсы; г|> — коэффициент сцепления). Обычно реле боксования не воздействуют на отключающие аппараты, а только включают сигнализацию и подачу песка или меняют ток уставки реле ускорения. Катушки реле боксования включают либо по мостовой (рис. 208, а), либо по дифференциальной схеме (рис. 208, б)

Разность напряжений на двигателях бок-сующей и небоксующей осей для схемы рис. 208, а (по второму закону Кирхгофа)

(/н6 = (Я + 4гХгі -**).

а для схемы рис. 208, б

иб~ инб=(И + 2г\ц -О),

где С1б и ииб — напряжения на двигателях соответственно боксующей и иебоксующей осей; 2г — сопротивление катушек реле боксования; Я — сопротивление плеча моста; /1 и І2 — токи в резисторах плеч моста.

При включении катушек реле боксования по схеме моста ток срабатывания равен /і —»2 = (Сраб. а по дифференциальной схеме — ток срабатывания г'і — к = 2/сраб Поэтому чувствительность реле боксования, включенных по схеме моста, в 2 раза выше, чем того же реле, включенного по дифференциальной схеме. В связи с этим включение реле боксования по схеме моста получило более широкое распространение.

В случае боксования колесной пары двигателя // ток в катушке реле боксования изменит направление, а с ее пере-магничиванием увеличивается собственное время, т. е. снижается чувствительность реле. Чтобы повысить чувствительность и уменьшить зону нечувствительности, на электровозах последних выпусков начали применять бесконтактные датчики боксования ДБ-018 (рис. 208, в).

По конструкции реле боксования типа РБ-4М или РБ-469 принципиально не отличается от обычного электромагнитного реле клапанного типа. При одинаковой частоте вращения двигателей М1 и М2 (см. рис. 208, а) потенциалы средних точек а и б равны. В случае бок-сования одной из колесных пар произойдет перераспределение напряжений, равновесие потенциалов нарушится и между точками а и б появится разность потенциалов. По катушкам потечет ток, и якорь реле притянется к сердечнику, в результате чего контакты замкнутся. Это вызовет подачу песка под колеса электровоза. Когда боксование колесной пары прекратится, якорь реле под действием отключающей пружины возвратится в исходное положение и контакты разомкнутся.

Датчик боксования ДБ-018 состоит из контрольного и исполнительного органов. Контрольный орган собран по схеме преобразователя постоянного напряжения (ППН), на входе которого включены (встречно) стабилитроны Ст1 и Ст2 (рис. 209) и конденсатор СІ. ППН состоит из двух транзисторов, трансформатора Т и выпрямительного моста (блок 1), фиксирующего полярность входного сигнала. Он преобразует постоянное напряжение в переменное прямоугольной формы, а трансформатор Гр разделяет цепи тяговых двигателей и цепи управления электровоза.

Исполнительный орган датчика выполнен в виде порогового элемента — блок 4 (модуль «Порог-66»), усилителя постоянного тока на транзисторах 77, Т2 и промежуточного электромагнитного быстродействующего реле Р. Датчик имеет две уставки: статическую и динамическую (при 100 В/с равную 30 В). Статическая уставка определяется значением напряжения АС/ст на тяговом двигателе проскальзывающей оси в момент срабатывания датчика. Динамическая уставка определяется быстротой развития боксования, т. е. скоростью увеличения напряжения Д(Уб/М на двигателе проскальзы вающей оси. Чем больше эта скорость, тем раньше и при меньшем приращении напряжения на двигателе срабатывает датчик. Это позволяет получить достаточно высокое быстродействие (0,025 с) при возможности использования восьми пар блок-контактов (1—8) в цепях управления и иметь высокий коэффициент возврата (0,9). Следовательно, если датчик сработал, например, при Л£/ст = = 70 В, то он выключится при 0,9Х X 70 = 63 В.


При отсутствии боксования разность потенциалов между средней точкой Б (см. рис. 208, в и 209) обмоток якорей двигателей М1 и М2 и средней точкой А резисторов невелика. Эта разность-потенциалов, вызванная расхождением характеристик тяговых двигателей, неравенством диаметров бандажей колесных пар и неравенством сопротивлений самих резисторов Р1 и /?2, недостаточна для создания на выходе ППН напряжения, соответствующего статической уставке датчика 90 ± 4,5 В.

Блок 4 находится в исходном состоянии: первый транзистор закрыт, второй открыт. Транзисторы 77 и Т2 усилителя постоянного тока закрыты. При боксова-нии одной колесной пары напряжение на двигателе боксующей оси растет, на смежном — падает. Когда разность потенциалов в диагонали моста достигнет уставки датчика, транзисторы блока 4 переключатся, т. е. первый транзистор откроется, а второй закроется. В результате откроются транзисторы 77, Т2 и сработает реле Р, которое своими контактами включит средства устранения боксования. В случае быстрого развития боксования ускоренному срабатыванию датчика способствует конденсатор С/, шунтирующий стабилитроны Ст1 и Ст2: датчик боксования срабатывает, как бы не дожидаясь пробоя стабилитронов.

При прекращении боксования датчик выключается с небольшой задержкой. Проверка усилителя датчика осуществляется кнопкой Кн.

Реле рекуперации. Эти реле применяют для автоматизации перехода на рекуперативное торможение. Для примера рассмотрим конструкцию реле рекуперации РР-4 (рис. 210, а). Магнитопровод 6 реле с якорем 4, катушкой 7 и изоляционной


Рис. 210 Реле рекуперации РР-4 (а) и схема его включения (б) планкой 3 смонтированы на гетинаксо-вой панели 1.

Реле РР-4 срабатывает под действием разности напряжений на двигателях и в контактной сети. При увеличении э.д.с. тяговых двигателей уменьшается разность напряжений и сила притяжения якоря 4 к сердечнику реле. Когда разность между э.д.с. тяговых двигателей и напряжением контактной сети станет равной, например, 80—100 В, якорь реле отпадет под действием пружины 5 и замкнутся контакты 2 в цепи катушек вентилей (рис. 210, б) линейных контакторов 3-І и 4-І.

Тепловые и термозащитные реле, термоконтакты и термодатчики. В цепях электродвигателей вспомогательных машин на электровозах и электропоездах, в блоках тормозных резисторов, нагревателях, калориферах и салонах вагонов электропоездов применяют тепловые и термозащитные однополюсные реле, термоконтакты и термодатчики. Тепловые реле ТРВ-8,5 на электропоездах ЭР2 используют для отключения защищаемой цепи при недопустимой температуре нагрева и токах, превышающих рабочие, но не достигающих тока уставки реле перегрузки. Такие перегрузки, например, могут возникать при повышенном трении в подшипниках, загустении смазки в компрессорах и т. д

Тепловые реле ТРТП, ТРТ применяют для защиты от недопустимого нагрева обмоток трехфазных асинхронных двигателей на электропоездах ЭР9М, ЭР2Р и электровозах переменного тока Термозащитные реле РТЗ-041, РТЭ-032 предназначены для защиты блоков тормозных резисторов, нагревателей, калориферов, а термоконтакты и термодатчики являются командными аппаратами систем регулирования температур, обеспечивающие автоматическое управление отоплением и регулирование в заданных пределах температуры в салонах вагонов электропоездов.

Основными деталями тепловых реле являются биметаллические элементы 13 (рис. 211, а), включаемые последовательно в защищаемые цепи. Биметаллический элемент состоит из двух скрепленных


Рис. 211 Тепловое реле ТРТ со снятой текстолитовой крышкой (а), термозащитное реле РТЗ-041 (б) и датчик-реле температуры ТЭК-В^,)'

/ — ось; 2 — биметаллический элемент С/образной формы, 3 — ролик, 4—поводок, 5 — эксцентрик; 6 — ручка; 7, 13, 17 и 20 — пружины, 8 — установочный сектор, 9 — кнопка для принудительного вое становления реле до полного остывания биметаллического элемента; 10 — контакты мостикового типа, 11 — зажимы, 12 н 16 — колодкн, 14 — текстолитовый корпус, 15 — пластина шунта, 18 — плавкая вставка, 19 — термобаллон, 21 — шток, 22 — шатунная трубка с цилиндрическими витками, 23 — осно вание, 24—винт для регулирования уставки датчика-реле, 25 — контактная пружина, 26—стрелка, 27—контакты, 28 — лннза для обзора шкалы, 29— винт, 30— постоянный магнит, 31 — крышка, 32 — кожух пластин, выполненных из металлов с различными коэффициентами расширения. При достижении тока уставки нагревшиеся пластины по разному меняют свои размеры, изгибаются и, поворачивая изоляционные колодки вокруг оси, размыкают контакты реле.

Термозащитное реле (рис. 211, б) состоит из двух пластинчатых пружин 17, установленных на некотором расстоянии друг от друга на изоляционной колодке 16. Свободные концы пружин сведены вместе и скреплены плавкой вставкой 18, температура плавления которой составляет 330—420 °С. При отсутствии охлаждения тормозные резисторы нагреваются, плавкая вставка расплавляется, концы пружин расходятся и разрывают цепь катушки реле или контактора Термозащитные реле на электровозах обычно устанавливают на панелях тепловой защиты (например, на панели ПТЗ-019 электровоза ВЛ80С).

Термодатчик ТЭК-8 (рис. 211, в), применяемый на электропоездах ЭР2, ЭР9М, ЭР2Р и др. для автоматического регулирования температуры воздуха в салонах вагонов, состоит из механизма переключения, осуществляющего мгновенное замыкание и размыкание контактов 27, и чувствительной термосистемы. Термосистема имеет термобаллон 19, заполненный трансформаторным маслом, шток 21 с поршнем, пружину 20 и шатунную трубку 22. Чтобы увеличить охлаждаемую поверхность термосистемы и тем самым несколько снизить тепловую инерцию, трубка 22 имеет несколько цилиндрических витков. Значительное снижение тепловой инерции датчика-реле достигнуто уменьшением объема жидкости, заключенной в термобаллоне 19, и улучшением конвекционной теплоотдачи с его поверхности.

Переключающий механизм состоит из рычага с контактной пружиной 25, планки, постоянного магнита 30 и механизма настройки с винтом 29, которым производят настройку на разность температур замыкания и размыкания контактов 27.

При повышении температуры окружающего воздуха жидкость в термосистеме увеличивается в объеме и давит на поршень, связанный со штоком 21, который, перемещаясь, воздействует на систему рычагов. Это приводит к размыканию контактов 27 и повороту стрелки указателя 26. При понижении температуры окружающего воздуха шток 21 под действием пружины 20 делает обратный ход, что вызывает замыкание контактов 27. Мгновенное замыкание и размыкание контактов 27 обеспечивается постоянным магнитом 30. Мощность контактов 27 достаточна для непосредственного разрыва цепи включающей катушки электромагнитного контактора отопления. При этом отпадает необходимость в применении промежуточных реле, в результате чего упрощается управление отоплением на электропоездах.

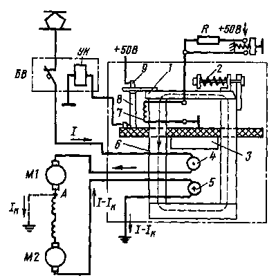
Реле контроля оборотов. Эти реле применяют для предотвращения от разноса (недопустимого повышения частоты вращения) якорей мотор-генераторов в случае обрыва их цепей независимого возбуждения (на электровозах постоянного тока с рекуперативным торможением) и управления электромагнитными контакторами, осуществляющими пуск асинхронных расщепителей фаз (на локомотивах переменного тока). В реле оборотов используются центробежные силы для вращения неуравновешенного диска. Механизм реле размещают в литом корпусе, который закрепляют иа подшипниковом щите и соединяют муфтой или вилкой с валом защищаемой машины. В качестве примера рассмотрим реле контроля оборотов РО-33 (рис 212) восьмиосных отечественных электровозов переменного тока, предназначенное для управления контактором, отключающим пусковой резистор при достижении ротором расщепителя фаз частоты вращения 1350 об/мин, и для подключения его при снижении частоты вращения ротора в процессе выбега до 1100 об/мин. Центробежный механизм в корпусе 1 вращается в роликовых конических подшипниках и соединен с валом расщепителя фаз вилкой 2. При вращении вала 4 рычаги 7 и 8 под действием центробежных сил перемещают корпус подшипника с подшипником и штоком 3. Шток 3, преодолевая усилие пружины 6, толкает шток блокировки, который переключает контакты 5. Коэффициент возврата (отношение м д. с. отпадания якоря к м д. с притяжения) реле РО-33 не ниже 0,75


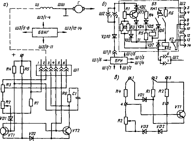
Регуляторы напряжения, электронные реле и бесконтактные блоки защиты. Регуляторы напряжения служат для автоматического регулирования напряжения в цепях управления. Различают контактные регуляторы и бесконтактные. Первые (СРН-7, СРН-2, СРН-8А-1, СРН-8Б-3 и др.) применяют на электровозах и электропоездах ранних выпусков, вторые — иа современном э.п.с.

В качестве примера рассмотрим бесконтактный регулятор напряжения БРН-10 электровозов ВЛ10, ВЛК^ и ВЛ11, основными узлами которого являются измерительное устройство, выполненное по схеме моста с транзистором УТ1 (рис. 213, а) и стабилитроном КО/, и регулирующее устройство на транзисторе УТ2. Номинальное напряжение 51 В устанавливают потенциометром Я2, вращая регулировочный винт (при вращении по часовой стрелке напряжение генератора управления увеличивается, при вращении против часовой стрелки — уменьшается); падение напряжения, приложенное к стабилитрону УОІ, равно напряжению пробоя. При напряжении генератора меньше номинального стабилитрон УИ! заперт, ток базы транзистора УТ1 практически равен нулю и он тоже заперт. Транзистор УТ2 открыт, обмотка возбуждения генератора возбуждена, и напряжение на его зажимах растет. Как только оно станет больше номинального, стабилитрон Уй! открывается, базовый ток транзистора УТ1 возрастает и он также открывается. Транзистор УТ2 закрывается, что ведет к отключению обмотки возбуждения и цепи тока через шунтирующий диод УИ2. Напряжение генератора уменьшается до определенного значения, при котором стабилитрон Уй2 восстанавливает свои запирающие свойства. Процесс непрерывно повторяется в описанной последовательности. При этом напряжение генератора пульсирует около номинального значения, а его среднее значение поддерживается постоянным. Для сглаживания пульсаций параллельно обмотке якоря генератора включен конденсатор Обратная связь по току возбуждения, компенсирующая изменения регулируемого напряжения, вызванные изменением частоты вращения и нагрузки генератора, осуществляется через резистор #5.

Для ускорения процесса переключения и уменьшения мощности рассеяния транзистора введена ускоряющая цепочка Я6—С1, увеличивающая крутизну фронтов импульсов транзисторов. При достижении напряжением на зажимах генератора номинального значения стабилитрон УИ1 пробивается, конденсатор С1 заряжается по цепи базы транзистора УТ1. В это время транзистор УТ1 открыт, а транзистор УТ2 закрыт. По мере заряда конденсатора С1 (до 50 В) и уменьшения тока заряда транзистор УТ 1 начинает закрываться, а УТ2 — открываться. Конденсатор С1 разряжается, создавая положительное смещение на базе транзистора УТ1 и тем самым надежно закрывая его.

Для предотвращения перенапряжений при переключении транзистора из состояния «открыт» в состояние «закрыт» (вследствие большой индуктивности обмотки возбуждения) обмотка возбуждения шунтирована диодом. Благодаря падению напряжения на резисторе И4 предотвращается положение так называемого «обрыва базы» при закрытом стабилитроне Уй1 и обеспечивается подача положительного смещения на базу открытого транзистора УТ2, в результате чего транзистор УТ1 надежно запирается.

При выходе из строя измерительного органа бесконтактного регулятора напряжения, когда транзистор ]/Т2 теряет способность закрываться (обрыв в цепи базы транзистора УТ1, повреждение его эмит-тер-коллекторного перехода и др.), напряжение соответствующего генератора управления резко возрастает, и если своевременно его не отключить, может произойти повреждение аппаратуры цепей управления. Нарастание напряжения происходит так быстро, что предохранители с плавкими вставками практически не успевают разомкнуть цепь обмотки возбуждения. Для зашиты этой цепи устанавливают блок бесконтактного защитного устройства БЗ (рис. 213, б).

Если напряжение генератора управления меньше уставки (65—70 В, устанавливается потенциометром £/), транзистор УТ1 заперт благодаря падению напряжения на стабилитроне У01. Вследствие этого катушка реле К/ обесточена, его замыкающий контакт разомкнут, а следовательно, и катушка контактора К2 обесточена, и его размыкающий контакт замыкает цепь тока возбуждения генератора. Когда напряжение генератора иа зажимах Ш2/1 и Ш2/2, Ш2/3 и Ш2/4 становится больше напряжения уставки, отпирается транзистор У77, реле К! срабатывает и замыкает цепь катушки контактора К2. Последний срабатывает и размыкает цепь возбуждения генератора.


Рис 213. Электрические схемы бесконтактных регулятора напряжения БРН-10 (о), блока защиты (б) и реле электронного РЭ (в)

Когда напряжение генератора уменьшается до остаточного (зажимы Ш2/1 и Ш2/2, Ш2/6 и Ш2/7), транзистор VI7 запирается, но катушка реле К1 продолжает получать питание через собственный замыкающий контакт и кнопку Кн1, что исключает «звонковую» работу системы генератор—блок защиты. Для выравнивания напряжений генераторов управления двух и более секций служат блоки выравнивания напряжений БВНГ.

На электровозах и электропоездах первых выпусков переключение режимов работы аккумуляторной батареи осуществлялось электромагнитными реле обратного тока (Р-15 и др.). При этом происходили большие «провалы» напряжения (до 10—15 В) в цепях управления. Чтобы исключить их и обеспечить высокий коэффициент возврата (до 0,85—0,9), начали применять электронные реле.

Электронное реле построено по схеме нелинейного моста с транзистором УТ1 (рис. 213, в) и стабилитронами УйЗ и УИ2. Значением напряжения пробоя стабилитронов определяется в основном уставка срабатывания реле. Точно настраивают реле в диапазоне 2—5 В потенциометром И2. При вращении винта потенциометра по часовой стрелке напряжение срабатывания уменьшается, против — увеличивается. Диод Уй1 и резистор Ц1 обеспечивают надежное запирание транзистора, если напряжение на генераторе ниже напряжения срабатывания реле.

Предыдущая Оглавление Следующая