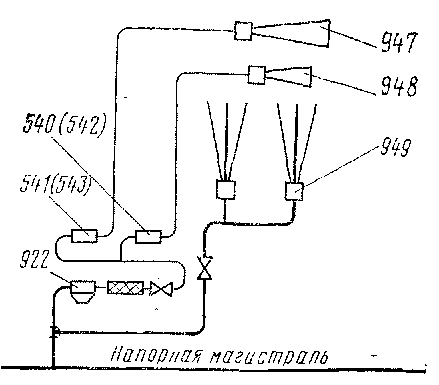
Для подачи звуковых сигналов на электровозах ЧС4 и ЧС4Т установлены тифоны и свистки (пневматическая схема соединения звуковых сигналов и стеклоочистителей показана на рис. 250). Воздух из напорной магистрали проходит к стеклоочистителям 949, а также через редукционный клапан 922 и электропневматические вентили 540—543, к тифону 947 и свистку 948.
Для снижения давления напорной магистрали до 7 кгс/сма установлены редукционные клапаны (рис. 251). К корпусу 2 клапана подводятся трубопроводы слева от напорной магистрали, а справа от тифонов. К седлу 4, впрессованному в корпус 2, пружиной 3 прижимается клапан 5. В нижней части корпуса болтами прикреплен стакан 8. Между корпусом 2 и стаканом 8 крепится диафрагма 10 с верхней 1 и нижней" 6 тарелками. В верхнюю тарелку упирается хвостовик клапана 5, а на нижнюю

Рис. 250. Пневматическая схема соединения звуковых сигналов и стеклоочистителей

Рнс. 251. Редукционный клапан Рис. 252. Пневматический стеклоочи-
ститель
тарелку давит пружина 7, которая упирается в регулировочную гайку 9. Если давление в полости Б будет выше или равно 7 кгс/см2, давление над верхней тарелкой 7, преодолевая усилие пружины 7, прогибает диафрагму 10 вниз и клапан 5 закрывается, прекращая доступ сжатого воздуха из полости А в полость Б.
Когда давление в полости Б станет ниже 7 кгс/см2, пружина 7 прогнет вверх диафрагму 10 и откроет клапан 5. Сжатый воздух при этом будет перетекать из полости А в полость Б до тех пор, пока давление в камере Б не повысится до 7 кгс/см2 и клапан 5 снова закроется. Регулируют давление гайкой 9.
Для очистки лобовых стекол от снега и дождя служат пневматические стеклоочистители (по два в каждой кабине машиниста). Стеклоочиститель (рис. 252) включает в себя щетку 7, пневматический привод 2 и ручку 3. Пуск стеклоочистителя в работу производится болтом, которым регулируют также и скорость движения щетки 7.
Угол отклонения щетки 7, а следовательно, рабочую зону, регулируют кольцом на валу стеклоочистителя, которое затем фиксируют гайкой. При повороте кольца против часовой стрелки угол увеличивается.
Стеклоочиститель работает при давлении воздуха от 1 до 9 кгс/см2. Ручка 3 позволяет работать стеклоочистителем вручную без пневматического привода.

Рис. 253. Пнебматическая схема подачи песка
|
|