Пневматическая система управления состоит из воздухопроводов и приборов, обеспечивающих подачу воздуха к пневматическим механизмам и аппаратам (рис. 248). Воздух из напорной магистрали через разобщительный кран, золотниковый питательный клапан 920, обратный клапан 942, фильтр 919 поступает в резервуар управления 903. Золотниковый питательный клапан поддерживает в системе давление сжатого воздуха 4,7 кгс/см2, которое необходимо для работы электропневматических приборов и аппаратов.

Рис. 248. Схема пневматической системы управления
Контроль'*,давления'?'в*«*резервуаре*;"управления осуществляет манометр 959. Превышению давления в резервуаре препятствует предохранительный клапан 953, отрегулированный на давление 5 кгс/см2. Для выпуска влаги из резервуара управления установлен спускной кран. Из резервуара управления через фильтр 916 воздух проходит к вентилям 015&, 0159 пневмодвигателя переключателя ступеней тягового трансформатора. Воздух поступает также в приводные вентили тормозных резисторов, через электропневматнческий вентиль 776\ — в контактор отопления поезда от электровоза и на питание пневматических приборов, помещенных в шкафах с реверсорами и отключателями тяговых двигателей. Сжатый воздух к цилиндрам токоприемников подводится из напорной магистрали через разобщительный кран, обратный клапан 944, фильтр 917х, редукционный клапан 924, который понижает давление до 4,7 кгс/см2, электропневматические вентили 398 и 399 токоприемников. Воздух поступает также в резервуар 906 токоприемников, а через фильтр 917,, — к ГВ.
При отсутствии сжатого воздуха в напорной магистрали подъем токоприемников и включение ГВ производятся сжатым воздухом, получаемым от вспомогательного компрессора 946, электродвигатель которого получает питание от аккумуляторной батареи. Вспомогательный компрессор через обратный клапан 943 и фильтр 917х наполняет сжатым воздухом резервуар 906 токоприемников, давление в котором определяют по манометру 958. Превышению давления в резервуаре 906 препятствует предохранительный клапан 952, отрегулированный на давление 9,5 кгс/см2.

Объем резервуара 906 позволяет иметь запас сжатого воздуха, необходимый для удержания токоприемников в поднятом положении в течение времени, достаточного для того, чтобы главные компрессоры накачали воздух в главные резервуары и напорную магистраль.
Золотниковый питательный клапан в качестве стабилизатора давления применяют в системе управления для снижения давления напорной магистрали. Ввиду того что проходы для воздуха достаточно широки, давление в трубопроводе системы управления поддерживается постоянным.
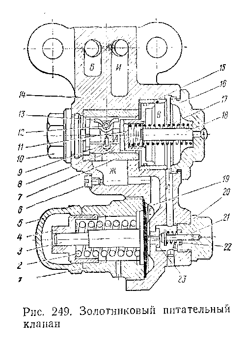
Золотниковый питательный клапан (рис. 249) состоит из двух частей: верхней (питательной) и нижней (возбудительной). В верхней части корпуса 14 запрессованы втулка 7 золотника и втулка 15 поршня. Во втулке 15 перемещается поршень 11, между заплечиками хвостовика которого расположен золотник 8, соединенный с хвостовиком поршня через поводок 9. Золотник 8 к зеркалу втулки*7 прижимается пружиной 13, укрепленной на шпильке 12, которая вставлена в ушки золотника.
Поршень 11 разделяет верхнюю полость на две камеры: левую А, сообщенную каналом Б с напорной магистралью, и правую В, сообщенную каналом Г с камерой Д, в которой находится возбудительный клапан 21. Кроме того, камера В через зазор между поршнем 11 и втулкой 15 сообщается'с камерой А. Камера А закрыта крышкой 10, а камера В —■ крышкой 16, в которой закреплен стержень 18, являющийся ограничителем перемещения поршня 11 и одновременно направляющим для пружины 17.
Возбудительный клапан 21 своим правым хвостовиком направляется в крышке 20, а пружиной 22 прижимается к седлу 23, запрессованному в нижней части корпуса 14. Левым хвостовиком клапан 21 упирается в диафрагму 19, прижатую крышкой 1 к корпусу 14. С левой стороны на диафрагму 19 через стержень 3 действует пружина 2, упирающаяся в регулирующий стакан 4, закрепляемый контргайкой 5. Камера Е по правую сторону диафрагмы 19 через камеру Ж каналом И сообщается с трубопроводом системы управления.
Винт 6 предусмотрен для возможности очистки канала в нижней части корпуса 14.
Под давлением сжатого воздуха, поступающего из напорной магистрали по каналу Б в камеру А, поршень // вместе с золотником 8 перемещается вправо. Через открытое отверстие во втулке 7 воздух по-
ступает в камеру Ж и далее по каналу Я в трубопровод системы управления и одновременно в камеру Е. Из камеры А через зазор между поршнем 77 и втулкой 15 воздух проходит в камеру В.
При достижении в камере Е (а следовательно, и в трубопроводе системы управления) давления, на которое отрегулирована пружина 2, диафрагма 19 займет среднее положение, чем обеспечивается прижатие клапана 21 к седлу 23 под усилием пружины 22. За счет зазора между поршнем 11 и втулкой 15 давление сжатого воздуха в камере Вив камере А выравнивается. Пружина 17 перемещает поршень 11 влево; при этом золотник 8 разобщает камеру А с камерой Ж и питание системы управления прекращается.
При снижении давления в трубопроводе (а следовательно, и в камере Е) усилием пружины 2 диафрагма 19 прогибается вправо и отжимает от седла 23 возбудительный клапан 21.
Когда расход воздуха из трубопровода незначительный, то его пополнение происходит по следующему, пути: из камеры А через зазоры между поршнем 11 и втулкой 15, камеру В, по каналу Г, через камеру Д, канал седла 23, камеру £ и далее через камеру Ж и канал Я.
Если же расход воздуха не может быть восполнен за счет его перетекания через зазор между втулкой 15 и поршнем 11, давление в камере В резко снижается, и поршень /7 перемещается вправо. В этом случае питание трубопровода происходит, как указано выше (стр. 328),
|
|