Предохранительные клапаны предназначены для выпуска избыточного воздуха при повышении давления выше установленного.
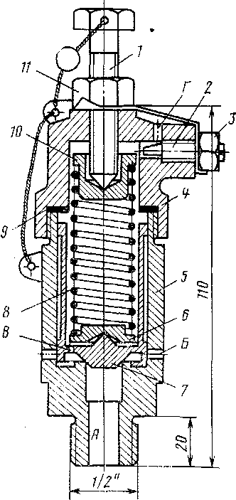
Предохранительный клапан (рис. 244) состоит из стального корпуса 5, закрытого сверху колпаком 4. Колпак навернут на резьбу корпуса. Для уплотнения между ними проложена прокладка 9. Внутри корпуса помещен клапан 7, выполненный в виде латунного стакана. На центральный выступ дна клапана положена направляющая шайба 6, на которую действует усилие пружины 8. Пружина сверху удерживается чашкой 10, в которую входит конец регулировочного болта /. Ввертыванием или вывертыванием болта регулируется сжатие пружины, а следовательно, и величина давления воздуха, при котором срабатывает предохранительный клапан. Нужное положение болта фиксируется гайкой 11. В верхней части колпака имеется отверстие, сообщающее внутреннюю полость клапана с атмосферой. Выходное сечение этого отверстия регулируется положением шпильки 2, фиксируемой гайкой 3.
При повышении давления в трубопроводе или резервуаре, на котором установлен предохранительный клапан, выше допустимого сила давления воздуха на дно клапана превосходит силу пружины, клапан поднимается и сжатый воздух из патрубка А начинает вытекать через отверстие Б в атмосферу. Одновременно сжатый воздух через отверстие В в дне клапана поступает во внутреннюю полость, а затем по каналу Г выходит в атмосферу. Выходное сечение, ведущее к этому каналу, делается меньше сечения отверстия В. Поэтому внутри полости клапана создается избыточное давление, воздействующее вместе с пружиной на его закрытие. Такое устройство позволяет компенсировать увеличение давления воздуха на клапан со стороны патрубка А, которое возникает в связи с тем, что после открытия клапана давление воздуха начинает действовать на большую площадь дна. Снижение же давления воздуха вследствие его движения не компенсирует, полностью увеличение площади дна. Меняя выходное сечение у канала Г, можно отрегулировать клапан так, чтобы он закрывался при заданном давлении в трубопроводе.
На электровозе предохранительные клапаны, установленные на трубопроводе между 1-й и 2-й ступенью сжатия

Рис. 244. Предохранительный клапан

Рис. 245. Регулятор давления ТБР-П
компрессоров, отрегулированы на 3 кгс/см2 (клапаны 959), на трубопроводах, идущих от компрессоров к главным резервуарам, — на 10 кгс/см2 (клапаны 926) и на главных резервуарах — на 9,5 кгс/см2 (клапан 927).
|
|