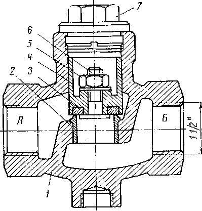
Обратный клапан (рис. 243) служит для того, чтобы пропускать воздух только в одном направлении. Обратные клапаны установлены, например, на трубах, идущих от компрессоров к главным резервуарам. Воздух подводится со стороны отверстия Б и выходит через отверстие А. Клапан выполнен в виде латунного стакана 4, к дну которого болтом 6 с гайкой 5 прикреплено резиновое уплотняющее кольцо 3. В закрытом положении клапана это кольцо прижимается к седлу 2, впресованному в корпус /.
В пространстве между клапаном и пробкой 7 находится воздух, который сжимается при поднятии клапана. Вследствие неплотностей между стаканом и стенками корпуса давление воздуха в пространстве над клапаном уравнивается с давлением в отверстии Б. При стремлении стакана опуститься над ним образуется разрежение, т. е. разность давлений, удерживающая клапан в верхнем положении. Это способствует спокойной работе клапана во время толчков
воздуха, подаваемого компрессором, и удерживает стакан в верхнем положении. При прекращении подачи воздуха через клапан стакан садится на свое седло и разобщает отверстие Б от отверстия А.
В случае большого зазора между стаканом и корпусом клапан не присасывается и во время работы садится на седло. При чрезмерно плотной пригонке стакана к корпусу клапан может остаться в верхнем положении и не сесть на свое седло.
На электровозе установлены обратные клапаны на трубах диаметром- П/г" (клапаны ,922) и диаметром 3/4" (клапаны 924),

Рис. 243. Обратный клапан
|
|