Общие сведения. Основным элементом всех преобразователей является вентиль — прибор, который пропускает ток только в одном направлении. В неуправляемых выпрямителях используют неуправляемые вентили — диоды, которые начинают сразу проводить ток, как только к ним прикладывают напряжение, действующее в проводящем направлении. В преобразователях, предназначенных не только для выпрямления, но и для регулирования выпрямленного напряжения и инвертирования, используют полупроводниковые управляемые вентили — тиристоры.
Для изготовления полупроводниковых приборов используют германий, кремний, селен и другие материалы. Для силовых вентилей, используемых на электро-
подвижном составе, в качестве исходного материала применяют кремний. В природе кремний является одним из наиболее распространенных элементов (после кислорода он занимает второе место). В состав земной коры входит около 28% окислов кремния, однако кремний в свободном виде (как, например, золото, платина и т. п.) никогда не встречается.
Получение чистого монокристаллического кремния, так же как и образование в нем необходимой концентрации специальных примесей, представляет собой сложную техническую задачу. Кристаллический кремний — химический элемент серого цвета с удельным весом 2,4 г/см3, температурой плавления 1420 °С и удельным сопротивлением 1200 Ом • см. Кремний, как и все подобные вещества, имеет кристаллическое строение, для которого характерно упорядоченное расположение атомов в пространстве. Атомы в кристаллах размещены на одинаковом расстоянии друг от друга, образуя кристаллическую решетку. В абсолютно чистом кристалле кремния свободных электронов нет и он не обладает электропроводностью, т. е. имеет свойства изолятора. При нагревании кристалла увеличиваются колебания атомов и связи между атомами в кристаллической решетке могут быть нарушены.
Электроны, потерявшие связь с ядром, становятся подвижными и начинают беспорядочно перемещаться в объеме кристалла. При приложении к кристаллу электрического поля хаотическое движение носителей зарядов прекращается, движение электронов становится упорядоченным и направленным вдоль линий поля. Электропроводность, характеризуемая движением равного в единице объема количества электронов и «дырок», называют собственной. Собственная электропроводность сравнительно мала и при обычной температуре не может обеспечить большие токи.
Существенное влияние на электрические свойства кремния оказывают примеси других веществ. Свободные электроны примесных атомов сильно увеличивают электропроводность кристалла кремния.
Примеси, увеличивающие число свободных электронов в полупроводнике, называют донорными примесями (донор — дающий), а полупроводник, имеющий донорную примесь и обладающий электронной проводимостью, называют полупроводником л-типа (от слова negative — отрицательный). Полупроводники, в которых основными носителями тока являются «дырки», называют полупроводниками р-типа (от слова positive—положительный), а примеси, создающие дырочную проводимость, называют акцепторными (акцептировать — захватывать) .
Если соединить два полупроводника с различными типами проводимости, то на их границе образуется так называемый электронно-дырочный переход, или сокращенно р-я-переход (рис. 113).
На границе раздела имеет место скопление пространственных электрических зарядов разных знаков, создающих электрическое поле, направленное от п-об-ласти к р-области. Это поле имеет определенную напряженность £пер и создает между двумя полупроводниками разность потенциалов UnQp.
Поле препятствует дальнейшему переходу (диффузии) основных носителей электричества из одной области полупроводника в другую, т. е. образует барьер, называемый потенциальным. Если к р-л-переходу подключить внешнее напряжение так, что плюс источника подключен к полупроводнику с проводимостью п-типа, а минус — к полупроводнику с проводимостью р-типа, то к переходу прикладывается обратное напряжение или, другими словами, р-я-переход включен в обратном направлении.

Рис. 113. Включение электронно-дырочного перехода в прямом (а) и обратном (б) направлениях
Создаваемое в этом случае в полупроводнике внешнее поле £,,„ (рис. 113, а) имеет направление, одинаковое с направлением внутреннего поля £„ор. При приложении к р-п-переходу прямого напряжения (плюс — у р-области, а минус — у и-области) внешнее электрическое поле Ет, будет направлено навстречу внутреннему полю (рис. 113,6). Поэтому действие внутреннего поля будет ослабляться внешним полем, и основные носители заряда получают возможность свободно проходить через р-п-переход.
Таким образом, электронно-дырочный переход обладает выпрямляющими свойствами: пропускает ток в одном направлении и препятствует его прохождению в другом. Иначе говоря, он обладает односторонней проводимостью, т. е. может быть использован в качестве электрического вентиля.
Выпрямляющие свойства электронно-дырочного перехода характеризует его вольт-амперная характеристика (рис. 114), представляющая собой графическую зависимость тока, проходящего через вентиль, от приложенного напряжения. Вольт-амперная характеристика определяет основные параметры вентиля.
Силовые неуправляемые кремниевые вентили характеризуются высокой проводимостью в прямом направлении и высоким запирающим обратным напряжением (до 2000 и более В) при незначительных токах утечки (до 5 мА). Процесс технического совершенствования кремниевых выпрямителей далеко не завершен.
Продолжается повышение технических показателей и экономической эффективности. Появившиеся впервые в 1957—1958 гг. кремниевые управляемые вентили (тиристоры) открывают новые возможности совершенствования электроподвижного состава как переменного, так и постоянного тока. Управляемые вентили способны запирать ток в прямом и обратном направлении, если на вентиль не подается сигнал управления, и пропускать ток при весьма малом падении напряжения на вентиле в прямом направлении, если вентиль открыт управляющим сигналом.

Рис. 1 14. Вольт-амперная характеристика р-н-перехода при низкой (/) и высокой (2) температуре
Управляемые вентили позволяют создать выпрямительные установки с плавным регулированием выпрямленного напряжения, осуществить преобразование постоянного тока высокого напряжения в низкое, получить переменный ток регулируемой частоты и напряжения для питания двигателей переменного тока.
Создание отечественной промышленностью неуправляемых лавинных вентилей, симметричных управляемых и полностью управляемых вентилей позволяет создавать принципиально новые схемы преобразователей энергии и бесконтактную коммутационную и защитную аппаратуру.
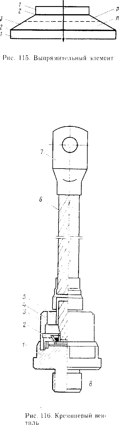
Кремниевые вентили. Основой выпрямительного элемента силового вентиля служит круглая пластина из сверхчистого монокристаллического кремния, обладающего электронной проводимостью. Пластинка кремния имеет толщину около 0,5 мм и диаметр в зависимости от величины тока. Для вентилей, рассчитанных на ток 200 А, диаметр пластинки 25—30 мм (из расчета удельной плотности тока 0,5—1,0 А/мм2).
Для получения p-n-перехода круглые пластинки кремния шлифуют, поверхности их тщательно очищают и затем выдерживают при высокой температуре в присутствии акцепторной или донорной примеси. В результате диффузии примесей в кремний р-га-переход образуется с обеих сторон пластинки, но с одной стороны его затем удаляют шлифовкой.
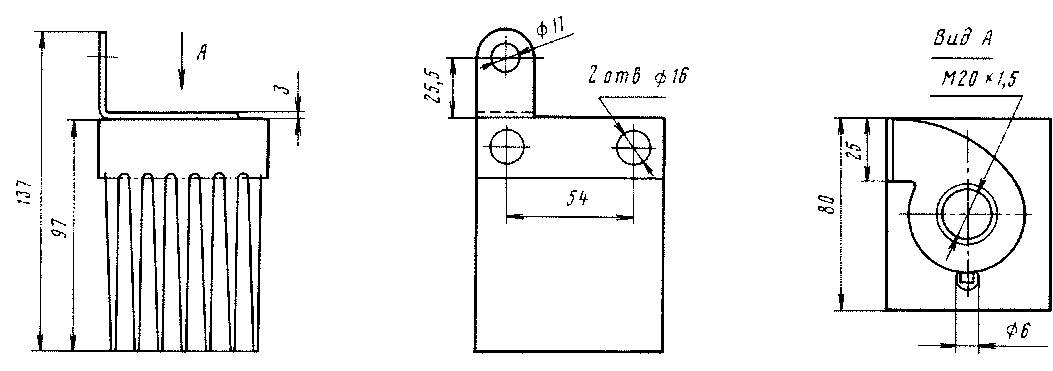
Боковую поверхность пластинки обрабатывают на конус (рис. 115) для увеличения длины поверхности между контактными шайбами, где будет приложено полное напряжение. В качестве электродов выпрямительного элемента используются никелированные вольфрамовые или молибденовые диски /, припаиваемые припоем 2 с двух сторон к кремниевой пластинке 3. Вольфрам и молибден имеют температурный коэффициент расширения почти такой же, как у кремния. Поэтому, при нагревании и охлаждении кремниевой пластинки ее размеры изменяются так же, как вольфрамовых (или молибденовых) дисков. Этим обеспечивается разгрузка кристалла от механических усилий, возникающих при нагревании вентиля в месте соединения выпрямительного элемента с основанием, изготовленным из меди, имеющей больший коэффициент линейного расширения. На рис. 116 представлена конструкция вентиля штыревого типа.

Выпрямительный элемент 2 с контактными шайбами припаивают к массивному медному основанию /. Основание является токоведущим элементом цепи вентиля и, кроме того, служит для отвода тепла, выделяющегося в элементе при прохождении электрического тока.
Медное основание в нижней части имеет хвостовик 8 с резьбой для крепления вентиля в охладителе. Сверху в основание завальцован стальной цилиндрический корпус 4, защищающий выпрямительный элемент от попадания влаги и пыли, которые могут резко ухудшить характеристики вентиля.
К верхнему электроду элемента припаяна гибкая вставка 3 из медного кабеля, выходящая наружу сквозь изоляционную втулку 5 из свинцового стекла, укрепленную в верхней части стального корпуса. Наружный конец гибкого вывода 6, являющегося одним из электродов вентиля, снабжен стандартным наконечником 7 для включения вентиля в схему.
Направление тока в вентиле (от верхнего гибкого вывода к основанию или, наоборот, от основания к выводу) указывают значком на корпусе вентиля.
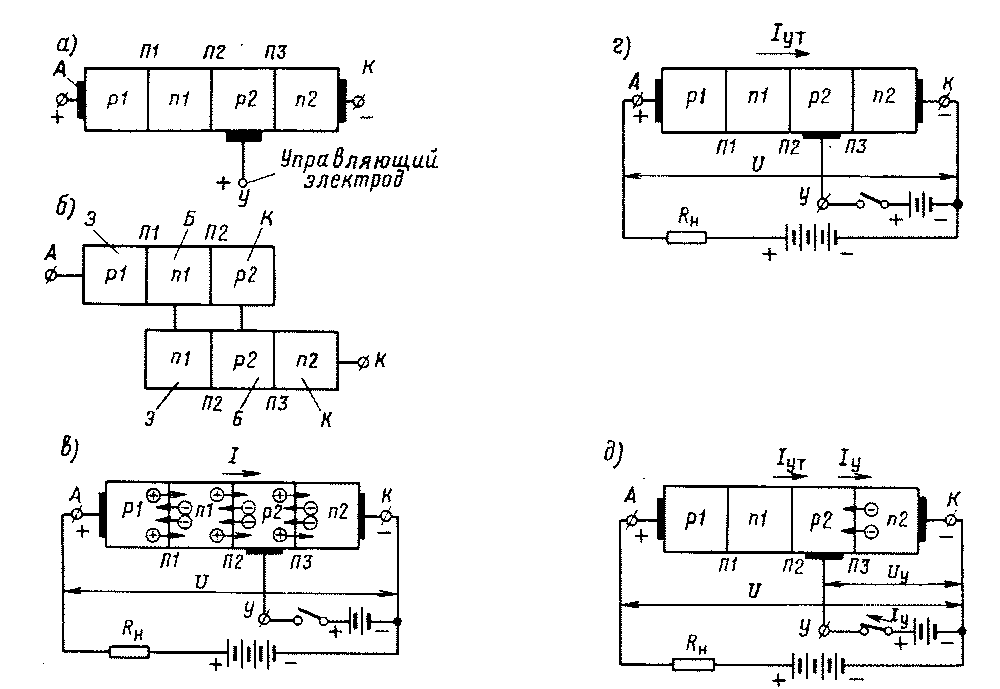
Вентили для эффективного охлаждения снабжены охладителями, изготовляемыми из алюминия и алюминиевых сплавов (силумина). Алюминиевые охладители (рис. 117) изготавливают методом протяжки через фильтры. (профилированный алюминий), силуминовые — методом литья под давлением. Охладители имеют массивное основание с отверстиями для сборки комплекта вентилей и перпендикулярно расположенные ребра для увеличения поверхности охлаждения.
Чтобы электрическое и тепловое сопротивления были наименьшими, необходимо обеспечить плотный контакт и контактирующую поверхность не менее 95% поверхностей соприкосновения основания вентиля и охладителя.
Для отвода тока от вентиля, а также для предотвращения коррозии контактной поверхности охладителя применяют медные токоотводящие пластины, которые прокладывают между основанием вентиля и охладителем.
При завинчивании вентилей в охладитель для снижения механических усилий на выпрямительном элементе необходимо применять специальные гаечные ключи с нормированным крутящим моментом. Например, для вентилей ВЛ-200 номинальный закручивающий момент не должен превышать 50 Н-м.
Контактные поверхности охладителей при монтаже вентилей покрывают тонким слоем смазки ЦИАТИМ-221. Плотность прилегания проверяют щупом не более 0,03 мм.

Рис. 117. Воздушный алюминиевый охладитель ОА-007
Рис. 118. Кривые напряжений, прикладываемых к вентилю:
[:!: - повторяющееся напряжение; с/иоп -- неповторяющееся напряжение; с/р - рекомендуемое рабочее на-пря жсннс

Вентили штыревой конструкции, у которых соединение выпрямительного элемента с основанием осуществляют пайкой, подвержены старению. Старение происходит под действием термомеханических напряжений, возникающих при циклическом нагревании и охлаждении места пайки, находящегося между вольфрамовой пластиной и медным основанием — металлами с неодинаковыми коэффициентами линейного расширения. На электропоездах, работа которых отличается повышенной цикличностью, т. е. сменой режимов «тяга — выбег», процесс старения вентилей происходит интенсивнее, чем на электровозах. Большое число циклов нагревание — охлаждение в конечном итоге приводит к обрыву внутренней электрической цепи вентиля.
Указанных недостатков лишены вентили таблеточной конструкции, обладающие повышенной циклоустойчивостью. Выпрямительный элемент у них вмонтирован в герметичный металлокерамический корпус, предохраняющий его от воздействия окружающей среды. В качестве токоотводящих электродов выпрямительного элемента используют никелированные вольфрамовые пластины толщиной 1,5 мм, которые припаивают к кремниевой пластинке. Диод герметизируют холодной сваркой верхней манжеты с нижней манжетой керамического корпуса. Контактное соединение внутренних элементов вентиля осуществляется с помощью внешнего механического прижима с усилием (800—1200)9,8 Н,
На электропоездах ЭР9М в тяговой выпрямительной установке и вспомогательных цепях используют вентили В2-200, ВЛ-200. В выпрямительной установке электропоездов ЭР9Е используют таблеточные вентили типа ВЛ-7-320. Эти вентили предназначены для преобразования переменного тока промышленной частоты в условиях температуры окружающего воздуха от 50 до 140 °С, ударных сотрясений с ускорением до 120 м/с2 и длительных вибраций в диапазоне частот от 5 до 10 Гц с ускорением 50 м/с2.
Основными параметрами, характеризующими вентили, являются:
предельный ток /„ — максимально допустимое среднее за период значение тока, длительно протекающего через прибор;
повторяющееся напряжение (рис. 118) 0п — максимально допустимое мгновенное значение напряжения, прикладываемого к прибору в обратном или прямом закрытом (для тиристоров) направлении, учитывая все повторяющиеся переходные напряжения, но исключая все неповторяющиеся напряжения;
неповторяющееся напряжение (см. рис. 118) U„ — максимально допустимое мгновенное значение любого неповторяющегося переходного напряжения, прикладываемого к прибору в обратном или прямом закрытом направлении; неповторяющееся напряжение может быть вызвано, например, грозовым или внутренним коммутационным перенапряжением в питающей сети;
рекомендуемое рабочее напряжение (см. рис. 118) Up — амплитудное значение напряжения синусоидальной формы, прикладываемого к прибору в обратном направлении, при отсутствии повторяющихся и неповторяющихся напряжений;

Рис. 119. Вольт-амперная характеристика вентиля (а) и его перегрузочная способность (б):
1 —обычный вентиль; 2 — лавинный вентиль
максимальное обратное напряжение 1/,аг (напряжение лавинообразования (У., для лавинных приборов) — напряжение, соответствующее области загиба обратной ветви вольт-амперной характеристики (рис. 119), когда даже при небольшом приращении напряжения резко увеличивается обратный ток;
прямое падение напряжения Д(У„Р —- среднее за период падение напряжения при токе /„;
обратный ток /обр — среднее за период значение обратного тока при Ь'и и установившейся температуре р-га-перехода 140 °С;
масса вентиля без охладителя и с типовым охладителем. Для лавинных диодов важное значение имеет допустимая энергия импульса обратного тока длительностью 100 мкс, частотой 0,3 Гц, равная 1 Дж.
В табл. 5 приведены коэффициенты для определения повторяющихся и неповторяющихся напряжений силовых полупроводниковых приборов по отношению к напряжению загиба Ь'заг (напряжению лавинообразования И'.,) и напряжению переключения для тиристоров.
В действующих в настоящее время стандартах за основной параметр по напряжению, определяющий класс прибора, принято повторяющееся напряжение Ь'п. Каждому классу прибора с нелавинной характеристикой должно соответствовать определенное значение неповторяющегося напряжения, а для приборов с лавинной характеристикой — напряжение лавинообразования (табл. 6).
Во время работы вентиля при увеличении обратного напряжения на нем выше напряжения загиба (что возможно при воздействии перенапряжений, возникающих при грозовых разрядах в атмосфере и переключениях тока в силовых цепях) резко увеличивается обратный ток, обусловленный лавинообразным увеличением носителей заряда, т. е. лавинным пробоем.
Особенно опасен лавинный пробой в том случае, когда он происходит не по всей площади р-га-перехода, а в каких-то отдельных ограниченных областях. В связи с несовершенством технологии изготовления в р-га-переходе всегда имеются «слабые» участки, для которых напряжение пробоя ниже, чем для остальных участков. Через эти участки
Таблица 5
|
Тип прибора |
||
|
Диоды |
0,75 |
0,87 |
|
Диоды лавинные |
0,8 |
— |
|
Тиристоры |
0,75 |
0,83 |
|
Тиристоры лавинные |
0,83 |
— |
Таблица 6
|
Диоды |
Тиристоры |
|||||||
|
Класс |
нелавинные |
лави |
ш ые |
нелав |
«иные |
лавинные |
||
|
и„. В |
В |
<;л, В. |
{• п, В |
и„, В |
1-',т в. |
|||
|
не менее |
НС УСНСС |
|||||||
|
6 |
600 |
700 |
600 |
750 |
600 |
670 |
600 |
720 |
|
7 |
700 |
810 |
700 |
875 |
700 |
785 |
700 |
840 |
|
8 |
800 |
930 |
800 |
1000 |
800 |
900 |
800 |
960 |
|
9 |
900 |
1040 |
- 900 |
1125 |
900 |
1000 |
900 |
1080 |
|
10 |
1000 |
1160 |
1000 |
1250 |
1000 |
1120 |
1000 |
1200 |
|
11 |
1100 |
1280 |
1100 |
1375 |
1100 |
1230 |
1100 |
1320 |
|
12 |
1200 |
1400 |
1200 |
1500 |
1200 |
1340 |
1200 |
1440 |
проходит в основном весь обратный ток. Это приводит к местному перегреву и в конечном итоге к тепловому пробою, т. е. к потере вентилем запирающих свойств.
Исследования повреждений кремниевых вентилей при воздействии обратных напряжений показали, что чаще всего «слабые» места появляются на участках электронно-дырочного перехода, прилегающих к боковой поверхности вентиля. Именно здесь в кристаллической решетке чаще всего возникают структурные дефекты, приводящие к тепловому пробою.
Отличительной особенностью лавинных вентилей является способность их выдерживать кратковременные импульсы перенапряжений. При воздействии на них обратных напряжений, превышающих с/з;и, происходит резкое увеличение обратного тока (см. рис. 119, кривая 2). В отличие от обычных вентилей этот ток не сосредотачивается в отдельных точках, а равномерно распределяется по всей поверхности кремниевой шайбы. В этом случае наступает равномерный лавинный пробой, который представляет собой своеобразный электрический разряд через вентиль. При таком разряде напряжение на вентиле не падает, а стабилизируется на определенном уровне. При этом в электронно-дырочном переходе может выделиться энергия, в тысячи раз большая, чем в обычных вентилях и примерно равная энергии прямого тока.
Способность лавинных вентилей выдержать кратковременные импульсы перенапряжений обусловлена специальной технологией их изготовления. При изготовлении р-га-перехода для лавинных вентилей обеспечивают однородность кристалла кремния и специальную ступенчатую форму р-га-перехода.
Высокая надежность лавинных вентилей обеспечивается также правильной геометрией поверхности кремниевой шайбы, тем самым напряжение лавинообразования (напряжение, превышающее 1/заг) в них меньше напряжения поверхностной нестабильности, при котором происходит пробой по боковой поверхности кремниевой пластинки.
Благодаря способности лавинных вентилей допускать кратковременные импульсы напряжений, превосходящих (Узаг, максимально допустимое напряжение для них не нормируется (для обычных вентилей максимально допустимое напряжение не должно превышать 1,5(У„). Для лавинных вентилей повторяющееся напряжение принимают равным 0,81/заг. Конструкция лавинных вентилей такая же, как и обычных вентилей. Лавинные вентили характеризуют еще напряжением стабилизации 1!2о или (Узо- Оно представляет собой амплитудное значение обратного напряжения, при котором через лавинный вентиль протекает импульс тока с амплитудой 20 или 30 А. Напряжение стабилизации замеряют на заводе-изготовителе и проставляют в паспорте вентиля.
Каждый вентиль имеет маркировку, первым элементом которой служат буквы, обозначающие вид прибора (В — вентиль, Т — тиристор). Второй элемент маркировки обозначает принадлежность прибора к определенной группе (Л — лавинный, Ч — высокочастотный и т. п.). Третьим элементом является число, указывающее номер конструктивного исполнения (для первого конструктивного исполнения цифра 1 не указывается). Четвертый и пятый элементы указывают предельный ток в амперах и класс по повторяющемуся напряжению. Шестой элемент означает прямое падение напряжения в вольтах (указывают не для всех типов диодов).
Пример маркировки вентиля: ВЛ-200-12-0,68 — вентиль лавинный с предельным током 200 А, повторяющимся напряжением 1200 В и средним значением прямого падения напряжения при токе 200 А — 0,68 В.
Полупроводниковые триоды (транзисторы). Выше были рассмотрены принцип действия, конструкция и параметры неуправляемых вентилей — полупроводниковых приборов на основе двухслойной структуры с одним /э-п-переходом. В отличие от диодов триоды имеют два р-га-перехода и выполнены на основе трехслойной р-п-р(п-р-га)~структуры.
Полупроводниковый триод типа р-п-р (рис. 120, а) имеет два электронно-дырочных перехода П1 и П2, разделяющих прибор на три области. Левую часть триода называют эмиттером Э (рис. 120, б). Он является источником заряженных частиц — «дырок»; среднюю часть называют базой Б; правую часть триода — коллектором К-
К эмиттерному переходу П1 прикладывают напряжение (Д в прямом направлении, к коллекторному переходу П2 — напряжение (Ук в обратном направлении (рис. 120, в и г).
Обычно напряжение ик во много раз больше напряжения (У,. При замкнутой цепи эмиттера и разомкнутой цепи коллектора через эмиттерный переход П1 будет протекать прямой ток, как и в обычном диоде. При замкнутой цепи коллектора и разомкнутой цепи эмиттера через коллекторный переход П2 будет протекать небольшой обратный ток. При одновременном замыкании цепи эмиттера и коллектора под действием прямого (для перехода П1) напряжения иъ между эмиттером и базой в цепи эмиттера возникает ток и через открытый переход П1 начинается движение носителей зарядов — «дырок» и электронов.
При изготовлении триодов обеспечивают такое распределение примесей в эмиттере и базе, что количество «дырок» в единице объема эмиттера значительно больше количества электронов в базе. Поэтому прямой ток через переход П1 будет определяться в основном движением «дырок» из эмиттера в базу и в очень малой доле—электронами, переходящими из базы в эмиттер. Поэтому при подаче прямого напряжения и, происходит впрыскивание — инжекция «дырок» в область базы (см. рис. 120, в). «Дырки», попавшие в базу, частично рекомбинируют с имеющимися здесь электронами, а большая часть их успевает пройти через тонкий слой базы и достигнуть коллекторного перехода П2. Незначительное число «дырок», которые рекомбинируют с электронами базы, создают небольшой ток базы /б. Этот ток образуется за счет пополнения от источника тока электронов, исчезнувших при рекомбинации их в базе. Для уменьшения этого тока (исключения возможности рекомбинации электронов и «дырок») ширину базы делают по возможности малой, а удельное сопротивление базы делают большим, чем эмиттера.
Подойдя к коллектору, «дырки» под действием ускоряющего электрического поля, созданного напряжением IIэ, проходят переход П2, втягиваются в кол-

Рис. 120. Структурная схема (а) и физические процессы (б. в. г) в транзисторе
лектор, резко уменьшая сопротивление коллекторного перехода 112 (см. рис. 120, г).
В дальнейшем «дырки» непрерывно- поступают от эмиттера к коллектору, создавая электрический ток через триод.. Таким образом, ток в цепи эмиттера и коллектора образуется за счет перемещения «дырок», которые являются основными носителями тока (см. рис. 120,6).
В цепи базы ток создается движением неосновных носителей — свободных электронов. Чем больше ток в цепи эмиттера, тем больше «дырок» инжектируется в область базы, тем ниже сопротивление коллекторного перехода и больший ток проходит в цепи коллектора. Достаточно приложить небольшое напряжение между эмиттером и базой (несколько десятых долей вольта), чтобы открыть «дыркам» путь через коллекторный переход. Следовательно, относительно малым током (напряжением) эмиттера можно получить усиленный в несколько раз ток в цепи коллектора (нагрузки).
Свойство транзисторов осуществлять усиление электрических сигналов используют в схемах устройств защиты, в схеме стабилизации напряжения зарядного агрегата и др.
Основными параметрами транзисторов являются: коэффициент усиления по току; допустимая мощность, рассеиваемая коллектором; максимальное обратное напряжение, прикладываемое к эмиттерному и коллекторному переходам; максимальный ток эмиттера и коллектора; обратный ток коллектора и диапазон рабочих температур.
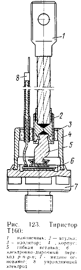
Управляемые вентили (тиристоры). Основным элементом управляемых вентилей — тиристоров является кремниевая пластинка, в которой специальными технологическими методами создается четырехслойная структура с разными типами проводимости (р-п-р-п), образующими три электронно-дырочных перехода Я/, П2 и ПЗ (рис. 121, а). Структуру тиристора можно представить сочетанием двух триодов р1-п1-р2 и п1-р2-п2 (рис. 121, б), в которых слои р1 и п2 являются эмиттерными, а коллекторный переход П2 объединен.
Средние слои тиристора п1 и р2 называют базами прибора. Крайний слой р/, к которому присоединяют положительный полюс источника тока, является анодом; катодом служит крайний слой п2.
Если цепь управляющего электрода разомкнута (Д=0) и напряжения между анодом и катодом в прямом и обратном направлениях не превышают опреде-

Рис. 121. Структурная схема (а) и физические процессы (б, в, г, д) в управляемом вентиле — тиристоре
ленного уровня, то тиристор имеет большое сопротивление в прямом и обратном направлениях. При приложении к тиристору прямого напряжения переходы П1 и ПЗ включены в прямом направлении и открыты, а переход П2 включен в непроводящем направлении и заперт. При этом «дырки», инжектированные из области р/ в область га/, и электроны, поступающие из области п2 в область р2, не доходят до коллекторного перехода П2 и не оказывают влияния на его сопротивление. Через вентиль в этом случае проходит небольшой по величине прямой ток утечки
/„ (рис. 121, г). С увеличением напряжения прямой ток вентиля возрастает незначительно, так как он ограничен сопротивлением перехода П2. Этому режиму соответствует участок Оа (рис. 122) прямой ветви вольт-амперной характеристики. При увеличении прямого напряжения до величины и,кр, которую называют напряжением переключения, резко уменьшается сопротивление прибора и он переходит из закрытого состояния в открытое. При этом в структуре происходят такие же процессы, как в транзисторах. Под действием сильного электрического ПОЛЯ (в коллекторном переходе П2) «дырки», инжектированные из области р/ в базовую

Рис. 122. Вольт-амперная характеристика тиристора
область га/, быстро проходят через переход П2, втягиваются во вторую базовую область р2 и беспрепятственно проходят переход ПЗ.
Аналогично электроны, инжектированные из области п2 в область р2, проходят через переход П2, втягиваются в область га/ и далее проходят в область р/. При этом происходит лавинный пробой перехода П2, что приводит к резкому увеличению числа носителей зарядов — электронов и «дырок» и возрастанию тока до величины тока переключения — /,1ер. Ток переключения, проходя через открытые переходы Я/ и ПЗ, вызывает дополнительную инжекцию «дырок» из области р/ в область п! и электронов из области п2 в область р2, что еще больше увеличивает ток через переход П2.
С увеличением тока в вентиле напряжение на нем падает до значения суммарного падения напряжения на всех переходах, и далее он имеет характеристику неуправляемого вентиля. Процесс открытия тиристора соответствует участку аб вольт-амперной характеристики.
Участок бв аналогичен вольт-амперной характеристике неуправляемого вентиля.
При снижении тока тиристора до значения, меньшего тока удержания /уд, тиристор переходит в закрытое состояние, так как число инжектируемых носителей зарядов оказывается недостаточным для поддержания перехода П2 в открытом состоянии.
Открытие тиристора можно осуществить также включением в цепь управляющего электрода дополнительного источника напряжения (Л (рис. 121, г?). Если на управляющий электрод подать положительный потенциал, то через переход ПЗ в прямом направлении будет проходить ток управления При этом электроны будут инжектироваться из области п2 в область р2 и суммарный ток Л, + Л превысит ток переключения. Это приведет к открытию тиристора, после чего носители электричества будут свободно переходить через все четыре области. Чем больше ток управления между слоями р2 и п2, тем при меньшем напряжении переключается тиристор. На рис. 122 пунктиром показаны характеристики для разных токов управления (ток /У2>/и). При достаточно большом токе управления /ч3 напряжение переключения снижается до значения падения напряжения на открытом тиристоре, т. е. тиристор полностью открывается и дальше работает как неуправляемый.
После того как тиристор открылся и начал проводить силовой ток, размыкание цепи управляющего электрода не влияет на прохождение силового тока, так как он удерживается в открытом состоянии прямым током.
При приложении к аноду тиристора отрицательного напряжения к переходу П2 будет приложено прямое напряжение, а к переходам Я/ и ПЗ — обратное напряжение, поэтому он будет закрыт независимо от наличия напряжения на управляющем электроде. Вольт-амперная характеристика тиристора в непроводящем направлении будет такая же, как у неуправляемого вентиля. Поэтому через тиристор проходит небольшой обратный ток /0бр, приблизительно равный обратному току закрытых переходов Я/ и ПЗ.
Включение тиристора осуществляют подачей импульса тока на его управляющий электрод. Переход тиристора из запертого в открытое состояние происходит не мгновенно, а через некоторое время, называемое временем включения, равным нескольким микросекундам. Оно зависит от крутизны нарастания тока управления, величины и характера нагрузки.
Большое значение для надежной работы тиристоров имеет также скорость нарастания тока нагрузки при включении. Скорость нарастания тока в силовых
тиристорах ограничивают значением 200 А/мкс. При большей скорости нарастания тока нагрузки могут возникнуть большие плотности тока вблизи управляющего электрода и вызвать повреждение кристалла.
Выключать тиристор в цепи постоянного тока можно уменьшением прямого тока ниже величины тока удержания, разрывом анодной цепи или специальными устройствами кратковременно создавать на аноде отрицательное напряжение. При питании от источника переменного напряжения тиристор закрывается при прохождении напряжения через нуль. Переход тиристора из проводящего в запертое состояние называют процессом выключения тиристора. Время выключения в зависимости от структуры перехода колеблется от 5 до 250 мкс.
Для тиристоров, так же как и для обычных неуправляемых вентилей, основными параметрами являются: предельный ток, прямое падение напряжения, повторяющееся, неповторяющееся и рекомендуемое рабочее напряжения, обратный ток и ток утечки. Кроме того, существует ряд дополнительных параметров: отпирающий ток управления, отпирающее напряжение, время включения и выключения, критическая скорость нарастания прямого напряжения, критическая скорость нарастания прямого тока и др.
Промышленность серийно выпускает несколько типов тиристоров штыревых и таблеточных с различными параметрами. Маркировка тиристоров несколько отличается от маркировки диодов. Например, обозначение тиристора Т-320-8-111 означает: тиристор циклоустойчивый таблеточного типа с предельным током 320 А,8-го класса, I группа по критической скорости нарастания прямого напряжения (20 В/мкс); I группа по времени выключения (не более 250 мкс) и I группа по критической скорости нарастания прямого тока (не более 20 А/мкс).
Управляемые вентили конструктивно сходны с неуправляемыми. Отличие их состоит в том, что они, кроме силового, имеют еще дополнительный вывод от управляющего электрода 8 (рис. 123). В мощных тиристорах общая толщина кремниевой пластинки не превышает 0,35 мм. Диаметр ее в зависимости от пропускаемого тока имеет различную величину.
В последние годы промышленностью освоены конструкции вентилей таблеточного типа (рис. 124). Вентильный элементе таких конструкциях расположен между двумя вольфрамовыми дисками, которые соединены с контактными поверхностями не пайкой, а с помощью пружинящих шайб или внешнего прижима. Применение пружинящих шайб повышает цикло-устойчивость вентилей при переменных токовых нагрузках.
Последовательное и параллельное соединение силовых полупроводниковых вентилей. Применяемые в выпрямительных установках электропоездов вентили могут пропускать ток до 320 А и работать при напряжении 600—1600 В. Тяговые двигатели работают при большем напряжении и потребляют большие токи.
Чтобы выпрямительная установка могла питать тяговые двигатели, приходится вентили в ней соединять параллельно и последовательно. При последовательном соединении нескольких вентилей обратное напряжение будет распреде-


Рис. 124. Тиристор Т320
ляться пропорционально величине обратного сопротивления вентилей.
Сопротивление вентилей в непроводящем направлении определяется обратной ветвью вольт-амперной характеристики. Поскольку вентили имеют неодинаковые характеристики, то и обратное напряжение распределяется неравномерно. При некотором общем обратном токе /обр (рис. 125, а) на вентиль с большей величиной обратного сопротивления
приходится большая величина обратного напряжения которая при боль-
шом расхождении характеристик может даже превысить напряжение загиба и привести к выходу вентиля из строя. Для равномерного распределения обратного напряжения по последовательно соединенным вентилям каждый вентиль шунтируют резистором /сш (рис. 126, а ). Величина сопротивлений резисторов одинакова, поэтому они образуют делитель напряжения, который делит приложенное к вентилям обратное напряжение на равные части независимо от внутренних сопротивлений отдельных вентилей.
В прямом направлении вентили также имеют различные характеристики (рис. 125, б), и распределение тока между вентилями оказывается неравномерным: через вентиль, имеющий меньшее падение напряжения, протекает больший ток. Так, при параллельном соединении вентилей В1 и В2 напряжение Л(УВ, приложенное к вентилям в прямом направлении, одинаково, а токи в вентилях разные.
Ток /|, проходящий через вентиль В1, больше тока /2 в вентиле В2. Такая-неравномерность в распределении тока нагрузки приводит к перегреву одной ветви вентилей и недогрузке другой. Для равномерного распределения тока между параллельно соединенными ветвями подбирают вентили с близкими значениями прямого падения напряжения, т. е. одной группы.
Работу вентиля характеризуют двумя режимами: когда он открыт, т. е. пропускает рабочий ток с небольшим падением напряжения (рис. 127), и когда он


Рис. 127. Пик перенапряжения при ком мутации вентиля
заперт, т. е. когда к вентилю приложено обратное напряжение, под действием которого протекает небольшой по величине обратный ток. В момент времени, когда вентиль переходит из открытого состояния в запертое, вентиль пропускает обратный ток, величина которого значительно превосходит величину обратного тока установившегося режима (1„6р на рис. 127). Этот пик обратного тока спадает так быстро, что вызывает пик перенапряжений, величина которого в 2—3 раза превышает величину максимального обратного напряжения. Такие пики перенапряжений возникают с повторяемостью 50 раз в секунду, т. е. каждый раз, когда вентиль переходит из проводящего состояния в запертое.
Для защиты от коммутационных перенапряжений к штыревым вентилям обычно подключают контуры (рис. 126, б). Для сокращения количества шунтирующих элементов можно резисторы и контуры ЯС одной ветви использовать для вентилей остальных параллельных ветвей, установив поперечные соединения в виде малоомных резисторов связи /?с. Такие резисторы связи как бы распространяют выравнивающее действие резисторов /?ш и защитные действия контуров ЯС на все параллельно соединенные вентили. В то же время /?,. способствуют равномерному распределению тока между вентилями.
Применение лавинных вентилей позволяет выполнить выпрямительные установки без вспомогательных элементов. Лавинные вентили способны надежно работать при напряжениях, близких к напряжениям загиба обратных вольт-амперных характеристик. Поэтому можно отказаться от принудительного распределения обратного напряжения с помощью резисторов
Благодаря равномерному распределению обратного тока по всей площади р-п-перехода лавинные вентили не повреждаются коммутационными перенапряжениями, возникающими в конце токопроводящей части периода. Поэтому отпала необходимость в защите лавинных вентилей от таких перенапряжений, и в выпрямительных установках контуры /?С, как правило, не используются.
Число последовательно соединенных вентилей рассчитывают по максимально возможному обратному напряжению, которое может быть при наибольшем напряжении в контактной сети (29 кВ) и высшей ступени регулирования. К расчетному количеству дополнительно прибавляют один вентиль для повышения надежности в случае пробоя одного вентиля в плече. Число параллельно включенных вентилей определяют по наибольшему (пусковому) току тяговых двигателей. Ток в каждой ветви не должен превышать номинальный ток вентиля.
|
|