На электровозах ЧС4 и ЧС4Т использовано одноименное оборудование, компонованное в основном одинаково. Поэтому достаточно рассмотреть расположение оборудования на электровозах ЧС4 и указать отличия, касающиеся электровозов ЧС41'.
Электрическое и пневматическое оборудование установлено в кузове, под кузовом, на крыше и в кабинах машиниста (рис. 57).
Кабины машиниста расположены по концам кузова и отделены от машинного помещения промежуточными стенами. Вход в кабины осуществляется из поперечного коридора машинного помещения через дверь, расположенную примерно в середине промежуточной стены. Обе кабины оборудованы одинаковыми пультами управления электровозом, контрольными, вспомогательными и сигнальными приборами и аппаратами. Стены, потолок и пол кабин имеют звуко- и теплоизоляционные прокладки из полиуретана. Потолок и панели стен облицованы декоративным пластиком, пол покрыт полихлорвиниловым линолеумом. Окраска облицовочных материалов, как и всей аппаратуры и оборудования электровоза, выполнена в соответствии с действующими в Советском Союзе санитарными нормами.
В верхней части каждой кабины над лобовыми окнами расположен короб с осветительным прожектором. Прожектор оснащен специальным поляризационным стеклом, предотвращающим слепящее действие светового луча на находящихся перед электровозом людей. На электровозах ЧС4 прожекторы имеют металлические рефлекторы, а на электровозах ЧС4Т — зеркальные отражатели. Смену ламп п регулировку направления светового луча прожекторов можно производить из кабин машиниста. Доступ к лампам в буферных и сигнальных фонарях, размещенных на лобовых стенах кузова, возможен снаружи электровоза. На электровозах ЧС4 в коробе прожектора имеются вентиляционные проходы для забора воздуха в кабины машиниста; там же установлены тифоны. На электровозах ЧС4Т, оборудованных системой кондиционирования воздуха в кабинах машиниста, вентиляционных проходов нет, а тифоны перенесены на крышу электровоза.
Всю переднюю часть кабины занимает пульт управления электровозом, объединяющий пульты машиниста и помощника. На электровозах до ЧС4-062 пульт изготовлен из стеклопластика (ламината) и занимает почти половину кабины по длине. В целях увеличения свободной площади в кабине на электровозах последующих выпусков

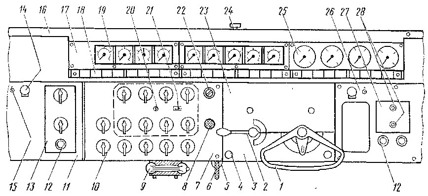
установлены ноёью пульты (рис. 58) с меньшими габаритными размерами (отметим также, что эти пульты изготовлены из металла). На новых пультах использовано большее количество сигнальных ламп и несколько изменено расположение кулачковых переключателей; на пультах электровозов ЧС4Т, кроме того, установлены приборы и аппараты, относящиеся к цепям реостатного тормоза. В верхней части пульта размещено девять электроизмерительных приборов 19 и четыре манометра 25. Они прикреплены к каркасу пульта и закрыты тремя металлическими декоративными рамками 18, на которых имеются таблички с указанием назначения приборов.
Приборы расположены в такой последовательности (слева направо): вольтметр 0—100 В, показывающий напряжение в цепи электропневматического тормоза;
вольтметр 0 — 100 В, показывающий напряжение аккумуляторной батареи;
амперметр 60 —0—60 А для контроля за режимом работы аккумуляторной батареи;
амперметр 0— 100 А для контроля величины тока зарядного агрегата аккумуляторной батареи;
вольтметр 0—30 000 В, показывающий напряжение в контактном проводе;
указатель позиций высоковольтного переключателя ступеней тягового трансформатора;
вольтметр 0—1 000 В, показывающий напряжение на коллекторах тяговых двигателей;
два амперметра 0—2000 А для контроля величины тока тяговых двигателей I и VI;
три манометра 0—10 кгс/см2 для контроля давления воздуха в тормозной магистрали, тормозных цилиндрах и уравнительном резервуаре;
манометр 0 — 15 кгс/см2 для контроля давления воздуха в главных резервуарах.

Рис. 58. Расположение приборов управления, контроля и сигнализации иа пульте управления электровозом ЧС4
Шкалы приборов подсвечиваются лампами, скрытыми за козырьком 16, причем яркость подсветки можно регулировать ручкой 24, связанной с установленным внутри пульта балластным резистором. Ниже приборов на пульте закреплены три табло с сигнальными лампами 17. На левом табло установлены следующие сигнальные лампы слева направо: «Песок», «Вспомогательный мотор-компрессор», «Реле безопасности», «Вентиляция машинного помещения», «Перегрев трансформаторного масла», «Газовое реле», «Земля в тяговых цепях», «Защита (блок защит 850)»; на центральном табло — «Повреждение выпрямительной установки вспомогательных машин», «Пробой одного вентиля в тяговой выпрямительной установке», «Промежуточное положение ПС», «Нулевая позиция ПС», «Пробой двух вентилей в тяговой выпрямительной установке», «Мотор-насосы», «Мотор-вентиляторы сглаживающих реакторов, резисторов ослабления поля и маслоохладителей тягового трансформатора», «Мотор-вентиляторы выпрямительных установок»; на правом табло — «Мотор-вентиляторы тяговых двигателей», «Фильтрация масла», «Земля во вспомогательных цепях», «Смазка компрессора № 1», «Смазка компрессора № 2», «Торможение», «Перекрыша», «Отпуск тормозов».
На электровозах до ЧС4—062 нет сигнальных ламп «Фильтрация масла» и «Земля во вспомогательных цепях», а сигнализация о работе мотор-вентиляторов тягового оборудования осуществляется одной лампой «Мотор-вентиляторы», установленной на центральном табло (крайняя справа). Лампы «Смазка компрессора» установлены на электровозах с ЧС4-162.
Измерительные'приборы и сигнальные лампы расположены таким образом, что наблюдения за ними не мешают локомотивной бригаде следить за сигналами светофоров и состоянием пути.
На пульте со стороны машиниста находится штурвал контроллера / и реверсивная рукоятка 2. Доступ внутрь контроллера обеспечивается после снятия металлических панелей 3, крепящихся к каркасу пульта винтами 4 с фасонными головками. На расположенной рядом откидной панели 7 установлены указатель 22 положения главного выключателя, кнопка 8 «Выкл. ГВ» и четырнадцать кулачковых переключателей 10. В первом (нижнем) ряду размещены следующие переключатели (слева направо): «Контроль сигнальных ламп», «Буферный фонарь левый», «Буферный фонарь правый», «Прожектор», «Освещение кабины и приборов»; в среднем ряду — «Ручное управление переключателем ступеней», «Вентиляторы», «Компрессор № 2», сПантог.раф № 2», «Вспомогательный мотор-компрессор и песок»; в верхнем ряду — «Электропневматический тормоз», «Компрессор ,М» 1», «Пантограф № 1», «Выключатели управления и включение ГВ». Переключатели верхнего и среднего рядов (за исключением переключателя «Ручного управления ПС») механически блокируются замком 20 с указателем его положения 21.
Со стороны места помощника машиниста на отдельной панели
установлены переключатели 10 и кнопка 12, предназначенные для ' ключения и контроля АЛСН. На пульте имеются лампы 14 для осве-1ення документов с выключателями 15. Со стороны машиниста
напротив лампы подсветки в пульте имеется углубление, предназначенное для размещения расписания движения. Справа от машиниста на пульте расположены две кнопки: «Отпуск ЭПТ» и «Водоотвод главных резервуаров» (начиная с ЧС4-212), а на отдельной панели 27 кнопки 28 звуковых сигналов.
В средней части пульта на вертикальной стенке установлены рукоятка бдительности 5, аппарат поездной радиосвязи 9, а на электровозах с ЧС4-162— ручка 6 аварийного выключателя «Стоп».
Краны управления электропневматическими тормозами размещены справа от машиниста; там же находится регистрирующий скоростемер типа СЛ2М. Колонка ручного тормоза на электровозах.ЧС4 установлена под пультом со стороны помощника машиниста (на электровозах ДО-ЧС4-062 она закрывается откидной крышкой пульта). На электровозах ЧС4Т колонка ручного тормоза смонтирована на задней стене кабины за креслом машиниста.
На задних стенах кабин электровозов ЧС4 расположены также ~ выключатели и переключатели, не требующие периодического воздействия со стороны машиниста во время поездки. Переключающие аппараты, выполняющие одинаковые функции (включенные в схеме параллельно), продублированы в обеих кабинах. К ним относятся: выключатели отопления поезда от электровоза 416 (417—во второй кабине) с указателями положения контактора отопления 431 (432), выключатели цепей отопления в кабине 256, 265, 286, 287 (255, 264, 316, 319) с принадлежащими этим цепям АЗВ 276 — 280 (300 — 304), переключатели радиостанции 434 (433), выключатели освещения 606, 607 (635, 636), АЗВ цепей освещения 601 — 605 (627 ~ 629), розеток 220 В переменного тока 274 (296), вентиляторов кабин 275 (298), цепей управления электровозом 336, 348 (337).
Переключатели и АЗВ, не имеющие дублирования, размещены поровну в обеих кабинах. В первой кабине за креслом машиниста установлены переключатели с АЗВ электропневматического тормоза и следующие АЗВ: 359, 395, 405, 407, 408, 600, 800, 813, 817, 830. Там же смонтирован блок защит 850, а на электровозах до ЧС4-160 включительно — блок 150. Во второй кабине за креслом машиниста установлены выключатели аккумуляторной батареи 801 с переключателем 807 числа элементов аккумуляторной батареи и следующие АЗВ: 272, 273, 294, 297, 305, 321, 355, 409 — 411, 455, 535, 823, 824. За местом помощника машиниста во второй кабине размещены также умывальник с горячей и холодной водой и электроплитка для подогрева пищи.
На электровозах ЧС4Т все аппараты и оборудование с задних стен кабин перенесены в поперечные коридоры электровоза.
Для отоплении кабин на электровозах ЧС4 используются калориферы, а на электровозах ЧС4Т система кондиционирования воздуха. Кроме того, в пультах под ногами машиниста и помощника установлены электрические печи. На электровозах ЧС4 там же находятся калориферы, которые в зимний период обогревают лобовые окна, не допуская их замерзания. В окнах с помощью профильной резины закреплены специальные безосколочные стекла, не пропускающие тепловые лучи. В нижней части окон смонтированы стеклоочистители
с пневматическим приводом. Снаружи окна могут омываться потоком воды из бака, расположенного над пультом управления электровозом.
В кабине имеются три мягких сиденья (одно откидное). Сиденье машиниста можно регулировать по высоте и в горизонтальной плоскости. Это позволяет машинисту управлять электровозом как сидя, так и стоя. Угол обзора по вертикали, определяемый положением сиденья машиниста и высотой нижнего обреза окна, выбран таким, чтобы наблюдение за железнодорожным полотном при высоких скоростях движения не утомляло локомотивную бригаду. Достигается это тем, что ближайшая видимая точка впереди лежащего участка пути удалена от наблюдателя на 10 — 15 м. Боковые окна открывающиеся, что дает возможность локомотивной бригаде следить за составом при движении и создает удобства при маневрах, причем под боковым окном со стороны машиниста находится кнопочный маневровый контроллер.
К потолку кабин с помощью телескопических стоек прикреплены светофильтры. Для изоляции от шума кабины отделены от кузова резиновыми элементами.
За каждой кабиной находятся поперечные проходы, на противоположных концах которых расположены входные двери электровоза. В проходе за первой кабиной установлены шкаф с контакторами и реле, системы обнаружения неисправностей в низковольтных цепях («БОН» —- на электровозах ЧС4 или «ПУМ—Шкода» ■—• на электровозах ЧС4Т), счетчик электроэнергии, реле управления, переключатели радиостанции и автостопа, фильтр локомотивной сигнализации. В поперечном коридоре за второй кабиной смонтированы пневматические аппараты, вспомогательный мотор-компрессор и зарядное устройство аккумуляторной батареи с блоком управления. Там же расположены холодильник и санитарный узел. На электровозах начина* с ЧС4—162 холодильник установлен в первой кабине машинисте на месте блока 150.
Из поперечных проходов две двери ведут в машинное помещение. Расположение оборудования в машинных помещениях электровозов ЧС4 и ЧС4Т выполнено по блочному принципу. Электрическая аппаратура высоковольтных цепей размещена частично в высоковольтное камере (ВВК) электровоза, частично в отдельных шкафах, оснащении? блокировками безопасности. Выдержан принцип симметрии —• на; каждой тележкой установлено оборудование, относящееся к тяговыг. двигателям этой тележки.
В машинных отделениях электровозов находятся полупроводнико вые преобразовательные установки с аппаратурой их защиты, сгла жнвающце реакторы тяговых двигателей и вспомогательных машин резисторы ослабления поля тяговых двигателей, вспомогательны! электродвигатели и шкафы с высоковольтной аппаратурой: реверсо ры, переключатели X— О (на электровозах ЧС4) или X—Т (на элект ровозах ЧС4Т), контакторы ослабления поля тяговых двигателей реле перегрузки и др.
Вдоль боковых стен кузова электровоза через машинное помещени проходят два коридора. Из одного коридора при обесточенных силовы
цепях и опущенных токоприемниках через сетчатые двери с блокировками безопасности можно войти в находящуюся в средней части кузова ВВК, где размещены блок тягового трансформатора с высоковольтным переключателем ступеней, масляные насосы с электродвигателями, газовое реле тягового трансформатора и резисторы в цепи реле защиты высоковольтного оборудования от замыкания на землю и другие аппараты, связанные с тяговым трансформатором.
Тяговый трансформатор установлен таким образом, что его дно находится приблизительно на полметра ниже уровня пола кузова электровоза. На электровозах начиная с ЧС4-054 над трансформатором устанавливают лестницу для выхода на крышу электровоза. На электровозах до ЧС4-054 для подъема на крышу служили ступеньки, сделанные в кузове снаружи электровоза рядом с выходными дверями.
Силовые кабели уложены над полом машинного помещения, шины — в верхней части кузова, а низковольтные провода в пучках проложены вдоль коридоров и введены в общую коробку зажимов с помощью штепсельных разъемов.
Под кузовом электровоза расположены аккумуляторная батарея, розетки для подзарядки батареи, розетки для подключения переносных ламп, светильники для освещения ходовых частей, приемные катушки локомотивной сигнализации, штеккер устройства для подсоединения цепей отопления поезда от электровоза; а на электровозах ЧС4Т, кроме того, — устройство для ввода электровоза в депо от источ« ника постоянного тока и устройство для питания вспомогательных машин от постороннего источника переменного напряжения (последние на электровозах ЧС4Т установлены в машинном помещении). С каждой стороны электровоза на трех шейках колесных пар (на 1, 2 и 5-й с левой стороны и на 2, 5 и 6-й с правой) установлены устройства для отвода тока в рельсы. На обеих шейках 3-й и 4-й колесных пар смонтированы датчики тормозного регулятора Дако.
На крыше находятся токоприемники, главный выключатель, блок разъединителя токоприемников с заземлителем, высоковольтный разрядник, главные резервуары, антенна радиостанции, проходной изолятор для ввода антенны, змеевики компрессоров (начиная с ЧС4-162), а на электровозах ЧС4Т также тифоны. Для прохода по крыше с двух сторон установлены мостки. Рядом с ними находятся восемь люков песочных бункеров. Сами бункера размещены вдоль боковых степ кузова, причем каждый бункер оборудован застекленными окнами, через которые из кузова электровоза можно контролировать наличие песка.
Для удобства монтажа и демонтажа оборудования крыша электровоза разделена на отдельные съемные секции с резиновыми уплотнителями.
Все блоки аппаратов и машин, расположенные на электровозах, выполнены съемными. Демотаж оборудования не требует снятия соседних аппаратов и машин. Исключение составляют переключатель ступеней, сглаживающие реакторы, маслоохладители и резисторы ослабления поля тяговых двигателей (а на электровозах ЧС4Т также
мотор-компрессоры; на электровозах ЧС4Т демонтаж мотор-компрессоров производится через люк в боковой стене кузова электровоза).
В процессе эксплуатации электровозов необходимо систематически следить за состоянием крепления оборудования, ослабнувшие крепления своевременно подтягивать.
|
|