Тележки соединены между собой (рис. 52) при помощи водил 3 и упругой муфты 2. Каждое водило составлено из двух штанг трубчатого сечения, соединенных между собой под углом 4Г10'. Штанги с помощью шарнирного соединения 1, позволяющего им свободно поворачиваться относительно оси шарнира в вертикальной плоскости, закреплены на задних концевых балках рам 4 тележек. В местах соединения штанг водила снабжены проушинами, которые при помощи валиков соединяются с вилками упругой муфты, образуя шарниры. Шарниры муфты обеспечивают ей свободные угловые перемещения в горизонтальной плоскости. Валики шарниров застопорены от смещения в аксиальном направлении планкой, заходящей в профрезерованный на валике паз и закрепляемой болтами на вилке.
Основным упругим элементом муфты (рис. 53) является тарельчатая пружина 5. Она помещается между опорными прокладками 4 в полости втулки 7. Прокладки в свою очередь опираются: одна — на бурт днища втулки, другая — на выступ крышки муфты 3. Крышка крепится к втулке болтами 11.


Сквозь комплект тарельчатой пружины с опорными прокладками пропущен фасонный болт 6, конец которого крепится на резьбе в теле вилки / и от самоотвинчивания зафиксирован конусным штифтом 8. Между торцовой поверхностью вилок и опорной прокладкой с одной стороны упругого комплекта и опорной прокладкой и головкой болта с другой его стороны установлены сайлентблоки 2.
Каждый сайлентблок состоит из наружной и внутренней втулок, к которым привулканизирована заключенная между ними цилиндрическая резиновая прокладка. Торцы наружной и внутренней втулок сайлентблоков смещены друг относительно друга на 8 мм. Сайлентблоки устанавливают свободно, без натяга. Жесткость резинового элемента, работающего на срез, невелика (20 кгс/мм)*. Это обеспечивает при движении электровоза в прямых участках пути • практически свободные взаимные перемещения тележек в горизонтальной плоскости. Такая конструкция позволяет осуществлять взаимные угловые смещения вилок муфты вокруг ее оси, т. е. реализует еще один шарнир, развязывающий перемещения в вертикальной плоскости.
* На электровозах начиная с ЧС4-162 резиновые элементы отсутствуют.
Упругая муфта скользуном 10, закрепленным на втулке винтами 9, опирается на горизонтальную плоскость рамки, смонтированной на кузове. Таким образом, при появлении вертикальных колебаний электровоза муфта перемещается вместе с кузовом, а шарниры заделки водила 1 (см. рис. 52) — с задней концевой балкой рамы тележки. Наличие же выше описанной шарнирной системы позволяет осуществлять эти перемещения свободно, без возникновения значительных вертикальных усилий в сопряженных элементах сочленения.
Возникновение горизонтальной силы в сочленении обусловлено изменением линейного расстояния между центрами шарниров муфты. В зависимости от направления движения электровоза и характера кривой в плане (левая "или правая кривая) это расстояние может как уменьшаться, так и увеличиваться относительно номинала. При движении шарниров навстречу друг другу вилка 1 (см. рис. 53) деформирует резиновый элемент сайлентблока и после исчерпания зазора 8 мм между внутренней втулкой и опорной прокладкой жестко передает усилие на пружинный комплект, сжимая его. При движении шарниров в разные стороны по той же схеме работает головка болта 6. Таким образом, независимо от направления движения шарниров тарельчатые пружины работают только на сжатие.
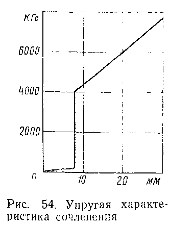
В комплекте тарельчатых пружин, имеющем жесткость 430 кгс/мм, осуществлен преднатяг, равный 4000 кгс, в связи с чем упругая характеристика сочленения (рис. 54) представляет собой ломаную линию: при перемещении до 8 мм сила в сочленении увеличивается пропорционально жесткости резинового элемента сайлентблока, по исчерпании этого зазора увеличение силы в сочленении до величины преднатяга не вызывает дополнительных перемещений, при силах больше 4000 кгс тарельчатые пружины начинают сжиматься и шарниры муфты вновь получают перемещение. После исчезновения внешних сил накопленная в сочленении энергия возвращает тележки в соосное положение.
Неправильная сборка или неисправность элементов сочленения (например, изгиб штанг) может привести к ненормальной работе экипажа. В частности, это может стать причиной установки тележек в плане с перекосом, т. е. положения, при котором их продольные оси будут составлять между собой некоторый угол.
В результате при движении электровоза в прямых и кривых участках пути повысится уровень горизонтальных сил, а также появится повышенный и неравномерный износ бандажей колесных пар.
Неудовлетворительная работа шарниров послужит причиной появления вертикальных сил в сочленении, на которые его элементы не рассчитаны и могут оказаться недостаточно прочными.
|
|