СЦБИСТ - железнодорожный форум, блоги, фотогалерея, социальная сеть
Вернуться   СЦБИСТ - железнодорожный форум, блоги, фотогалерея, социальная сеть > Уголок СЦБИСТа > Документация > Системы централизации и блокировки > Релейные централизации
Закладки ДневникиПоддержка Социальные группы Поиск Сообщения за день Все разделы прочитаны Комментарии к фото Сообщения за день
Ответить в этой теме   Перейти в раздел этой темы    
 
В мои закладки Подписка на тему по электронной почте Отправить другу по электронной почте Опции темы Поиск в этой теме
Старый 17.04.2009, 19:30   #1 (ссылка)
Уокер ака Чак
 
Аватар для СЦБист

Регистрация: 21.02.2009
Сообщений: 809
Поблагодарил: 39 раз(а)
Поблагодарили 2789 раз(а)
Фотоальбомы: 953 фото
Записей в дневнике: 14
Репутация: 93

Тема: Блочная ЭЦ малых станций ЭЦ-9


Схемы блочной электрической централизации малых станций (от 15 до 30 стрелок) ЭЦ-9

Типовые решения

СКАЧАТЬ
__________________

Зарегистрируйтесь, чтобы скачивать файлы.
Внимание! Перед скачиванием книг и документов установите программу для просмотра книг отсюда. Примите участие в развитии ж/д вики-словаря / Журнал "АСИ" онлайн



Если не можете скачать файл... / Наше приложение ВКонтакте / Покупаем электронные версии ж.д. документов
СЦБист вне форума   Цитировать 0
Поблагодарили:
Данный пост получил благодарности от пользователей
Старый 05.06.2012, 21:14   #2 (ссылка)
Super V.I.P.
 
Аватар для art29

Регистрация: 09.04.2009
Сообщений: 718
Поблагодарил: 401 раз(а)
Поблагодарили 548 раз(а)
Фотоальбомы: не добавлял
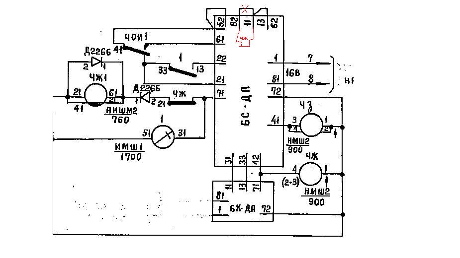
Включение постовой ячейки по альбому ЭЦ-9.

Возник вопрос...так невзначай... при проследовании короткой подвижной еденицой, СУ, первой по удалению,первым возбуждается реле ЧЗ от ещё посылаемого кода "З".
В дальнейшем возбуждается реле ЧЖ, так как имеет замедление на притяжение, и фактически на пульте до 4-5 секунд возникает ложная индикация свободности сразу двух блок-участков(до обесточивания ЧЗ).
Может имеет смысл в цепь заряда конденсаторов реле ЧЗ включить контакт реле ЧЖ, как на автоблокировке, а то уж больно глаз режет, аль может у кого так и сделано(за сорок лет то)))), а.......? иль может нельзя


art29 вне форума   Цитировать 1
Старый 05.06.2012, 22:06   #3 (ссылка)
V.I.P.
 
Аватар для shtcran

Регистрация: 19.12.2010
Адрес: Москва ШТЦ
Возраст: 73
Сообщений: 21
Поблагодарил: 0 раз(а)
Поблагодарили 1 раз(а)
Фотоальбомы: не добавлял
Репутация: 7
Мужики! Эта схема была создана под ДЯ-"Б попему не надо на чего изобретать - жуйте всё что осталось от магистров

shtcran добавил 05.06.2012 в 23:06
поправка ДЯ2Б

Последний раз редактировалось shtcran; 05.06.2012 в 22:06. Причина: Добавлено сообщение
shtcran вне форума   Цитировать 0
Старый 05.06.2012, 22:47   #4 (ссылка)
Super V.I.P.
 
Аватар для art29

Регистрация: 09.04.2009
Сообщений: 718
Поблагодарил: 401 раз(а)
Поблагодарили 548 раз(а)
Фотоальбомы: не добавлял
ну ладно, магистров, трогать не будем)))
хотя присутствует некая незавершённость
art29 вне форума   Цитировать 1
Похожие темы
Тема Автор Раздел Ответов Последнее сообщение
=ТМП= Схемы блочной электрической централизации малых станций ЭЦ-4 - 501-0-8 Admin Релейные централизации 16 24.08.2023 11:41
Устройства электропитания малых станций. mishascb Устройства электропитания и ДГА 5 03.02.2014 06:00
=Техн. решения= Схемы блочной электрической централизации малых станций ЭЦ-9 - 501-0-8/75 Толян Релейные централизации 4 22.07.2013 05:57
Статив питания для малых станций СПМС 1,0-75 и 1,5-75 Admin Электропитание железнодорожной автоматики 0 17.12.2010 18:49
Схемы и конструкции питающих устройств электрической централизации малых станций ЭЦ-5 ganz77 Электропитание железнодорожной автоматики 3 14.04.2010 13:27

Ответить в этой теме   Перейти в раздел этой темы   Translate to English


Здесь присутствуют: 1 (пользователей: 0 , гостей: 1)
 
Опции темы Поиск в этой теме
Поиск в этой теме:

Расширенный поиск

Ваши права в разделе
Вы не можете создавать новые темы
Вы не можете отвечать в темах
Вы не можете прикреплять вложения
Вы не можете редактировать свои сообщения

BB коды Вкл.
Смайлы Вкл.
[IMG] код Вкл.
HTML код Выкл.
Trackbacks are Вкл.
Pingbacks are Вкл.
Refbacks are Выкл.



Часовой пояс GMT +3, время: 04:15.

Яндекс.Метрика Справочник 
сцбист.ру сцбист.рф

СЦБИСТ (ранее назывался: Форум СЦБистов - Railway Automation Forum) - крупнейший сайт работников локомотивного хозяйства, движенцев, эсцебистов, путейцев, контактников, вагонников, связистов, проводников, работников ЦФТО, ИВЦ железных дорог, дистанций погрузочно-разгрузочных работ и других железнодорожников.
Связь с администрацией сайта: admin@scbist.com
1 2 3 4 5 6 7 8 9 10 11 12 13 14 15 16 17 18 19 20 21 22 23 24 25 26 27 28 29 30 31 32 33 34 
Powered by vBulletin® Version 3.8.1
Copyright ©2000 - 2026, Jelsoft Enterprises Ltd.
Powered by NuWiki v1.3 RC1 Copyright ©2006-2007, NuHit, LLC Перевод: zCarot