СЦБИСТ - железнодорожный форум, блоги, фотогалерея, социальная сеть
Вернуться   СЦБИСТ - железнодорожный форум, блоги, фотогалерея, социальная сеть > Техника > Уголок радиолюбителя > КВ и УКВ радиосвязь
Закладки ДневникиПоддержка Сообщество Комментарии к фото Сообщения за день
Ответить в этой теме   Перейти в раздел этой темы    
 
В мои закладки Подписка на тему по электронной почте Отправить другу по электронной почте Опции темы Поиск в этой теме
Старый 09.08.2015, 09:26   #1 (ссылка)
Crow indian
 
Аватар для Admin

Регистрация: 21.02.2009
Возраст: 40
Сообщений: 30,157
Поблагодарил: 398 раз(а)
Поблагодарили 6009 раз(а)
Фотоальбомы: 2607 фото
Записей в дневнике: 817
Репутация: 126146

Тема: Каскады усиления промежуточной частоты, детекторы и цепи автоматической регулировки усиления


Каскады усиления промежуточной частоты, детекторы и цепи автоматической регулировки усиления


Немаловажную роль в супергетеродинных приемниках играют каскады усилителей промежуточной частоты. Они обеспечивают необходимое усиление по высокочастотному тракту и избирательность приемника по соседнему каналу. Кроме того, в этих каскадах осуществляется автоматическая регулировка усиления. Несмотря на столь ответственные функции, каскады усиления промежуточной частоты сравнительно просты в схемах и налаживании. Существующие разновидности схем различаются лишь по конструктивному выполнению нагрузок. Большое распространение получили одиночные контуры. Вызвано это в основном простотой их настройки, произвести которую можно без специальных измерительных приборов. Полосовые фильтры встречаются очень редко и обычно в сложных приемниках промышленного изготовления.

В последнее время появилась новая разновидность нагрузки — многоконтурный фильтр сосредоточенной селекции, обеспечивающий высокую избирательность приемника по соседнему каналу. По сложности налаживания он аналогичен полосовому фильтру и пока довольно редко применяется радиолюбителями.

Часто в радиолитературе встречаются схемы каскадов усилителей с нейтрализацией нежелательной внутренней проводимости в транзисторах. Применение нейтрализации позволяет получить несколько более устойчивое усиление транзистора, нежели без нее, но это очень кропотливая, трудоемкая работа. Использование в усилителях современных транзисторов П15, П401— П403 и правильный выбор их режимов практически гарантируют хорошую работу каскадов промежуточной частоты без применения нейтрализации. Прибегать к ее помощи нужно лишь в случаях использования транзисторов с-низкой граничной частотой.


Неотъемлемой частью усилителей промежуточной частоты являются детекторы и цепи автоматической регулировки усиления. Детекторы обычно выполняют на полупроводниковых диодах и реже на транзисторах, которые, кроме детектирования, одновременно и усиливают преобразованный сигнал.

Наибольшее предпочтение отдается диодным детекторам, потому что они имеют очень простые схемы и не требуют никакого налаживания. Этого нельзя сказать о транзисторных детекторах. Схемы их значительно сложнее, имеют большое число деталей и требуют тщательного подбора режима работы транзистора. Если не выполнено последнее условие, то транзистор одинаково плохо работает и как детектор, и как низкочастотный усилитель.

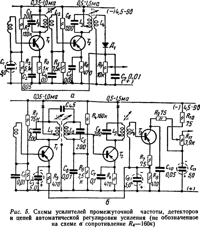
Почти во всех супергетеродинных приемниках применяются цепи автоматической регулировки усиления, устраняющие перегрузку отдельных каскадов при настройке приемника на мощные местные станции. Обычно в схемном решении цепи регулирования просты и практически не требуют налаживания. Два варианта схем усилителей промежуточной частоты показаны на рис. 5.

В варианте рис. 5,а схема выполнена на одиночных контурах с детектором на полупроводниковом диоде. Автоматическая регулировка усиления осуществляется по цепи базы транзистора Тг.

В варианте рис. 5, б в первом каскаде применен двухзвенный фильтр сосредоточенной селекции, во втором — одиночный контур. Детектор выполнен на транзисторе. Автоматическая регулировка усиления осуществляется по цепи эмиттера транзистора Т\.

В схемах можно использовать контурные катушки, выполненные на горшкообразных сердечниках типа СБ-la из карбонильного железа, помещенные в экраны. Емкости конденсаторов указаны с учетом применения экранов. Для работы на частоте 465 кгц катушки должны иметь следующие данные: коллекторные 65+95 витков провода ПЭЛ 0,1, связи — 9—10 витков провода ПЭЛ 0,12—0,15. Катушка связи с диодным детектором может иметь 25—35 витков того же провода.

Применяемые транзисторы указанных выше типов должны иметь коэффициенты усиления р = 50120 для первого каскада и 40-*-60 для второго.

Кроме описанных высокочастотных каскадов, в приемниках почти всегда применяются и каскады усиления низкой частоты. Схемы их обычно просты и легко осваиваются радиолюбителями. Поэтому в настоящей главе не говорится о низкочастотных усилителях.
Admin вне форума   Цитировать 14
Похожие темы
Тема Автор Раздел Ответов Последнее сообщение
Каскады преобразователей частоты Admin КВ и УКВ радиосвязь 0 09.08.2015 09:24
РЦ-АБТс-АТ(25,50)-90 - Рельсовые цепи тональной частоты, кодируемые АЛСН 25, 50 Гц, автоблокировки с автоматической переездной сигнализации для участков с авт. тягой. Блок-участки ограничены стыками Admin Рельсовые цепи 0 28.04.2011 23:27
РЦТ/К-ПС-ЭТ50-П-90 - Рельсовые цепи тональной частоты для переездов, оборудованных автоматической переездной сигнализацией, располагаемые на перегонах с кодовой автоблокировкой при эл-тяге перем. тока Admin Рельсовые цепи 0 26.12.2010 15:47
РЦТ/К-ПС-ЭТ00-П-91 - Рельсовые цепи тональной частоты для переездов, оборудованных автоматической переездной сигнализацией, располагаемые на перегонах с кодовой автоблокировкой при электротяге постоян Admin Рельсовые цепи 0 26.12.2010 15:44
РЦТ/К-ПС-АТ-П-90 - Рельсовые цепи тональной частоты для переездов, оборудованных автоматической переездной сигнализацией, располагаемые на перегонах с кодовой автоблокировкой при автономной тяге Admin Рельсовые цепи 0 26.12.2010 15:42

Ответить в этой теме   Перейти в раздел этой темы   Translate to English


Здесь присутствуют: 1 (пользователей: 0 , гостей: 1)
 

Ваши права в разделе
Вы не можете создавать новые темы
Вы не можете отвечать в темах
Вы не можете прикреплять вложения
Вы не можете редактировать свои сообщения

BB коды Вкл.
Смайлы Вкл.
[IMG] код Вкл.
HTML код Выкл.
Trackbacks are Вкл.
Pingbacks are Вкл.
Refbacks are Выкл.



Часовой пояс GMT +3, время: 10:01.

Яндекс.Метрика Справочник 
сцбист.ру сцбист.рф

СЦБИСТ (ранее назывался: Форум СЦБистов - Railway Automation Forum) - крупнейший сайт работников локомотивного хозяйства, движенцев, эсцебистов, путейцев, контактников, вагонников, связистов, проводников, работников ЦФТО, ИВЦ железных дорог, дистанций погрузочно-разгрузочных работ и других железнодорожников.
Связь с администрацией сайта: admin@scbist.com
1 2 3 4 5 6 7 8 9 10 11 12 13 14 15 16 17 18 19 20 21 22 23 24 25 26 27 28 29 30 31 32 33 34 
Powered by vBulletin® Version 3.8.1
Copyright ©2000 - 2026, Jelsoft Enterprises Ltd.
Powered by NuWiki v1.3 RC1 Copyright ©2006-2007, NuHit, LLC Перевод: zCarot