БЛОК БКСМШ-3
Запись от Ник Неизвестно размещена 15.10.2012 в 19:55
Подгорают резисторы R4,R5 в блоке БКСМШ-3.Схема стрелки двухпроводная общее контрольное реле КШ1-800,короче класика 1972.Непонятно почему так?
Всего комментариев 1
Комментарии
-
Почитай-ка))
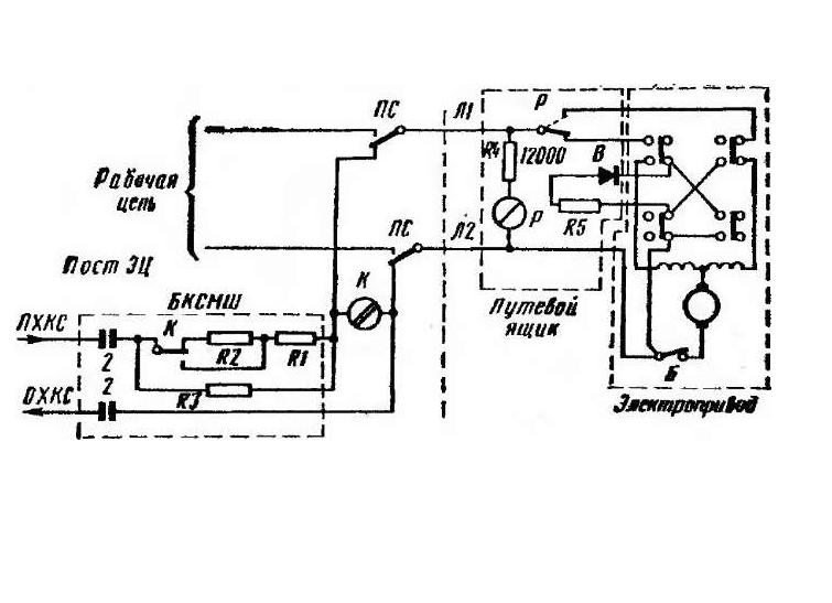
В цепи питания контрольного реле К двухпроводной схемы управления стрелкой резисторы R1, R2 и RЗ ограничивают токи переходных процессов, возникающие в контрольной цепи стрелочного электропривода, остановившегося при среднем положении остряков стрелки.
Так как переменное напряжение контрольного тока в этом случае попадает не только на реле К, но и на все приборы линейной цени (рис. 1), то возможны переходные процессы из-за неплотного прилегания контактов автопереключателя или щеток к коллектору электродвигателя, ослабления клемм, коммутации линейных проводов контактами пускового реле и т. д.
Если в образовавшемся зазоре пробьет искра, то при определенных условиях в нем создается устойчивый выпрямительный процесс, который приведет к ложному срабатыванию контрольного реле.
Это возможно в двух случаях.
Первый — при очень малом зазоре. Находящаяся в нем пыль с коллектора, примесь щелочно-земельных элементов или пары углерода, имея малую скорость выхода электрона, активизируют газовый разряд. Создаются условия для эмиссии электронов при относительно небольшой

Рис. 1. Схема контрольной цепи двухпроводной схемы
величине приложенного напряжения (десятки вольт). Второй — при образовании дуги, при чем только в положительных или отрицательных полупериодах переменного тока.
Известно, что дуга возникает лишь в том случае, если напряжение источника питания и ток в цепи превосходят минимальные (критические) значения.
Например, для контакта из меди критическая величина тока дуги в цепи постоянного тока 0,43 А, для контакта из угля — 0,03 А. Поэтому, если зазор в цепи переменного тока образован электродами из разнородных материалов (угольная щетка и медная пластина коллектора) или однородных, но с различной степенью загрязненности, то в одном полупериоде, когда катодом является электрод из материала с большим критическим током, возникнет только искра, в другом, когда катодом становится электрод из материала с меньшим критическим током, возникнет дуга.
Поскольку сопротивление зазора при дуге близко к нулю, а при искровом пробое составляет десятки и сотни Ом, то в цепи появятся разнополярные импульсы тока различной амплитуды, создающие постоянную составляющую, имеющую наибольшую величину при пробое только в одном полупериоде переменного тока.
Есть несколько способов предотвращения ложных срабатываний контрольного реле К при искровых разрядах. Один из них — в ограничении тока в цепи до значения ниже критического.
Этого можно добиться лишь увеличением активного сопротивления цепи, так как увеличение емкостного или индуктивного сопротивления приводит к снижению установившегося тока, но не к уменьшению импульсов переходного тока, возникающего от искрового пробоя.
Отсюда величина резистора КЗ (10000 Ом) в схеме подобрана такой, чтобы ток в контрольной цепи ни при каких условиях не достигал значения зажигания дуги.
Однако такая величина резистора R3 не обеспечивает четкого срабатывания реле через вентиль в контрольном режиме.
Поэтому параллельно резистору RЗ включен резистор R1 сопротивлением 1000 Ом. Теперь создаются условия надежного срабатывания реле К через собственный тыловой контакт.
При размыкании контакта реле выпрямительный процесс через вентиль продолжается по цепи резистора RЗ.
При выпрямительном процессе на коллекторе и наличии в цепи только резистора R1 возникающая постоянная составляющая также приводит к размыканию тылового контакта реле.
Однако резистор RЗ способствует снижению тока в цепи и выпрямительный процесс прекращается. Реле вновь замыкает тыловой контакт, резистор RЗ шунтируется и процесс повторяется.
Если в этот момент случайно замкнется фронтовой контакт реле К, последовательно с резистором R1 включается резистор R2, и дуга погаснет.
Величина сопротивления резистора R2 (1000 Ом) обеспечивает в нормальном режиме напряжение надежного удержания якоря реле К.Запись от art29 размещена 15.10.2012 в 22:08



