ТЕХНИЧЕСКОЕ ОБСЛУЖИВАНИЕ И РЕМОНТ КРАНОВ МАШИНИСТА № 394 И № 395
1 КРАТКАЯ ХАРАКТЕРИСТИКА КРАНА МАШИНИСТА
1.1 Назначение
Краны машиниста предназначены для управления прямодействующими и непрямодействующими тормозами подвижного состава.
К конструкции крана машиниста предъявляются следующие технические требования:
- для ускорения процесса зарядки и отпуска тормозов должно использоваться давление главных резервуаров;
- кран должен автоматически переходить с любого сверхзарядного давления в тормозной магистрали на зарядный уровень регулируемым темпом;
- при поездном положении ручки кран должен поддерживать требуемое заданное давление в тормозной магистрали;
- у крана должно быть положение перекрыши; желательно, два положения: с питанием и без питания утечек из тормозной магистрали;
- служебное торможение кран должен обеспечивать определенным темпом с любого уровня зарядного давления, как полное, гак и ступенчатое;
отпуск тормозов должен быть полным и ступенчатым;
- при отпуске в поездном положении ручки крана должна быть автоматическая зависимость между значением начального скачка давления в тормозной магистрали и предшествовавшей ступенью торможения;
- при экстренном торможении кран должен обеспечивать прямое сообщение тормозной магистрали с атмосферой.
1.2. Конструкция поездного крана машиниста усл. № 394 (395)
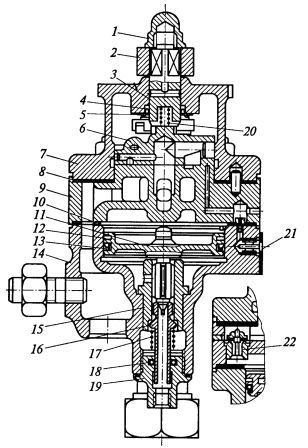
Поездной кран состоит из пяти пневматических частей: корпуса нижней части 1 (рис.1), редуктора зарядного давления 2, средней части 3, крышки 4, стабилизатора темпа ликвидации сверхзарядного давления 8 и электрического контроллера 6.
Конструкция пневматических частей поясняется на примере крана машиниста усл. № 395-000-2. В верхней части крана (рис.2) имеется золотник 6, соединенный стержнем 3 с ручкой 2 крана. Ручка крана закреплена контргайкой 1 и имеет на крышке 7 верхней части семь фиксированных положений. Стержень уплотнен в верхней части крышки манжетой 4.
Рис.1. Кран машиниста усл. № 395
Средняя часть 9 представляет собой чугунную отливку, верхняя часть которой является зеркалом золотника. В корпусе средней части запрессована бронзовая втулка, являющаяся седлом алюминиевого обратного клапана 22.
В нижней части корпуса 14 находятся пустотелый впускной клапан 16 и уравнительный поршень 11, хвостовик которого образует выпускной клапан. Уравнительный поршень уплотнен резиновой манжетой 13 и латунным кольцом 12. Впускной клапан прижимается к седлу 75 пружиной 17. Хвостовик впускного клапана уплотнен резиновой манжетой 18, установленной в цоколе 19.

Рис. 2 Верхняя, средняя и нижняя части крана машиниста
В нижнюю часть корпуса ввернуты четыре шпильки, которые скрепляют все три части крана через резиновые прокладки 8 и 10, а также сетчатый фильтр 21. Редуктор зарядного давления и стабилизатор темпа ликвидации сверхзарядного давления крепятся к корпусу нижней части крана.

Рис. 3 Редуктор
Редуктор (рис.3) предназначен для автоматического поддержания определенного зарядного давления в уравнительном объеме крана при поездном положении ручки. Редуктор состоит из двух частей: верхней — крышки 26 и нижней — корпуса 30, между которыми зажата металлическая диафрагма 28. В верхней части корпуса расположено седло 27 питательного клапана 25, пружина 24 и заглушка 23. В нижнюю часть ввернут регулировочный стакан 32, с помощью которого изменяется усилие регулировочной пружины 31 на опорную шайбу 29.
Фрагмент работы с оформлением в формате PDF можно посмотреть ЗДЕСЬ
В комплект входит чертеж крана машиниста на формате А1 в программе "Компас" (формат CDW)









