УСТРОЙСТВО И РЕМОНТ ЭЛЕКТРОПНЕВМАТИЧЕСКИХ КОНТАКТОРОВ ТИПА ПК
1 КРАТКИЕ СВЕДЕНИЯ ОБ ЭЛЕКТРОПНЕВМАТИЧЕСКИХ КОНТАКТОРАХ
Электропневматическими контакторами называют аппараты для замыкания электрических цепей под нагрузкой, имеющие индивидуальный электрический привод.
Применяются электропневматические контакторы ПК14-19 (ПК-053Т), ПК21-26, ПК31-36, ПК41-46. Конструкция контакторов всех типов аналогична. Различаются они наличием системы дугогашения, дугогасительными камерами, блокировками и включающими вентилями.
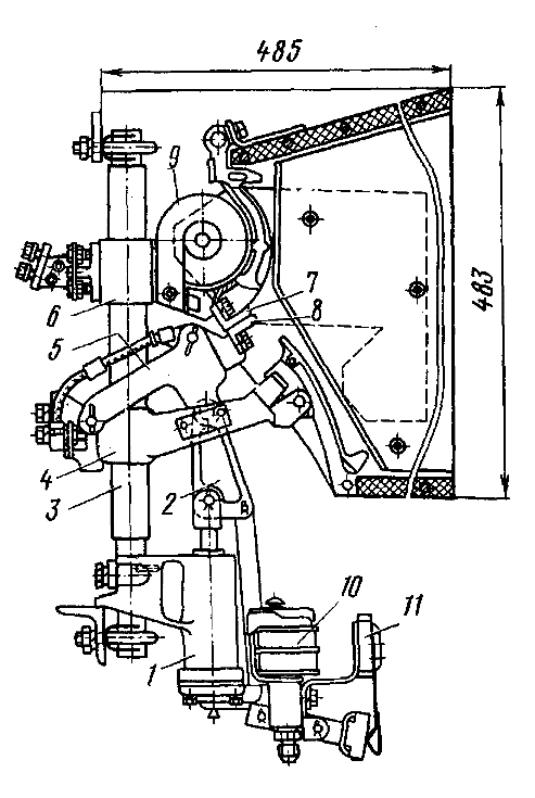
На изолированном металлическом стержне 3 ( рисунок 1) собраны все узлы контактора: кронштейн 6 с неподвижным контактом 7 и дугогасительной
Рисунок 1 - Электропневматический контактор ПК 14-19
катушкой 9; кронштейн 4 подвижного контакта 8, который шарнирно соединен с рычагом 5; пневматический привод 1 и тяга 2. Пневматический привод состоит из цилиндра, выключающей пружины, поршня с уплотнительной резиновой манжетой и электромагнитного включающего вентиля 10.
При включении катушки вентиля сжатый воздух поступает в цилиндр пневматического привода, поршень перемещает тягу, которая поворачивает рычаг и замыкает подвижной контакт с неподвижным. Одновременно происходит переключение блокировки 11, система которой связана с тягой.
При отключении включающей катушки вентиля сжатый воздух из цилиндра выпускается, и поршень под действием сжатой пружины быстро возвращается в исходное положение, размыкая подвижной контакт с неподвижным. По способу подачи воздуха к приводу через отверстие а и наличию блокировки контакторы имеют шесть исполнений.
Контакторы ПК31-36, ПК41-46 имеют дугогасительные камеры трехщелевого типа, состоящие из двух асбестоцементных стенок (рисунок 2)
Рисунок 2 - Электропневматический контактор ПК41-46
и двух внутренних асбестоцементных перегородок, скрепленных болтами. Внутри камеры имеется дугогасительный рог. Снаружи камеры расположены полюсы для проведения магнитного потока в зону гашения дуги. Полюсы плотно прилегают к сердечнику дугогасительной катушки, которая укреплена на неподвижном кронштейне.
Контакторы ПК21-26 имеют лабиринтно-щелевые камеры, выполненные из двух спрессованных боковин из дугостойкого материала КМК-218. Лучи обеих боковин камеры образуют лабиринт, создающий благоприятные условия для быстрого гашения дуги. В стенки камеры впрессованы стальные полюсы.
Фрагмент работы с оформлением в формате PDF можно посмотреть ЗДЕСЬ
В комплект входит чертеж контактора ПК 41-46 на формате А1 в программе "Компас" (формат CDW)








