![]() |
Испытание контактов реле НМПШ-1000 (НМПШ-900) на длительную работу осуществляется при частоте срабатывания 8—10 раз в 1 мин. Нагрев контактов реле НМПШ-1000 (НМПШ-900) испытывают при пропускании через замкнутые усиленные контакты тока 15 А, через замкнутые нормальные контакты тока 10 А в течение 2 ч. Контакты должны выдерживать указанную нагрузку, не деформируясь. Температура нагрева контактов при этом не должна превышать температуру окружающей среды более чем на +100°С.
Каждый замыкающий и размыкающий контакт реле НМПШ-400 и НМПШ-2500 должен обеспечивать не менее 2 000 000 включений и выключений электрических цепей постоянного тока 2 А, 12 В.
Испытание контактов реле НМПШ-400 и НМПШ-2500 на длительную работу производится при частоте срабатывания 45—55 раз в
1
мин. Нагрев контактов реле НМПШ-400 и НМПШ-2500 испытывают при пропускании через
замкнутые контакты тока 3 А в течение
2
ч. Контакты должны выдерживать указанную нагрузку, не деформируясь.
Температура нагрева контактов при этом не должна превышать температуру окружающей
среды более чем на +100°С.
Замыкающие
контакты реле НМПШЗ-0,2/250, НМПЗ-0,2/250,
НМПШЗМ-0,2/250, НМПЗМ-0,2/250, НМПШЗ-0,2/220,
НМПЗ-0,2/220, НМПШ-0,3/90 и НМП-0,3/90 представляют собой плоские бронзовые пружины с контактными наклепами из металло-керамического сплава марки СрКд-86-14, размыкающие и перекидные контакты — с контактными наклепами из серебра.
Переходное
сопротивление контактов реле НМПШЗ-0,2/250,
НМПЗ-0,2/250, НМПШЗМ-0,2/250, НМПЗМ-0,2/250,
НМПШЗ-0,2/220, НМПЗ-0,2/220, НМПШ-0,3/90 и НМП-0,3/90 должно соответствовать следующим значениям:
—для замыкающих контактов, измеренное без контактов розетки, — не более 0,15 Ом, с
контактами розетки — не более 0,2 Ом;
—для размыкающих контактов, измеренное без контактов розетки, — не более 0,03 Ом, с
контактами розетки — не более 0,08 Ом.
После гарантийного количества срабатываний переходное сопротивление замыкающих контактов должно быть не более 0,4 Ом без контактов розетки.
Замыкающие и перекидные контакты реле НМПШ-1000 (НМПШ-900) представляют собой плоские бронзовые пружины i наклепами из металлокерамического сплава. Усиленные фронтовые контакты имеют магнитное дутье.
Переходное сопротивление контактов реле НМПШ-1000 (НМПШ-900), измеренное без контактов розетки, должно быть не более 0,15 Ом, с контактами розетки — не более 0,2 Ом.
Замыкающие, размыкающие и перекидные контакты реле НМПШ-400, НМПШ-2500 представляют собой бронзовые пружины с наклепами из металлокерамического сплава. Переходное сопротив ление контактов реле НМПШ-400 и НМПШ-2500 должно быть не более 0,15 Ом, измеренное без контактов розетки, с контактами розетки — не более 0,2 Ом.
После гарантийного количества срабатываний переходное сопротивление контактов реле НМПШ-1000 (НМПШ-900), НМПШ2-400 и НМПШ2-2500 должно быть не более 0,4 Ом без контактов розетки.
Переходное сопротивление контактов измеряется методом вольтметра — амперметра при токе 0,5 А и источнике питания 12 В постоянного тока при отпущенном и притянутом до упора якоре приборами класса точности не ниже 2,5. За переходное сопротивление контактов принимается среднее значение из трех наблюдений с двукратным включением реле (притяжение и отпускание якоря) после каждого отсчета.
Условия эксплуатации. Реле изготовляют для следующих условий эксплуатации:
— температура окружающего воздуха для штепсельных реле от
50 до +60°С, для
нештепсельных реле — от 5 до +35°С;
—относительная влажность
окружающего воздуха для штепсельных реле
до 90% при температуре +20°С и до 70% при температуре • 40°С, для нештепсельных реле — до 80% при
температуре +20°С;
—рабочее положение —
горизонтальное, контактным набором кверху.
Допускаются отклонения от рабочего положения не более чем на 5° в любую сторону.
Реле должны храниться в закрытом вентилируемом помещении в картонных коробках при температуре от 5 до +35°С, относительной влажности воздуха не более 80% и отсутствии в окружающей среде кислотных и других агрессивных примесей. Хранение в транспортной упаковке допускается не более трех месяцев. Габаритные размеры и масса реле НМПШ:
|
|
Габаритные Масса
реле
размеры, мм без розетки,
кг
НМПШЗ-0,2/220, НМПШЗ-0,2/250;
НМПШЗМ-0,2/250 2,1
НМПШ-0,3/90, НМПШ-1200/250 210x87xll2 1,78
НМПШ-1000 (НМПШ-900) 1,8
НМПШ-400, НМПШ-2500 1,9
НМПЗ-0,2/220, НМПЗ-0,2/250,
НМПЗМ-0,2/250 123x62x80 1,3
НМП-0,3/90, НМП-0,035/90 132x62x93 1,1
Реле аварийные малогабаритные типа АШ2
Назначение. Реле типа АШ2 предназначены для включения резервного питания в случае аварии основной питающей линии и изготовляются трех видов:
—АШ2-12/24 — на номинальные
напряжения 12 и 24 В переменного тока частотой 50 и 75 Гц (черт. 24152.00.00);
—АШ2-110/220 — на номинальные
напряжения ПО, 127 и 220 В переменного тока частотой 50 и
75 Гц (черт. 24155.00.00);
—АШ2-1800 и АШ2-1440 — на
номинальное напряжение 24 В постоянного тока (черт. 24291.00.00).
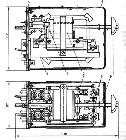
Некоторые конструктивные особенности. Основными деталями аварийных малогабаритных штепсельных реле типа АШ2 (рис. 138) являются: 1 — ручка; 2 — фронтовой контакт; 3 — общий контакт; 4 — тыловой контакт; 5 — диод; 6 — основание; 7 — ярмо; 8 — катушка; 9 — колпак; 10 — сердечник; 11 — якорь.
Реле изготовляют только в штепсельном исполнении и устанавливают на стативах и в релейных шкафах.
|
Рис. 138. Реле типа АШ2 |
Конструкция электромагнитной системы реле АШ2 аналогична
|
|

Рис. 139. Расположение контактов и схемы включения обмоток аварийных реле (вид с монтажной стороны)
конструкции реле АНШ2, а конструкция контактной системы — конструкции реле НМПШ2-400.
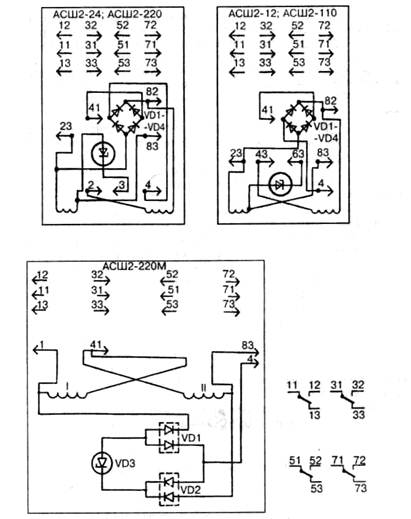
Схемы включения обмоток реле типов АШ2-12/24, АШ2-110/220 м АШ2-1800 (АШ2-1440) приведены соответственно на рис. 139, а, 6, в.
Подключение аварийных реле типа АШ2 и установка перемычек на розетке в зависимости от значения питающего напряжения производятся в соответствии с табл. 126.
|
|
Таблица 126 Устанавливаемые перемычки при включении реле ЛШ2
Электрические характеристики реле при температуре (20±5)°С и относительной влажности воздуха до 90% должны соответствовать данным, указанным в табл. 127.
Значение напряжения отпускания якоря должно быть не менее 50% фактического значения напряжения полного притяжения якоря.
Таблица 127
Электрические
характеристики реле

Напряжение полного притяжения якоря реле АШ2-1800, измеренное при обратной полярности на катушках реле, не должно быть больше чем на 20% напряжения, измеренного при прямой полярности. После 50 000 срабатываний все электрические характеристики реле не должны отличаться от соответствующих значений, измеренных до испытаний, более чем на ±10%.
Электрические характеристики реле АШ2-12/24 и АШ2-110/220 измеряются при контрольных испытаниях на переменном токе частотой 50 Гц, при типовых испытаниях — на переменном токе частотой 50 и 75 Гц приборами класса точности не ниже 1,5. Электрические характеристики реле АШ2-1800 измеряются приборами класса точности не ниже 1,0.
Электрическая прочность и сопротивление изоляции. Изоляция реле должна выдерживать без пробоя и перекрытия испытательное напряжение 2000 В переменного тока частотой 50 Гц, приложенное между всеми токоведущими частями реле и магнитопроводом. Испытание электрической прочности изоляции производится путем приложения испытательного напряжения (при мощности испытательной установки не менее 0,5 кВА, дающей практически синусоидальную кривую напряжения частотой 50 Гц) в течение 1 мин±5 с. Погрешность измерения испытательного напряжения не должна превышать +5%.
Сопротивление изоляции при нормальных климатических условиях между соседними электрически не связанными токоведущими частями реле, а также между ними и магнитопроводом реле должно не ниже 200 МОм. При температуре (40±5)°С и относительной влажности (70±5)% сопротивление изоляции должно быть не ниже 50 МОм. Измерение сопротивления изоляции производится любым методом, обеспечивающим погрешность измерения не более ±20% при напряжении постоянного тока 500 В.
Обмоточные данные реле при температуре +20°С должны соответствовать данным, указанным в табл. 128.
|
|
Таблица 128
Обмоточные данные катушек реле
* Каждая из обмоток реле АШ2-110/220 имеет средний вывод от 4700-го витка.
Выводы катушек выполняются проводом марки ПМВГ или МГШВ сечением не менее 0,35 мм2.
Механические характеристики реле
Физический
зазор между полюсом и якорем в
притянутом положении после покрытия их за
щитным слоем, не менее, мм 0,15
Люфт якоря вдоль призмы ярма, мм 0,1—0,5
Расстояние от фронтовых и тыловых контактов до подвижных, не менее, мм:
АШ2-12/24 1,6
АШ2-110/220 и АШ2-1800 (АШ2-1440) 2,0
Нажатие на каждый из контактов, не менее, Н (гс):
замыкающих 0,4 (40)
размыкающих 0,2 (20)
Неодновременность замыкания или размыкания
контактов, не более, мм 0,2
Осевое
смещение контактных площадок, не бо
лее, мм 0,5
Ход
якоря, измеренный под штифтом и обеспечивающий скольжение замыкающих контак
тов, не менее, мм 0,35
После 50 000 срабатываний реле все механические характеристики не должны отличаться от соответствующих первоначальных значений более чем на +15%.
Измерение зазоров производится с помощью индикатора, щупов и шаблонов класса 2. Контактные нажатия измеряют граммометром с точностью ±0,01 Н (±1 гс).
Контактная система всех реле АШ2 одинакова — 4 фт.
Схема расположения контактов реле АШ приведена на рис. 139.
Контакты реле АШ2-12/24 (см. рис. 139, а) должны обеспечить 50 000 переключений каждым тройником цепи постоянного тока 4 А при напряжении 24 В.
Контакты реле АШ2-110/220 (см. рис. 139,6) и АШ2-1800 и АШ2-1440 (см. рис. 139, в) должны обеспечивать 50 000 переключений:
—двумя последовательно
соединенными тройниками — цепи переменного тока 10 А
при напряжении 127 В с реактивной нагрузкой (cos φ
= 0,6);
—двумя последовательно
соединенными тройниками — цепи переменного тока 5 А при
напряжении 220 В с реактивной нагрузкой (cos φ
= 0,6).
Каждый замыкающий контакт должен выключать нагрузку 1 А и включать 3,5 А при напряжении 380 В переменного тока при cos φ = 0,6; каждый размыкающий контакт должен выключать нагрузку 0,8 А и включать 2 А при напряжении 380 В переменного тока при cos ф = 0,6. Каждый замыкающий контакт должен обеспечить 10 единичных выключений нагрузки 3,5 А, а каждый размыкающий контакт — 10 единичных выключений нагрузки 2 А, 380 В переменного тока при cos ф = 0,6.
Переходное сопротивление контактов должно быть не более 0,15 Ом без контактов розетки, с контактами розетки — не более 0,2 Ом.
Замкнутые контакты реле всех типов при испытании должны выдерживать, не деформируясь, непрерывную нагрузку 15 А. Нагрев контактов при этом не должен превышать температуру окружающей среды более чем на +100°С.
Температуру нагрева измеряют термопарой.
Испытание контактов на длительную работу производится при частоте срабатывания 15—20 раз в 1 мин. Переходное сопротивление контактов при этом испытании проверяют через каждые 10 000 включений.
Переходное сопротивление контактов измеряется методом вольтметра — амперметра при силе тока 0,5 А, напряжении источника питания 12 В постоянного тока при отпавшем и притянутом до упора якоре приборами класса точности не ниже 2,5. За переходное сопротивление контактов принимается среднее значение из трех наблюдений с двукратным включением реле (притяжение и отпускание якоря) после каждого отсчета.
Условия эксплуатации. Реле изготовляют для следующих условий экспуатации:
—температура окружающего воздуха от —50 до +60°С;
—относительная влажность
окружающего воздуха до 90% при температуре +20°С и до 70% при температуре
+40°С;
—рабочее положение —
горизонтальное, контактным набором кверху.
Допускаются отклонения от рабочего положения не более чем на 5° в любую сторону;
— колебание питающего напряжения
±10% номинального (для
реле переменного тока).
Реле должны храниться в закрытом вентилируемом помещении в картонных коробках при температуре от 5 до +35°С, относительной влажности воздуха не более 80% и отсутствии в окружающей среде агрессивных примесей. Хранение в транспортной упаковке допускается не более трех месяцев.
Габаритные размеры реле 200x87x112 мм; масса реле: АШ2-12/24 и АШ2-110/220 - 2,16 кг, АШ2-1800 (АШ2-1440) - 2,14 кг.
9. Реле аварийные малогабаритные типа АПШ
Назначение. Реле типа АПШ используются в питающих установках для переключения на резервное питание в случае аварии основной питающей линии и изготовляются трех видов:
—АПШ-110/127 — на номинальное
напряжение ПО, 127 В переменного тока частотой 50 Гц (черт. 24170.00.00В);
—АПШ-220 — на номинальное
напряжение 220 В переменного тока частотой 50 Гц (черт. 24170.00.00В);
—АПШ-24 — на номинальное
напряжение 24 В постоянного тока (черт. 24250.00.00).
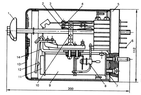
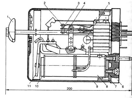
Некоторые конструктивные особенности. Основными деталями репе АПШ (рис. 140) являются: 1 — ручка; 2 — общий контакт, 3 — фронтовой контакт; 4 — тыловой контакт; 5 — кожух; 6 — основание; 7— направляющий штырь; 8— ярмо; 9— катушка; 10 — сердечник; 11 — якорь.
Электромагнитная система реле АПШ аналогична реле АНШ2. Контакты реле АПШ представляют собой плоские бронзовые пружины с серебряными контактными наклепами. Фронтовые и тыловые контакты укреплены на ярме, подвижные — на якоре.
Схемы включения обмоток реле в зависимости от величины пи-тающего напряжения приведены на рис. 141.
Электрические характеристики реле при температуре (20±5)°С и относительной влажности до 90% должны соответствовать данным, указанным в табл. 129.
|
|
Рис. 140. Реле типа АПШ
|
|
Рис. 141. Расположение контактов и схемы обмоток реле АПШ (вид с монтажной стороны)
Напряжение полного притяжения якоря реле АПШ-24, измеренное при обратной полярности на катушках реле, не должно отличаться больше чем на 20% от значения, измеренного при прямой полярности.
|
|
Таблица 129 Электрические характеристики реле
* На реле АПШ-220 допускается повышение питающего напряжения до 250 В.
После 10 000 срабатываний реле напряжение полного притяжения якоря не должно быть больше чем на 5%, а напряжение отпадания не должно быть меньше чем на 10% данных, указанных в табл. 129.
Электрические характеристики реле АПШ-220 и АПШ-110/127 измеряются на переменном токе частотой 50 Гц прибором класса точности не ниже 1,5, а реле АПШ-24 на постоянном токе — прибором класса точности не ниже 1,0.
Сопротивление обмоток постоянному току проверяют любым методом с погрешностью измерения не более ±1%.
Электрическая прочность и сопротивление изоляции. Изоляция реле должна выдерживать без пробоя и перекрытия испытательное напряжение 2000 В переменного тока частотой 50 Гц, приложенное между всеми токоведущими частями реле и магнитопроводом. Испытание электрической прочности изоляции производится путем приложения испытательного напряжения (при мощности испытательной установки не менее 0,5 кВА, дающей практически синусоидальную кривую напряжения частотой 50 Гц) в течение 1 мин±5 с. Погрешность измерения испытательного напряжения не должна превышать ±5%.
Сопротивление изоляции при относительной влажности воздуха до 90% и температуре (20±5)°С между соседними электрически не связанными токоведущими частями реле, а также между ними и магнитопроводом реле должно быть не ниже 50 МОм. При температуре (40±5)°С и относительной влажности 70+5% сопротивление изоляции должно быть не ниже 2 МОм.
Измерение сопротивления изоляции производится любым методом, обеспечивающим погрешность измерения не более ±20% при напряжении постоянного тока 500 В.
Обмоточные данные реле АПШ при температуре +20°С должны соответствовать данным, указанным в табл. 130.
Таблица 130 Обмоточные данные катушек реле
|
|
Выводы катушек выполняются проводом марки ПМВГ или МГШВ сечением не менее 0,35 мм2.
Механические характеристики реле
Физический
зазор, т. е. зазор между полюсом и
якорем в притянутом
положении после покрытия
их защитным слоем, не менее, мм 0,5
Люфт якоря вдоль призмы ярма, мм 0,1—0,5
Зазор между якорем и скобой, ограничивающей
его ход, мм 0,05—0,15
Расстояние
от замыкающих и размыкающих кон
тактов до
подвижных, не менее, мм 3,5
Нажатие на каждый из контактов, не менее, Н (гс):
замыкающих 0,4 (40)
размыкающих 0,2 (20)
Неодновременность замыкания или размыкания
контактов, не более, мм 0,2
Ход якоря, измеренный под штифтом и обеспечивающий скольжение замыкающих контактов, не менее, мм 0,5
Измерение зазоров производится с помощью индикатора, щупов и шаблонов класса 2. Контактные нажатия измеряют граммометром с точностью ±0,01 Н (±1 гс).
Контактная система реле АПШ одинакова — 2 фт. Схема расположения контактов реле приведена на рис. 141.
Контакты реле должны обеспечивать 10 000 коммутаций следующих электрических цепей:
—переключение
каждой контактной группой,
включенной по схеме № 1, цепи переменного тока 15 А, 220 В с реактивной нагрузкой (cos φ
= 0,85);
—включение и выключение каждым
контактом, включенным по схеме № 2, цепи переменного тока 25 А, 30 В с
активной нагрузкой
—включение и выключение каждым
контактом, включенным по схеме № 2, цепи постоянного тока 20 А, 30 В и
каждым контактом, включенным
по схеме № 3, цепи постоянного тока 15 А, 30 В;
—переключение каждой контактной группой, включенной по
схеме № 1, цепи постоянного тока 5 А, 220 В.
Переходное сопротивление контактов должно быть не более 0,06 Ом без контактов розетки, с контактами розетки — не более 0,12 Ом.
Замкнутые контакты реле всех типов при испытании должны выдерживать, не деформируясь, непрерывную нагрузку 25 А. Температура нагрева при этом не должна превышать температуру окружающей среды более чем на + 100°С. Температуру нагрева измеряют термопарой.
Испытание контактов на длительную работу производится при частоте срабатывания 15—20 раз в 1 мин. Переходное сопротивление контактов при этом проверяется через каждые 2500 включений.
Переходное сопротивление контактов измеряется методом вольтметра — амперметра при силе тока 0,5 А и напряжении источника питания 12 В постоянного тока при отпавшем и притянутом до упора якоре приборами класса точности не ниже 2,5. За переходное сопротивление контактов принимается среднее значение из трех наблюдений с двукратным включением реле (притяжение и отпускание якоря) после каждого отсчета.
Условия эксплуатации. Реле изготовляют для следующих условий эксплуатации:
—температура окружающего воздуха от —10 до +40°С;
—относительная влажность
окружающего воздуха до 90% при температуре +20°С и до 70% при температуре
+40°С;
— рабочее
положение горизонтальное контактным набором кверху.
Допускаются отклонения от рабочего
положения не более чем на
5° в любую сторону;
— колебание питающего напряжения ±10% номинального.
Реле должны храниться в закрытом вентилируемом помещении в картонных коробках при температуре от 5 до +35°С, относительной влажности воздуха не более 80% и отсутствии в окружающей среде кислотных и других агрессивных примесей. Хранение в транспортной упаковке допускается не более трех месяцев.
Габаритные размеры реле 180x87x112 мм; масса — 2,2 кг.
10. Реле аварийные малогабаритные штепсельные типа АСШ2
Назначение. Реле типа АСШ2 предназначены для включения резервного питания при аварии основной питающей линии и работают от переменного тока частотой 50 и 75 Гц. Тип реле зависит от напряжения питания:
—АСШ2-12 — на номинальное напряжение 12
В (черт. 24305.00.00);
—АСШ2-24 — на номинальное напряжение 24
В (черт. 24307.00.00);
—АСШ2-110 — на номинальное напряжение ПО
В (черт. 24306.00.00);
—АСШ2-220 — на номинальное напряжение 220 В (черт. 24308.00.00);
—АСШ2-220М — на номинальное напряжение 220 В, 50 Гц (черт. 24556.00.00)
Реле типа АСШ2 начали изготовлять с 1971 г., ранее выпускали с такими же характеристиками реле типа АУШ2.
Реле типа АСШ2-220М начали изготовлять с 1983 г.
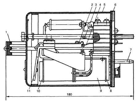
Некоторые конструктивные особенности. Основными деталями реле АСШ2 (рис. 142) являются: / — ручка; 2 — тыловой контакт; 3 — фронтовой контакт; 4 — перекидной контакт; 5 — основание; 6 — нож; 7— прокладка; 8 — стабилитрон; 9— катушка; 10 — тяга; 11 — сердечник; 12 — якорь; 13 — колпак; 14 — ярмо.
Реле изготовляют в штепсельном исполнении, устанавливают как на стативах, так и в релейных шкафах.
Конструкция электромагнитной системы реле АСШ-2 аналогична конструкции реле АНШ2, а конструкция контактной системы — конструкции реле НМПШ2-400.
|
Рис. 142. Реле типа АСШ2 |
Питание для всех типов реле
АСШ2 (рис. 143) подается на контактные выводы 4—41. При этом перемычки на розетке устанавлива
|
|

ются для реле АСШ2-12 и АСШ2-110 между контактными выводами 43—63, для реле АСШ2-24 и АСШ2-220 — между выводами 2—3, для реле АСШ2-220М — между выводами 3—41.
Питание для всех типов реле АУШ2 (рис. 144) подается на контактные выводы 21—81, при этом перемычки на розетке устанавливаются для всех типов реле между контактными выводами 2—3.

характеристики реле при температуре (20±5)°С и относительной влажности до 90% должны соответствовать данным, указанным в табл. 131.
После 100 000 срабатываний реле его электрические характеристики не должны отличаться от первоначальных значений более чем на 5%.
Изоляция реле должна выдерживать без пробоя и перекрытия испытательное напряжение 2000 В переменного тока частотой 50 Гц, приложенное между всеми токоведущими частями реле и магнитопроводом.
Испытание электрической прочности изоляции производится путем приложения испытательного напряжения (при мощности испытательной установки не менее 0,5 кВА, дающей практически синусоидальную кривую напряжения частотой 50 Гц) в течение 1 мин±5 с. Погрешность измерения испытательного напряжения не должна превышать ±5%.
Сопротивление изоляции при относительной влажности воздуха до 90% и температуре (20±5)°С между соседними электрически не
Таблица 131
Электрические
характеристики реле
|
|
связанными токоведущими частями реле, а также между ними и магнитопроводом реле должно быть не ниже 200 МОм. При температуре (40±5)°С и относительной влажности воздуха до 70% сопротивление изоляции должно быть не ниже 50 МОм.
Измерение сопротивления изоляции производится любым методом, обеспечивающим погрешность измерения не более ±20% при напряжении постоянного тока 500 В.
Обмоточные данные реле АСШ2 при температуре +20°С должны соответствовать данным, указанным в табл. 132.
|
|
Таблица 132 Обмоточные данные катушек реле
Выводы катушек выполняют проводом марки ПМВГ или МГШВ сечением не менее 0,35 мм2.
Контактная система всех реле АСШ2 одинакова — 4 фт. Схемы Расположения контактов реле АСШ приведены на рис. 143, а реле ДУШ - на рис. 144.
Контакты реле АСШ2-12 и АСШ2-24 должны обеспечивать 100 000 переключений каждым тройником цепи постоянного тока 4 А, 24 В.
После 100 000 срабатываний все механические характеристики реле не должны отличаться от первоначальных значений более чем мл 15%.
Измерение зазоров производится с помощью индикатора, щупов и шаблонов класса 2. Контактные нажатия измеряют граммометром с точностью ±0,01 Н (±1 гс).
АСШ2-110 и АСШ2-220 должны обеспечивать 100 000 переключений каждым тройником цепи постоянного тока 4 А, 24 В. Контакты реле АСШ2-110, АСШ2-220, АСШ2-220М должны обеспечивать 100 000 переключений двумя последовательно соединенными тройниками цепи переменного тока 10 А, 127 В или 5 А, 220 В с реактивной нагрузкой (cos φ = 0,6).
Переходное сопротивление контактов должно быть не более 0,15 Ом без контактов розетки, с контактами розетки — не более 0,2 Ом.
Замкнутые контакты реле всех типов при испытании должны выдерживать, не деформируясь, непрерывную нагрузку 15 А. Температура нагрева контактов при этом не должна превышать температуру окружающей среды более чем на + 100"С. Температуру нагрева измеряют термопарой.
Испытание контактов реле на длительную работу производится при частоте срабатывания 15—20 раз в 1 мин. Переходное сопротивление контактов при этом испытании проверяют через каждые 10 000 включений.
Переходное сопротивление контактов измеряют методом вольтметра — амперметра при токе 0,5 А и источнике питания 12 В постоянного тока приборами класса точности не ниже 2,5. За переходное сопротивление контактов принимается среднее значение из трех наблюдений с двукратным включением реле (притяжение и отпускание якоря) после каждого отсчета.
Механические характеристики реле
Физический
зазор, т е. зазор между полюсом и
якорем в притянутом
положении после по
крытия их защитным слоем, не менее, мм 0,20
Люфт якоря вдоль призмы ярма, мм 0,1—0,5
Зазор между якорем и скобой, ограничивающей
его ход, мм 0,05—0,15
Расстояние от неподвижных контактов до подвижных, не менее, мм:
АСШ2-12, АСШ2-24 1,6
АСШ2-110, АСШ2-220 2,0
Нажатие на каждый из контактов, не менее, Н (гс):
замыкающих 0,4 (40)
размыкающих 0,2 (20)
Неодновременность замыкания или размыкания
контактов, не более, мм 0,2
Осевое
смещение контактных площадок, не бо
лее, мм 0,5
Ход якоря, измеренный под штифтом и обеспечивающий скольжение замыкающих контактов, не менее, мм 0,35
Условия эксплуатации. Реле изготовляют для следующих условии эксплуатации:
— температура окружающего воздуха от -50 до +60°С;
—относительная влажность
окружающего воздуха до 90% при температуре +20°С и до 70% при температуре
+40°С;
—рабочее положение —
горизонтальное, контактным набором кверху. Допускаются отклонения от рабочего положения не
более чем на 5° в любую сторону;
—колебание питающего напряжения ±10% номинального.
Реле должны храниться в закрытом вентилируемом помещении в картонных коробках при температуре от 5 до +35°С, относительной влажности воздуха не более 80% и отсутствии в окружающей среде кислотных и других агрессивных примесей. Хранение в транспортной упаковке допускается не более трех месяцев.
Габаритные размеры реле 200x87x112 мм; масса — 2 кг.
11. Импульсные малогабаритные штепсельные реле постоянного тока типа ИМШ1 и переменного тока типа ИМВШ
Назначение. Импульсные реле ИМШ1 (черт. 24110.00.00А) предназначены для работы в рельсовых цепях постоянного тока, ИМВШ (черт. 25501.00.00А) — в цепях переменного тока; устанавливаются в релейных шкафах и на стативах.
Некоторые конструктивные особенности. Основными деталями реле ИМШ (рис. 145) являются: 1 — ручка, 2 — постоянный магнит, I катушка, 4 — корпус, 5 — основание, 6 — колпак, 7 — магни-топровод, 8 — неподвижные контакты, 9 — якорь с подвижными контактами. Реле ИМВШ, кроме перечисленных деталей, имеет панель с диодами. Импульсные реле являются электромагнитным поляризованным механизмом с мостовой магнитной системой.
Механизм импульсных реле состоит из электромагнитной и koh-тактной систем. Электромагнитная система представляет собой магнитопровод с четырьмя полюсными наконечниками, постоянный магнит, якорь и одну катушку. Детали магнитной системы смонти-рованы в корпусе, укрепленном на металлическом основании реле. И реле ИМВШ панель с выпрямителями установлена на корпусе.
На якорях реле имеются наклепки из бронзы, предохраняющие якорь от залипания.
Импульсное реле на релейных стативах рекомендуется устанавливать в шахматном порядке с другими штепсельными реле, а еще лучше — с конденсаторными блоками. Такая расстановка приборов позволяет снизить влияние магнитного поля рассеяния постоянного I и пита одного импульсного реле на магнитное поле другого.
Схемы включения обмоток импульсных реле приведены на рис 146 (в реле ИМШ1-0,3 с 1978 г. обмотка реле подключается к выводам +71 и —73).

Рис. 145. Реле импульсное типа ИМШ1
Электрические характеристики реле при относительной влажности воздуха до 90% и температуре +20°С должны соответствовать данным табл. 133.
Постоянный магнит перед установкой на реле должен иметь еле дующие магнитные характеристики: остаточный магнитный поток м разомкнутой цепи - не менее 12*10-5—14,5*10-5 Вб (12 000-14 500 Мкс); коэрцитивная сила — не менее 39 785,5 А/м (500 Э). Магнитный поток постоянного магнита измеряется флюксметром в разомкнутой магнитной цепи.
После 20 000 000 срабатываний реле допускается увеличение притяжения и уменьшение отпускания не более чем на 10% относительно значения табл 133.
Проверка электрических характеристик производится приборами класса точности не ниже 1,0. Сопротивление обмоток постоянному току измеряют любым методом с погрешностью измерения не более ±1%.
Пересчет измеренного значения сопротивления Rоб t на сопротивление R об 20 при температуре +20°С производят по формуле
Rоб20 = Rоб t/(1
+ Θ*a)
где Θ — разность между температурой, при которой проводилось измерение, и температурой +20°С с учетом знака плюс—минус (0 = ГС - 20°С); а — температурный коэффициент сопротивления провода обмотки (для медной проволоки а = 0,004 град-1)-Полученное расчетное значение сопротивления проверяют по отклонению от номинального значения на соответствие данным, указанным в табл. 134.
|
* Характеристики реле при питании переменным током. |
|
|
Таблица 133 Электрические характеристики реле