![]() |
Раздел V
РЕЛЕ МАЛОГАБАРИТНЫЕ НМШ III ПОКОЛЕНИЯ
1. Общие сведения
Малогабаритные реле нашли самое широкое применение в устройствах железнодорожной автоматики и телемеханики. Их серийное производство начато в 1959 году. Реле модернизировались в последующие годы. Они относятся к реле I класса надежности и изготовляются двух видов: 1) штепсельные (в колпаке) для установки на стативах и в релейных шкафах и 2) нештепсельные (открытые) для установки в релейных блоках. По электрическим и механическим характеристикам реле штепсельного типа (НМШ, НМШМ, КМШ и т. д.) и соответственно реле нештепсельного типа (НМ, МММ, КМ и т. д.) аналогичны.
Нештепсельные реле для присоединения (подпайки) монтажных проводов в контактных пружинах и выводах от обмоток имеют от-иерстия. Номенклатура реле состоит из букв, обозначающих конструктивный тип реле и временные его характеристики, и цифр, показывающих число контактных групп и сопротивление катушек.
Цифры 1, 2, 3, 4, следующие за буквенным обозначением реле, условно обозначают контактную систему реле:
1
— наличие восьми контактных групп (тройников) на переключение (8 фт);
2
— четырех контактных групп (4 фт);
3
— двух контактных групп (2 фт) и двух фронтовых контактов (2ф);
4
— четырех контактных групп (4 фт) и четырех фронтовых контактов (4 ф).
По роду управляющего тока малогабаритные реле разделяются на реле постоянного и переменного токов.
Малогабаритные реле постоянного тока изготовляют следующих типов:
—НМШ — нейтральные малогабаритные
штепсельные нормальнодействующие;
—НМШМ — нейтральные малогабаритные
штепсельные медленнодействующие на отпускание;
—АНШ — нейтральные
малогабаритные штепсельные с повышенной
чувствительностью на срабатывание;
—НМПШ — нейтральные
малогабаритные пусковые, штепсельные;
—КМШ — комбинированные малогабаритные штепсельные;
—ПМПШ — поляризованные
малогабаритные пусковые штепсельные,
— ИМШ —
импульсные малогабаритные штепсельные.
Малогабаритные реле переменного тока изготовляют следующих типов:
—НМВШ — нейтральные
малогабаритные штепсельные с выпрямителем;
—АНВШ — нейтральные
малогабаритные с выпрямителем штепсельные, с повышенной чувствительностью на срабатывание;
—ОМШ, АОШ — огневые малогабаритные штепсельные;
— АШ, АСШ,
АПШ — аварийные малогабаритные штепсельные.
Штепсельные розетки в комплект реле
не входят и заказываются
отдельно.
2. Реле нейтральные малогабаритные постоянного тока типов НМШ (НМ) и НМШМ (НММ)
Назначение. Реле предназначены для осуществления электрических зависимостей в устройствах автоматики и телемеханики на железнодорожном транспорте.
Малогабаритные реле постоянного тока типов НМШ1 и НМШМ 1 изготовляют по черт. 13552.00.00В; НМШ2 и НМШМ2 — по черт. 13706.00.00В; НМШЗ, НМШ4 и НМШМ4 - по черт. 24069.00.00Б; НМ1 и НММ1 - по черт. 13714.00.00Б; НМ2 и НММ2 - по черт. 13715.00.00Б; НМ4 и НММ4 - по черт. 24059.00.00Б.
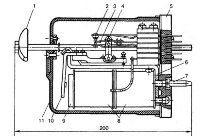
Некоторые конструктивные особенности. Нейтральные малогабаритные штепсельные реле постоянного тока типа НМШ (рис. 112) имеют следующие основные части: 1 — основание; 2 — катушки; 3 — сердечник; 4 — якорь; 5 — ручка; 6 — тыловой контакт; 7 — фронтовой контакт; 8 — общий контакт; 9 — колпак; 10 — ярмо; 11 — штырь направляющий. Реле типа НМ (рис. 13) имеют катушки 1, сердечник 2, якорь 3, тыловой контакт 4, фронтовой контакт 5, общий контакт 6, ярмо 7. Реле постоянного тока являются электромагнитными двухпозиционными.
Обмотки нормальнодействующих реле НМШ (НМ) состоят из двух катушек, намотанных на шпули. Шпули изготовлены из фенопласта. Медленнодействующие реле НМШМ (НММ) в зависимости от величины замедления на отпускание якоря выпускаются двух видов: 1) с обмоткой, состоящей из двух катушек на шпулях из красной меди, и 2) с одной катушкой на шпуле из красной меди, а вмес-то другой катушки помещается сплошная медная гильза (МГ). Меднаяя гильза устанавливается при больших замедлениях на отпускание якоря на месте первой катушки.
|
|
Рис. 112. Реле типа НМШ1
|
|
Катушка, помещенная на сердечнике со стороны его крепления, называется первой и подключается к контактным выводам / и 3, а катушка, помещенная со стороны якоря реле, называется второй и подключается к контактным выводам 2 и 4.
Обмотки реле (рис. 114) могут быть включены раздельно, последовательно или параллельно.
Для намотки катушек реле ранее применялся провод марки ПЭЛ, а с 1971 г. используют провод с улучшенной изоляцией марки ПЭВ1. Провод марки ПЭВ1 имеет более толстый слой изоляции по сравнению с проводом того же диаметра марки ПЭЛ, поэтому при намотке катушек одинакового габарита в катушке из провода ПЭВ1 витков будет меньше, чем в катушке из провода ПЭЛ. Следовательно, сопротивление катушки из провода ПЭВ1 будет меньше сопротивления катушки из провода ПЭЛ.
Электрические и временные характеристики реле при относительной влажности воздуха до 90% и температуре +20°С должны соответствовать данным, указанным в табл. НО.
Напряжение или ток полного притяжения якоря, измеренные при обратной полярности на катушках реле, не должны превышать напряжение или ток, измеренные при прямой полярности, более чем на 20%. Проверку токов или напряжений притяжения и отпускания проводят приборами класса точности не ниже 1,0.
Отклонение действительного значения сопротивления обмоток реле постоянному току (пересчитанное для температуры +20°С) от номинальных значений, указанных в табл. НО, не должно превышать ±5% для реле НМШМ2-1,7, НММ2-1.7, НМШ4-3,4 и ±10% для всех остальных реле. Предельные отклонения значений номинального напряжения или тока для реле всех типов допускаются + 10%.
Проверку сопротивления обмоток постоянному току проводят любым методом с погрешностью измерения не более ±1%.
Пересчет измеренного значения
сопротивления Rоб t на сопротивление Rоб 20 при температуре
+20°С производят по формуле:
Rоб = Rоб t/(1 + a Θ)
где Θ — разность между температурой, при которой проводилось измерение, и температурой +20°С с учетом знака плюс—минус (0 - t°C - 20°С);
— температурный коэффициент сопротивления провода обмотки (для медной проволоки а = 0,004 град-1).
Полученное расчетное значение сопротивления проверяют по отклонению от номинального значения на соответствие данным, указанным в табл. ПО.
Электрическая прочность и сопротивление изоляции. Изоляция реле должна в течение 1 мин выдерживать без пробоя испытательное напряжение 2000 В переменного тока частотой 50 Гц, приложенное между всеми токоведущими частями реле и магнитопроводом. Испытание электрической прочности изоляции проводят путем приложения испытательного напряжения (испытательная установка мощностью не менее 0,5 кВА, дающая практически синусоидальную кривую напряжения частоты 50 Гц) в течение 1 мин±5 с. Испытательное напряжение повышают постепенно. Погрешность измерения испытательного напряжения не должна превышать ±5%.
Сопротивление изоляции между соседними электрически не связанными токоведущими частями реле, а также между ними и магнитопроводом реле при относительной влажности воздуха до 90% и температуре +20°С должно быть не ниже 200 МОм. При температуре +40°С и относительной влажности 70% сопротивление изоляции должно быть не ниже 50 МОм. Сопротивление изоляции измеряют любым методом при напряжении постоянного тока 500 В.
Обмоточные данные катушек реле должны соответствовать данным, указанным в табл. 111.
Допускаемое отклонение сопротивления катушек 1,7 Ом составляет ±5% номинального значения, всех остальных +10%. Выводы катушек реле выполняются проводом марки ПМВГ сечением 0,35 мм2.
|
|
НМШ2, НМ2, НМШМ2, НММ2, (кроме НМШМ2-1.7, НМШМ2-1.7, НММ2-1.7,
НММ2-1.7, НМШМ2-320, НММ2-320 НМШМ2-320, НММ2-320
НМШМ2-1500, НММ2-1500) НМШМ2-1500, НММ2-1500
Рис. 114. Расположение контактов и схема соединения обмоток реле (вид с монтажной стороны)
Механические характеристики реле:
Зазор между полюсом и якорем в притянутом положении, не менее, мм:
для нормальнодействующих 0,2
для медленнодействующих 0,15
Люфт якоря вдоль призмы, мм 0,1—0,5
Расстояние
от замыкающих (фронтовых) и раз
мыкающих (тыловых)
контактов до подвиж
ных (общих), не менее, мм 1,3
Нажатие на каждый контакт, не менее, Н (гс):
замыкающий (фронтовой) 0,3(30)
размыкающий (тыловой) 0,15(15)
Неодновременность замыкания и размыкания
контактов, не более, мм 0,2
Скольжение контактов, не менее, мм 0,35
|
|
Контактная система нейтральных малогабаритных реле зависит от их типа:
НМШ1 и НМШМ1 8 фт
НМШ2 и НМШМ2 4 фт
НМШЗ 2 фт, 2 ф
НМШ4 и НМШМ4 4 фт, 4 ф
НМ1 и НММ1 8 фт
НМ2 и НММ2 4 фт
НМ4 и НММ4 4 фт, 4 ф
Схемы расположения контактов нейтральных малогабаритных реле типов НМШ (НМ), НМШМ (НММ) приведены на рис. 114.
Для последовательного или параллельного включения обмоток на розетке реле устанавливают перемычки: для последовательного 2—3 и параллельного 1—2 и 3—4.
Таблица 110. Электрические и
временные характеристики реле
|
|
Тип реле при намотке катушек проводом |
Сопротивление катушек постоянному току, Ом, при намотке проводом |
Напряжение или ток |
Номинальное напряжение или ток |
Время замедления на отпускание, не менее, с |
Особые условия измерения замедления |
|||||||||
|
|
отпускания якоря, не менее |
полного притяжения якоря, не более |
перегрузки |
||||||||||||
|
|
ПЭЛ |
ПЭВ1 |
ПЭЛ |
ПЭВ1 |
В |
А |
В |
А |
В |
А |
В |
А |
при напряжении 21,5В |
при напряжении 24 В |
|
|
|
НМШ1-500, НМ1-500 |
НМШ1-400, НМ 1-400 |
2x250 |
2x200 |
2,5 |
— |
7,5 |
— |
20 |
— |
12 |
— |
— |
— |
— |
|
|
— |
НМШ1-1440, НМ1-1440 |
— |
2x720 |
5,3-8,0 |
— |
14,2 |
— |
45 |
— |
24 |
— |
— |
— |
— |
|
|
НМШ1-2000, НМ 1-2000 |
НМШ1-1800, НМ1-1800 |
2x1000 |
2x900 |
6—9 |
— |
16 |
— |
45 |
— |
24 |
— |
— |
— |
— |
|
|
НМШ1-7000, НМ 1-7000 |
НМШ1-7000, НМ 1-7000 |
2x3500 |
2x3500 |
15 |
— |
41 |
— |
100 |
— |
60 |
— |
— |
— |
— |
|
|
НМШМ1-10, НММ1-10 |
НМШМ1-10, НММ1-10 |
1x10 |
1x10 |
|
0,05 |
|
0,16 |
|
0,5 |
|
0,25 |
0,40 |
0,45 |
При токе 0,22 и 0,25 А соответственно |
|
|
— |
НМШМ1-11, НММ1-11 |
|
1x11 |
|
0,05 |
|
0,16 |
|
0,5 |
|
0,25 |
0,40 |
0,45 |
При токе 0,22 и 0,25 А соответственно |
|
|
||||||||||||||
|
Тип реле при намотке катушек проводом |
Сопротивление катушек постоянному току, Ом, при намотке проводом |
Напряжение или ток |
Номинальное напряжение или ток |
Время замедления на отпускание, не менее, с |
Особые условия измерения замедления |
|||||||||
|
отпускания якоря, не менее |
полного притяжения якоря, не более |
перегрузки |
||||||||||||
|
ПЭЛ |
ПЭВ1 |
ПЭЛ |
ПЭВ1 |
В |
А |
В |
А |
В |
А |
В |
А |
при |
при |
|
|
|
|
|
|
|
|
|
|
|
|
|
|
напря- |
напря- |
|
|
|
|
|
|
|
|
|
|
|
|
|
|
жении |
жении |
|
|
|
|
|
|
|
|
|
|
|
|
|
|
21,5В |
24 В |
|
|
|
НМШМ1-20 |
|
2x10 |
|
0,025 |
|
0,08 |
|
0,25 |
|
0,125 |
0,17 |
0,20 |
При токе 0,11 и 0,125 А соответственно |
|
|
НМШМ1-22 |
|
2x11 |
|
0,025 |
|
0,08 |
|
0,25 |
|
0,125 |
0,17 |
0,20 |
При токе 0,11 и 0,125 А соответственно |
|
НМШМ1-180, |
НМШМ1-180, |
1x180 |
1x180 |
2,3 |
— |
7,5 |
— |
20 |
— |
12 |
— |
0,40 |
0,45 |
При напря- |
|
НММ1-180 |
НММ1-180 |
|
|
|
|
|
|
|
|
|
|
|
|
жении 10,8 и 12 В соответственно |
|
НМШМ1-360, |
НМШМ1-360, |
2x180 |
2x180 |
2,3 |
— |
7,5 |
— |
20 |
— |
12 |
— |
0,17 |
0,20 |
— |
|
НММ1-360 |
НММ1-360 |
|
|
|
|
|
|
|
|
|
|
|
|
|
|
;_ |
НМШМ1-560, |
— |
1x560 |
4,6 |
— |
14 |
— |
45 |
- |
24 |
— |
— |
— |
— |
|
- |
IHMM1-560 |
|
|
|
|
|
|
I |
|
|||||
Продолжение табл. 110
|
Тип реле при намотке катушек проводом |
Сопротивление |
Напряжение или ток |
Номина- льное напряжение или ток |
Время за- медления на отпускание, не менее, с |
Особые условия измерения замедления |
|||||||||
|
катушек постоянному току, Ом, при намотке проводом |
отпускания якоря, не менее |
полного притяжения якоря, не более |
перегрузки |
|||||||||||
|
ПЭЛ |
ПЭВ1 |
ПЭЛ |
ПЭВ1 |
В |
А |
В |
А |
В |
А |
В |
А |
при напряжении 21,5В |
при напряжении 24 В |
|
|
НМШМ1-750, НММ1-750 |
НМШМ1-700, НММ1-700 |
1x750 |
1x700 |
5 |
— |
16 |
— |
45 |
— |
24 |
— |
0,40 |
0,45 |
— |
|
— |
НМШМ1-1000/560, НММ1-1000/560 |
— |
1000 560 |
5,7 4,6 |
— |
19 14 |
— |
45 |
— |
24 |
— |
|
0,15 0,20 |
— |
|
НМШМ1-1300/750 НММ1-1300/750 |
НМШМ1-1100/700 НММ1-1100/700 |
1300 750 |
1100 700 |
6 5 |
— |
20 16 |
— |
45 45 |
— |
24 |
— |
— |
0,15 0,20 |
— |
|
__ |
НМШМ1-1120, НММ1-1120 |
— |
2x560 |
4,6 |
— |
14 |
— |
45 |
— |
24 |
— |
|
0,20 |
— |
|
НМШМ1-1500, НММ1-1500 |
НМШМ1-1400, НММ1-1400 |
2x750 |
2x700 |
5 |
— |
16 |
— |
45 |
— |
24 |
— |
0,17 |
0,20 |
— |
|
НМШ2-1000, НМ2-1000 |
НМШ2-900, НМ2-900 |
2x500 |
2x450 |
2,3 |
— |
7,5 |
— |
20 |
— |
12 |
— |
— |
— |
— |
|
НМШ2-4000, НМ2-4000 |
НМШ2-4000, НМ2-4000 |
2x2000 |
2x2000 |
5 |
— |
16 |
— |
45 |
— |
24 |
— |
— |
— |
— |
|
— |
НМШ2-12000, НМ2-12000 |
— |
2x6000 |
9 |
— |
29 |
— |
75 |
— |
45 |
— |
— |
— |
— |
|
— |
НМШ2-1.5; НМ2-1.5 |
— |
1x1,5 |
— |
0,076 |
— |
0,25 |
— |
0,7 |
— |
0,35 |
— |
0,55 |
При токе 0,5 А |
Продолжение табл. 110
|
Тип реле при намотке катушек проводом |
Сопротивление |
Напряжение или ток |
Номина- льное напряжение или ток |
Время за- медления на отпускание, не менее, с |
Особые условия измерения замедления |
|||||||||
|
катушек постоянному току, Ом, при намотке проводом |
отпускания якоря, не менее |
полного притяжения якоря, не более |
перегрузки |
|||||||||||
|
ПЭЛ |
ПЭВ1 |
ПЭЛ |
ПЭВ1 |
В |
А |
В |
А |
В |
А |
В |
А |
при напряжении 21,5 В |
при напряжении 24 В |
|
|
НМШМ2-1.7; НММ2-1.7 |
НМШМ2-1.7; HMM2-1J |
1x1,7 |
1x1,7 |
— |
0,07 |
— |
0,23 |
— |
0,7 |
— |
0,35 |
— |
0,55 |
При токе 0,5 А |
|
НМШМ2-350, НММ2-350 |
НМШМ2-320, НММ2-320 |
1x350 |
1x320 |
2,3 |
|
7,5 |
|
20 |
|
12 |
|
0,55 |
0,6 |
При напряжении 10,8 и 12 В соответственно |
|
НМШМ2-700, НММ2-700 |
НМШМ2-640, НММ2-640 |
2x350 |
2x320 |
2,3 |
— |
7,5 |
— |
20 |
— |
12 |
— |
0,25 |
0,30 |
— |
|
НМШМ2-1750 |
НМШМ2-1500 |
1x1750 |
1x1500 |
5 |
— |
16 |
— |
45 |
— |
24 |
- |
0,55 |
0,6 |
— |
|
НМШМ2-10/1750, НММ2-10/1750 |
НМШМ2-10/1500, НММ2-10/1500 |
10 1750 |
10 1500 |
5 |
0,032 |
16 |
0,11 |
45 |
0,5 |
24 |
0,17 |
— |
0,3 0,3 |
На обмотке 10 Ом при токе 0,25 А |
|
— |
НМШМ2-11/1500, НММ2-11/1500 |
— |
11 1500 |
5 |
0,032 |
16 |
0,11 |
45 |
0,5 |
24 |
0,17 |
— |
0,3 0,3 |
На обмотке 10 Ом при токе 0,25 А |
|
НМШМ2-3500 |
НМШМ2-3000 |
2x1750 |
2x1500 |
5 |
— |
16 |
— |
45 |
— |
24 |
— |
0,25 |
0,3 |
— |
|
НМШЗ-250/400 |
— |
250 400 |
— |
— |
0,005 0,004 |
— |
0,017* 0,013** |
— |
0,070,05 |
— |
— |
— |
— |
— |
Продолжение табл. 110
|
Тип реле при намотке катушек проводом |
Сопротивление |
Напряжение или ток |
Номина- льное напряжение или ток |
Время за- медления на отпускание, не менее, с |
Особые условия измерения замедления |
|||||||||
|
катушек постоянному току, Ом, при намотке проводом |
отпускания якоря, не менее |
полного притяжения якоря, не более |
перегрузки |
|||||||||||
|
ПЭЛ |
ПЭВ1 |
ПЭЛ |
ПЭВ1 |
В |
А |
В |
А |
В |
А |
В |
А |
при напряжении 21,5 В |
при напряжении 24 В |
|
|
НМШЗ-550/400 |
— |
550 400 |
— |
— |
0,0036 0,004 |
— |
0,012* 0,013** |
— |
0,055 0,055 |
— |
— |
— |
— |
— |
|
— |
НМШЗ-460/400 |
— |
460 400 |
— |
0,004 0,004 |
— |
0,0134 0,0134 |
— |
0,055 0,055 |
— |
— |
— |
— |
— |
|
— |
НМШ4-3, НМ4-3 |
— |
2x1,5 |
— |
0,049 |
— |
0,147 |
— |
0,8 |
— |
0,2 |
— |
— |
— |
|
НМШ4-3.4; НМ4-3.4 |
НМШ4-3.4; НМ4-3.4 |
2x1,7 |
2x1,7 |
— |
0,45 |
— |
0,135 |
— |
0,8 |
— |
0,2 |
— |
— |
— |
|
— |
НМШ4-530, НМ4-530 |
— |
2x265 |
2 |
— |
6,8 |
— |
20 |
— |
12 |
— |
— |
— |
— |
|
НМШ4-720, НМ4-720 |
НМШ4-600, НМ4-600 |
2x360 |
2x300 |
2,3 |
— |
7,5 |
— |
20 |
— |
12 |
— |
— |
— |
— |
|
— |
НМШ4-2400, НМ4-2400 |
— |
2x1200 |
4,4 |
— |
14,3 |
— |
45 |
— |
24 |
— |
— |
— |
— |
|
НМШ4-3000, НМ4-3000 |
НМШ4-3000, НМ4-3000 |
2x1500 |
2x1500 |
5 |
— |
16 |
— |
45 |
— |
24 |
— |
— |
— |
— |
Продолжение табл. 110
|
Тип реле при намотке катушек |
Сопротивление |
Напряжение или ток |
Номина- льное напряжение или ток |
Врем |
я за- |
Особые условия измерения замедления |
||||||||
|
проводом |
катушек постоянному току, Ом, при намотке проводом |
отпускания якоря, не менее |
полного притяжения якоря, не более |
перегрузки |
медления на отпускание, не менее, с |
|||||||||
|
ПЭЛ |
ПЭВ1 |
ПЭЛ |
ПЭВ1 |
В |
А |
В |
А |
В |
А |
В |
А |
при |
при |
|
|
|
|
|
|
|
|
|
|
|
|
|
|
напря- |
напря- |
|
|
|
|
|
|
|
|
|
|
|
|
|
|
жении |
жении |
|
|
|
|
|
|
|
|
|
|
|
|
|
|
21,5В |
24 В |
|
|
НМШМ4-280, |
НМШМ4-250, |
1x280 |
1x250 |
2,3 |
— |
7,5 |
— |
20 |
— |
12 |
— |
0,45 |
0,50 |
При напря- жении 10,8 и 12 В соответственно |
|
НММ4-280 |
НММ4-250 |
|
|
|
|
|
|
|
|
|
|
|
|
|
|
НМШМ4-560, |
НМШМ4-500, |
2x280 |
2x250 |
2,3 |
— |
7,5 |
— |
20 |
— |
12 |
— |
0,17 |
0,20 |
То же |
|
НММ4-560 |
НММ4-500 |
|
|
|
|
|
|
|
|
|
|
|
|
|
|
НМШМ4-100/1300, |
НМШМ4-100/1100, |
100 |
100 |
— |
0,016 |
— |
0,045 |
— |
0,135 |
— |
0,07 |
— |
0,15 |
На обмотке |
|
НММ4-100/1300 |
НММ4-100/1100 |
1300 |
1100 |
5 |
|
16 |
|
45 |
|
24 |
|
|
0,15 |
100 Ом при токе 0,07 А |
|
__ |
НМШМ4-105/1000, |
— |
105 |
— |
0,016 |
— |
0,045 |
— |
0,135 |
— |
0,07 |
|
0,15 |
На обмотке |
|
~ |
НММ4-105/1000 |
|
1000 |
4,7 |
|
15,2 |
|
45 |
|
24 |
|
|
0,15 |
100 Ом при токе 0,07 А |
* Ток полного подъема якоря. ** Ток прямого подъема якоря.
Таблица 111 Обмоточные данные катушек
|
Тип реле |
Номинальное сопротивление одной катушки, Ом |
Диаметр провода, мм |
Число витков одной катушки |
|
Провод марки ПЭЛ |
|
||
|
НМШ1-500, НМ1-500 |
250 |
0,19 |
5600 |
|
НМШ1-2000, НМ1-2000 |
1000 |
0,13 |
10500 |
|
НМШ1-7000, НМ1-7000 |
3500 |
0,18 |
15000 |
|
НМШМ1-10, НММ1-10 |
10 |
0,41 |
МГ 1000 |
|
НМШМ1-180, НММ1-180 |
180 |
0,20 |
МГ 4000 |
|
НМШМ1-360, НММ1-360 |
180 |
0,20 |
4000 |
|
НМШМ1-750, НММ1-750 |
750 |
0,13 |
МГ 7500 |
|
НМШМ1 -1300/750, НММ1-1300/750 |
1300 750 |
0,12 0,13 |
10500 7500 |
|
НМШМ1-1500, НММ1-1500 |
750 |
0,13 |
7500 |
|
НМШ2-4000, НМ2-1000 |
500 |
0,16 |
7700 |
|
НМШ2-4000, НМ2-4000 |
2000 |
0,11 |
14000 |
|
НМШМ2-1.7, НММ2-1.7 |
1.7 |
0,69 |
МГ 490 |
|
НМШМ2-350, НММ2-350 |
350 |
0,16 |
МГ 5300 |
|
НМШМ2-1750, НММ2-1750 |
1750 |
0,11 |
МГ 12000 |
|
НМШМ2-700, НММ2-700 |
350 |
0,16 |
5300 |
|
НМШМ2-10/1750, НММ2-10/1750 |
10 1750 |
0,41 0,11 |
1000 12000 |
|
НМШМ2-3500, НММ2-3500 |
1750 |
0,11 |
12000 |
|
НМШЗ-250/400 |
250 400 |
0,19 0,16 |
5600 6600 |
Продолжение табл. 111
|
Тип реле |
Номинальное сопротивление одной катушки, Ом |
Диаметр провода, мм |
Число витков одной катушки |
|
НМШЗ-550/400 |
550 400 |
0,15 0,16 |
7800 6600 |
|
НМШ4-3.4, НМ4-3.4 |
1,7 |
0,69 |
490 |
|
НМШ4-720, НМ4-720 |
360 |
0,17 |
6400 |
|
НМШ4-3000, НМ4-3000 |
1500 |
0,12 |
12500 |
|
НМШМ4-280, НММ4-280 |
280 |
0,18 |
МГ 5000 |
|
НМШМ4-560, НММ4-560 |
280 |
0,18 |
5000 |
|
НМШМ4-100/1300, НММ4-100/1300 |
100 1300 |
0,23 0,12 |
3000 10500 |
|
Провод марки ПЭВ |
|||
|
НМШ1-400, НМ1-400 |
200 |
0,19 |
4500 |
|
НМШ1-1440, НМ1-1440 |
720 |
0,14 |
8500 |
|
НМШ1-1800, НМ1-1800 |
900 |
0,13 |
9400 |
|
НМШ 1-7000, НМ 1-7000 |
3500 |
0,08 |
14200 |
|
НМШМ1-10, НММ1-10 |
10 |
0,41 |
МГ 1000 |
|
НМШМ1-11, НММ1-11 |
11 |
0,4 |
1000 |
|
НМШМ1-20, НММ1-20 |
10 |
0,41 |
1000 |
|
НМШМ1-22, НММ1-22 |
11 |
0,4 |
1000 |
|
НМШМ1-180, НММ1-180 |
180 |
0,2 |
МГ 4000 |
|
НМШМ1-360, НММ1-360 |
180 |
0,2 |
4000 |
|
НМШМ1-560, НММ1-560 |
560 |
0,14 |
6400 |
|
НМШМ1-700, НММ1-700 |
700 |
0,13 |
МГ 7000 |
|
НМШМ1-1000/560, НММ1-1000/560 |
1000 560 |
0,125 0,14 |
8800 6400 |
Продолжение табл. 111
|
Тип реле |
Номинальное сопротивление одной катушки, Ом |
Диаметр провода, мм |
Число витков одной катушки |
|
НМШМ1-1100/700, НММ1-1100/700 |
1100 700 |
0,12 0,13 |
9100 7000 • |
|
НМШМ1-1120, НММ1-1120 |
560 |
0,14 |
6400 |
|
НМШМ1-1400, НММ1-1400 |
700 |
0,13 |
7000 |
|
НМШ2-900, НМ2-900 |
450 |
0,16 |
6900 |
|
НМШ2-4000, НМ2-4000 |
2000 |
0,11 |
14000 |
|
НМШ2-12000, НМ2-12000 |
6000 |
0,08 |
23500 |
|
НМШМ2-1.5, НММ2-1.5 |
1,5 |
0,71 |
450 |
|
НМШМ2-1.7, НММ2-1.7 |
1,7 |
0,69 |
МГ 490 |
|
НМШМ2-320, НММ2-320 |
320 |
0,16 |
МГ 4800 |
|
НМШМ2-640, НММ2-640 |
320 |
0,16 |
4800 |
|
НМШМ2-15О0, НММ2-1500 |
1500 |
0,11 |
МГ 10500 |
|
НМШМ2-10/1500, НММ2-10/1500 |
10 1500 |
0,41 0,11 |
1000 10500 |
|
НМШМ2-11/1500, НММ2-11/1500 |
11 1500 |
0,4 0,112 |
1000 10500 |
|
НМШМ2-3000, НММ2-3000 |
1500 |
0,11 |
10500 |
|
НМШЗ-460/400* |
460 400 |
0,16 0,16 |
7000 6600 |
|
НМШ4-3, НМ4-3 |
1,5 |
0,71 |
450 |
|
НМШ4-3.4, НММ4-3.4 |
1,7 |
0,69 |
490 |
|
НМШ4-530, НМ4-530 |
265 |
0,18 |
5250 |
|
НМШ4-600, НМ4-600 |
300 |
0,17 |
5350 |
|
НМШ4-2400, НМ4-2400 |
1200 |
0,125 |
11200 |
|
НМШ4-3000, НМ4-3000 |
1500 |
0,12 |
12500 |
Продолжение табл. 111
|
Тип реле |
Номинальное сопротивление одной катушки, Ом |
Диаметр провода, мм |
Число витков одной катушки |
|
НМШМ4-250, НММ4-250 |
250 |
0,18 |
МГ 4500 |
|
НМШМ4-500, НММ4-500 |
250 |
0,18 |
4500 |
|
НМШМ4-100/1100**, НММ4-100/1100" |
100 1100 |
0,23 0,12 |
3000 9100 |
|
НМШМ4-105/1000, НММ4-105/1000 |
105 1000 |
0,224 0,125 |
3000 8800 |
* Катушка сопротивлением 400 Ом выполняется проводом марки ПЭЛ. ** Катушка сопротивлением 100 Ом выполняется проводом марки ПЭЛ.
Каждый замыкающий и размыкающий контакт реле типов НМШ1, НМШ2, НМШЗ, НМШ4, НМ1, НМ2, НМ4 должен обеспечивать не менее 1200 000, а реле типов НМШМ1, НМШМ2, НМШМ4, НММ1, НММ2, НММ4 - не менее 600 000 включений и выключений электрических цепей постоянного тока при нагрузке 2 А и напряжении 24 В или цепей переменного тока при активной нагрузке 0,5 А и напряжении 220 В. После гарантийного количества срабатываний напряжение полного подъема не должно превышать более чем на 10%, а напряжение отпускания не должно быть ниже чем на 20% значений, указанных в табл. ПО.
Испытание контактов на число срабатываний проводят для реле НМШ1, НМШ2, НМШЗ, НМШ4, НМ1, НМ2, НМ4 при частоте срабатывания 45—55 раз в 1 мин, а для реле НМШМ1, НМШМ2, НМШМ4, НММ1, НММ2, НММ4 - 15-20 раз в 1 мин.
Электрические характеристики реле при этом испытании проверяют через каждые 100 000 коммутаций.
Каждая полная контактная группа состоит из подвижных (общих), замыкающих (фронтовых) и размыкающих (тыловых) контактов. Замыкающие (фронтовые) контакты — плоские бронзовые пружины с графито-серебряными наклепами; размыкающие (тыловые) и подвижные (общие) контакты — плоские пружины с серебряными наклепами.
Переходное сопротивление замыкающих (фронтовых) контактов (серебро — уголь) без контактов штепсельной розетки должно быть не более 0,25 Ом, с контактами розетки — не более 0,30 Ом.
Переходное сопротивление размыкающих (тыловых) контактов (серебро — серебро) без контактов штепсельной розетки — не более 0,03 Ом, с контактами розетки — не более 0,08 Ом. Замыкающие (фронтовые) контакты не должны свариваться и спекаться.
Условия эксплуатации. Реле изготовляют для следующих условий эксплуатации:
—температура окружающего воздуха
для штепсельных реле от —50 до +60°С, для реле с ламелями под пайку
(нештепсельных) — от 5 до 35°С;
—относительная влажность окружающего
воздуха для штепсельных
реле до 90% при температуре +20°С и до 70% при
температуре +40°С,
для реле с ламелями под пайку (нештепсельных) — до 80% при температуре +20°С;
—рабочее положение —
горизонтальное контактным набором кверху.
—Допускаются отклонения от
рабочего положения не более чем на 5° в
любую сторону.
Реле должны храниться в картонных коробках в закрытом вентилируемом помещении при температуре от +5 до +35°С, относительной влажности воздуха не более 80% и при отсутствии в окружающей среде кислотных и других агрессивных примесей. Хранение реле в транспортной упаковке допускается не более трех месяцев.
Габаритные размеры реле: НМШ и НМШМ — 200x87x112 мм; НМ1, НММ1, НМ4 и НММ4 - 132x67x93 мм; НМ2 и НММ2 -132x67x80 мм.
Масса реле зависит от его типа, кг:
НМШ1-500 (НМШ1-400), НМШ1-1440,
НМШ1-2000 (НМШ1-1800) 1,6
НМШ1-7000 1,5
НМШМ1-10, НМШМ1-11, НМШМ1-20,
НМШМ1-22, НМШМ1-180 1,7
НМШМ1-360 1,6
НМШМ1-750 (НМШМ 1-700), НМШМ1-560 1,7
НМШМ1-1300/750 (НМШМ1-1100/700),
НМШМ1-1500 (НМШМ1-1400),
НМШМ1-1000/560, НМШМ1-1120 1,6
НМШ2-1000 (НМШ2-900), НМШ2-4000,
НМШ2-1200 1,4
НМШМ2-1,7, НМШМ2-1,5 1,7
НМШМ2-350 (НМШМ2-320) 1,6
НМШМ2-700 (НМШМ2-640) 1,5
НМШМ2-1750 (НМШМ2-1500),
НМШМ2-10/1500, НМШМ2-11/1500 1,6
НМШМ2-3500 (НМШМ2-3000) 1,5
3. Реле нейтральные малогабаритные штепсельные постоянного тока типов АНШ и АНШМ
Назначение. Реле предназначены для осуществления электрических зависимостей в устройствах автоблокировки на железнодорожном транспорте. Все реле типов АНШ и АНШМ изготовляют по черт. 24122.00.00Б, кроме реле АНШ5-1600, которое изготовляют по черт. 24232.00.00.
Некоторые конструктивные особенности. Реле типа АНШ (рис. 115) имеет следующие основные детали: 1 — ручка; 2 — фронтовой контакт; 3 — общий контакт; 4 — тыловой контакт; 5 — осно|вание; 6 — ярмо; 7— штырь направляющий; 8 — катушки; 9 — сердечник; 10 — якорь; 11 — колпак. Реле постоянного тока типа АНШ являются электромагнитными, двухпозиционными, имеют специальную герметизацию, устанавливаются в напольных релейных шкафах И обладают повышенной чувствительностью на срабатывание.
Обмотки нормальнодействующих реле состоят из двух катушек.
Медленнодействующие реле типа АНШМ в зависимости от величины замедления на отпускание якоря выпускаются двух видов:
|
|
1) АНШМ2-760 и АНШМ2-620 с обмоткой, состоящей из двух катушек на шпулях из красной меди, и 2) АНШМ2-380 и АНШМ2-310 с одной катушкой на шпуле из красной меди, а вместо другой катушки помещается сплошная медная гильза (МГ). Медная гильза устанавливается при больших замедлениях на отпускание якоря на месте первой катушки.
Обмотки реле могут быть включены раздельно, последовательно или параллельно.
Электрические и временные характеристики реле при относительной влажности воздуха до 90% и температуре +20°С должны соответствовать данным, указанным в табл. 112.
Напряжение или ток полного притяжения якоря, измеренные при обратной полярности на катушках реле, не должны превышать напряжение или ток, измеренные при прямой полярности, более чем на 20%. Проверку напряжений или токов притяжения и отпускания проводят приборами класса точности не ниже 1,0.
Отклонение действительного значения сопротивления обмоток реле постоянному току (пересчитанное для температуры +20°С) от номинальных значений, указанных в табл. 112, не должно превышать ±10%. Проверку сопротивления обмоток постоянному току проводят так же, как и у реле типов НМШ и НМШМ.
Со второго полугодия 2000 г. начато производство новых реле АНШ2-310, разработанных на базе реле АНШ2-2.
Таблица 112
Электрические
и временные характеристики реле
|
Тип реле |
Сопротивление катушек постоянному току, Ом |
Напряжение или ток |
Номина- |
Замедление |
|||||||
|
отпускания якоря, не менее |
полного притяжения якоря, не более |
перегрузки |
напряже- ние или ток |
пускание не менее, с, при напряжении |
|||||||
|
В |
А |
В |
А |
В |
А |
В |
А |
10,8 В |
12В |
||
|
АНШ2-2 |
2x1 |
— |
0,055 |
— |
0,135 |
— |
0,54 |
— |
0,2 |
— |
— |
|
АНШ2-40 |
2x20 |
0,29 |
— |
1,2 |
— |
3,5 |
— |
1,8 |
— |
— |
— |
|
АНШ2-700 |
2x350 |
1,4—2,2 |
— |
5,3 |
— |
20 |
— |
12 |
— |
— |
— |
|
АНШ2-1600 |
2x800 |
2—3,1 |
— |
8 |
— |
20 |
— |
12 |
— |
— |
— |
|
АНМ2-310 |
1x310 |
1,6 |
— |
6,7 |
— |
20 |
— |
12 |
— |
0,7 |
0,9 |
|
ЛНШМ2-380 |
1x380 |
1,8 |
— |
7,5 |
— |
20 |
— |
12 |
— |
0,7 |
0,9 |
|
ЛНШМ2-620 |
2x310 |
1,6 |
— |
6,7 |
— |
20 |
— |
12 |
— |
0,4 |
0,5 |
|
ЛНШМ2-760 |
2x380 |
1,8 |
— |
7,5 |
— |
20 |
— |
12 |
— |
0,4 |
0,5 |
|
ЛНШ5-1600 |
2x800 |
1,4—2,1 |
— |
8 |
— |
20 |
— |
12 |
— |
— |
— |
Активное сопротивление обмоток реле: первой катушки (116 +- 11,6) Ом, второй катушки (194±19,4) Ом. Напряжение срабатывания — не более 3,5 В. Напряжение отпускания — не менее 1,4 В.
Физический зазор между полюсом и якорем в притянутом
положении — не менее 0,3 мм; зазор между
якорем и скобой 0,05—0,15 мм; ход
якоря — не менее 0,35 мм. Остальные параметры те же, что , реле АНШ2-2.
Электрическая прочность и сопротивление изоляции. Изоляция реле должна в течение 1 мин выдерживать без пробоя испытательное напряжение 2000 В переменного тока частотой 50 Гц, приложенное между всеми токоведущими частями реле и магнитопроводом. Испытание электрической прочности изоляции проводят путем приложения испытательного напряжения (испытательная установка мощностью не менее 0,5 кВА, дающая практически синусоидальную кривую напряжения частоты 50 Гц), в течение 1 мин ±5 с. Испытательное напряжение повышают постепенно. Погрешность измерения испытательного напряжения не должна превышать ±5%.
Сопротивление изоляции между соседними электрически не связанными токоведущими частями реле, а также между ними и магнитопроводом реле при относительной влажности воздуха до 90% и температуре +20°С должно быть не ниже 200 МОм. При температуре