Форум СЦБистов - Railway Automation Forum  
 



Продолжение к табл.   10

 

 

 

 

 

 

 

 

 

 

Род тока, тип электродви­гателя, на­пряжение, но­минальный ток и скорость вращения

Нагрузка на

шибер-тяге,

кН (кгс)

Напряжение на электро­двигателе, В

Потребляе­мый ток при

переводе шибер-тяги, А, не более

Время пе­ревода ши­бер-тяги, с,

не более

Ток регули­ровки фрик­ции приво­да, А

Постоянный, МСП-0,25, 160 В; 2,5 А; 1700 об/мин

0,5 (50)

160 200 220

2,5 2,7 2,9

1,30 0,95 0,85

6 ± 10%

1 (100)

160 200 220

3,0 3,2 3,3

1,25

1,1

1,0

1,5(150)

160 200 220

3,5 3,6 3,7

1,5 1,2 1,1

8± 10%

2(200)

160 200 220

4,2 4,3 4,4

1,6 1,4 1,2

Переменный, МСТ-0,3, обмотки соединены в звезду

Обмотки соединены в треугольник

0

0,5 50)

   1       (100)
   1,5(150)

    2 (200)

190

1,55

1,6

1,7

1,8

1,9

2,0

2,05

2,1

2,15

2,2

на 2530% больше по­требляемо­го тока при переводе

0

0,5 50)

   1       (100)
   1,5(150)

    2              (200)

110

2,7 2,8 2,9 3,0 3,1

2,0

2,05

2,1

2,15

2,2

Переменный, МСТ-0,6, обмотки соединены в звезду

Обмотки соединены в треугольник

0

0,5 50)

   1       (100)
   1,5(150)

    2 (200)

190

3,5 4,0 4,5 5,0 6,0

0,75

0,78

0,8

0,85

0,9

на 2530% больше по­требляемо­го тока при переводе

0

0,5 50)

   1       (100)
   1,5(150)

    2 (200)

110

6,5 7,0 8,0 9,0 10,0

0,75

0,78

0,8

0,85

0,9

Допускаемое откло­нение напряжения на электродвигателе +5%.

 

Сопротивление изоляции между контактными зажимами электро­двигателя, контактами колодок, соединенными между собой, и кор­пусом электропривода при температуре окружающей среды ( i 25±10)°С и относительной влажности до 80% должно быть не ме­нее 25 МОм, при температуре (+25±10)°С и относительной влажно-i i и свыше 80% — не менее 10 МОм.

Ход шибер-тяги электропривода — (154+2) мм.

Контактное давление на пружины должно быть 3,5—5Н (350— 500 гс). При врубании контактных ножей отжим рессорных пружин от нормального положения должен быть 0,7—1,0 мм, который про­веряется штангенциркулем типа ШЦ-1 ГОСТ 166-80 по нониусу 0,10 мм.

При взрезе электропривода рычаги с колодками контактных ножей, опираясь на верхнюю плоскость контрольных линеек, должны занять вертикальное среднее положение, ножи должны разомкнуть пружины контактов, в этом случае зазор с каждой стороны между ножами и контактными пружинами должен быть не менее 2,5 мм.

Расстояние между токоведущими частями и любой неизолиро­ванной деталью электропривода должно быть не менее 6 мм.

Условия эксплуатации. Электроприводы предназначены для работы при температуре окружающей среды от —50 до +45°С. Электро­приводы должны выдерживать воздействие вибрационных нагрузок е частотой 8—10 Гц, амплитудой 2 мм и продолжительностью s мин.

Каждый электропривод имеет маркировку, содержащую тип и порядковый номер изделия, год выпуска.

Габаритные размеры — 780x955x255 мм; масса — не более 165 кг.

9. Электропривод типа СП-6М

Назначение. Стрелочный с внутренним замыканием невзрезной электропривод типа СП-6М предназначен для перевода в повтор­но-кратковременном режиме, запирания и контроля положения в непрерывном режиме стрелок с нераздельным ходом остряков. Устанавливается с правой или левой стороны стрелочного перевода.

Некоторые конструктивные особенности. Конструкция электро­привода СП-6М практически аналогична конструкции ранее списанного электропривода СП-6. Внешний вид электропривода  СП-6М приведен на рис. 13. Модификация СП-6М была присвоена электроприводам, производство которых впервые освоил Брянский завод-изготовитель с января 1993 года. В связи с освоением электроприводов этим заводом были изменены их отдельные характеристи­ки, электроприводы стали выпускаться по техническим условиям ЮКЛЯ 303341.007 ТУ.

 

 

 

 

 

 

 

 

 

 

 

 

 

 

 

 

 

 

 

 

 

 

 

 

 

 

 

 

 

 

 

 

Рис. 13. Электроприводы стрелочные типов СП-6М и СПГБ-4Б

 

Электропривод типа СП-6М в зависимости от типа электродвига­теля, величины напряжения, варианта сборки выпускается в десяти исполнениях, приведенных в табл. 11.

По согласованию с заказчиком разрешается поставка электро­привода без электродвигателя.

Пример записи при  заказе:  «Электропривод стрелочный типа СП-6M   с  электродвигателем   постоянного  тока  типа   МСП-0,25; 160 В; выход шибера справа, ЮКЛЯ 303341.007 ТУ».

«Электропривод стрелочный типа СП-6М без электродвигателя, выход шибера справа, ЮКЛЯ 303341.007 ТУ».

Гарнитура в комплект поставки электропривода не входит.

 

 

 

 

 

 

Таблица   11

Варианты исполнения электропривода СП-6М

 

Номер чертежа

Тип электродвига­теля

Напряжение электродвига­теля, В

Вариант сборки

ЮКЛЯ 303341.007

МСП-0,15

160

Выход шибера справа

ЮКЛЯ 303341.007-01

МСП-0,15

160

Выход шибера слева

ЮКЛЯ 303341.007-02

МСП-0,25

30; 100; 160

Выход шибера справа

ЮКЛЯ 303341.007-03

МСП-0,25

30; 100; 160

Выход шибера слева

ЮКЛЯ 303341.007-04

МСТ-0,3

190

Выход шибера справа

ЮКЛЯ 303341.007-05

МСТ-0,3

190

Выход шибера слева

ЮКЛЯ 303341.007-06

МСТ-0,6

190

Выход шибера справа

ЮКЛЯ 303341.007-07

МСТ-0,6

190

Выход шибера слева

ЮКЛЯ 303341.007-08

мст-ов

127/220

Выход шибера справа

ЮКЛЯ 303341.007-09

мст-ов

127/220

Выход шибера слева

 

 

Электромеханические и временные характеристики электроприводов СП-6М: сила электрического тока и время перевода в зависимости от усилия нагрузки на шибере и типа электродвигателя приведе­ны в табл. 12.

При отрегулированной фрикционной муфте ток, потребляемый электроприводом при работе на фрикцию, для каждой нагрузки должен соответственно превышать ток перевода на 25—30%.

Электрическое сопротивление изоляции между токоведущими частями, соединенными между собой, и корпусом электропривода, не должно быть менее 25 МОм в нормальных климатических условиях и 0,5 МОм при температуре +30°С и относительной влажности воздуха 98%.

Электрическая прочность изоляции электропривода в нормальных климатических условиях должна выдерживать в течение 60±5 с действие испытательного напряжения переменного тока частотой 50 Гц и источника мощностью не менее 0,5 кВА, приложенного между клеммами электродвигателя, контактными колодками, соединенны­ми между собой, и корпусом электропривода, без пробоя и явлений поверхностного перекрытия: для цепей с номинальным напряжением до 60 В – 500 В, для цепей с номинальным напряжением свыше 60В – 1500 В.

Расстояние между открытыми токоведущими частями и любой изолированной деталью электропривода не должно быть менее 6 мм..

Ход шибера должен быть 154+2 мм, ход контрольных линеек — 154±2 мм.

Перед сборкой оси вращающихся деталей, ролики, шибер, контрольные линейки, шестерни, вал-шестерни и диски фрикции смазываются маслом индустриальным ГОСТ 20799-88. Подшипники заполняются смазкой ЦИАТИМ-201 ГОСТ 6267-74 или одной из смазок ЦИАТИМ-202 ГОСТ 11110-75, ЦИАТИМ-203 ГОСТ 8773-73, Ш1ЛТИМ-221 ГОСТ 9433-80.

При вращении входного вала редуктора рукояткой ручного перевода не должно быть толчков и заеданий шестерён и колес.

И собранном электроприводе СП-6М при передвижении шибера из одного крайнего положения в другое пружины автопереключателя должны обеспечивать размыкание ножей с пружинами контактных колодок.

Врубание ножей в контактные пружины должно быть на глубину не менее 9 мм. При врубании ножей рессорные пружины контакт­ных колодок должны отжиматься в пределах 0,5—1,4 мм. Отжим пружин должен быть равномерным.

При взрезе стрелки или сближении остряка (вследствие деформа­ции тяг от ударов и т. п.) рычаги с колодками контактных ножей в электроприводе СП-6М, опираясь на верхнюю плоскость контроль­ных линеек, должны занять среднее положение и разомкнуть контакты. При этом зазор с каждой стороны между ножами и контакт­ными пружинами должен быть не менее 2,5 мм.

При повороте заслонки вниз контактные ножи блок-контактов должны полностью разомкнуть блокировочные контакты. При пово­роте заслонки вверх после нажатия на блокировочную собачку контактные ножи должны врубиться в блокировочные контакты.

Крышка электропривода должна запираться замком, который при воздействии поперечных усилий нагрузки не более 300 Н и вертикальных не более 400 Н не должен отпираться. Электропривод имеет уплотнения по контуру крышки, в местах выхода шибера, контрольных линеек и отверстий, перекрываемых заслонкой (под ключ и курбель).

Электропривод СП-6М должен обеспечивать потерю контроля положения стрелки:

при рассоединении одной из контрольных тяг с остряком, после-тощего после появления дефекта перевода стрелки и возвращения to ем стрелки в исходное положение;

при частичном вытягивании контрольной линейки ближнего остяка из корпуса электропривода на 10—210 мм;

при изгибе контрольной тяги дальнего остряка и частичном вытягивании при этом линейки дальнего остряка из корпуса на 25—210 мм. При переводе после этого стрелки в другое крайнее положение (шибер выдвинут) контроль положения стрелки должен отсутство­вать, если суммарное вытягивание линейки дальнего остряка из кор­пуса составляет 185—360 мм;

при сближении остряков (вследствие деформации тяг от ударов и т. д.). Перемещение контрольной линейки от момента удара ее в зад­нюю поверхность зуба контрольного рычага до размыкания контак­тов должно быть не более 14 мм.

Для исключения индевения и подсушки контактов автопереклю­чателя в электроприводе предусмотрен обогрев непосредственно под контактами автопереключателя. Конструкция редуктора с фрикци­онной муфтой обеспечивает при работе электропривода постоянную смазку вращающихся деталей и фрикционных дисков.

Электропривод СП-6М обеспечивает круглосуточную работу и является ремонтопригодным при эксплуатации до предельного со­стояния, то есть до наработки назначенного ресурса.

Назначенный ресурс (Тр. н.) при условии соблюдения правил эксплуатации составляет не менее 1,2*106 переводов рабочего шибера при нагрузке до 3500 Н или 6*105 переводов рабочего шибера при на­грузке до 6000 Н.

Средняя наработка на отказ (То) электропривода СП-6М состав­ляет не менее 6,2-105 переводов рабочего шибера.

Средний срок службы до списания электропривода исходя из на­значенного ресурса составляет 20 лет. Среднее время восстановления работоспособного состояния, согласно данным эксплуатации, со­ставляет 10 мин.

Электропривод СП-6М в пределах назначенного ресурса должен обеспечивать безотказную работу при условии замены через каждые 6*105 переводов следующих деталей: пружин (черт. ЮК-ЛЯ 304588.001); колодок с ножами (черт. СПВ 55М23.00); колодок правых (черт. 20512М.31.00); колодок левых (черт. 20512М.32.00) и замены электродвигателей согласно нормативно-технической доку­ментации предприятия-изготовителя.

Каждый электропривод имеет заводской номер и год выпуска.

В комплект поставки электропривода входят электропривод, пас­порт на электропривод, паспорт на электродвигатель, комплект ЗИП электродвигателя.

Для обслуживания в эксплуатации на каждые 10 электроприводов или менее, отправляемых в один адрес, прилагается техническое описание и инструкция по эксплуатации ТО и комплект ЗИП со­гласно табл. 13.

Консервация перед отправкой производится сроком на один год в соответствии с требованиями ГОСТ 9.014-78 для категории транс­портирования и хранения «7» ГОСТ 15150-69.

Отправка заказчику электроприводов в зависимости от их количества производится в следующих типах тары, изготавливаемой по чертежам предприятия-изготовителя:

при небольших партиях, отправляемых на короткие расстояния в нагонах с различными грузами, каждый электропривод упаковывает­ся в деревянный ящик решетчатого типа;

при индивидуальной отправке багажом на дальние расстояния упаковка электропривода производится на специальный поддон, вы­полненный по чертежу завода-изготовителя.

Допускается повагонная отправка больших партий электроприво­дов на салазках по чертежу завода-изготовителя с расшивкой элект­роприводов в вагоне.

При индивидуальной отправке в каждый ящик вкладывается упаковочный лист.

Комплект ЗИП вкладывается внутрь электропривода.

Гарантийный срок эксплуатации устанавливается 12 месяцев с момента ввода электропривода в эксплуатацию. Гарантийный срок 1 ранения — 9 месяцев с момента изготовления.

Нумерация контактной системы электроприводов СП-6М анало­гична ранее описанным СП-2Р.

Завод-изготовитель поставляет по отдельному заказу запасные части к электроприводам СП-6М комплектами или в любом наборе количеством не менее 20 штук каждого наименования согласие табл. 14.

Условия эксплуатации. Электроприводы СП-6М предназначены пая работы при температуре от -45 до +55°С, в условиях умеренности климата (исполнение У, категория I по ГОСТ 15150-69).

Габаритные размеры — 785x414x255 мм; масса — не более 170 кг.

 

 

 

 

 

 

                     Таблица   12

   Электромеханические и временные характеристики электроприводов СП-6М

 

Технические данные электродвигателя, примененного в электроприводе

Электромеханические и временные характеристики электропривода

Тип.

Схема соединения

обмоток.

Номинальный ток

Напряжение питания, В (пред.

откл. +10%)

Число об/мин и предель­ное

откл.%

Усилие на­грузки на ши­бере,Н (пред.откл. от

+2 до-10%)

Ток пе­реводов, А, не бо­лее

Время

перевода

шибера,

с, не

более

МСП-0,15, постоян­ный, 1,5 А

160

950±15

без нагрузки 1000 2000 3000 3500 4000 5000 6000

0,7 1,3 1,8 2,3 2,5 2,7 3,3 3,7

2,3 3,4 4,2 4,7 5,2 5,6 6,3 7,3

МСП-0,25, постоян­ный, 12,5 А

30

1460±15

без нагрузки 1000 2000 3500

6,0 9,5 13,0 17,0

1,8 2,3 2,7 3,7

МСП-0,25, постоян­ный, 3,6 А

100

1700±15

без нагрузки 1000 2000 3000 3500 4000 5000 6000

1,7 2,8 4,1 5,2 5,8 6,3 7,4 8,3

1,6 2,2

2,6 3,0 3,2 3,3

3,5 3,9

МСП-0,25, постоян­ный, 2,5 А

160

1700±15

без нагрузки 1000 2000 3000 3500 4000 5000 6000

1,4 2,0 2,8 3,5 3,9 4,2 5,0 5,5

1,5 2,2 2,4 2,6 2,8 3,0 3,4 3,7

МСТ-0,3, трехфаз­ный переменный, 2,1 А, обмотки сое­динены в звезду

190

850±5

без нагрузки 1000 2000 3500

1,7 1,9 2,1 2,3

4,0 4,3 4,7 4,9

МСТ-0,6, трехфаз­ный переменный, 2,8 А, обмотки сое­динены в звезду

190

2850±10

без нагрузки 1000 2000 3500

1,7 2,2 2,8 3,5

1,5 1,6 1,7 1,8

МСТ-О.ЗВ, трехфаз­ный переменный, 2,9 А, обмотки сое­динены в звезду

220

1370±5

без нагрузки 1000 2000 3500

2,4 2,7 3,0 3,3

2,8 2,84 2,88 2,96


                                                                                                                                              Таблица  13

  

                        Комплект ЗИП электроприводов СП-6М

 

Наименование ЗИП

Номер чертежа

Количество, шт.

Ключ торцевой

ЮКЛЯ 763713.002

1

Ключ торцевой

ЮКЛЯ 296441.001

1

Отвертка 7810-09283 А1 Ц15Хр

ГОСТ 17199-88

1

Ключ

ЮКЛЯ 296441.003

1

Рукоятка

ЮКЛЯ 303658.007

1

Ось

ЮКЛЯ 711611.001

1

Ось ручного перевода

ЮКЛЯ 303771.002

1

Маслоуказатель

ЮКЛЯ 306571.002

1

Ось

ЮКЛЯ 303772.002

1

 

 

                    Таблица   14

                                       Запасные части к электроприводам СП-6М

 

Наименование запчасти

Номер чертежа запчасти

Комплект 1

Рычаг правый ножевой

Рычаг левый ножевой

Рычаг правый переключающий

Рычаг левый переключающий

Шестерня с валом

Линейка ближнего остряка правая

Линейка ближнего остряка левая

Линейка дальнего остряка правая

Линейка дальнего остряка левая

ЮКЛЯ 303671.011 ЮКЛЯ 303671.010 ЮКЛЯ 303673.002 ЮКЛЯ 303673.003 ЮКЛЯ 721315.001 ЮКЛЯ 304134.003 ЮКЛЯ 304134.003-01 ЮКЛЯ 304134.005 ЮКЛЯ 304134.005-01

Комплект 2

Пружина автопереключателя

Шайба кулачковая

Вкладыш кулачковый

Втулка кулачковая

Палец контрольной линейки

Курбельный выключатель для приво­дов с электродвигателями постоянного тока

Курбельный выключатель для приво­дов с электродвигателями переменно­го тока

Профиль уплотнительный

Кольцо

Сальник малый

Сальник большой

Планка связная

Замок

Резистор ПЭВ-25-56 Ом+10%

Кольцо

ЮКЛЯ 304588.001 ЮКЛЯ 713373.001 ЮКЛЯ 713323.001 ЮКЛЯ 713491.001 ЮКЛЯ 715342.001 ЮКЛЯ 304131.002

 

ЮКЛЯ 304131.001

 

ЮКЛЯ 754141.010 ЮКЛЯ 754176.018 ЮКЛЯ 754141.013 ЮКЛЯ 754141.012 ЮКЛЯ 741314.007 ЮКЛЯ 304265.002 ОЖО 467.576ТУ ЮКЛЯ 754176.019

Комплект 3

Блок главного вала Редуктор Шибер с ванной

ЮКЛЯ 303665.001 ЮКЛЯ 303121.001 ЮКЛЯ 305365.017

Не входящие в комплекты

Направляющая плита

Задний фланец корпуса

Ножи автопереключателя Контакты автопереключателя Колодка правая

Колодка левая

Блок диодно-резисторный Розетка двухполюсная РД1-1

ЮКЛЯ 301313.031

 

СПВ 55М.23.00

 

20512М.31.00 20512М. 32.00 ЮКЛЯ 010.0239.00.00 ЮКЛЯ 520.32.00.000


10. Электропривод стрелочный с внутренним замыканием невзрезной бесконтактный для метрополитенов типа СП-6БМ

Назначение. Электропривод типа СП-6БМ предназначен для пе­ревода, запирания и контроля положения железнодорожных стрелок с нераздельным ходом остряков на участках метрополитенов.

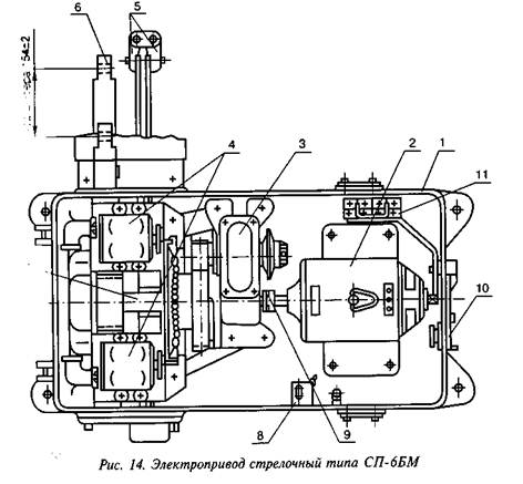
Некоторые конструктивные особенности. Конструкция электро­привода СП-6БМ приведена на рис. 14, кинематическая схема — на рис. 15.

Электропривод обеспечивает при крайних положениях стрелки плотное прилегание прижатого остряка к рамному рельсу, не допу­скает запирания стрелки при зазоре между прижатым остряком и рамным рельсом 4 мм и более и отводит другой остряк от рамного рельса на расстояние не менее хода шибера. Устанавливается элект­ропривод на гарнитуру, в комплект поставки которая не входит и закрывается отдельно.

Электропривод типа СП-6БМ в зависимости от варианта сборки выпускается в двух исполнениях: по чертежу ЮКЛЯ 303353.003 с выходом шибера справа и по чертежу ЮКЛЯ 303353.003-01 с выходом шибера слева. Независимо от исполнения электропривод СП-6БМ выпускается с электродвигателем переменного тока типа МСТ-0,3 В; 127/220 В.

Ход шибера — 154 ±2 мм, ход контрольных линеек — 154 ±2 мм.

Максимальное усилие перевода составляет 4000 Н.

Электромеханические характеристики электропривода СП-6БМ приведены в табл. 15.

Характеристики датчиков бесконтактного автопереключателя при нагрузке (контрольное реле типа НМШ1-7000, включенное через выпрямительный мост) приведены в табл. 16.

Бесконтактный автопереключатель привода СП-6БМ по конст­рукции аналогичен бесконтактному автопереключателю привода СПГБ-4Б.

Назначенный ресурс электропривода по ГОСТ 27.002-83 составляет  1*106 переводов стрелки при условии соблюдения правил эксп­луатации.

Средний срок службы до списания составляет три года.

Среднее время восстановления работоспособного состояния согласно эксплуатационным данным базового электропривода составляет 10 мин.

Электрическая прочность изоляции электропривода в нормальных климатических условиях выдерживает в течение (60±5) с действие испытательного напряжения 1500 В, переменного тока частотой 50 Гц от источника мощностью не менее 0,5 кВА, приложенного между токоведущими частями и корпусом электропривода, без про­боя и явлений поверхностного перекрытия.

 

 

Таблица   15

 

Электромеханические характеристики электроприводов СП-6БМ

 

 

 

 

 

Технические данные электродви­гателя, примененного в электро­приводе

Электромеханические и временные характеристи­ки электропривода

Тип.

Схема  соединения

обмоток

Напряже­ние пита­ния, В (пред. откл. +10%)

Усилие нагруз­ки на шибере, Н (пред.откл. от+2 до-10%)

Ток пере­вода, А, не бо­лее

Время пе­ревода шибера, С, не бо­лее

Ток при работе

электро­двигателя

на фрик­цию, А

МСТ-0,ЗВ, трехфаз­ный переменный, обмотки соединены в треугольник

127

без нагрузки 1000

2000

3,4 3,6 3,9

2,78 2,85 2,9

5,0+5%

3000 3500 4000

4,2 4,4 4,6

2,95 2,98 3,0

6,0±5%

МСТ-О.ЗВ, трехфаз­ный переменный, обмотки соединены в звезду

220

без нагрузки 1000 2000

2,1 2,2 2,3

2,8 2,84 2,88

3,0±5%

3000 3500 4000

2,5 2,6 2,7

2,94 2,96 2,99

3,5±5%

 

 

Таблица   16

Характеристики датчиков бесконтактного автопереключателя

 

 

Характеристики

Параметры

Угол поворота ротора-сектора в гра­дусах

0"

60"

120’’

Контроль началь­ного положения

Контроль среднего положения

Контроль переве­денного положения

Напряжение пере­менного тока часто­той 50 Гц на вход­ных катушках, В

20

24

28

20

24

28

20

24

28

Напряжение пере­менного тока на сиг­нальной катушке, В

<3,0

<3,5

<4,0

<6,0

<6,5

<7,0

>55

>65

>75

Потребляемый ток, А, не более

0,25

0,3

0,4

0,3

0,35

0,45

0,45

0,55

0,6

 

 

Сопротивление изоляции между токоведущими частями и корпусом электропривода в нормальных климатических условиях — не менее 25 МОм. Сопротивление изоляции между токоведущими частями и корпусом электропривода при температуре +30°С и относительной влажности воздуха 98% — не менее 0,5 МОм.

Электропривод (рис. 14) состоит из корпуса /, блока электродвигателя 2, редуктора со встроенной фрикционной муфтой 3, блока главного вала 7 с бесконтактным автопереключателем 4, муфты сцепления 9, рабочего шибера 6, контрольных линеек 5, панели освещения 8, заслонки 10, блокировочного устройства 11.


 

 

Все сборочные единицы смонтированы в чугунном корпусе 1, за­крываемом сварной стальной крышкой.

На каждые 10 электроприводов, поставляемых в один адрес, при­лагается комплект ЗИП, согласно табл. 17, описание и инструкция по эксплуатации.

 

Таблица   17

          Комплект ЗИП электроприводов СП-6БМ

 

Номер чертежа

Наименование

Количество, шт.

ЮКЛЯ 753512.009

Пружина

4

ЮКЛЯ 763713.002

Ключ торцевой

1

ЮКЛЯ 17199-88

Отвертка 7810-0928 ЗА Ц15ХР

1

ЮКЛЯ 296441.003

Ключ

1

ЮКЛЯ 303 658.007

Рукоятка

1

ЮКЛЯ711 611.001

Ось

1

ЮКЛЯ 303771.002

Ось ручного перевода

1

ЮКЛЯ 306571.001

Маслоуказатель

1

 

 

Гарнитура в комплект поставки не входит.

Вал электродвигателя 2 (рис. 15) имеет на одном конце квадрат для рукоятки ручного перевода привода, а на другом конце вала на шпонке укреплена специальная муфта 9, которая одновременно сое­диняется с валом-шестерней 12 редуктора. Вал-шестерня 12 и зубча­тое колесо 13 находятся в зацеплении через промежуточную пару (вал-шестерня 14 и зубчатое колесо 15, сидящих на одной оси).

Вал-шестерня 16, находясь на одном валу с зубчатым колесом 13, находится в зацеплении с упором зубчатого колеса 17, свободно си­дящим на главном валу 7. Упор зубчатого колеса 17 заходит в вырез диска главного вала 7.

Шиберная шестерня выполнена как одно целое с главным валом 7. Она имеет два запорных зуба и пять рабочих. Зубья шестерни вхо­дят в зацепление с зубьями шибера 6, на котором имеется 4 рабочих зуба и два специальных запорных зуба.

В конце каждого перевода стрелки один специальный запорный зуб рабочего шибера 6 запирается одним из специальных запорных зубьев шиберной шестерни главного вала 7, что соответствует ходу шибера 154+2 мм.

Редуктор со встроенной фрикцией представляет собой отдельный узел, монтируемый в корпусе электропривода.

Редуктор состоит из чугунного корпуса с крышкой, внутри кото­рого находятся стальные валы-шестерни, зубчатые колеса нормаль­ного цилиндрического зацепления, а также фрикционной муфты, смонтированной внутри зубчатого колеса. Фрикционная муфта со­стоит из четырех подвижных стальных дисков и четырех неподвиж­ных стальных дисков.

Подвижные диски соединены с зубчатым колесом, а неподвиж­ные диски расположены на втулке, которая соединена шпонкой с и.i ном-шестерней. Сжимаются диски тремя тарельчатыми пружина­ми при помощи регулировочной гайки. Одна из пружин находится внутри корпуса редуктора.

Усилие фрикционного сцепления регулируется в пределах от 1000 до 4000 Н.

Передача вращения от электродвигателя 2 на редуктор 3 происхо­дит через муфту 9 (см. рис. 14), состоящую из втулки кулачковой, нелинейной шпонкой с осью электродвигателя, вкладыша и шайбы кулачковой, расположенной на квадрате вала-шестерни редуктора.

Бесконтактный автопереключатель 4 состоит из чугунного осно­вания, на котором установлены датчики, контрольные и переключа­ющие рычаги, и амортизационных пружин. На контрольных рычагах имеются выступы, на которых укреплены ролики, поворачивающие поводки датчиков. Контрольные рычаги связаны с переключающи­ми с помощью роликов.

Под действием пружин, стягивающих переключающие рычаги, поводок левого датчика занимает контрольное положение, а поводок правого датчика — нормальное. После перевода электропривода поводок левого датчика займет начальное положение, а поводок правого датчика — контрольное.

При взрезе электропривода контрольный рычаг под действием контрольных линеек и поводок левого датчика (или правого датчи­ка) займут среднее (вертикальное) положение.

 


 

Положение стрелки контролируется зубьями контрольных рыча­гов, западающими в вырезы контрольных линеек после запирания шибера, что проверяется западанием головок переключающих рыча­гов в вырез шайбы главного вала.

Каждый датчик автопереключателя имеет литой корпус, внутри которого расположены трехполюсный статор и ротор-сектор, враща­емый поводком.

На полюсах статора размещены питающая и компенсационная катушки, на которые подается напряжение питания, и сигнальная, с которой снимается выходное напряжение.

Намоточные данные катушек приведены в табл. 18.

                                                                                                                      Таблица   18

Намоточные данные катушек

 

Наименование

Параметры катушек

сигнальной

питающей

компенсационной

Марка провода Диаметр провода, мм Число витков

ПЭВ-2

0,1

6250

ПЭВ-2

0,4

460

ПЭВ-2

0,4

330

Контрольные линейки имеют вырезы, в которые попеременно при ходе их вместе с остряками стрелок западают зубья рычагов. Контрольные линейки соединены между собой планкой.

На панели освещения расположены проволочное сопротивление типа ПЭВР-25-27±10% и штепсельная розетка для переносной лам­пы ЖС-2, 12В, 15 Вт.

В корпусе электропривода, в местах выхода рабочего шибера и контрольных линеек, для предохранения от проникновения внутрь его воды и песка устанавливаются уплотнения из войлока.

Закрывается электропривод сварной стальной крышкой, имею­щей по бортам уплотнения из резины. Запирается электропривод из­нутри специальным замком.

Внутри электропривода установлен курбельный выключатель, блокировочные контакты которого исключают возможность управ­ления по команде с поста электрической централизации в момент открытия заслонки 10 (см. рис. 14).

При снятом электродвигателе электропривод может быть переве­ден на ручное управление рукояткой при помощи специальной оси, надеваемой на выступающий из редуктора квадрат вал-шестерни се­чением 12x12 мм.

Работа электропривода начинается с момента подачи напряжения на блок электродвигателя.

Вал электродвигателя, вращаясь через муфту и систему механической передачи редуктора, приводит во вращение зубчатое колесо с упором, которое выжимает ролик одного из упорных рычагов и выходит конец этого рычага из выреза диска главного вала.

Одновременно с этим переключающий рычаг поворачивает конт­рольный рычаг и поводок и ротор-сектор левого датчика. Ротор-сектор из положения контроля переходит в начальное положение, вы­ходное напряжение при этом уменьшается с 65 до 3,5 В и контроль­ное реле на посту централизации выключается. После поворота на 46° зубчатое колесо с упором вращает диск главного вала шиберной шестерни.

После включения электродвигатель привода вращает через редук­тор с фрикционом зубчатое колесо, свободно насаженное на глав­ный вал. После поворота колеса на 46° между ним и главным валом создается жесткое зацепление. В процессе этого поворота колесо воздействует через ролик на переключающий рычаг и выводит его головку из выреза шайбы главного вала. В свою очередь, переключа­ющий рычаг поворачивает контрольный и промежуточный рычаги и одновременно поводок ротор-сектора левого датчика. Ротор-сектор из положения контроля переходит в начальное положение, выходное напряжение датчика при этом уменьшается с 65 до 3,5 В и контроль­ное реле на посту централизации выключается. Затем зубчатое коле­со и главный вал вращаются совместно, обеспечивая отпирание, пе­ревод и запирание стрелки.

В конце перевода пружины автопереключателя воздействуют че­рез переключающий и контрольный рычаги на поводок ротор-секто­ра правого датчика. Ротор-сектор этого датчика из начального пере­ходит в положение контроля, за счет чего выходное напряжение воз­растает с 3,5 до 65 В и более. При этом срабатывает контрольное ре­пс переведенного положения стрелки, которое воздействует на тири­стор, выключающий электродвигатель привода.

Процесс срабатывания электропривода на этом заканчивается. При взрезе стрелки контрольные линейки, перемещаемые остряка­ми, поворачивают контрольный рычаг и поводок датчика в среднее положение. В результате поворота ротор-сектора выходное напряже­ние уменьшается с величины 65 до 6,5 В, что приводит к выключе­нию контрольного реле на посту и включению звонка взреза.

Электропривод, подвергшийся взрезу, подлежит тщательному техническому осмотру с оформлением соответствующего акта.

Конструкция контрольных линеек обеспечивает потерю контроля положения стрелки в следующих ситуациях:

— при частичном вытягивании контрольной линейки ближнего остряка из корпуса электропривода на величину более 10 мм, но не более 210 мм, шибер при этом втянут;

— при изгибе контрольной тяги дальнего остряка и частичном вытягивании при этом линейки дальнего остряка из корпуса привода на величину более 25 мм, но не более 210 мм.

При переводе после этого стрелки в другое крайнее положение (шибер выдвинут) контроль положения стрелки будет отсутствовать.

При этом рычаг станет в вертикальное положение, опираясь зу­бом на верхнюю плоскость контрольной линейки.

Благодаря наличию связной планки 18 (см. рис. 15), конфигура­ции и размерам пазов на контрольных линейках, обеспечивается по­теря контроля положения стрелки при рассоединении одной из кон­трольных тяг с остряком, последующим после появления дефекта перевода стрелки и возвращении затем стрелки в исходное положе­ние.

При возникновении вышеописанных ситуаций электропривод подлежит тщательному осмотру с соответствующим оформлением акта.

К обслуживанию электроприводов допускаются обученные безо­пасным методам работы лица, проинструктированные и прошедшие проверку знаний в соответствии с «Правилами техники безопас­ности и производственной санитарии в хозяйстве сигнализации и связи железнодорожного транспорта» ЦШ/4695 и «Правилами технической эксплуатации» (ПТЭ).

До начала работ по проверке и осмотру электропривода на стрел­ке необходимо исключить возможность перевода стрелочного элект­ропривода по команде с поста централизации. Для этого выключить курбельный выключатель, повернув заслонку вниз до упора.

Снять с электропривода крышку, предварительно открыв замок ключом. Крышку положить с соблюдением габарита. Класть крышку на рельсы или ставить ее ребром запрещается.

При настройке, регулировке или смазке электропривода необхо­димо располагаться сбоку от него, со стороны междупутья, лицом в сторону пути.

Перед проходом поезда по стрелке закрыть электропривод и отойти на безопасное расстояние.

Работы с электроприводом на стрелках при плохой видимости, вызванной метелью, снегопадом или туманом, должны вестись дву­мя работниками, один из которых должен выполнять технические работы, а другой — следить за проходом подвижных единиц.

Регулировка (или очистка) электромеханических и механических деталей и узлов электропривода при включенном напряжении запре­щается.

Для электрических измерений должны применяться приборы, укомплектованные специальными щупами с надежной изоляцией. При этом должно быть обращено особое внимание на опасность приближения к токоведущим деталям.

Электропривод устанавливается согласно проекту на стрелочных гарнитурах с соблюдением существующего габарита для каждого ти­па стрелочных переводов.

Конструкция контрольных линеек с приварными ушками требует

от заказчика при заказе четкого определения варианта исполнения электропривода «С выходом шибера справа» или «С выходом шибе­ра слева». Крепится электропривод к гарнитуре четырьмя болтами М20 и гайками.

Подготовка стрелок к установке на них электроприводов производится службой пути.

Перед установкой электропривод должен быть осмотрен, очи­щен, промыт и вытерт, а все трущиеся части, включая шибер и кон­трольные линейки, должны быть смазаны.

Сливная пробка и глухие крышки редуктора должны быть надеж­но затянуты и не допускать утечки масла.

Все тяги должны быть одинаковыми по длине и правильно вы­гнуты согласно чертежам стрелочной гарнитуры.

Оси и болты для тяг и шарниров должны проходить в отверстия соединяемых частей без усилий и без зазоров.

Резьбовые соединения не должны иметь шага и заеданий.

Фундаментные угольники и изоляция их для стрелок всех типов должны быть выполнены по чертежам стрелочной гарнитуры.

Плоскости фундаментных угольников в месте прилегания их к рельсам и в месте установки электропривода не должны иметь пере­косов.

Сверление отверстий для крепления фундаментных угольников к рельсам производится при монтаже, после окончательной установки гарнитуры и электропривода.

При подсоединении контрольных тяг связную планку контрольных линеек установить удлиненным пазом на соединительный палец линейки дальнего остряка.

Для правильной работы стрелки рабочие и контрольные тяги должны быть отрегулированы на месте при установке электроприво­да так, чтобы:

— ход остряков из одного крайнего положения в другое, измерен­ный против изолированных ушек, был 154±2 мм;

— остряки в обоих крайних положениях стрелки плотно прижи­мались к рамным рельсам;

— рычаг с зубом автопереключателя заходил в вырез контрольной линейки прижатого остряка с зазором от 1 до 3 мм.

При закладывании шаблона толщиной 4 мм между остряком и рамным рельсом, в месте нахождения ушка изолированной серьги, рычаг с зубом автопереключателя не должен заходить в вырез конт­рольной линейки. При этом поводок соответствующего датчика ав­топереключателя должен занять среднее положение.

При регулировании тяг сначала должны подгоняться рабочие, а потом контрольные тяги.

Болтовые и шарнирные соединения ушек, шиберов, тяг и линеек в целях предотвращения выпадания пальцев и самоотвинчивания гаек должны быть снабжены закрутками из стальной проволоки.

Пальцы контрольных линеек дополнительно зашплинтовать, что предотвратит их выпадание при перетирании основной закрутки. Стопорный винт гайки фрикции должен быть зашплинтован.

Для разделки кабеля у электроприводов применяются стрелочные муфты, типы которых выбираются по проекту в зависимости от схе­мы включения электроприводов.

Провода, соединяющие электропривод с клеммами стрелочной муфты, должны проходить от электропривода до муфты в гибком бронированном шланге, отверстия у электропривода и муфты распо­лагаются на одном уровне.

Схема включения электропривода выбирается в зависимости от положения электропривода на стрелке и положения шибера.

Подключение проводов к электродвигателю и курбельному вы­ключателю производится с помощью наконечников и гаек, а к датчикам автопереключателя с помощью угловых штепсельных разъемов. Как у левого, так и у правого датчика угловые вставки штепсельных разъемов направлены в сторону шиберной шестер­ни, что надо иметь в виду во избежание перепутывания датчиков местами.

Техническое обслуживание электроприводов должно вестись спе­циально обученным персоналом (электромехаником, монтером и т. д.) в соответствии с «Правилами технической эксплуатации элект­рических установок» и «Инструкцией по техническому обслужива­нию устройств механизированных и автоматизированных сортиро­вочных горок (СЦБ)» ЦШ/3793 и настоящим техническим описани­ем и инструкцией по эксплуатации.

Для надежной работы электропривода, находящегося в эксплуа­тации, необходимо выполнять следующее:

— ежедневно производить внутренний осмотр головных и первых пучковых приводов с переводом стрелки, а остальных — один раз в неделю;

— еженедельно производить смазку привода, чистку коллектора электродвигателя и проверить положение поводков датчиков;

— еженедельно проверять работу головных и первых пучковых приводов на фрикцию и при необходимости отрегулировать фрик­ционное сцепление, остальных — один раз в две недели;

— один раз в квартал проверять сопротивление изоляции элект­родвигателя привода;

— ежеквартально заменять электродвигатели для текущего ремон­та в КИПе для головных и первых пучковых приводов, остальных — два раза в год;

— один раз в год измерять сопротивление изоляции монтажа привода и производить текущий ремонт привода;

— один раз в две недели производить наружную обтирку привода, тяг, шибера и контрольных линеек.

Выполнение указанных работ, за исключением текущего ремон­та, может производиться без прекращения работы электропривода, для чего рекомендуется пользоваться контрольным звонком.

При повороте стрелочной рукоятки на посту ЭЦ контрольный электрический звонок дает сигнал электромеханику о необходимо­сти перевода стрелки с поста ЭЦ.

После снегопадов и дождей, а также при резких изменениях тем­пературы следует в первую очередь производить внутреннюю про­верку электропривода и наличие нормальной изоляции электродви­гателя. Для этого ключом открывается заслонка, которую поворачи­вают вниз до упора защелки, размыкая блокировочные контакты, за­тем ключом открывают замок, после чего крышка корпуса свободно снимается.

Проверке подлежат положение поводков датчиков, западание контрольного рычага с зубом автопереключателя в вырезы контроль­ных линеек, крепление болтов, состояние и положение щеток на коллекторе электродвигателя, наличие смазки на трущихся частях, взаимодействие частей электропривода при переводе стрелки.

На передней крышке датчиков нанесена шкала с предельными рисками для каждого из положений поводка. Острие указателя, име­ющееся на поводке, должно быть расположено между рисками, со­ответствующими каждому из положений поводка.

Перед включением электропривода в работу обратить внимание на то, чтобы электропривод работал легко и свободно.

Один раз в месяц следует измерять напряжение питания и выход­ное напряжение датчиков (на клеммах стрелочной муфты) и прове­рять их соответствие нормам. При этом допускается:

— горизонтальный и вертикальный зазор шибера и контрольных линеек в направляющих пазах до 0,5 мм;

— зазор между зубьями шибера и шестерней не более 1 мм;

— зазор 0,5—1 мм между поводками датчиков и осью роликов контрольных рычагов в положении «Контроль среднего положения».

При внутреннем осмотре электропривода рекомендуется соблю­дать следующую последовательность:

— по прибытии электромеханика к месту работы дежурный по станции уведомляется о начале производства работ;

— контрольный звонок включается в цепь блокировочного кон­такта;

— проверяется состояние механической передачи и электриче­ский монтаж электропривода;

— проверяется работа автопереключателей и датчиков;

— проверяются щетки и щеткодержатели электродвигателя;

— производится перевод стрелки и наблюдение за работой меха­низмов электропривода с проверкой величины тока перевода;

— проверяется уплотнение крышки и действие запорного замка.

Бесперебойная и надежная работа электропривода обеспечивает­ся наличием смазки на трущихся поверхностях деталей, уменьшаю­щей их износ и увеличивающей срок службы.

В электроприводе периодически необходимо смазывать:

— шестерни и шарикоподшипники редуктора;

— шибер и контрольные линейки;

— венцы зубчатых открытых передач;

— ролики и пальцы рабочих рычагов, поводков датчиков;

— войлочные сальники.

Для редуктора со встроенной фрикционной муфтой, масляной ванны шибера и остальных деталей рекомендуется применять в за­висимости от температуры окружающего воздуха следующие масла: осевое С или 3 по ГОСТ 610-72, индустриальное И-20А, И-30А, И-40А или И-50А по ГОСТ 20799-88.

Для шарикоподшипников электродвигателей и редуктора, неза­висимо от температуры окружающего воздуха, следует применять смазку ЦИАТИМ-201 по ГОСТ 6267-74, ЦИАТИМ-202 ГОСТ 11110-75, ЦИАТИМ-203 ГОСТ 8773-73, ЦИАТИМ 221 ГОСТ 9433-80.

Для обеспечения длительной и безотказной работы электропри­водов в эксплуатации необходимо производить замену через каждые 500 тыс. переводов следующих деталей:

— пружины (черт. ЮКЛЯ 304.588.001)

— пружины (черт. ЮКЛЯ 753.512.009)

При эксплуатации электроприводов происходит разработка от­верстий в ушках.

Допускается увеличение внутреннего диаметра ушка до Ǿ16H11 (+0,11) при обязательной одновременной замене пальца, с увеличе­нием его диаметра до Ǿ16d11 и изменением овального отвер­стия в планке для получения зазора до 0,5—1,0 мм.

Габаритные размеры — 785x414x255 мм; масса — не более 170 кг.

 

11. Электроприводы типов СПГБ-4, СПГБ-4М и СПГБ-4Б

Назначение. Быстродействующие стрелочные электроприводы типов СПГБ-4, СПГБ-4М и СПГБ-4Б применяются с электродви­гателями типа МСП-0,25 на напряжение 100 В на сортировочных горках и МСП-0,25 на напряжение 160 В в маневровых районах станций.

Некоторые конструктивные особенности. Электроприводы СПГБ-4, СПГБ-4М и СПГБ-4Б относятся к приводам электромеханическим, с внутренним запиранием, быстродействующим, невзрезным, бесконтактным. Бесконтактные электроприводы СПГБ-4, ( ПГБ-4М и СПГБ-4Б отличаются от контактных СПГ-3 и СПГ-ЗМ конструкцией автопереключателя, в которых вместо контактной системы предусмотрены бесконтактные датчики.

Бесконтактные электроприводы выпускались в двух вариантах:

типа СПГБ-4 на базе электропривода СП-3;

типа СПГБ-4М на базе электропривода СП-6.

С июля 1995 года вместо бесконтактных электроприводов СПГБ-4 и СПГБ-4М начали выпускаться бесконтактные электро­приводы типа СПГБ-4Б. Внешний вид электропривода СПГБ-4Б приведен на рис. 13. Модификация СПГБ-4Б была присвоена элект­роприводам, производство которых впервые освоил Брянский завод. В связи с освоением электроприводов этим заводом были изменены или уточнены их отдельные характеристики, бесконтактные электро­приводы начали выпускаться по техническим условиям ЮКЛЯ 303.353.002 ТУ. Практически характеристики бесконтактного электропривода СПГБ-4Б почти не отличаются от ранее выпускав­шихся бесконтактных электроприводов СПГБ-4М, они также произ­водятся на базе электропривода СП-6М.

Высокое быстродействие электроприводов типов СПГБ-4, СПГБ-4М и СПГБ-4Б на горках достигается сочетанием максималь­ного управляющего воздействия по напряжению с уменьшенным пе­редаточным числом редуктора до 35,7 за счет изменения числа зубь­ев шестерен в первом каскаде редуктора.

Конструкция бесконтактных электроприводов типов СПГБ-4, СПГБ-4М и СПГБ-4Б приведена на рис. 16, их кинематическая схе­ма приведена на рис. 17.

В корпусе / электропривода размещены электродвигатель 8, уравнительная муфта 7, редуктор 6, зубчатое колесо с упором 5, блок главного вала с бесконтактным автопереключателем 4, контрольные линейки 3, шибер 2, блокировочное устройство 9.

Электроприводы выпускаются в различных исполнениях в зави­симости от типа электродвигателя и варианта сборки: с выходом ши­бера справа или слева в зависимости от заказа.

Бесконтактные электроприводы с электродвигателями типа МСП-0,25 напряжением 100 В постоянного тока должны работать с допустимым повышением напряжения на зажимах в пределах 200— 220 В.

Электрические характеристики электроприводов с бесконтактным автопереключателем приведены в табл. 19.

При отрегулированной фрикционной муфте ток, потребляемый электроприводом при работе на фрикцию, должен быть от 5,4 до 8,8 А в зависимости от нагрузки на шибере в соответствии с табл. 19.

Каждый датчик автопереключателя имеет литой корпус, внутри которого расположены трехполюсный статор и ротор-сектор, враща­емый поводком. На полюсах статора размещены питающая и ком­пенсационная катушки, на которые подается напряжение питания Vu и сигнальная, с которой снимается выходное напряжение V2.

 

                Таблица   19

 

 

Электрические характеристики электроприводов СПГБ-4, СПГБ-4М и СПГБ-4Б

 

 

 

 

 

 

 

 

 

 

 

Род тока, тип электро­двигателя, напряжение, номиналь­ный ток и частота вра­щения

Нагрузка на

шибер-тяге,

кН (кгс),

*2 %

Напряжение на электро­двигателе, В,

+5%

Потребляе­мый ток при

переводе шибер-тяги, А, не более

Время пере­вода ши­бер-тяги, с, не более

Ток регули­ровки фрик­ции приво­да, А

Постоян­ный,

МСП-0,25, 100 В; 3,3 А; 1700 об/мин

0,5 (50)

100

200

220

3,5

3,8

4,1

1,10

0,6

0,55

6+10%

1 (100)

100

200

220

4,3

 4,5

4,6

1,35

0,67

0,62

1,5(150)

100

200

220

5,0

5,3

5,5

1,43

0,8

0,76

8+10%

2 (200)

100

200

220

6,0

 6,2

6,5

1,58

0,95

0,80

Постоян­ный,

МСП-0,25, 160 В; 2,5 А; 1700 об/мин

0,5 (50)

160

200

220

2,5

2,7

 2,9

1,3

0,95

0,85

6±10%

1 (100)

160

 200

 220

3,0

3,2

3,3

1,25

1,1

1,0

1,5(150)

160

200

220

3,5

 3,6

 3,7

1,5

1,2

1,1

8±10%

2(200)

160

200

220

4,2

4,3

4,4

1,6

 1,4

 1,2

 

 

 

 

Намоточные данные катушек датчиков автопереключателя приведе­ны в табл. 20.

 

                                                                                            Таблица  20

 

Намоточные данные катушек датчиков

 

 

Наименование

Параметры катушек

сигнальная

питающая

компенсационная

Марка провода Диаметр провода, мм Число витков

ПЭВ-2, ПЭТВ

0,1

6250

ПЭВ-2, ПЭТВ

0,41

 460

ПЭВ-2, ПЭТВ

0,41

 330


 

 


 

 

 

 

Техническая характеристика каждого датчика автопереключателя

при включенной нагрузке (реле постоянного тока типа НМШ 1-7000, включенное через выпрямительный мост) должны соответствовать данным, приведенным в табл. 21.

          

                        

 

                                                                                                                           Таблица  21

                                          Технические характеристики датчиков

 

 

Характеристики

Параметры

Угол поворота ротора-сектора

(0±5)

(60+12)

(120+5)

контроль начально­го положения

контроль среднего положения

контроль переве­денного положения

Напряжение пере­менного тока часто­той 50 Гц на вход­ных катушках, В

20

24

28

20

24

28

20

24

28

Напряжение пере­менного тока на сиг­нальной катушке, В

<3,0

<3,5

<4,0

<6,0

<6,5

<7,0

>55

>65

>75

Потребляемый пе­ременный ток, А, не более

0,25

0,3

0,4

0,3

0,35

0,45

0,45

0,55

0,6


Взаимное положение ротор-секторов обоих датчиков при пере­ключениях приведено на кинематической схеме бесконтактного ав­топереключателя (рис. 18).

В крайнем плюсовом положении стрелки (рис. 18, а) ротор-сек­тор левого датчика расположен у полюсов, на которых находятся пи­тающая / и сигнальная 3 катушки. Ротор-сектор правого датчика бу­дет занимать место у полюсов с питающей 1 и вспомогательной 2 ка­тушками. Таким образом, напряжение питания К, трансформируется в левом датчике в непрерывное выходное напряжение V2 высокого уровня, а в правом датчике — низкого уровня. Вспомогательная ка­тушка 2 служит для увеличения полного сопротивления первичной цепи и снижения тока, потребляемого датчиком в этом положении ротор-сектора.

Когда стрелка перейдет в среднее положение (рис. 18, б), ро­тор-сектор левого датчика займет положение у полюсов с питающей и вспомогательной катушками, а у правого датчика положение ро­тор-сектора не изменится. Поэтому выходное напряжение V2 у обоих датчиков будет низкого уровня.

В переведенном положении стрелки — минусовом (рис. 18, в) ро­тор-сектор левого датчика останется у полюсов с питающей и вспо­могательной катушками, а ротор-сектор правого датчика займет по­ложение у полюсов с питающей и сигнальной катушками. Выходное напряжение у правого датчика возрастет до высокого уровня, а у ле­вого останется низкого уровня.

При взрезе стрелки, находившейся в плюсовом положении (рис. 18, г), ротор-сектор левого датчика, занимавший место у полю­сов с питающей и сигнальной катушками (см. рис. 18, а), под дейст­вием контрольного рычага совершит поворот и расположится у по­люсов с питающей и вспомогательной катушками. Выходное напря­жение датчика снизится до низкого уровня.

Бесконтактный автопереключатель питается номинальным на­пряжением 24 В переменного тока частотой 50 Гц. В качестве на­грузки датчика применяют реле первого класса типа НМ1-7000, включенное через выпрямительный мост.

При втянутом положении шибера ротор-сектор левого датчика должен обеспечивать «контроль переведенного положения»- и быть повернут на угол (120+5)°, а ротор-сектор правого датчика должен обеспечивать «контроль начального положения» и занимать исход­ное положение отсчета ±5°.

При взрезе электроприводов СПГБ-4 и СПГБ-4М поводок соот­ветствующего контрольного рычага должен занимать вертикальное среднее положение, при этом рычаг должен опираться на верхнюю плоскость контрольной линейки, а ротор-сектор датчика должен быть повернут на угол (60±10)° и стать в «контроль среднего положе­ния».