![]() |
Раздел XVII РЕЗИСТОРЫ И ДРОССЕЛИ
1. Резисторы регулируемые РР
Внешний вид регулируемого резистора РР приведен на рис. 303. Технические данные регулируемых резисторов приведены в табл. 255.
Таблица 255
Технические данные регулируемых резисторов РР
|
Тип резистора |
Сопротивление резистора |
Номинальный ток, А |
Размеры, мм |
Масса, кг |
||
|
номинальное, Ом |
предельное отклонение, % |
L |
/-1 |
|||
|
РР 0,6-5 |
0,6 |
+20 -10 |
5 |
132±2,5 |
110+0,5 |
0,4 |
|
РР 1,2-3 |
1,2 |
3 |
132±2,5 |
110±0,5 |
0,4 |
|
|
РР 14-1 |
14 |
1 |
132±2,5 |
110±0,5 |
0,4 |
|
|
РР 40-0,5 |
40 |
0,5 |
132+2,5 |
110+0.5 |
0,4 |
|
|
РР 100-0,3 |
100 |
0,3 |
132+2,5 |
110±0,5 |
0,4 |
|
|
РР 200-0,25 |
200 |
0,25 |
132±2,5 |
110±0,5 |
0,4 |
|
|
РР 400-0,2 |
400 |
0,2 |
132+2,5 |
110±0,5 |
0,4 |
|
|
РР 1,1-10 |
1,1 |
10 |
214±3,5 |
190+0,5 |
0,6 |
|
|
РР 6-3,3 |
6 |
3,3 |
214±3,5 |
190+0,5 |
0,6 |
|
Выпускаются с 1997 года по настоящее время взамен резисторов РМР и 7157.
2. Резисторы постоянные РП
Внешний вид резистора постоянного РП приведен на рис. 304. Технические данные резисторов РП приведены в табл. 256. Выпускаются с 1997 года по настоящее время взамен резисторов РМН и 7156.
|
|
Таблица
256
Технические данные резисторов РП
|
Тип резистора |
Сопротивление резистора |
Номинальная мощность, Вт |
Масса, кг |
|
|
номинальное, Ом |
предельное откл., % |
|||
|
РП 1,1-200 |
1,1 |
± 10 |
200 |
0,8 |
|
РП 2,2-200 |
2,2 |
|||
|
РП 4,4-200 |
4,4 |
|||

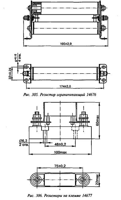
3. Резистор ограничивающий 14676
Внешний вид ограничивающего резистора 14676 (черт. 14676-00-00) приведен на рис. 305.
Номинальная величина электрического сопротивления резистора — 195 Ом ±5%. Номинальная мощность — 160 Вт.
Масса — 0,6 кг.
Выпускается с 1995 года по настоящее время взамен резистора ограничивающего типа 21220.
4. Резисторы на клемме 14677
Внешний вид резистора на клемме 14677 (черт. 14677-00-00) приведен на рис. 306.
Резисторы выпускаются номинальным сопротивлением, Ом: 27, 39, 47, 51, 56, 75, 100, ПО, 150, 200, 220, 270, 330, 360, 390, 560, 1200, 3300, 4300, 4700, 5100, 9100, 12 000.
Допустимые отклонения величины электрического сопротивления резисторов от номинальной ±5%.
|
|
Номинальная мощность резисторов — 25 Вт.
Масса — 0,15 кг.
Выпускается с 1995 года по настоящее время взамен резисторов проволочных на клемме типов ПЭ-15, ПЭ-50 и резистора постоянного углеродистого на клемме типа ВС-5, 12 000 Ом.
5. Резисторы малогабаритные нерегулируемые типа РМН-1 и регулируемые типа РМР-1
Малогабаритные резисторы типов РМН-1 и РМР-1 применяются в электрических цепях устройств автоматики и телемеханики на железнодорожном транспорте вместо резисторов типа 7156.
В 1982 году по предложению автора данного раздела был модернизирован трансформаторный ящик ТЯ-1 из-за его нетехнологичности при изготовлении, что позволило внедрить машинную формовку. Взамен начал выпускаться трансформаторный ящик ПЯ-1 (черт. 151.04.00.000) с высотой на 55 мм меньше, чем ранее выпускавшийся ящик ТЯ-1. В результате уменьшения высоты трансформаторного ящика потребовалось пересмотреть высоту резисторов типа 7156, которыми комплектовались эти ящики. Вместо них стали выпускать малогабаритные нерегулируемые резисторы РМН-1 и регулируемые РМР-1, которые предназначены для установки в трансформаторные ящики ПЯ-1.
Внешний вид резисторов РМН-1 и РМР-1 приведен на рис. 307.
Малогабаритные резисторы состоят из двух цилиндрических фарфоровых изоляторов, к торцам которых крепят стальные стойки с отверстиями под крепление резистора. На изоляторы наматывают проволоку из нихрома для резисторов типа РМН-1 и из константана для резисторов типа РМР-1. Концы проволоки подсоединяют к выводным болтам, служащим для подключения резистора в электрическую цепь.
На малогабаритных регулируемых резисторах типа РМР-1 над изоляторами с намотанной на них проволокой устанавливают ползунковый контакт. Для регулирования сопротивления необходимо открутить винт ползункового контакта, переместить ползунковый контакт в необходимое положение и зафиксировать его, закрутив винт.
Электрические параметры нерегулируемых типа РМН-1 и регулируемых типа РМР-1 резисторов приведены в табл. 257. Установившаяся температура нагрева резистора при нагрузке номинальным током не должна превышать температуру окружающей среды на значения большие, чем приведенные в таблице.
|
|
Электрическая прочность и сопротивление изоляции. Изоляция всех токоведущих частей относительно корпуса должна выдерживать
Таблица 257
Электрические параметры резисторов типов РМН-1 и РМР-1
|
Тип резистора |
Чертеж |
Номинальное сопротивление, Ом |
Номинальный ток, А |
Мощность рассеивания, Вт |
Температура нагрева резистора, •с |
|
РМН-1 |
158.04.00.000 |
2,2±0,22 |
10 |
220 |
<260 |
|
РМН-1 |
158.04.00.000.01 |
1,1±0,11 |
10 |
110 |
< 160 |
|
РМР-1 |
155.03.00.00.000 |
1,1±0,11 |
10 |
110 |
< 160 |
без повреждения в течение 1 мин испытательное напряжение 2000 В переменного тока частотой 50 Гц.
Сопротивление изоляции электрической цепи относительно корпуса при температуре окружающей среды от 15 до 25°С и относительной влажности воздуха 75% должно быть не менее 25 МОм, при температуре окружающей среды 27°С и относительной влажности воздуха 90% — не менее 2,5 МОм.
Габаритные размеры резисторов типов РМН-1 и РМР-1 146x45x132 мм, масса не более 1,0 кг.
Примечание. С 1997 года взамен их выпускаются резисторы постоянные РП и регулируемые PP.
6. Резисторы постоянные углеродистые на клемме типа ВС-5, 12 000 Ом
Назначение. Резисторы постоянные углеродистые на клемме типа ВС-5, 12 000 Ом (рис. 308) применяются в электрических цепях постоянного и переменного тока и изготовляются, черт. 11861.00.00. В комплект поставки входит клеммная колодка по черт. 60566.00.00.
Резистор ВС-5 выпускается только на номинальное значение сопротивления 12 000 Ом±10 %; его мощность 5 Вт.
Взамен его с 1995 года выпускается резистор на клемме 14677.
Сопротивление изоляции электрической цепи относительно клеммной колодки при температуре окружающего воздуха от 15 до +25°С и относительной влажности 75% должно быть не менее 25 МОм.
Условия эксплуатации. Резистор ВС-5 предназначен для работы при температуре от —40 до +50°С в импульсном и непрерывном режимах.
Габаритные размеры 87x45x60 мм; масса 0,135 кг.
7. Резисторы ограничивающие типа 21220
Назначение. Резисторы ограничивающие (рис. 309) применяются в рельсовых цепях кодовой автоблокировки 25 Гц при электрической тяге на переменном токе и изготовляются по черт. 21220 00.00. Номинальное сопротивление резистора ограничивающего типа 21220 составляет 200 Ом±5%, номинальная мощность 150 Вт.
Резистор ограничивающий типа 21220 состоит из двух последовательно соединенных эмалированных резисторов типа ПЭВ-75 сопротивлением 100 Ом±5% и мощностью 75 Вт каждый.
Взамен его с 1995 года выпускается резистор ограничивающий 14676.

|
|
Сопротивление изоляции электрической цепи относительно корпуса при температуре окружающего воздуха от 15 до 25°С и относительной влажности воздуха до 75% должно быть не менее 25 МОм.
Габаритные размеры 228x45x174 мм; масса 0,78 кг.
8. Резисторы проволочные на клемме типов ПЭ-15 и ПЭ-50
Назначение. Резисторы на клемме ПЭ-15 (черт. 621.00.00) и ПЭ-50 (черт. 624.00.00) применяются в электрических цепях постоянного и переменного тока частотой 50 Гц устройств железнодорожной автоматики и телемеханики.
Взамен их с 1995 года выпускаются резисторы на клемме 14677.
Некоторые конструктивные особенности. Резистор на клемме, изготовляемый по черт. 621.00.00, состоит из постоянного проволочного эмалированного трубчатого резистора типа ПЭ-15 с номинальной мощностью 15 Вт и клеммной колодки (рис. 310). Резистор на клемме, изготовляемый по черт. 624.00.00, состоит из постоянного проволочного эмалированного трубчатого резистора типа ПЭ-50 с номинальной мощностью 50 Вт и клеммной колодки (рис. 311).
Значения сопротивлений и токов, на которые выпускают резисторы на клемме по черт. 621.00.00, приведены в табл. 258.
Значения сопротивлений и токов, на которые выпускают резисторы на клемме по черт. 624.00.00, приведены в табл. 259.
Отклонение сопротивлений от номинального значения допускается + 10%.
|
|
Таблица 258
Значения сопротивлений и токов резисторов ПЭ-15 по черт. 621.00.00
|
Сопротивление, Ом |
Ток, мА |
Сопротивление, Ом |
Ток, мА |
Сопротивление, Ом |
Ток, мА |
Сопротивление, Ом |
Ток, мА |
|
3,0 |
2200 |
47 |
620 |
270 |
240 |
1500 |
100 |
|
4,7 |
1700 |
56 |
550 |
330 |
220 |
2200 |
85 |
|
10 |
1200 |
68 |
450 |
390 |
210 |
2700 |
75 |
|
15 |
1000 |
100 |
385 |
470 |
190 |
3300 |
70 |
|
22 |
860 |
120 |
350 |
560 |
170 |
3900 |
65 |
|
27 |
780 |
150 |
310 |
680 |
160 |
4700 |
58 |
|
33 |
700 |
180 |
290 |
820 |
135 |
5100 |
55 |
|
39 |
650 |
220 |
270 |
1000 |
120 |
|
|
При заказе необходимо указать наименование изделия, тип, сопротивление резистора и количество, например: резистор проволочный на клемме, тип ПЭ-15, 22 Ом — 3 шт.
Сопротивление изоляции электрической цепи относительно корпуса при температуре окружающего воздуха от 15 до 25°С и относительной влажности окружающего воздуха до 75% должно быть не менее 25 МОм.
Условия эксплуатации. Резисторы проволочные на клемме предназначены для работы при температуре окружающего воздуха от —60 до +70°С и относительной влажности воздуха не более 80%.
Таблица 259
Значения сопротивлений и токов резисторов ПЭ-50 по черт. 624.00.00
|
Сопротивление, Ом |
Ток, мА |
Сопротивление, Ом |
Ток, мА |
Сопротивление, Ом |
Ток, мА |
|
1 |
7100 |
150 |
580 |
1500 |
180 |
|
2,7 |
4500 |
180 |
530 |
1800 |
170 |
|
4,7 |
3200 |
220 |
500 |
2200 |
155 |
|
6,8 |
2700 |
270 |
450 |
2700 |
140 |
|
10 |
2250 |
330 |
410 |
3300 |
130 |
|
15 |
1800 |
390 |
375 |
3900 |
120 |
|
22 |
1600 |
470 |
350 |
4700 |
110 |
|
27 |
1400 |
560 |
320 |
5600 |
100 |
|
33 |
1300 |
680 |
290 |
10000 |
70 |
|
47 |
1050 |
820 |
250 |
12000 |
65 |
|
82 |
820 |
1000 |
225 |
15000 |
57 |
|
100 |
710 |
1200 |
200 |
16000 |
56 |
|
120 |
630 |
|
|||
Габаритные размеры, мм:
ПЭ-15, черт. 621.00.00 100x22x48
ПЭ-50, черт. 624.00.00 100x42,5x50
Масса, кг:
ПЭ-15 0,125
ПЭ-50 0,165
9. Резисторы типов 7156 и 7157
Назначение. Резисторы типов 7156 и 7157 применяются в электрических цепях устройств автоматики и телемеханики на железнодорожном транспорте.
Некоторые конструктивные особенности. Резисторы типа 7156 (рис. 312) изготовляют по черт. 7156.00.00 только регулируемые. Резисторы типа 7157 (рис. 313) изготовляют по черт. 7157.00.00 в двух модификациях: регулируемые и нерегулируемые.
Резисторы обоих типов 7156 и 7157 являются проволочными безындукционными.
Резисторы наматывают из оксидированной константановой про волоки на два фарфоровых изолятора (тип 7156) или на фарфоровое основание (тип 7157).
Регулируемые резисторы имеют движок с контактной пружиной, с помощью которой обеспечивается избирательность вводимого сопротивления при передвижении движка по направляющей планке.
С 1997 года вместо резисторов 7157 выпускаются резисторы PP.
|
|
Разновидности и электрические характеристики резисторов типов 7156 и7157, измеренные при температуре 20°С, приведены в табл. 260.
Таблица 260
Разновидность и электрические характеристики резисторов 7156 и 7157
|
Разновидность резистора |
Сопротивление обмотки, Ом |
Номинальный ток, А |
Диаметр константановой проволоки, мм |
Длина проволоки, мм |
Положение скользящего движка при замере сопротивления |
|
Регулируемый типа 7156 |
2,2 |
10 |
2,25 |
— |
Прижат в крайнем положении |
|
Регулируемый типа 7157 |
6 |
3,3 |
1,25 |
— |
Прижат в крайнем положении |
|
0,6 |
5 |
1,6 |
3,9 |
Прижат в крайнем положении |
|
|
1,2 |
3 |
0,9* |
7 |
Поднят |
|
|
14 |
1 |
0,6 |
12 |
Прижат в крайнем положении |
|
|
40 |
0,5 |
0,45 |
15 |
Прижат в крайнем положении |
|
|
100 |
0,3 |
0,33 |
20,5 |
Прижат в крайнем положении |
|
|
400 |
0,2 |
0,2 |
28 |
Поднят |
|
|
Нерегулируемый типа 7157 |
13±0,1 |
1 |
0,6 |
— |
— |
|
19,5±0,15 |
1 |
0,55 |
— |
— |
|
|
200±4 |
0,25 |
0,25 |
— |
— |
* Наматывают в две нитки.
Отклонение сопротивлений обмоток от номинальных значений попускается от +20 до —10% (для регулируемых резисторов 7156 и 7157).
Следует
отметить, что резистор сопротивлением 14 Ом имеет ограничитель, обеспечивающий
невыводимое сопротивление 2 Ом с допуском от +20 до —10%.
При
снятом ограничителе значение невыводимого сопротивления не более 0,5 Ом. На
остальных регулируемых резисторах устанавливают минимальные ограничители
только для предотвращения короткого замыкания движка с клеммными болтами.
При
длительном прохождении номинального тока 10 А по регулируемому резистору
сопротивлением 2,2 Ом установившаяся температура проволоки резистора не должна
превышать температуру окружающей среды более чем на160°С; для всех остальных
регулируемых и нерегулируемых резисторов — более чем на 120°С.
Превышение
температуры обмотки резисторов над температурой окружающей среды определяется
термометром. Шарик термометра обертывают станиолем и плотно прижимают к обмотке
из константановой проволоки. Остальная часть термометра должна быть обложена
асбестом.
Испытание
резисторов производят при температуре окружающей среды, не превышающей +35°С.
Электрическая
прочность и сопротивление изоляции. Изоляция всех токоведущих
частей относительно корпуса должна выдерживать без повреждения в течение 1 мин
испытательное напряжение 1500 В переменного тока частотой 50 Гц.
Сопротивление
изоляции электрической цепи относительно корпуса при температуре окружающего
воздуха от 15 до 25°С и относительной влажности 75% должно быть не менее 25
МОм, измеренное мегомметром на 500 В.
Габаритные
размеры резисторов, мм:
типа
7156
232x45x212
типа
7157 130x85x25
Масса
резисторов, кг:
регулируемых
7156 сопротивлением 2,2 Ом 1,8
регулируемых
7156 сопротивлением 6,0 Ом 1,4
регулируемых
7157
0,4
нерегулируемых
7157 0,33
10. Дроссель защитный типа ДД
Назначение.
Дроссель защитный типа ДД изготовляется по черт. 22191.00.00,
предназначен для защиты от срабатывания повторителя путевого реле в случае
попадания в обмотку импульсного реле переменного тока и применяется в схеме
конденсаторного дешифратора импульсной рельсовой цепи постоянного тока.
Выводы
обмотки дросселя выполняются проводом ПМВГ сечением 0,75 мм2.
Электрические
характеристики
Сопротивление
обмотки постоянному току, Ом 25 + 10%
Полное
сопротивление дросселя переменному току 50 Гц
при
напряжении 10 В не менее, Ом 4000
Марка
провода ПЭВ-2
Диаметр
провода, мм 0,41
Число
витков
1300
Электрическая
прочность и сопротивление изоляции. Изоляция токоведущих частей
относительно корпуса должна выдерживать в течение 1 мин 1500 В переменного
тока частотой 50 Гц при мощности испытательной установки не менее 0,5 кВ А.
Сопротивление
изоляции токоведущих частей относительно корпуса при температуре (20±5)°С и
относительной влажности до 80% должно быть не менее 50 МОм.
Условия
эксплуатации. Дроссели предназначены для работы при температуре от —40 до +60°С
и относительной влажности до 80%.
Габаритные
размеры 61x80x90 мм; масса 1,1 кг.
11. Дроссель № 644.10.55
Назначение.
Дроссель № 644.10.55 предназначен для разделения телефонных цепей
и цепей полуавтоматической блокировки.
Некоторые
конструктивные особенности. Дроссель имеет две обмотки
по 1150 витков каждая. Выводы дросселя выведены на лепестки под пайку.
Характеристики
дросселя
Индуктивность
обеих обмоток дросселя при последовательном их соединении (перемычка между
выводами 2-3) при частоте переменного тока 1000 Гц, Гн
3,2-4,3
Марка
провода
ПЭЛ
Диаметр
провода обеих обмоток, мм 0,41
Число
витков:
выводы
1-2
1150
выводы
3-4
1150
Сопротивление
обмотки постоянному току, Ом:
выводы
1-2
25 ±
2
выводы 3-4 25 + 2
Электрическая прочность и сопротивление изоляции. Изоляция между обмотками и корпусом дросселя должна выдерживать 1000 В переменного тока 50 Гц в течение 1 мин при мощности источника питания не менее 0,5 кВА.
Сопротивление изоляции между обмотками и корпусом дросселя должно быть не менее 100 МОм при относительной влажности до 70 % и не менее 50 МОм при относительной влажности 98% и температуре +25°С.
Габаритные размеры 82x84x72 мм; масса 1,63 кг.
12. Реакторы типов РОБС-1А, РОБС-ЗА и РОБС-4А
Назначение. Реакторы РОБС (рис. 314) предназначены для работы в двухниточных рельсовых цепях переменного тока в качестве ограничивающих сопротивлений и служат для ограничения тока при шунтированной рельсовой цепи.
Расшифровка обозначения реакторов типа РОБС: Р — реактор; О — однофазный; Б — броневой; С — сухой; 1 — порядковый номер типа; А — модификация реактора.
|
|
|
|
Реакторы РОБС-1 А, РОБС-ЗА и РОБС-4А выпускаются вместо реакторов РОБС-1, РОБС-3 и РОБС-4. Схемы обмоток реакторов РОБС-1А, РОБС-ЗА и РОБС-4А приведены на рис. 315.
Электрические характеристики реакторов РОБС-1 А, РОБС-ЗА и РОБС-4А приведены в табл. 261.
Таблица 261 Электрические характеристики
|
Тип реактора |
Сопротивление реактора, Ом, при частоте, Гц |
Напряжение, В |
Допускаемый ток, А |
|
|
50 |
25 |
|||
|
РОБС-1 А |
0,74 |
— |
10 |
13,5 |
|
РОБС-ЗА |
45 |
— |
135 |
3,0 |
|
РОБС-4А |
2 |
1 |
6 |
3,0 |
Изменение
сопротивлений реакторов допускается ±5%. Габаритные размеры 94x81x135 мм; масса 3 кг.
13. Реакторы типов
РОБС-1, РОБС-3 и РОБС-4
Схемы обмоток реакторов РОБС-1, РОБС-3 и РОБС-4 приведены на рис. 316.
Электрические характеристики реакторов типов РОБС-1, РОБС-3 и РОБС-4 приведены в табл. 262.
Габаритные размеры 160x120x90 мм; масса 4 кг.
В
настоящее время вместо реакторов РОБС-1, РОБС-3 и РОБС-4 выпускают РОБС-1А, РОБС-ЗА и РОБС-4А
|
|
Таблица 262
Электрические характеристики
|
Тип реактора |
Сопротивление реактора, Ом, при частоте, Гц |
Допускаемый ток, А |
||
|
25 |
50 |
75 |
||
|
РОБС-1 |
— |
0,74 |
— |
13,5 |
|
РОБС-3 |
22,5 |
45 |
67,5 |
3,0 |
|
РОБС-4 |
1,0 |
2,0 |
— |
10,0 |
14. Дроссели Д
Дроссели типов Д-150, Д-300 и Д-20 предназначены для установки на участках железных дорог, оборудованных автоблокировкой с частотой сигнального тока в рельсовых цепях 25 и 75 Гц и электротягой на переменном токе с частотой 50 Гц и при тональных рельсовых цепях.
Внешний вид дросселей Д-150 и Д-300 приведен на рис. 317, дросселя Д-20 — на рис. 318.
Электрическая схема дросселей приведена на рис. 319.
Дроссели рассчитаны на пропускание номинального значения переменного тока силой 150 А для дросселя Д-150 и силой 300 А для дросселя Д-300 в электротяге через каждую секцию обмотки. Дроссель Д-20 предназначен для уравнивания тягового тока в бесстыковых цельносварных рельсовых плетях в тональных рельсовых цепях и для подключения заземления электрооборудования к среднему выводу дросселя.
|
|
Средний вывод рассчитан на ток силой 300 А для дросселя Д-150, силой 600 А для дросселя Д-300 и силой 40 А для дросселя Д-20.
Сопротивление обмотки постоянному току между выводами 1-4 должно быть не более 3,1 МОм для дросселя Д-150 и не более 1,2 МОм для дросселя Д-300 при температуре плюс 20°С.
Полное сопротивление дросселя переменному току частоты 75 Гц при напряжении на обмотке 0,5 В при отсутствии подмагничивания не должно быть менее 1,5 Ом.
Полное сопротивление дросселя переменному току частоты 25 Гц при напряжении на обмотке 0,3 В и при отсутствии подмагничивания не должно быть менее 0,5 Ом.
Полное сопротивление дросселя переменному току частоты 50 Гц при напряжении на обмотке 0,5 В и при отсутствии подмагничивания не должно быть менее 1 Ом.
Полное сопротивление дросселя переменному току частоты 75 Гц при напряжении на обмотке 10 В и наличии подмагничивания должно быть менее 2 Ом.
|
|
Полное сопротивление дросселя переменному току частоты 25 Гц при напряжении на обмотке 4 В и наличии подмагничивания переменным током частоты 50 Гц силой тока 4 А (по всей обмотке) не должно быть менее 0,7 Ом.
При протекании переменного тока частоты 50 Гц силой 150 А для дросселя Д-150, силой 300 А для дросселя Д-300 и силой 20 А для дросселя Д-20 в течение двух часов через каждую секцию основной обмотки с выходом суммарного тока силой 300 А для дросселя Д-150, силой тока 600 А для дросселя Д-300 и силой тока 40 А для дросселя Д-20 через средний вывод температура обмотки не должна превышать температуру окружающей среды плюс (25±10)°С более чем на 75°С для дросселя Д-20, не более чем на 115°С для дросселей Д-150 и Д-300.
Электрическая изоляция обмотки относительно корпуса должна выдерживать без пробоя и явлений разрядного характера в течение 1 мин испытательное напряжение 2500 В от источника переменного тока частотой 50 Гц мощностью не менее 1 кВ А.
Сопротивление изоляции электрических цепей дросселя:
—при нормальных климатических
условиях должно быть не менее 20 МОм
между обмоткой и корпусом для дросселей Д-150, Д-300; 100 МОм — между обмоткой и корпусом для дросселя Д-20;
—в условиях воздействия верхнего
значения относительной влажности (95±3)% и температуры плюс (25±5)°С должно быть не менее 1 МОм между обмоткой и корпусом для дросселей
Д-150, Д-300; 5 МОм — между обмоткой и
корпусом для дросселя Д-20.
Условия эксплуатации дросселей — при температуре окружающего воздуха от минус 50°С до плюс 45°С.
Масса дросселей, кг:
Д-150 37
Д-300 40
Д-20 8
15. Дроссели ДП
Дроссели ДП предназначены для установки на участках железных дорог, оборудованных автоблокировкой с электротягой постоянного тока, рассчитаны на пропускание уравнивающего постоянного тягового тока силой до 150 А для дросселей ДП-150 и до 300 А для дросселей ДП-300 в бесстыковых цельносварных рельсовых плетях тональных рельсовых цепей и для подключения заземления электрооборудования к среднему выводу дросселя.
Внешний вид дросселя ДП приведен на рис. 320.
Электрическая схема дросселя ДП приведена на рис. 321.
Сопротивление обмоток дросселей постоянному току между выводами 1, 2 должно быть не более 5,7 МОм для ДП-150 и не более 3,0 МОм для ДП-300.
Полное сопротивление дросселей переменному току частоты 50 Гц при напряжении на обмотке 1,0 В при отсутствии подмагничивания должно быть (0,6—0,66) Ом.
Полное сопротивление дросселей переменному току частоты 50 Гц при напряжении на обмотке 1,0 В и наличии подмагничивания током силой 100 А постоянного тока должно быть не менее 0,54 Ом.
Электрическая изоляция обмотки относительно корпуса должна выдерживать без пробоя и явлений разрядного характера в течение 1 мин испытательное напряжение 2500 В от источника переменного тока частотой 50 Гц мощностью не менее 1 кВА.
Сопротивление изоляции между обмоткой и корпусом дросселя при нормальных климатических условиях должно быть не менее 20 МОм, в условиях воздействия верхнего значения относительной влажности (95±3)% и температуры плюс (25±5)°С — не менее
1 МОм.
Масса дросселей, кг:
ДП-150 183
ДП-300 188
