Экипажная часть
Рама тепловоза. Рама служит основанием для установки силовой группы, капотов, кабины и вспомогательного оборудования. Одновременно через раму передается тяговое усилие, и она воспринимает ударную нагрузку при толчках.
Главным несущим элементом рамы тепловоза ТУ6А служат две хребтовые балки из швеллера № 24, которые связаны между собой двумя шкворневыми балками и поперечными швеллерами. Для крепления сцепных устройств на концах рама имеет буфер-ьые балки. По боковому контуру рама окантовывается швеллером, образуя боковые площадки, закрытые рифленой сталью. В раме встроено восемь бункеров песочниц. Передняя часть рамы оборудована встроенными в виде углублений подножками, обеспечивающими удобство работы составителей. К шкворневым балкам снизу приварены пятники, являющиеся соединительным звеном рамы тепловоза с тележками.
Кабина машиниста, дизель, реверс-редуктор устанавливаются на специальных опорах, приваренных к хребтовым балкам. Снизу по бокам рамы имеются четыре опоры для подъема тепловоза.
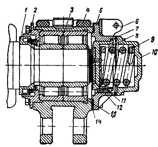
Рама тепловоза ТУ7 (рис. 101) имеет аналогичную конструкцию и отличается повышенной жесткостью вследствие применения хребтовых балок 8 коробчатого сечения из швеллера № 30. Кроме того, к хребтовым балкам приварено шесть специальных опор И для установки и крепления капота на резиновых амортизаторах. В отличие от рамы тепловоза ТУ6А рама тепловоза ТУ7


Рис. 101." Рама тепловоза ТУ7:
/ — опора тепловоза, 2 — поручни; 3 — сцепное устройство; 4 — щнт отбойный4: 5 — балка буферная: 6 — шкворень, 7 — балка шкворневая; 8 — балка хребтовая; 9 — аккумуляторный ящик. 10 — подножка, // — опора капота

Рис. 102. Опора рамы:
/ — чехол; 2 —резиновое кольцо; 3 — опора верхняя, 4 — опора нижняя; 5 — хомут, ь — винт; 7 — пластина
оборудована встроенными подножками 10 не только в передней части, но н в задней, у кабины. Во время эксплуатации при осмотре рамы необходимо обращать внимание на состояние сварных швов. Особое внимание требуется уделять состоянию и исправности ударно-тяговых устройств.
Рамы у обоих тепловозов опираются на две тележки через восемь (четыре на тележку) скользящих опор (рис. 102) с резиновыми амортизаторами. Такое рассредоточенное приложение вертикальной нагрузки в четырех точках на боковых балках каждой тележки улучшает вертикальную динамику тепловоза,чусловия работы как тележки, так и главной рамы. Скользящая опора передает на тележки только вертикаль- ■ ную нагрузку. Тяговое и тормозное усилия передаются центральными шкворневыми стаканами (пятниками), приваренными к раме тепловоза.
Для компенсации перекосов опора выполнена из двух частей--верхней опоры 3 и нижней опоры 4, соединенных подвижно сферической поверхностью. Нижняя опора 4 скользит по пластине 7, расположенной в масляной ванне. Пластина 7 одинаково обработана с двух сторон и при износе одной стороны переворачивается на другую. Детали опоры скреплены специальным винтом 6". Корпус опоры крепится к раме тепловоза болтами со стопорными шайбами. Для защиты от загрязнения между корпусом опоры и масляной ванной с помощью хомутов 5 крепится брезентовый чехол 1. При подъеме тепловоза необходимо отвернуть болты хомутов 5. При эксплуатации тепловоза нужно следить за наличием масла в масляной ванне.
Тележка. Камбарокий машиностроительный завод разработал и освоил с 1974 г. серийное производство унифицированных тележек для тепловозов ТУ6А и ТУ7 (рис. 103). Эти тележки могут применяться для ранее выпущенных тепловозов ТУ4, ТУ5 и ТУ5Э Завод значительную часть изготовленных тележек поставляет заказчикам как запасные части. Тележка тепловоза двухосная. Она состоит из рамы 10, колесных пар с взаимозаменяемыми осевыми редукторами в, карданного вала 5, соединяющего осевые редукторы, рессорного подвешивания 2, тормозной системы, букс 9 п четырех гасителей колебаний 1. Тележка оборудована предохранительными скобами от падения осевых редукторов и карданных валов.
При подкатке тележек под тепловозы разных марок необходимо убедиться, что пружины рессорного подвешивания соответ-

Рис. 103. Тележка:
/ — гаситель колебаний; 2 — рессорное подвешивание; 3— тормозная камера; 4— реактивная-тяга; 5 —карданный вал; 6 — осевой редуктор, 7 — шкворневая балка; 8 — заливная юрловина; 9 —букса; 10 — рама
ствуют данному типу тепловоза, а фрикционный гаситель колебаний отрегулирован на величину демпфирующей силы, соответствующей данному типу тепловоза.
При подкатке под тепловозы ТУ4, ТУ5 и ТУ7 карданный вал от гидропередачи подсоединяется к фланцу А, а при подкатке под тепловоз ТУ6А карданный вал от реверс-редуктора подсоединяется к фланцу Б.
Рама тележки имеет сварную конструкцию из двух продольных боковых балок (боковин), которые сварены из двух швеллеров, образуя коробчатое сечение. Торцы боковин заварены листами. Боковины соединены между собой в одну жесткую конструкцию шкворневой балкой и двумя концевыми балками. Шкворневая балка коробчатого сечения, в центре имеет подпятник, ко-
торый посредством шкворня соединен с рамой тепловоза, воспринимая тяговое и тормозное усилия. С обеих сторон шкворневой балки расположены специальные скобы-кронштейны, к которым крепятся реактивные тяги, удерживающие от вращения осевые редукторы. Снизу к боковинам рамы приварены челюсти, в направляющих которых установлены буксы, а сверху —- кронштейны для крепления фрикционных гасителей колебаний. Рама тележки имеет четыре равноразнесенные от центра шкворневой балки опоры (по две на каждой боковине), которые воспринимают вертикальную нагрузку от рамы тепловоза. Для предохранения карданных валов и опор рамы от поломок при сходе тепловоза с рельсов на концевых балках приварены упоры (по два на каждой), которые ограничивают поворот тележки относительно рамы тепловоза.
Колесная пара с осевым редуктором. Тепловозы ТУ6А и ТУ7 имеют четыре взаимозаменяемые колесные пары с унифицированными осевыми редукторами. Разработанный и внедренный в производство Камбарским машиностроительным заводом в 1974 г. новый унифицированный осевой редуктор (рис. 104) создан с учетом его применения на всех ранее выпущенных тепловозах типов ТУ4, ТУ5, ТУ5Э. С этой целью завод значительное количество осевых редукторов в сборе с колесной парой поставляет заказчикам как запасные части.
Колесная пара тепловоза состоит из оси 15, на которой тепловым способом сформированы два сборных или штампованных колеса диаметром по кругу катания 600 мм. Кроме того, при формировании колесных пар на ось насаживаются детали осевого редуктора — ведомое коническое колесо 30, два конических роликовых подшипника 17 № 7524, маслоотбойные кольца, втулки, детали для уплотнений и регулировки зазоров в подшипниках. Разница диаметров колес по кругу катания для каждой колесной пары тележки при выпуске с завода-изготовителя или заводского (капитального) ремонта не должна превышать 0,3 мм, а для всех колесных пар, установленных на тепловозе, — не более 1 мм; при выпуске тепловоза из подъемочного ремонта — соответственно 0„5 и I мм.
Колеса состоят из стального колесного центра и насаженного на него бандажа, изготовленного из специальной бандажной стали, имеющей хорошую сопротивляемость к истиранию.
Осевой редуктор монтируется на оси колесной пары на роликовых конических подшипниках 17. Плоскость разъема между крышкой 7 и картером 20 проходит по оси колесной пары. Картер соединен с крышкой болтами и фиксируется относительно нее установочными штифтами. На крышке редуктора приварен кронштейн крепления реактивной тяги 6. Верхний вал 8 установлен в корпусе редуктора на цилиндрических роликовых подшипниках 5 (№ 32615) и 10 (№ 32313). Шариковый подшипник 4 (№ 313) в корпус редуктора установлен с зазором и служит для восприятия осевых нагрузок, возникающих при передаче вращающего мо-

Рис. 104. Осевой редуктор:
1, 13 — фланцы; 2, 12 — сальники; 3, 11, 14, 24 — крышки подшипников; 4, 5, 10, 17, 19, 25, 26 — подшипники; 6 — кронштейн реактивной тягн; 7 — крышка редуктора; 8 — вал; 9 — шестерня; 15 — ось колесной пары; 16 — корпус сальника; 18 — замок; 20 — картер редуктора; 21 — спускная пробка; 22 — заливная горловина; 23 — стакаи; 27 — прокладка; 28 — колесо: 29 — ведущая коническая шестерня; 30 — ведомое коническое колесо
мента косозубой цилиндрической парой. Внутренние кольца подшипников закреплены между ступицами шестерни 9 и фланца 13 с одной стороны и между буртом вала и ступицей фланца 1 — с другой. Фланцы 1 и 13 соединены с валом тепловым методом. Крышки 3 и 11 одновременно служат для крепления наружных колец подшипников, которые с другой стороны удерживаются стопорными кольцами, вмонтированными в крышку корпуса редуктора.
Коническая ведущая вал-шестерня 29 совместно с насаженным зубчатым колесом 28 установлена в .корпусе редуктора на сферическом двухрядном роликоподшипнике 19 (№3618 или 3620) с одной стороны, а с другой стороны — на роликовом подшипнике 26 (№ 32218). Шариковый упорный подшипник 25 (№ П126218), установленный в стакане 23 с зазором, служит для восприятия только осевых нагрузок. Подшипники в сборе, а также их кольца насаживают на валы после нагрева в масляной ванне до 80—90°С. Подшипники 26 и 25 закреплены на валу шайбой и двумя болтами. Стакан 23 служит для регулировки" зацепления конической пары. Крышка 24 обеспечивает затяжку подшипников 26 и 25.
Зацепление конических шестерен регулируется прокладками 27 и ввинчиванием или вывинчиванием корпуса сальника 16, имеющего 16 пазов под стопорный замок 18. Боковой зазор в зацеплении должен быть 0,27—0,53 мм. В крышке редуктора имеется смотровое окно, через которое ведется контроль правильности зацепления конической пары. Пятно контакта в зацеплении, проверяемое по краске, должно быть не менее 60% по Длине и 60% по высоте рабочей части зуба. Зазор в конических подшипниках 17 колесной пары регулируется с учетом произведенной регулировки зацепления. Осевой зазор в подшипниках колесной пары должен быть в пределах 0,1—0,2 мм, что обеспечивается поворотом левого или правого корпуса 16 сальника против часовой стрелки на один зуб после полной затяжки и последующей конт-ровкой замком 18.
Смазка шестерен и подшипников осевого редуктора производится разбрызгиванием. Для удобства заправки редуктора маслом предусмотрен выведенный к боковине тележки дюритовый шланг, соединенный с заливной горловиной 22. Уровень масла контролируется маслоуказателем, установленным рядом с заливной горловиной. Сливается отработанное масло через спускную пробку 21.
Букса. Буксы предназначены для передачи веса тепловоза на оси колесных пар и восприятия от колесных пар и передачи на раму тяговых или тормозных усилий.
Букса тепловоза (рис. 105) вставлена в челюсть рамы тележки с суммарным зазором 1—2 мм, в результате чего обеспечивается подвижная связь рамы с колесной парей К корпусу буксы с боков приварены наличники, поверхность которых закалена для повышения износоустойчивости. С внутренней стороны
корпус буксы имеет боковые упоры, ограничивающие ее осевые перемещения. К боковым упорам также приварены наличники. С концов они .скошены, что позволяет буксе ©месте с осью наклоняться к вертикальной плоскости.
Упругий осевой упор исключает передачу жестких ударов на экипаж, обеспечивает плавность хода тепловоза и уменьшает боковое воздействие тепловоза на путь. Упругий разбег колесной' пары при упругих осевых упорах должен быть 10 мм. Осевой упор встроен в крышку буксы 5 и состоит из стакана //, цилиндрической пружины 9 и крышки 10. Для уменьшения трения между торцом оси и стаканом к нему приклепан бронзовый платик 12. Зазор между ними должен быть В свободном состоянии в пределах 1—3 мм на сторону. Для удержания стакана от вращения между крышкой буксы и стаканом в нем установлена шпонка, скользящая в пазу крышки. Под действием оси стакан // перемещается, сжимая пружину 9 до упора в крышку 10. Эта величина перемещения называется упругим поперечным разбегом колесной пары и должна составлять 10 мм. Пружина осевого упора имеет предварительный натяг (сжатие) до 500 кгс, что достигается подбором толщины регулировочных прокладок 7.
В условиях эксплуатации необходимо периодически проверять величину свободных разбегов колесных пар и их симметричность. Величину свободного поперечного осевого разбега колесной пары (1—3 мм) регулируют прокладками осевого упора 14, а продольные разбеги в челюстях (1—2 мм) — установкой прокладок между челюстью и наличниками.
Снизу на корпусе буксы в виде приливов выполнены две проушины для соединения ее с балансиром рессорного подвешивания. Сверху корпус имеет два ушка для соединения буксы с фрикционным гасителем колебаний тележки. Резиновое кольцо 5, надетое на буксу, предусмотрено для смягчения ударов, возникающих при поломках пружин рессорного подвешивания.
Роликовые буксы работают надежно на протяжении длительного времени при соблюдении установленных требований при

Рис. 105. Букса:
/ — уплотнитель, 2 — крышки, 3 — корпус, 4 — резиновое кольцо, 5 — крышка буксы, 6 — ушко, 7, 14 — прокладкн, 8 — шайба регулировочная, 9 — пружина; 10— крышка осевого упора; // — стакан осевого упора, 12 — платнк; 13 — подшипнш
сборке их и эксплуатации. Для предупреждения выхода из строя рекомендуется осматривать буксы снаружи во время приема-сдачи тепловоза и во время технических осмотров. При этом необходимо обратить внимание на отсутствие пропуска смазки, надежность крепления болтовых соединений. Особое внимание обращается на температуру нагрева букс. При нормальной работе буксы температура ее наружных поверхностей не должна превышать температуру окружающего воздуха более чем на 20—30°С. Максимальная температура наружных частей должна быть не более 70°С. Основными причинами повышенного нагрева буксового узла могут быть недостаточность и недоброкачественность смазки, плохое поступление смазки к трущимся поверхностям, разрушение подшипников, неправильная сборка, задиры на поверхности оси или осевого упора из-за неправильной регулировки свободного поперечного разбега. Пространство между подшипниками, лабиринтными уплотнениями заполняется консистентной смазкой через масленку. При нормальной эксплуатации смазка в буксы добавляется в летнее время через каждые 15—25 дней, в зимнее время — через каждые 30—50 дней. Ориентировочно полная замена смазки букс для тепловоза ТУ7 производится через 35 000— 40 000 км пробега и при подъемочном ремонте тепловоза.
При всех вскрытиях букс необходимо строго следить за тем, чтобы -в них не были занесены грязь, песок, влага и т. д. При замене подшипников букс необходимо помнить, что в одну буксу устанавливают два подшипника одной селективной сборки.
Во" время длительных стоянок тепловоз каждые 10—15 дней необходимо перекатывать по железнодорожным путям для смеиы точек контакта роликов и беговых дорожек подшипников.
Карданные валы. Вращающий момент от выходного вала гидропередачи или реверс-редуктора к проходному валу осевого редуктора и С между редукторами передается карданными валами. Шлицевые и шарнирные соединения карданных валов обеспечивают свободные осевые и угловые относительные перемещения осевых редукторов при вписывании тепловоза в кривую и при колебании рессорного подвешивания.
Все карданные валы тепловозов одинаковы по конструкции. Они унифицированы с карданными валами БелАЗ-540 и ЯАЗ-210. Передний конец карданного вала (рис. 106) при помощи фланца-вилки 3 карданного шарнира болтами 2 соединен с фланцем выходного вала гидропередачи или реверс-редуктора, задний конец карданного вала соединен с фланцем проходного вала осевого редуктора. Для предохранения шлицевого соединения от попадания пыли, а также для удержания смазки на шлицах установлен войлочный сальник 7, поджимаемый гайкой 8. Смазка к игольчатым подшипникам 5 подводится по отверстиям в шипах крестовины через масленку 6. В этих отверстиях удерживается достаточное количество смазки для нормальной работы игольчатых подшипников при периодической их смазке. В центре крестовины установлен предохранительный клапан, который ввернут в отверстие

Рис. 106 Карданный вал:
/, 9 — вилки, 2 — болт; 3 — фланец-вилка, 4 — крестовина, 5 —подшипник игольчатый, 6 — масленка, 7 — сальник, 8 — гайка сальника
с резьбой, соединенное с отверстиями крестовины, подводящими смазку. При заполнении кардана лишней смазкой и повышении давления внутри него при нагревании во время работы лишняя смазка вытекает наружу через предохранительный клапан, предохраняя от разрушения сальники подшипника.
Карданные валы на заводе проходят динамическую балансировку, поэтому при разборке карданного вала необходимо запомнить (по стрелкам или меткам) места установки деталей так, чтобы при сборке установить их на те же места. Неправильная сборка вала приведет к повышенным вибрациям. Особое внимание необходимо уделять положению скользящего шлицевого соединения. Скользящая вгулка должна быть надета на вал так,

чтобы стрелки на втулке и шлицевом валу находились одна против другой.
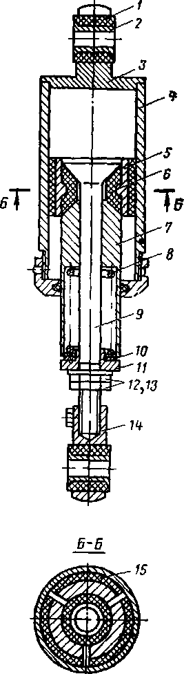
Реактивная тяга. На тележке установлены две реактивные тяги (рис. 107), каждая из которых удерживает осевой редуктор от вращения при передаче вращающего момента. Одним концом реактивная тяга через шаровой 'подшипник 14, установленный в ее серьге, крепится к раме тележки; другой ее конец через амортизационные кольца 4 соединен с кронштейном 5 осевого редуктора. Регулировка производится гайкой 7, а стопорится контргайкой 9 и шайбой 8.
Редуктор под тепловозом должен стоять так, чтобы плоскость разъема редуктора находилась в горизонтальной плоскости. Правильная установка реактивных тяг улучшает работу карданных валов. Резиновые амортизационные кольца должны быть сжаты на 3,5—4 мм с усилием 600—800 кгс, что соответствует затяжке гаек (левой и правой) на 2,5— 3,5 оборота. Шаровой подшипник 14 (ШС-40) смазывается через масленку / и канал в валике 16. Для удержания смазки в подшипнике и предохранения ее от пыли и влаги по бокам подшипника установлены два уплотнительных резиновых кольца 15, которые плотно прижимаются к реактивной тяге крышкой 13 при помощи болтов. Во время эксплуатации необходимо следить за смазкой шарового подшипника и надежностью стопо-рения гаек 7 и Р.
Фрикционный гаситель колебаний. Для уменьшения вертикальных колебаний при движении и обеспечения хороших динамических качеств в рессорное подвешивание тепловозов ТУ6А и ТУ7 установлены фрикционные гасители колебаний. Принцип действия их основан на использовании силы трения, возникающей при движении колодок из фрикционного материала по стальному цилиндру.
Гаситель колебаний (рис. 108) состоит из цилиндра 4 с верхней крышкой 3, в отверстии которой запрессовано резиновое кольцо / со стальной втулкой 2. Внутри цилиндра установлены колодка 5 с фрикционными накладками 15, резиновый элемент 6, шток 9 и клин 7. В полости клина установлена пружина 8, которая

Рис. 108. Фрикционный гаситель колебаний:
/— кольцо резиновое: г — втулка; 3 — крышка цилиндра; 4 — цилиндр; 5 — колодка; € — резиновый элемент; 7 — клин; 8 — пружина, 9 — шток; 10 — регулировочная шайба: // — упор, 12, 13 — гайки; 14 — головка штока; 15 — фрикционная иакладка
закреплена на штоке гайками 12 и 13. На резьбовом конце штока навернута головка 14, в отверстии которой запрессовано кольцо со стальной втулкой. Верхняя часть гасителя колебаний специальным пальцем прикреплена к кронштейну рамы тележки, нижняя — к ушкам буксы. Правильно отрегулированный гаситель колебаний должен иметь зазор между торцом 7 и упором 11 на штоке, равный 0,5—1 мм. Износ фрикционных накладок вызывает увеличение зазора между торцом клина и упора, который необходимо уменьшить до 0,5—1 мм путем вращения гаек на штоке.
Величина силы трения между фрикционной накладкой 15 и цилиндром 4 гасителя (демпфирующая сила) должна устанавливаться пропорционально обрессореиному весу локомотива. Это достигается установкой регулировочных шайб 10. Для тепловозов ТУ7 и ТУ5 демпфирующая сила гасителя устанавливается равной 220 кгс, для ТУ4 — 155 и для ТУ6А — 90 кгс.
Рессорное подвешивание. Рессорное подвешивание (рис. 109) предназначено для передачи нагрузки от обрессоренной части веса тепловоза на буксы колесных пар и представляет собой упругую систему, смягчающую толчки и удары, возникающие при движении по неровностям пути, стыкам рельсов, стрелкам, крестовинам.
Рессорное подвешивание тепловозов ТУ6А и ТУ7 индивидуальное (на каждое колесо) и состоит из двух спиральных пружин /. Для более равномерного распределения нагрузки между пружинами они соединены снизу балансиром 4, который через ось 5 передает нагрузку от обрессоренных частей тепловоза буксе. В отверстие балансира под ось запрессована закаленная стальная втулка. Между опорой балансира и нижней опорой 2 пружины установлено резиновое кольцо 3, гасящее высокочастотные колебания, передаваемые от необрессоренных частей тепловоза.
Рычажная передача тормоза. Рычажная передача передает усилие человека (при ручном торможении) или усилие, развивав

Рис. 109. Рессорное подвешивание.
/—пружина, 2 — опора 3 — резиновое кольцо, 4 — балансир, 5 — ось
мое сжатым воздухом по штоку тормозной камеры и тормозного дилиндра (при пневматическом торможении), на тормозные колодки, которые прижимаются к колесам.
Тепловозы ТУ6А и ТУ7 оборудуют в основном рычажными передачами с двусторонним нажатием тормозных колодок. На части тепловозов ТУ6А и ТУ7, а также на тепловозах ТУ7, поставляемых на экспорт, устанавливается рычажная передача с односторонним нажатием (торможением).

Рис. 110. Рычажная передача тормоза с двусторонним торможением:
1 — тормозная колодка, 2 — подвеска, 3 —тормозная камера; 4 — пружина; 5 —планка; 6 — гайка регулировочного болта; 7,9 — рычаги, 8 — регулировочный винт; 10, 11, 13 — предохранительные скобы, 12 — ось соединительная
Тормозная система каждого колеса (рис. 110) состоит из тормозной автомобильной камеры 3, двух тормозных колодок Л рычагов 7 и 9, подвески 2, двух планок 5 с регулировочным винтом 8, а также валиков и осей, соединяющих систему в единое целое. Две планки 5 установлены с каждой стороны колеса и соединяют при помощи валиков и регулировочного винта 8 рцчаги 7 и 9 тормозной передачи.
На концах планки имеют по три отверстия, с помощью которых выполняется грубая настройка зазора между колодками и колесом. Окончательный зазор устанавливается гайкой 6 регулировочного винта 8. Чтобы не возник разворот и сползание колодок с бандажей, рычажные передачи колес каждой колесной пары попарно связаны соединительными осями 12.
При отрегулированной рычажной передаче с двусторонним нажатием полное торможение тепловоза должно произойти при выходе штока тормозной камеры не более 30 мм.
ЭКСПЛУАТАЦИЯ ТЕПЛОВОЗОВ










