Аккумуляторные батареи, электрические машины и аппараты
Аккумуляторные батареи. На тепловозе ТУ6А установлены две, а на тепловозе ТУ7 шесть аккумуляторных батарей типа 6ТСТ-120ЭМС. На обоих локомотивах применяется напряжение 24В; на ТУ6А два аккумулятора соединены последовательно, на 1У7 — последовательно-параллельно по три аккумулятора в-группе.
Сухозаряженные батареи от обычных, выпускаемых заводом в незаряженном исполнении, отличаются более быстрым вводом в
Технические данные аккумуляторной батареи 6ТСТ-120ЭМС
Номинальное напряжение, В......• . . •........... 12
Разрядный ток при 10-часовом разряде, А............... 11,0
Емкость при 10-часовом режиме разряда и средней температуре электролита 30°С, А-ч......................... НО
Допустимое конечное напряжение на элемент при разряде током 10-часового разряда, В . . •....................... 1,7
Разрядный ток при 5-минутном стартерном режиме разряда, А..... 360
Емкость при 5-минутном стартерном режиме разряда и начальной температуре электролита 30°С, А-ч................... 30
Допустимое конечное напряжение на элемент прн разряде током 5-минутного стартерного режима разряда, В............... 1,5
Ток нормального заряда, А...................... 10
Количество электролита на батарею, л................. 7,2
Масса аккумуляторной батареи с электролитом (одного ящика), кг . . . 5&
действие (после заливки и пропитки электролитом в течение 3 ч такую батарею достаточно зарядить в течение 5—8 ч током 10 А или даже можно сразу после пропитки электролитом ставить на тепловоз без (предварительного заряда). На тепловозы, выпускаемые с завода, аккумуляторные батареи ставятся без электролита. Заливка электролита и приведение аккумуляторных батарей в действие должны производиться на месте их эксплуатации. Гарантийный срок службы аккумуляторной батареи в зависимосга от материала сепараторов 12—18 месяцев. При правильном обслуживании аккумуляторные батареи служат 2—3 года.
Наилучший способ эксплуатации аккумуляторных батарей — аержать их всегда полностью заряженными. Разряженные или неполностью заряженные аккумуляторные батареи быстро сульфа-тируются и теряют емкость. Температура электролита имеет большое значение для работы батареи^ Необходимо следить за тем,, чтобы она не падала ниже —20°С, т. е. принимать меры к обогреву батарей, начиная с температуры + 5°С и ниже. Нельзя допускать увеличение температуры электролита выше +45°С (при исправных батареях это достигается путем временного отключения батарей от зарядного устройства), так как при температуре электролита выше +45°С аккумуляторная батарея выходит из-строя.
Заливка электролита в батареи и приведение их в рабочее состояние должны производиться на месте эксплуатации тепловоза на зарядной станции квалифицированными специалистами в соответствии с Едиными правилами ухода и эксплуатации автомобильных аккумуляторных батарей. Качество приведения аккумуляторных батарей в рабочее состояние оказывает решающее влияние на срок их службы. На тепловозе батареи обслуживает локомотивная бригада.
В зависимости от климатического района, в котором работают аккумуляторные батареи, их заливают различными по плотности растворами серной кислоты (табл. 7).

Таблица 8

При замере плотности электролита ареометром к показанию последнего необходимо прибавить температурную поправку в соответствии с табл. 8. При эксплуатации батарей необходимо не реже одного раза в две недели:
очищать батарею от пыли;
очищать выводы батареи и наконечники проводов от окислов;
протирать чистой ветошью поверхность батареи от пролитого яа нее электролита. Ветошь предварительно должна быть смочена в растворе нашатырного спирта или 10-процентном растворе соды;
проверять плотность креплений батареи в гнезде;
проверять крепление и плотность контакта наконечников проводов с выводами батареи. Для предупреждения порчи выводов батареи не допускать натяжения проводов;
проверять и при необходимости прочищать вентиляционные отверстия;
проверять во всех аккумуляторах батареи уровень электролита. Если уровень электролита окажется ниже нормм, то доливают дистиллированную воду до требуемого уровня.
В холодное время года во избежание замерзания воду следует добавлять непосредственно перед зарядом для быстрого перемешивания ее с электролитом.
Не реже одного раза в три месяца следить за полнотой заряда аккумуляторов по плотности электролита. При плотности электролита, соответствующей разряженности аккумуляторов более
чем на 25% зимой и более
Таблица 9

чем на 50% летом (табл. 9), батарею необходимо снять с эксплуатации и отправить на заряд.
Доливать электролит или кислоту в аккумулятор воспрещается, за исключением тех случаев, когда точно известно, что понижение уровня электролита произошло за счет его выплескивания. При этом плотность доливаемого
электролита должна быть такой же, какую имел электролит в аккумуляторе до выплескивания.
Хранить батареи с электролитом в случае длительного бездействия следует в прохладном помещении, по возможности при температуре не выше 0 и не ниже минус 30°С.
Генератор. Генераторы Г-732А (ТУ7) и Г-106 или Г-270А (ТУ6А) предназначены для заряда аккумуляторных батарей к питания управления и освещения.
Генераторы работают в комплекте с автоматически работающими реле-регуляторами, которые поддерживают напряжение в заданных пределах при различных режимах работы дизеля.
Основные данные генератора Г-732А
Номинальное напряжение, В...........•........ 28
Номинальная мощность, Вт.................... 1200
Номинальная частота вращения, об/мин.............. 2700
Масса генератора, кг ....................... 44
Генератор Г-732А (рис. 92) представляет собой четырехполюс-ную электрическую машину параллельного возбуждения закрытого исполнения с внешним обдувом собственным вентилятором.


Рис. 92: Электрический генератор Г-732А.
1 — вал якоря; 2 — гайка коелления вентилятора; 3. 10 — вентиляторы; 4, 8 — стягивающие болты; 5 — сухарь; 6 — траверса; 7 — защитная стальная леита; 9, 30 — кожуха вентилятора; 11, 29 — шариковые подшипники; 12 — сальник; 13, 14 — крышки сальника; 15 — изолирующая прокладка; 6, 31 — болты; 17, 28 — крышки; 18 — пластина коллектора; 19 — щетка; 20 — крышкз вывода; 21 — обмотка якоря; 22 — полюс с обмоткой возбуждения; 23 — катушка; 24 — винт; 25 — якорь; 26 — корпус; 27 — болт; 32 — стягивающий винт; + Я — положительный зажим; Ш — штепсельные разъемы обмотки возбуждения
Основные данные генераторов Г-106 и Г-270А
Генератор Генератор Г-106 Г-270А
Номинальное напряжение, В............. 24 24
Номинальный ток, А................ 16 20
•Частота вращения ротора при 20°С при напряжении 25В, об/мин без нагрузки.................. 1150 950
при нагрузке.................. 1750 1800
при токе при токе 10А 20А
Нажатие щеточных пружин, кгс......... 1,2—1,7 1,8—2,6
Генератор Г-106 — двухполюсный, постоянного тока, неэкра-"кированный, с параллельным возбуждением. Генератор Г-270А является синхронной электрической машиной переменного тока электромагнитного возбуждения со встроенным внутрь кремниевым выпрямительным блоком.
Реле-регулятор. Реле-регулятор служит для автоматического включения генератора в электрические цепи тепловоза, поддержания напряжения в заданных пределах и предохранения генератора от перегрузок.
Реле-регулятор РРТ-32 (рис. 93) представляет собой сочетание электромагнитных реле, обеспечивающих надежность параллельной работы аккумуляторной батареи и зарядного генератора лри различных режимах его работы.
Электрические данные реле-регулятора РРТ-32
Номинальное напряжение, В...........,........ 28
Напряжение включения реле, В.................. 25—27
Обратный ток включения реле, А................. 2—8
Напряжение, поддерживаемое регулятором при 1500 об/мин коленчатого вала и нагрузке
генератора 41—52 А, В...................... 27—29
Нагрузка генератора, ограничиваемая реле, А........... 45—53
Во время работы дизеля с малой частотой вращения коленчатого вала (ниже 700 об/мин) напряжение генератора не достигает 24 В и напряжение аккумуляторной батареи оказывается выше напряжения генератора. В этом случае ток из аккумуляторной батареи может пройти в генератор и батарея начнет разряжаться, причем величина разрядного тока из-за малого сопротивления обмотки якоря генератора может быть настолько большой, что обмотка может сгореть. Для автоматического отключения аккумуляторной батареи от генератора при понижении его напряжения до величины, меньшей величины напряжения батареи, в реле-регуляторе предусмотрено реле 1 обратного тока. Это же реле автоматически подключает генератор к батарее после того, как напряжение генератора становится выше напряжения батарей.

Рис. 93. Схема реле-регулятора РРТ-32.
/ —реле обратного тока, // — ограничитель тока, /// — регулятор напряжения, Ш — обмотка напряжения; С — токовая обмотка; У — ускоряющая обмотка, В — выравнивающие обмотки; К — компенсирующие обмотки, Дс, Вс, Ус—резисторы; Г — генератор Г-732А; IUI,— Я, — Я, Щ2—обозначение клемм на клеммной коробке генератора н реле регулятора; БА — аккумуляторная батарея
При изменении частоты вращения коленчатого вала дизеля от 700 до 1500 об/мин и выше напряжение .генератора может сильно повышаться и выводить из строя все включенные потребители. Для автоматического поддержания напряжения генератора в пределах 27—29 В в реле-регуляторе имеются два регулятора напряжения ///.
Оба регулятора /// действуют одновременно и включены каждый в одну из параллельных ветвей параллельной обмотки возбуждения генератора. Таким образом достигается уменьшение вдвое силы тока, проходящего через каждый из регуляторов, что увеличивает срок их службы.
Для защиты обмоток генератора от перегрузки в реле-регуляторе вмонтированы два ограничителя тока //. Включены они также по одному в каждую из параллельных ветвей обмотки возбуждения генератора. В реле обратного тока / имеется сердечник, обмотка напряжения Ш (см. рис. 93), токовая обмотка С, якори, контакты и пружины. Каждый из регуляторов напряжения имеет параллельную обмотку Ш и компенсирующую К.
Ограничители тока отличаются от регуляторов напряжения тем, что вместо обмотки напряжения они имеют токовую обмотку С1, а вместо компенсирующей — выравнивающую В1 и ускоряющую У1. Все пять реле, составляющие реле-регулятор РРТ-32, смонтированы на одной общей текстолитовой панели, размещенной в корпусе, закрытом крышкой. Внутри корпуса смонтированы необходимые для работы реле-регуляторов сопротивления.
Реле-регулятор РРТ-32 имеет пять внешних выводных зажимов, четыре из них +#, Ш1, Ш2, +Б размещены снизу корпуса, -а пятый М — справа от корпуса. С левой стороны корпуса выведен маховичок регулировочного реостата, служащий для подрегулирования величины сопротивления в цепи регуляторов напряжения.
Электрические данные реле-регулятора РР-106
Напряжение включения реле обратного тока при 20°С, В 24,4—27,0
Обратный ток выключения реле, А........... 0,5— 6,0
Напряжение, поддерживаемое регулятором напряжения 24,7—30,2 при 20°С и при частоте вращения якоря генератора при токе нагрузки
2500 об/мин, В.................... 5А
Максимальный ток нагрузки, допускаемый ограничителем
тока, А........................ 9—11
Зазоры, мм:
между контактами реле обратного тока, не менее . . 0,25
между якорем и сердечником реле обратного тока:
при разомкнутых контактах........... 0,60—0,80
при замкнутых контактах............. 0,25—0,45
при замкнутых контактах ограничителя тока и регулятора напряжения............. 1,35—1,55
Реле-регулятор РР-106 и РР-107 (рис. 94) состоит из трех электромагнитных приборов, смонтированных на общей панели и заключенных в общий кожух: реле обратного тока /, замыкающего и размыкающего цепь между генератором и аккумуляторными батареями в зависимости от частоты вращения вала генератора; ограничителя тока 3, предохраняющего генератор от перегрузки; регулятора напряжения 5, поддерживающего в определенных пределах напряжение генератора при измененной частоте вращения и нагрузки в условиях эксплуатации.
Для включения в электросхему реле-регулятор имеет зажимы Б, Ш и Я (у РР-106 неэкранировамные, у РР-107 экранированные штепсельного типа).
Провода, соединяющие зажимы Ш и Я реле-регулятора и генератора, должны быть надежно изолированы от корпуса двигателя. Токоведущие жилы проводов реле-регуляторов РР-107 и РР-8 при подключении их к экранированным зажимам не должны касаться корпуса накидной гайки и корпуса реле-регулятора. При невыполнении этих условий могут перегреться и сгореть обмотки реле-регулятора.
Стартер. Стартер предназначен для пуска дизеля и рассчитан па кратковременную работу (не более 5 с) от аккумуляторных

Рис. 94. Схема реле-регулятора РР-106 и РР-107:
/ — реле обратного тока; 2, 8 — последовательные обмоткн; 3 — ограндчитель тока; 4 — добавочный резистор; 5 — регулятор напряжения: 6, 9—параллельная обмотка; 7—генератора К — добавочный резистор 120 Ом для РР-106 и 80 Ом для РР-107
батарей. Стартер СТ-722 (рис. 95) представляет собой электродвигатель постоянного тока последовательного возбуждения с инерционным приводом. Исполнение стартера пылебрызгозащит-

Рис. 95. Стартер СТ-722:
/ — хвостовик с шестерней; 2 —пружина возвратная; 3 — крышка передняя; 4— фрикционная ууфта; 5 — плюсовая клемма; 6 — якорь; 7 —корпус; в —лента защитная; 9 — крышка задняя; 10 — минусовая клемма; // — щетка; 12 — катушка обмотки возбуждения
woe. Пуск стартера дистанционный при помощи включателя ВК-317 и контактора ТКХ601ДОД.
Основные технические данные стартера СТ-722
Максимальная мощность, л. с...........• . . . . 15
Частота вращения вала якоря, соответствующая максимальной мощности, об/мин.................. 1100
Номинальное напряжение, В................ 24
Вылет шестерни, мм.................... 24^1,5
.Масса, кг......................... 40
Выполнен по схеме.................... однопроводной
Стартер СТ-26 работает с реле включения РС-26 и представляет собой чет.ырехполюсный электродвигатель постоянного тока с последовательным возбуждением. Стартер СТ-26 работает в однопроводной системе, где обратным проводом является масса двигателя и тепловоза.
Техническая характеристика стартера СТ-26
Номинальное напряжение, В.....................24
Максимальная мощность, л. с.....................11
Емкость аккумуляторных батарей соответствующая максимальной мощности стартера, А-ч......................224
Ток холостого хода, А, не более............. 125
Частота вращения вала якоря в режиме холостого хода
в минуту при напряжении 24 В, об/мин, не менее .... 5000 Режим полного торможения при моменте, равном 6 кгс-м:
потребляемый ток, А, не более............ 900
напряжение на зажимах стартера, В, не более..... 6
Напряжение включения реле стартера, В, не более .... 18
Направление вращения (со стороны привода)....... правое
Электромагниты. На тепловозе установлены два электромагнита 1МБ и 2МБ для дистанционного управления приводом топливной рейки при пуске дизеля и его последующей работы на минимальной частоте вращения коленчатого вала независимо от наличия воздуха в воздушных резервуарах тепловоза. При включении обоих электромагнитов топливная рейка устанавливается в положение пусковой частоты. После пуска дизеля электромагнит 2МБ отключается, а 1МБ удерживает топливную рейку на минимальной частоте вращения коленчатого вала в режиме холостого хода. Для снижения степени нагрева катушки электромагнита 1МБ в его цепь автоматически вводится ограничивающее сопротивление, снижающее протекающий через катушку ток. Электромагниты изготовляются заводом по черт. ТГ23.70.10.450. Технические данные электромагнита
Ход якоря электромагнита, мм............ 8±1
Начальное тяговое усилие при номинальном напряжении 24 В, кгс . . ................. не менее 8
Номинальное напряжение постоянного тока, В . . . . 24
Режим работы кратковременный, с.......... не более 5
Длительный ток, А................. не более 1,5
Сопротивление катушки при гб^С, Ом........ 2,3+0,1
Количество витков катушки............. 640л-30
Провод...................... ПЭВ-1-0,86 мм
ГОСТ 7262—54
Сопротивление изоляции в холодном состоянии, МОм не менее 2
Исполнение..................... брызгозащищенное
двухпроводное
Масса, кг •..............т...... 1,9
Электропневматические вентили. На тепловозах ТУ6А и ТУ7 применяются электропневматические вентили включающего типа ВВ-32, имеющие кнопку ручного срабатывания.
Технические данные электропневматического вентиля ВВ-32
Номинальное давление воздуха, кгс/сма........ 5
Сечение впускного прохода, мм2............ 8
Сечение выпускного прохода, мм2........... до 14
Ход клапана, мм............•.......
Допускаемое число включений, вкл/ч.......... не более 1000
Номинальное напряжение постоянного тока, В..... 24
Номинальная мощность, Вт.............. 22
Минимальный ток срабатывания, А........... 0,65
Режим работы..................... продолжительный
Исполнение...................... брызгозащищен-
ное двухпроводное
Масса, кг........................ 1,5
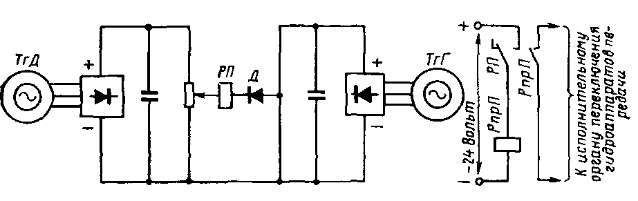
Блок управления. Блок управления гидропередачи тепловоза ТУ7 выполнен в виде отдельного прибора в металлическом кожухе, в котором размещены элементы схемы электроавтоматики. В блоке управления суммируются напряжения датчиков скорости типа Д2-3. Выходной сигнал блока является командным для электрогидравлических вентилей, переключающих через золотниковую коробку гидроаппараты гидропередачи.
Работа схемы электроавтоматики (рис. 96) происходит следующим образом. При определенной скорости тепловоза и определенной частоте вращения вала дизеля, соответствующих по тяговой характеристике моменту переключения гидропередачи с одного аппарата на другой, напряжение датчика ТгГ превышает величину напряжения датчика ТгД и через диод Д получает питание

Рис. 96. Схема электроавтоматики управления гидроаппаратами: ТгД, ТгГ — датчики скорости, РП — реле; Д — диод, РпрП — промежуточное реле
катушка реле РП. Реле РП, срабатывая, производит через промежуточное реле РпрП соответствующее переключение электрогидравлических вентилей, управляющих наполнением гидроаяша-ратов.
При снижении напряжения датчика скорости ТгГ, подаваемого через диод Д на катушку реле РП, ниже напряжения, создаваемого датчиком ТгД, реле РП отключается, производя обратный переход.
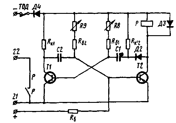
Блок гидродоворота. Для обеспечения включения реверса в случае попадания муфт реверса «зуб в зуб» схемой переключения реверса предусмотрен блок гидродоворота. Назначение его — обеспечить автоматическое импульсное включение электрогидравлического вентиля пускового гидротрансформатора передачи. Происходящее при этом частичное наполнение пускового гидротрансформатора выполняет доворот подвижных муфт до включаемого положения.
Блок гидродоворота выполнен на полупроводниковых приборах по схеме мультивибратора. Электрическая схема блока реле гидродоворота (рис. 97) обеспечивает два временно устойчивых состояния, в одном из которых открыт транзистор ТІ, а в другом 72. В каждом из состояний схема может находиться лишь время»
Определяемое ПОСТОЯННЫМИ Времени ЦЄПИ ( /?б!+ Л5)С/ И (&02+-
і- Я9)С2.
Схема работает следующим образом: при подаче питания 24 В постоянного тока на клеммы «плюс» и «минус» заряжается конденсатор С2. Реле Р отключено. Для включения блока подается плюс 24 В на клемму 21; при этом реле Р остается невключен-ным, транзистор Т1 открыт, Т2 закрыт. Начинает заряжаться-конденсатор С1 по цепи: провод 21, эмиттер-база открытого транзистора 77, конденсатор С1, резистор #К2.диод Д4, провод «минус».
Конденсатор С2 разряжается через резисторы Р(а и К9. Падение напряжения на резисторах /?б2 и имеет положительный знак по отношению к базе транзистора Т2. Положительное напряжение на базе транзистора Т2 по мере разряда конденсатора С2 снижается до> нуля, и на коллекторе транзистора появляется ток, под действием которого отрицательное напряжение на базе транзистора
Рис. 97. Электрическая схема блока реле гидродоворота:
г'. Т2 — транзисторы; Р — реле; С1, С2 — конденсаторы; ГОД —тумблер отключения доворота; #к|, И9, #62, #8, #бу #К2. #6 _ резисторы; Д2; ДЗ, Д4 — диоды

ТІ уменьшается. Развивается лавинообразный процесс, который заканчивается тем, что транзистор 77 закрывается. При этом включается реле Р и своими контактами в цепи наполнения включает электрогидравлический вентиль ВГП1, который дает команду золотниковой коробке на наполнение первого (пускового) гидротрансформатор а.
Продолжительность этого состояния определяется временем разряда конденсатора С1. Одновременно с этим происходит заряд конденсатора С2. По окончании разряда конденсатора С1 открывается транзистор ТІ, а Т2 закрывается. Реле Р -отключается и отключает электрогидравлический вентиль ВГП1, приводя к опорожнению первого гидротрансформатора на время, в течение которого происходит разряд конденсатора С2. Далее процесс работы блока реле гидродоворота повторяется до прекращения подачи плюс 24 В на клемму 21 блока.
Таким образом, при выбранных элементах блок реле гидродоворота обеспечивает импульсное включение реле Р на 1,5 с через каждые 3,0 с. Установленные для обеспечения гидродоворота подвижных муфт реверса выдержки времени 3,0 и 1,5 с регулируются переменными резисторами Я8 и Н9, размещенными под кожухом блока. Диод ДЗ улучшает коммутацию активно-индуктивной нагрузки. Для защиты схемы блока от перемены полярности питающего напряжения применен диод Д4.
Установленный на блоке реле гидродоворота тумблер ТОД ■служит для отключения блока при проверке мегомметром сопротивления изоляции электрических цепей тепловоза.










