Работа гидравлической передачи
Нейтральное положение. В этом положении при работающем дизеле электрогидравлические вентили 85 и 97 (рис. 69) обесточены. От коленчатого вала дизеля момент передается на входной вал //, затем через зубчатые колеса 41 и 14 приводятся во вращение насосный вал 13 гидротрансформаторов, вал отбора мощности 10, ротор питательного насоса 29, насос управления 8. Питательный насос 29 по трубопроводу 77 и через фильтр 94 подает масло на подпитку насоса управления 8. Насос управления создает давление в канале перед электрогидравличеокими вентилями. Но так как дальнейший тракт насоса управления перекрыт


Рис. 69. Схема работы гидропередачи (нейтральное положение) :
1,5 — полости сервоцилиндра; 2 — шток фиксатора; 3 — фиксатор;
« 4 — сервоцилиндр; 6, 7 — электропневматические вентили; 8 — питательный насос системы управления; 9 — шкиф; 10 — вал отбора мош-,1т ностн; //, 70 — входные валы; 12, 43, 75, 77, 78, 80—84, 90, 92. 93, 102, 105, 113 — трубопроводы и каналы линий всасывания, напора, слива и
Щ управления; 13 — вал насосный; 14, 22, 25, 28, 30, 31, 38, 41, 42. 44, 4Ь, 49, 50, 52, 71—74, 76, 79 — шестерни; 15, 18 — муфты реверса; 16 — шток сервоцилиндра; 17 — рычаг; 18, 59 — датчики Д-2ММ нлн ДТЭ-2; 20 — подпорный клапан; 21 — насос системы смазки; 23 — фильтр; 24 — вал привода насоса; 26 — выходной вал; 27, 32 — соединительные валы; 29 — питательный насос; 33, 54 — турбинные колеса; 34, 35 — насосные колеса; 36 — турбинный вал; 37, 40 — клапаны обратные; 39—полость пускового трансформатора; 45 — подпорный клапан; 47, 53 — валы привода; 48, 94 — фильтры пластинчатые; 51 — шлнце-вый вал; 55 — фланец; 56, 60, 67 — пружины; 57—блокировочный клапан; 58. 60 — втулки; 61, 63, 64 — полости блокировочного клапана; 62 — клапан; 65, 68, 87, 98, 104, 111 — золотники; 66 — стакан, 69 — специальная шайба; 85, 97 — вентнлн электрогидравлическне; 86, 88, 89, 100, 101 — полости вентилей; 91 — клапан быстрого включения, 99, 103 — жиклеры; 106 — пружина; 95, 96, 107—109 — полости золотниковой коробки; 110 — полость золотника; 112 — золотниковая коробка; 114 — фильтр; 115 — холодильник (теплообменник)
Рис. 70. Схема работы гидропередачи (работа на пусковом гидротрансформаторе; обозначения те же, что и на рис. 69)
золотниками электрогидравлических вентилей 85 и 97, золотник 111 золотниковой коробки под воздействием пружины 106 находится в крайнем верхнем положении. Трубопровод слива 80 пускового трансформатора полостью 96 золотниковой коробки сообщен с атмосферой. Полость маршевого гидротрансформатора сообщена с атмосферой клапанами опорожнения. Наполнительные трубопроводы (каналы) 75 и 81 обоих гидротрансформаторов сообщены с атмосферой шариковыми обратными клапанами золотниковой коробки.
Таким образом, оба гидротрансформатора опорожнены. Масло, подводимое от питательного насоса 29 по трубопроводу 77, проходит в полость 108 золотниковой коробки, откуда по каналам направляется в полость ПО золотника, полость 95 золотниковой коробки и трубопровод 78. Запирая обратные клапаны 37 и 40, по каналу 113, через фильтр 114, теплообменник 115, трубопровод 83 и фильтр 48 масло поступает на смазку узлов гидроредуктора. Часть масла сливается в картер гидроредуктора через подпорный клапан 45 и трубопровод 43.
Включение гидропередачи. Работа на пусковом гидротрансформаторе. Для включения гидропередачи замыкается электрическая цепь питания катушки электрогидравлического вентиля 85 (рис. 70).
Золотник 87 вентиля, переместившись вниз, сообщает полость 86 ,и канал 82 с полостью 88 и каналом 90. Одновременно полость 88 отделяется средним пояюком золотника 87 от полости 89 и канала 84, сообщенного с атмосферой.
Масло от насоса управления 8 по каналу 82, через вентиль 85 и канал 90 поступает к клапану быстрого включения 91 и по каналу 93 в золотниковую коробку 112. Одновременно масло подводится к левому торцу золотника клапана быстрого включения 91 v перемещает его вправо до упора. Каналы 93 и 105 разделяются. Из полости канала 93 масло проходит к торцу золотника 111 золотниковой коробки. Под давлением масла золотник золотниковой коробки движется вниз до тех пор, пока полость над торцом золотника не сообщится с атмосферой через канал 105, клапан быстрого включения 91, канал 102, полости 100 и 101 и канал 84 обесточенного электрогидравлического вентиля 97. При этом в момент сообщения полости над торцом золотника с атмосферой шток коробки перекроет проточку крышки (полость канала 93) и отсечет от насоса управления полость над торцом золотника.
Таким образом, золотник 110 коробки гидравлически фиксируется в положении, в котором питательный насос наполняет и подпитывает пусковой гидротрансформатор. В этом положении масло от питательного насоса по каналу 77, полостям 108 и 107 золотниковой коробки и по каналу 75 поступает в пусковой гидротрансформатор. Через открывшийся обратный клапан 40 пускового гидротрансформатора масло по каналу 113, через фильтр 114, теплообменник 115, канал 83 и фильтр 48 поступает на
смаізку узлов гидроредуктора, а также на слив в картер через клапан 45 и канал 43. Сливной канал 80 пускового гидротрансформатора пояоком золотника 111 перекрыт. Канал 78 отделен от полости 108 золотниковой .коробки и питательного насоса. Полость маршевого гидротрансформатора сообщена с атмосферой клапанами опорожнения и нижним шариковым обратным клапаном золотниковой коробки. Обратный клапан 37 маршевого гидротрансформатора закрыт давлением масла от пускового гидротрансформатора. Таким образом, при включенном электрогидравлическом вентиле 85 наполнен маслом и подключен к теплообменнику только пусковой гидротрансформатор. Тепловоз движется на первой ступени скорости.
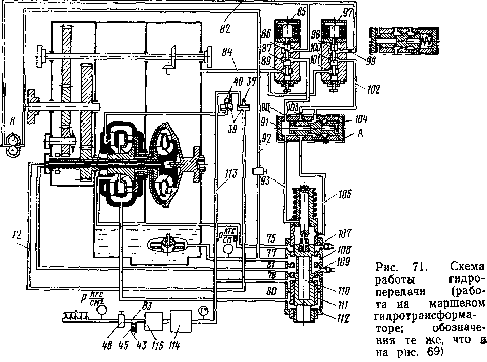
Переключение с пускового гидротрансформатора на маршевый. Работа на маршевом гидротрансформаторе. На заданной позиции контроллера при достижении тепловозом скорости, отвечающей точке прямого перехода, автоматически замыкается электрическая цепь питания катушки электрогидравлического вентиля 97 (рис. 71). Электрогидравлический вентиль 85 также остается включенным.
При включении вентиля 97 в гидравлической части системы управления происходит следующее. Золотник 104 клапана быстрого включения находится в крайнем правом положении. Золотник 98 электрогидравлического вентиля 97, опустившись вниз, средним пояском отсекает канал 100 от канала 84 и полости 101 и сообщает нагнетательный канал 82 насоса управления 8 с ка-

налом 102. При этом проточка в гильзе золотниковой коробки 112, связанная с каналом 105, не только отделяется от атмосферы, но и сообщается с нагнетательным трактом насоса управления.
Поскольку насос управления прокачивает масло.из канала 82 в канал 105 через жиклеры 99 и 103, то время наполнения полости «ад торцам золотника 111 коробки 112 и 'время движения этого золотника до упора определяется двумя этими жиклерами. При таком замедленном движении золотника обеспечивается «перекрыша» в питании гидротрансформаторов для уменьшения провала силы тяги тепловоза при переключении ступеней скорости. Действительно, сначала золотник 111 коробки верхней проточкой сообщает полость 109 золотниковой коробки и значит канал 81 наполнения маршевого гидротрансформатора с полостью 108 коробки и каналом 77 питательного насоса. Некоторое время оба гидротрансформатора подпитываются маслом одновременно.
Опускаясь ниже, золотник верхним пояском отсекает от питательного насоса (от полости 108 и канала 77) полость 107 и канал 75 питания пускового гидротрансформатора, оставляя канал 80 слива закрытым (нижним пояском золотника). И только при полном открытии отверстий гильзы полости 109, когда маршевый гидротрансформатор получает питание через полное сечение наполнительного канала 81, открывается на слив канал 80 опорожнения пускового гидротрансформатора.
При появлении давления питания в маршевом гидротрансформаторе клапаны опорожнения закрываются. Закрывается нижний шариковый обратный клапан на золотниковой коробке. Обратный клапан 37 маршевого гидротрансформатора открывается. Масло от питательного насоса по каналу 77, полостям 108 и 109 золотниковой коробки и по каналу 81 поступает в маршевый гидротрансформатор. По каналу 12 через открывшийся обратный клапан 37 маршевого гидротрансформатора масло направляется по каналу 113, через фильтр 114, теплообменник 115, канал 83 и фильтр 48 на смазку узлов гидроредуктора, а также на слив в картер через клапан 45 и канал 43.
В положении золотника 111 внизу на упоре пусковой гидротрансформатор отключен от питательного насоса и сообщен с атмосферой со стороны выхода через канал 80 нижними каналами золотника 111, а со стороны входа-—верхним шариковым обратным клапаном на золотниковой коробке (у полости 107). Обратный клапан 40 пускового гидротрансформатора закрыт давлением масла из маршевого.
Таким образом, когда включены оба электрогидравлических вентиля, маслом наполнен только маршевый гидротрансформатор. Тепловоз движется на второй ступени скорости.
Включение маршевого гидротрансформатора из нейтральною положения. Тепловоз движется «накатом» (контроллер установлен на нулевую позицию), оба электрогидравлических вентиля 85 и 97 (см. рис. 69) обесточены. Для включения маршевого
гидротрансформатора из положения движения тепловоза «накатом» контроллером набирают рабочие позиции, соответствующие скорости движения.
При этом включаются одновременно оба электрогидравлических вентиля 85 и 97. Золотник 104 клапана быстрого включения, сдвинутый пружиной в крайнее левое положение при выключенных электрогидравлических вентилях 85 и 97 остается в этом положении, так как давление насоса управления 8 при включении двух электрогидравлических вентилей действует сразу на оба торца золотника 104. Масло от насоса управления 8 проходит к золотниковой коробке по каналу 93 и одновременно, минуя жиклеры 99 и 103, полным сечением по каналу 105 к проточке гильзы золотниковой коробки 112. Золотник 111 быстро смещается вниз до упора. Наполняется маршевый гидротрансформатор.
Переключение с маршевого гидротрансформатора на пусковой (обратный переход). При снижении скорости тепловоза до величин, соответствующих точкам обратного перехода, автоматически размыкается цепь питания катушки электрогидравлического вентиля 97 (см. рис. 71). Золотник 98, возвращенный пружиной в крайнее верхнее положение, отсекает от насоса управления канал 102 и сообщает этот канал с каналом слива 84 (см. рис. 70).
Полость над торцом золотника коробки 112 каналом 105 сообщается со сливом через жиклер 103. Поэтому пружина золотниковой коробки медленно возвращает золотник вверх. Медленное движение золотника обеспечивает «лерекрышу» в питании гидротрансформаторов. Золотник /// коробки останавливается в положении наполнения и подпитки пускового гидротрансформатора (гидравлически фиксируется, когда проточка в гильзе коробки на канале 105 перекроется золотником).
Выключение гидропередачи. При выключении обоих электрогидравлических вентилей 85 и 97 (см. рис. 69) масло от насоса управления 8 к золотниковой коробке 112 не поступает и полость над торцом ее золотника 111 сообщается с атмосферой через канал 93, клапан быстрого включения 91 и каналы 90 и 84. Пружина возвращает золотник в крайнее верхнее положение. Оба гидротрансформатора отключеньГ от питательного насоса и сообщены своими каналами опорожнения с картером передачи. Насосный вал 13 гидротрансформаторов вращается вхолостую.
Работа системы переключения реверса. Механизм переключения реверса (см. рис. 69) предназначен для изменения направления вращения выходного вала гидропередачи (изменения направления движения тепловоза). Реверс переключается подвижными шлицевыми муфтами переднего и заднего хода 15 и 19, которые, перемещаясь по шлицам соединительных валов 32 и 27 при помощи сервоцилиндра 4, включают одно из положений реверса «віперед» или «назад». - Во включенном положении подвижные муфты реверса удерживаются давлением воздуха в рабочей полости цилиндра и штоком 2 фиксатора 3. Шток 2
опускается в приточку штока сервоцилиндра 16 после перемещения его в одно из крайних положений. При переключении реверса шток поршня сервоцилиндра освобождается от фиксатора под действием давления воздуха, подводимого в это время к фиксатору.
Чтобы исключить переключение подвижных муфт во время движения тепловоза, в схеме предусмотрен блокировочный клапан 57, пропускающий воздух к фиксатору только после полной остановки тепловоза. Клапан блокировки включается в пневматическую систему управления тепловозом таким образом, что полость 63 сообщается с главной воздушной магистралью при включении электропневматического вентиля блокировки реверса. Полость 64 блокировочного клапана сообщена с фиксатором сервоцилиндра, а полость 61 постоянно сообщена с атмосферой. Для контроля положения подвижных муфт они механически связаны с контактным барабаном, который, поворачиваясь, замыкает контакты цепи питания сигнализирующих ламп, установленных на пульте управления.
Процесс переключения реверса гидропередачи протекает в такой последовательности: освобождается шток поршня сервоцилиндра от фиксатора, включается муфта другого направления и фиксируется шток поршня.
При нажатии на кнопку блокировки реверса КБР на пульте управления включается вентиль блокировки реверса ВБР, который откроет доступ воздуха из воздушной магистрали тепловоза через -блокировочный клапан 57 к фиксатору 3 положения сервоцилиндра 4. Поступающий воздух поднимает фиксатор. После разблокировки и перевода рукоятки реверса в положение «вперед» или «назад» включается один из вентилей переднего 7 или заднего 6 хода, который откроет доступ воздуха в соответствующую полость / или 5 сервоцилиндра гидропередачи и муфта реверса гидропередачи переключится на выбранный ход «вперед» или «назад».
При переключении возможны попадания муфты в положение «зуб в зуб». Для обеспечения включения реверса в этом случае схемой переключения реверса предусмотрена система гидродо-ворота, включающая реле гидродоворота, размещенное в блоке управления. Назначение его—обеспечить автоматическое импульсное включение электрогидравлического вентиля первого гидротрансформатора передачи. Происходящее при этом частичное наполнение первого гидротрансформатора выполняет доворот подвижных муфт, обеспечивая их включение. Работа электрической схемы и системы гидродоворота при переключении реверса рассмотрена в главе VI. При отсутствии сжатого воздуха в полости 63 полости 64 и 61 сообщаются между собой через каналы в золотнике 65. Блокировочный клапан установлен в корпусе входного редуктора так, что между наконечником золотника 68 и специальной шайбой 69, закрепленной на шестерне входного вала редуктора, выдержан зазор 1—1,2 мм. Когда открывается доступ
воздуха в полость 63 клапана, втулка 58 движется вниз с клапаном 62 и золотником 65, при этом клапан 62 прижат пружиной 56 ь своему седлу во втулке 58, а золотник пружиной 60 прижат к упору во втулке. Совместное движение происходит до тех пор, пока не выберется зазор между наконечником золотника 68 и шайбой 69. Дальнейшая работа клапана зависит от того, вращается вал или нет.
При вращающемся вале 70 наконечник золотника 68 увлекается силой трения в месте соприкосновения с шайбой и отклоняется в сторону вращения шайбы. Золотник 65 перемещается со втулкой 58 до упора втулки в стакан 66. Клапан 62 по-прежнему будет прижат пружиной 56 к седлу. Сжатый воздух в полость 64 не поступит. Полости 64 и 61 сообщены с атмосферой. Таким образом, при вращающемся вале 70, т. е. при движущемся тепловозе, клапан не позволяет сжатому -воздуху проходить к пневматическому цилиндру фиксатора 3.
Если тепловоз неподвижен, то вал 70 не вращается. Как только наконечник золотника 68 упрется в шайбу 69, золотник 65 останавливается, а втулка 58 и прижатый к ней клапан 62 продолжают двигаться, сжимая пружины 60 и 67 до тех пор, пока втулка 58 не дойдет до упора в стакан 66. При этом хвостовик золотника поднимает клапан 62 и сжатый воздух из полости 63 попадает в полость 64. Полости 64 и 61 разобщены, так как і анал в золотнике закрыт клапаном.










