Топливная система
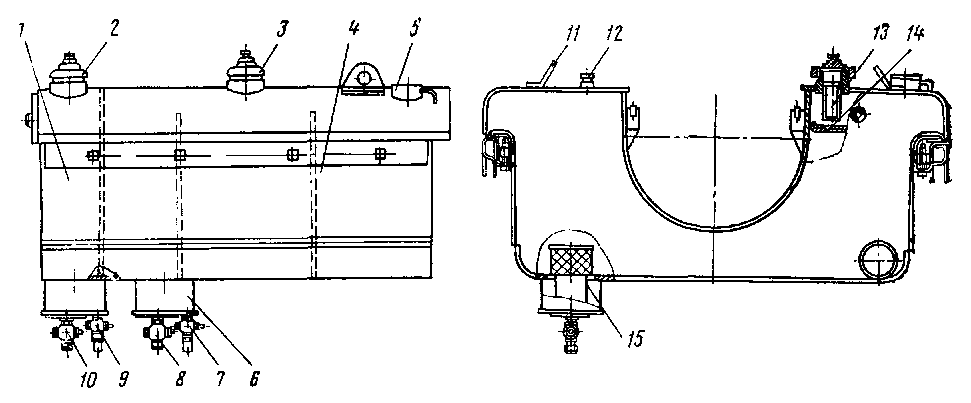
Непрерывная подача необходимого количества отфильтрованного топлива к дизелю и пусковому подогревателю обеспечивается топливной системой. Она состоит из топливопровода дизеля с топливной аппаратурой, топливного бака с указателем уровня топлива, фильтра грубой очистки топлива, поступающего к топ-ливоподкачивающему насосу, трубопроводов и контрольно-измерительных приборов. Топливный бак 4 (рис. 36) сварной конструкции. Его продолжением является масляный бак 1. Он установлен на опоры капота и легко снимается. Форма баков соответствует форме капота, составляя единое целое. Внутри топливный бак разделен внутренними перегородками, что обеспечивает ему жесткость и прочность, а также препятствует волнообразованию топлива. Сверху к нему приварена заливная горловина 3, внутри которой помещен сетчатый фильтр 13. Заправка бака топливом производится при вывернутом щупе (на рис. 36 щуп топливного бака не показан) для обеспечения выхода воздуха из левой половины бака. В специальном стакане,, приваренном к баку, установлен датчик уровня топлива 5. Снизу бак имеет отстойник 6 со встроенным фильтром и заборную

Рис. 36. Топливный и масляный баки тепловоза ТУ7:
/ — масляный бак; 2 — заливная горловина масляного бака; 3 — заливная горловина топливного бака; 4 — топливный бак; 5 —датчик уровня топлива; -6 — отстойник топлива; 7, 9 — спускные краны топлива и масла; 8, 10 — краны топливного и масляного баков; // — накладка; 12 - щуп масляного бака; 13 — фильтр; 14 — пеногаситель; 15 — масляный фильтр
трубку с краном 8 для перекрытия подачи топлива к двигателю. Рядом приварен штуцер с краном 7 для слива отстоя. Уровень топлива в баке определяется при помощи датчиков уровня топлива или щупа. Форма бака позволяет установить на нем глушитель тепловоза, что обеспечивает подогрев топлива. Для подъема при монтаже бак оборудован четырьмя чалочными накладками 11.
Топливная система тепловоза ТУ6А имеет аналогичную схему. Топливный бак заимствован от тепловоза ТУ4.










