Система смазки
На дизеле ЯАЗ-М204А применена смешанная система смазки. Под давлением смазываются коренные и шатунные подшипники, подшипники распределительного и уравновешивающего валов, ось промежуточной шестерни привода механизма газораспределения, ось коромысел, вал шестерни привода нагнетателя, ось промежуточной шестерни привода масляного насоса, поршневые пальцы. К остальным деталям масло подается разбрызгиванием и самотеком.

Рис. 16. Схема системы смазки дизеля ЯАЗ-М204А:
/, 2, 10 — вертикальные каналы; 3 — шестеренный насос; 4— маслоприемник; 5 — перепуск-«юй клапан; 6 — масляный радиатор, 7 — фильтр грубой очистки; 8 — горизонтальный
канал; 9 — канал в теле шатуна; И, 12, 15 — масляные полости; 13 — продольный канат •распределительного вала, 14 — продольный канал в головке блокя; в — фильтр топкой
очистки
Находящееся в нижнем картере масло (рис. 16) засасывается •через маслоприемник 4 шестеренным насосом 3 и подается через -фильтр грубой очистки 7 к масляному радиатору 6. Пройдя по каналу 2, масло поступает в горизонтальный канал 8, расположенный в теле блока с правой стороны.
При засорении радиатора или повышенной вязкости масла перепускной клапан 5 открывается и масло не поступает в фильтр трубой очистки и масляный радиатор, а идет непосредственно в канал 8, откуда по поперечным горизонтальным каналам направляется к коренным подшипникам. Из коренных подшипников масло поступает к шатунным и далее по каналам (сверлениям) 9 в стержнях шатунов к поршневым пальцам для смазки трущихся поверхностей пальца и бобышки поршня.
Зеркало цилиндров смазывается маслом, вытекающим из зазоров шатунных подшипников и разбрызгиваемым при вращении коленчатого вала. К крайним подшипникам распределительного и уравновешивающего валов масло поступает из вертикальных каналов 10 и /. Промежуточные подшитгики распределительного вала смазываются маслом, поступающим из просверленного вдоль
оси вала продольного канала 13, в который оно попадает из крайних подшипников.
Приводной механизм клапанов и форсунок (оси, втулки, коромысла, пальцы соединительных вилок штанг) смазываются через вертикальный канал 13 блока и через продольный канал 14 в головке блока.
Масло, вытекающее из коромысел, смазывает торцы и стержни клапанов, роликовые толкатели коромысел и торцы толкателей форсунок. Кулачки распределительного вала смазываются маслом, стекающим в полость 12 блока, а шестерни распределения— из просверленных в торцовых плитах блока отверстий, соединенных с полостями 12 и 15, где помещены распределительный и. уравновешивающий валы. Подшипник промежуточной шестерни смазывается маслом из заднего вертикального канала блока. К подшипнику вала привода нагнетателя масло поступает по наружной трубке из заднего поперечного канала в блоке. Шестерни и подшипники нагнетателя и регулятор частоты вращения смазываются из полостей И корпуса нагнетателя, в которые масло попадает из полости распределительного вала. Из полостей И масло стекает в полости торцовых крышек нагнетателя. Для поддержания определенного уровня масла в нижней части крышек имеется перегородка. Из полостей крышек нагнетателя масло стекает в нижние карманы картера нагнетателя и оттуда через два отверстия в стенке блока — в картер дизеля.
Кроме фильтра грубой очистки 7, в систему смазки включен фильтр тонкой очистки 16, к которому масло поступает из заднего поперечного канала блока. Очищенное масло стекает в картер. Масло заливают в картер дизеля через заливную горловину, расположенную на корпусе привода нагнетателя.
Масляный насос — шестеренного типа. В корпусе насоса имеется предохранительный клапан. При достижении давления масла на стороне нагнетания свыше 7,0 кгс/ом2 клапан преодолевает сопротивление пружины и соединяет полость нагнетания с полостью всасывания. Это необходимо для предотвращения чрезмерно высокого давления в системе, если сопротивление ее велико (в первую очередь в период пуска дизеля в холодное время года, когда масло имеет большую вязкость).
В канале, выходящем на нижний торец блока, установлен клапан, ограничивающий максимальное давление в системе смазки до 3—3,5 кгс/см2. В масляной системе установлен перепускной клапан 5. Когда разность давлений масла в фильтре грубой очистки и после масляного радиатора достигает 2,8 кгс/см2, перепускной клапан открывается и часть масла перепускается непосредственно к горизонтальному каналу, минуя фильтр и масляный радиатор. Величину давления масла контролируют по показаниям манометра.
Масляный фильтр грубой очистки состоит из корпуса, стального колпака, фильтрующих элементов. Каждый из фильтрующих элементов представляет собой цилиндрический гофрированный
стальной каркас, на который натянута латунная сетка с квадратными ячейками для прохода фильтруемого масла. В корпусе фильтра установлен перепускной клапан.
Масляный фильтр тонкой очистки включен в магистраль параллельно и пропускает до 107о масла. Фильтрующий элемент представляет собой металлический каркас, на котором сформована фильтрующая масса. Элемент установлен в стальной корпус.
Вентиляция картера предусмотрена для очистки картера и полости под крышкой головки блока цилиндров от продуктов сгорания. Картер сообщается с атмосферой через трубку, укрепленную на корпусе регулятора. Свежий воздух попадает в картер из воздушной камеры через зазоры между поршнями и гильзами, через стыки и пазы в маслосъемных кольцах и отверстия в поршнях. Нижнее пространство картера сообщается с пространством крышки головки цилиндров через полость картера маховика, верхнюю крышку и каналы рымов.
Масляный радиатор регулирует температуру масла в магистрали. Когда дизель горячий, вода охлаждает масло, а когда двигатель холодный (в период пуска и прогрева), вода нагревает масло. Масляный радиатор состоит из корпуса,, секций и крышки.
Система питания топливом
Топливный насос засасывает топливо из бака через подводящую трубку и фильтр грубой очистки. Из насоса топливо нагнетается в топливный фильтр тонкой очистки, а затем поступает в подводящую магистраль головки блока цилиндров и далее к насос-форсункам, откуда избыток его отводится в отводящую магистраль. В конце отводящей магистрали установлен штуцер с дроссельным отверстием диаметром 1,2 мм, создающий сопротивление, необходимое для поддержания давления в топливной системе. Из магистрали топливо поступает в бак.
Топливный насос — шестеренного типа. Ведущая и ведомые шестерни взаимозаменяемы. Ведущая шестерня приводится во вращение валиком, с которым она соединена при помощи стального шарика. Валик соединен через приводную вилку с нижним ротором нагнетателя. Ведомая шестерня соединяется с осью также при помощи шарика. При вращении шестерен топливо со стороны всасывания направляется в сторону нагнетания и поступает в топливопровод, присоединенный к крышке с помощью штуцера.
В корпусе топливного насоса расположен перепускной клапан для предотвращения чрезмерного повышения давления в системе при засорении фильтров, магистралей или загустении топлива. Клапан помещается в канале, соединяющем впускное и выпускное отверстия насоса. Когда давление на стороне нагнетания превысит 2,9—3,5 кгс/см2, клапан открывается и перепускает топливо, предотвращая дальнейшее повышение давления.
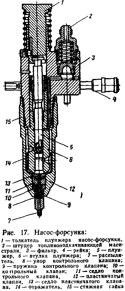
Насос-форсунка (рис. 17) установлена в головке блока каждого цилиндра, в который она помещена в медном стака-
не, охлаждаемом водой. Топливо, подаваемое насосом, поступает к штуцеру 2, пройдя лервый фильтр 3, заполняет кольцевое пространство вокруг втулки 6 и плунжера 5 и пространство во втулке под плунжером. Избыточное топливо через второй фильтр и через штуцер отводится в бак. В начале движения плунжеру вниз вытесняемое им топливо перепускается обратно через ©Т'5 верстия втулки в кольцевое пространство вокруг втулки плун-» жера. Перепуск топлива прекращается после того, как торец плунжера перекроет нижнее впуокное отверстие. При дальнейшем движении плунжера вниз избыток топлива нагнетается через отверстия в плунжере и через верхнее отверстие втулки и поступает в кольцевое пространство до того момента, когда верхняя винтовая кромка перекроет верхнее отверстие втулки. Момент полного перекрытия соответствует началу впрыска. Во время дальнейшего движения плунжера вниз сжимаемое им топливо, обойдя пластинчатый клапан 12, открывает контрольный клапан 10, нагруженный пружиной 9, и поступает через сопловое отверстие распылителя 7 в камеру сгорания. Впрыск заканчивается в момент начала открытия (нижнего впускного отверстия втулки нижней винтовой кромкой «плунжера, после чего начинается перепуск топлива в кольцевое пространство.
Поворотом плунжера с помощью рейки 4 изменяют положение винтовых кромок его по отношению к отверстиям втулки, вследствие чего изменяется количество подаваемого топлива.

Система регулирования
На дизель ЯАЗ-М204А установлен двухрежимный регулятор, который обеспечивает стабильную работу двигателя без нагрузки при малой частоте вращения коленчатого вала двигателя (холо-
стом ходе) и ограничивает максимальную частоту вращения коленчатого вала дизеля.
Кроме того, двухрежимяый регулятор позволяет устанавливать по желанию машиниста необходимую частоту вращения коленчатого вала двигателя путем воздействия рукоятки или педали по-цачи топлива на рейки насос-форсунак через систему рычагов регулятора. При перемещении рейки поворачивается плунжер иаеос-форсунки и изменяется количество впрыскиваемого в цилиндр т. оплив а.
Ручное управление дизелем машинист может осуществлять при частоте вращения коленчатого вала от 400—500 до 1950— 2050 об/мин, а далее регулятор начинает ограничивать максимальную частоту вращения. В интервале от 400—500 до 1950— 2050 об/мин регулятор не оказывает воздействия на рейку насос-форсунки и машинист перемещает ее, воздействуя на педаль или рукоятку подачи топлива.
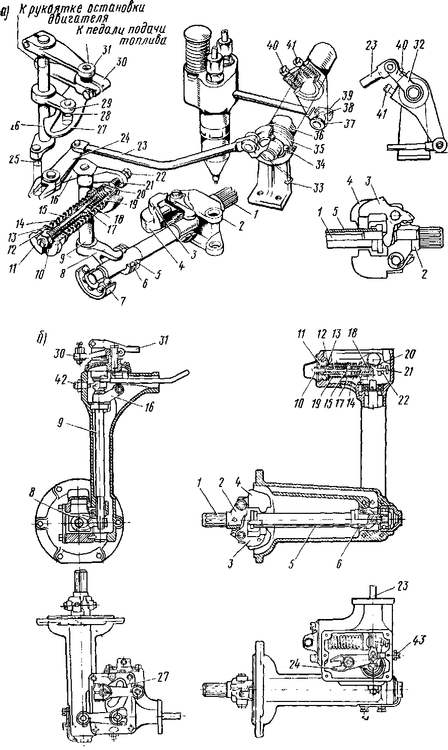
В регуляторе (рис. 18) имеется винт-ограничитель мощности с конусной головкой. Этот винт служит для ограничения перемещения дифференциального рычага в направлении увеличения подачи топлива, вследствие чего ограничивается максимальная мощность дизеля в период обкатки (первые 50 ч работы двигателя). После окончания обкатки пломбу винта снимают и винт вывертывают.
Работа регулятора в режиме стабильной работы без нагрузки при малой частоте вращения коленчатого вала (холостой ход при 400—500 об/мин). Рычаг управления подачей устанавливают в положение «максимальная подача», при котором палец 28 (см. рис. 18) рычага-ограничителя упирается во внутренний вырез кулисы. В таком положении рычага при неработающем дизеле рейки вдвинуты; при этом обеспечивается быстрый пуск после включения стартера.
Большие и малые грузы регулятора под действием центробежной силы стремятся повернуться. При этом центробежная сила больших грузов увеличивает центробежную силу, создаваемую малыми грузами. Малые грузы давят лапками на муфту регулятора, которая передает усилие на вилку 8 и через вертикальный передаточный валик 9 на двуплечный рычаг, который через винт 21 давит на торец стакана 20, а следовательно, и на пружину 18 холостого хода. При частоте вращения коленчатого вала, приближающемся к 400 об/мин, под действием центробежной силы обеих пар грузов пружина холостого хода сожмется. При этом двуплечий рычаг повернется и вызовет поворот дифференциального рычага относительно пальца кривошипа и выдвижение реек насос-форсунок.
При частоте вращения коленчатого вала 400—500 об/мин устанавливается равновесие между усилием пружины холостого хода и центробежной силой, развиваемой грузами, и регулятор будет автоматически поддерживать это равновесие. Изменяя затяжку пружины ввертыванием или вывертыванием винта 15, можно

уменьшить или увеличить частоту вращения коленчатого вала двигателя при холостом ходе.
При частоте вращения меньше 380—400 об/мин работа дизеля становится неустойчивой, качество сгорания топлива существенно ухудшается, а масляное охлаждение поршней будет недостаточным. Если частота вращения коленчатого вала на холостом ходу устанавливается более 500 об/мин, то увеличивается шум при работе дизеля и повышается расход топлива. Поэтому для непродолжительной работы на холостом ходу рекомендуется регулировать частоту вращения коленчатого вала до 400-500 об/мин при прогретом дизеле.
Иногда из-за неравномерной подачи топлива насос-форсунками достигнуть устойчивой работы дизеля на холостом ходу изменением затяжки пружины холостого хода невозможно. В этих случаях следует увеличить равномерность работы двигателя, ввертывая буферный винт 42 в корпус регулятора. Буферный винт нужно, как правило, ввертывать до момента контакта ег» пружины с дифференциальным рычагом и увеличения среднем частоты вращения не больше чем на 20—30 об/мин.
Работа системы регулирования при частоте вращения коленчатого вала от 400—500 до 1950—2050 об/мин. При увеличении машинистом частоты вращения свыше 500 об/мин будет возрастать центробежная сила, развиваемая грузами. Большие грузы будут продолжать расходиться до тех пор, пока хвостовики грузов не упрутся в ступицу державки. Одновременно будет происходить сжатие пружины холостого хода и уменьшение зазор» между буртиком стакана пружины холостого хода и гильзой пружины регулятора. В момент упора хвостовиков больших грузов в ступицу этот зазор будет составлять 0,04—0,05 мм; это произойдет при частоте вращения коленчатого вала 800—900 об/мин. При этом центробежная сила малых грузов не может преодолеть силу предварительной затяжки пружины 14 (см. рис. 18) максимальной частоты вращения и двуплечий рычаг не будет иметь возможности поворачиваться дальше. На этом режиме изменять частоту вращения коленчатого вала можно только воздействием рычага 31 управления регулятором на дифференциальный рычаг 24 и на рейки насос-форсунок.
*--
Рис. 18. Схема системы регулирования подачи топлива и ее детали: о — схема системы регулирования; 6 — устройство регулятора; / — валик грузов; 2 — державка грузов; 3 — малый груз; 4 — большой груз; 5 — муфта; 6 — упорный шарикоподшипник; 7 — радиальный шарикоподшипник; 8 — вилка передаточного валика: 9 — передаточный валик; 10 — контргайка; 11 — .-айка пружины максимальной частоты вращения; 12, ЛЗ — регулировочные прокладки; 14 — пружина максимальной чаетоты вращения; 15 — винт пружины холостого хода; /« — двуплечий рычаг; 17 — тарелка пружины холостою хода; /« —пружина холостого хода; 19 — гильза пружины холостого хода- 20 — стакан гружины холостого хода; 21 — упорный винт; 22 — контргайка упорного винта;' 23 — тяга' 24 — дифференциальный рычаг; 25 — палец кривошипа; 26 — валик кривошипа; 27 — кулиса регулятору: 28 — палец рычага ограничителя; 29 — рычаг-ограничитель подачи; 30 — рычаг остановки двигателя; 31 — рычаг управления регулятором; 32 — рычаг управления валиком реек насос-форсунок; 33 — стойка; 34 — шарикоподшипники; 35 — возвратная пружина- 36 — валик; 37— рычаг управления рейкой насос-форсунки; 38 — шаровой палец; 39 — рейка насос-форсунки; 40, 41 — регулировочные болты; 42 — буферный винт; 43 =- виит-ограничнтель мощности дизеля с контргайкой
При длительной работе на максимальной подаче топлива машинист должен стремиться поддерживать частоту вращения коленчатого вала в пределах 1500—1200 об/мин. При меньших подачах допускается работа дизеля с меньшей частотой вращения коленчатого вала.
Работа системы регулирования при частоте вращения коленчатого вала, близкой к максимальной. При увеличении частоты вращения коленчатого вала до 1950—2050 об/мин центробежная сила малых грузов возрастает настолько, что ею преодолевается усилие предварительной затяжки пружины максимальной частоты вращения. В результате двуплечий рычаг поворачивается, вызывая при этом поворот дифференциального рычага и выдвижение реек насос-форсунок. Этим обеспечивается ограничение частоты вращения коленчатого вала.
Предварительную затяжку пружины максимальной частоты вращения регулируют подбором прокладок 12 и 13 так, чтобы при работе двигателя без нагрузки частота вращения коленчатого вала не превышала 2250 об/мин. При повышении этой величины частоты вращения коленчатого вала возникают большие напряжения в ряде деталей и в первую очередь в насос-форсунках. Изменять заводское регулирование максимальной частоты вращения запрещается.
Остановка дизеля. Для остано&Кй исправного дизеля достаточно прекратить подачу топлива в его цилиндры, что достигается максимальным выдвижением реек из корпуса насос-форсунок.
Как указывалось выше, когда рычаг управления подачей находится в положении «Максимальная подача», дизель сохраняет минимальную устойчивую частоту вращения коленчатого вала при .холостом ходе. Для дальнейшего уменьшения подачи необходимо еще больше, выдвинуть рейки насос-форсунок, для чего вытянуть на себя рукоятку, связанную гибким тросом с рычагом останова и кулисой. Кулиса регулятора поворачивается по часовой стрелке И освобождает палец рычага-ограничителя от удерживающего его выступа в вырезе кулисы. Под действием возвратной пружины педали топлива рычаг управления подачей дополнительно поворачивается в сторону уменьшения подачи до полного ее выключения.










