Основные электрические аппараты
Электрические аппараты, установленные на тепловозе ТУ2, можно разделить на две группы: защитные аппараты и аппараты управления.
Защитные аппараты предохраняют электрические машины от перегрузок, а аппараты управления обеспечивают возможность управления тепловозом и его рабочими органами. По принципу работы аппараты управления делятся на автоматические и неавтоматические и имеют как непосредственное ручное, так и дистанционное управление. Большая часть электрической аппаратуры, установленной на тепловозе, размещена в высоковольтной камере и на пультах управления тепловозом.
Контакторы. Контакторами называют электрические аппараты, служащие для замыкания и размыкания электрических цепей, пропускающих большие токи. В зависимости от числа силовых контактов различают контакторы однополюсные и двухполюсные. Однополюсный контактор имеет подвижный и неподвижный, а двухполюсный — два неподвижных и два подвижных контакта. Привод контактора может быть пневматическим или электромагнитным, в зависимости от этого различают контакторы электропневматические и электромагнитные.
На тепловозе установлено семь электромагнитных контакторов: два контактора включения тяговых электродвигателей П1 и П2 типа КП-504-1, контактор Ш шунтировки поля тяговых электродвигателей и пусковой контактор Д типа КТП-523-7 контактор зарядки аккумуляторной батареи Б, контактор возбуждения главного генератора КБ типа КП-502-5 и контактор возбуждения возбудителя В В типа КП1-0021.
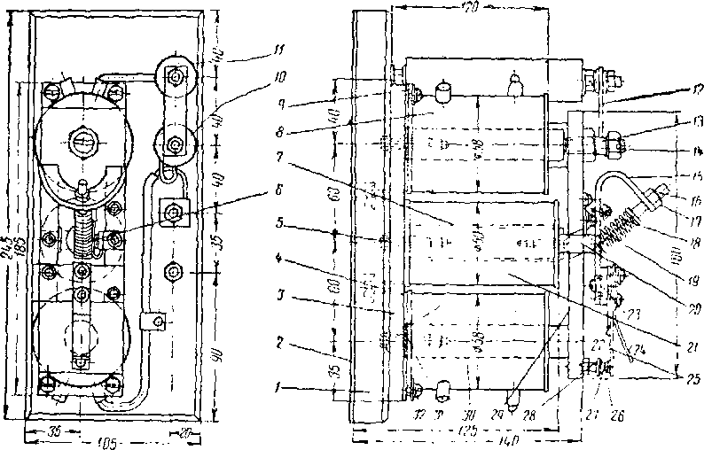
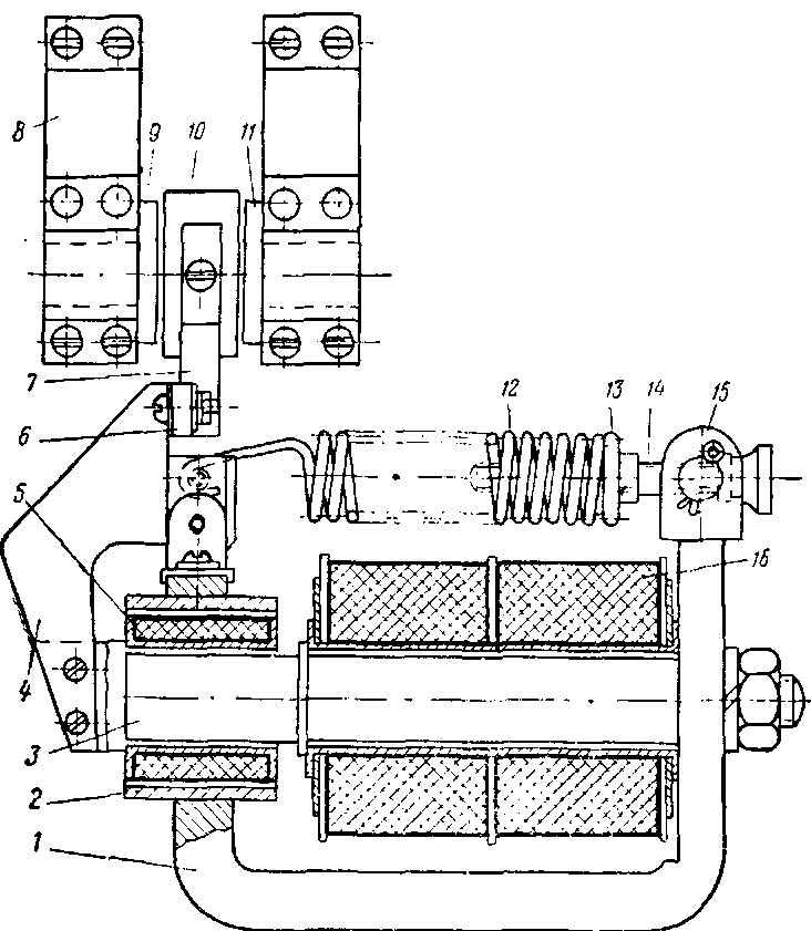
Электромагнитный контактор КП-504-1 (рис. 74) монтируется на асбоцементной плите размером 20 х 170 X 450 мм с прессшпановой прокладкой толщиной 2 мм. Все детали контактора собираются на основной П-образной скобе /, являющейся магнитопроводом. В прямоугольное отверстие скобы вставлен якорь 13 Г-образной формы, качающийся на острие призмы — крае прямоугольного отверстия в скобе. Якорь удерживается на острие призмы упорной скобой 14 и контактной пружиной 8, прижимающей его хвостовик при отключенной втягивающей катушке к скобе /.Подвижный контакт 7 укреплен в специальном держателе-кронштейне, который винтами крепится к скобе якоря.
Контакт 7 удерживается в крайнем положении контактной пружиной 8, которая прижимает его к опорной поверхности крон штейна и одновременно обеспечивает его притирание. Связь подвижного контакта 7 с шинным выводом 16 осуществляется гибким шунтом 15.
Неподвижный контакт 4 укреплен на специальном пластмассовом основании 2, прикрепленном к основной скобе магнитопровода. Подвод тока к контакту осуществляется через дугогасительную катушку 5.
Контактная система контактора рассчитана на длительный ток 300 а.

Рис. 74. Электромагнитный контактор типа КП-504-1:
/ — скоба магнитопровода; 2— основание из пластмассы; 3—дугогасительная щека; 4 — неподвижный контакт; 5—дугогасительная катушка: 6 —дугогасительная камера; 7 —подвижный контакт; 8 — контактная пружина; 9 —блок-контакты; 10 — пружина отжимная; / / —плоская пружина; 12 —втягивающая катушка; 13 — якорь; 14 — упорная скоба; 15 — гибкое соединение (шунт); 16 — шинный вывод подвижного контакта; 17 — шинный вывод неподвижного контактавтягивающая катушка 12 намотана на изолированную тонкостенную гильзу-каркас, что повышает ее механическую прочность, снижает температуру перегрева и значительно удлиняет срок ее службы по сравнению с бескаркасными катушками. На сердечник катушки между каркасом и нижней частью скобы надевается плоская пружина //, зубцы которой входят в соответствующие прорезы каркаса. Края пружины имеют отбортовку в сторону, противоположную зубцам, что обеспечивает фиксацию положения катушки контактора относительно скобы магнитопровода. Мощность, потребляемая катушкой контактора, составляет 45 вт.
У контакторов КП-504-1 применено сериесное гашение дуги. Дугогасительная камера 6 надевается на рог неподвижного контакта 4 и при помощи двух дугогасительных щек 3 собирается в одинузел. Рог неподвижного контакта служит также для крепления ду-гогасительной камеры к контактору.
Блок-контакты 9 крепятся к скобе магнитопровода при помощи пластинки, которая служит одновременно упором для отжимной пружины. У всех контакторов КП-504-1 блок-контакты представляют собой самостоятельный узел, состоящий из пластмассовых корпуса и траверсы. К корпусу прикрепляются два нормально от-

Рис. 75. Электромагнитный контактор типа КТП-523-7:
1—основание из пластмассы; 2— неподвижный контакт; 3 — дугогасительиая катушка; 4 — дугогасительная щека; 5—дугогасительиая камера; 6 — подвижный контакт; 7— контактная пружина; 8 — блок-коитакты; 9 — плоская пружина; 10— втягивающая катушка; 11—якорь; 12—гибкое соединение; 13 — скоба магнитопровода; 14 — пластмассовая колодка; /5 —кронштейн; 16 и /7 —шинные выводыкрытых и два нормально закрытых неподвижных контакта. Подвижные контакты мостикового типа с серебряными накладками крепятся на пластмассовой траверсе, движущейся поступательно в направляющих корпуса. Допускаемая нагрузка на блок-контакты при продолжительном режиме составляет 20 а.
Электромагнитный контактор КП-502-5 по своей конструкции и внешнему виду одинаков с контактором КП-504-1 и состоит из тех же элементов, но контактная система его рассчитана на токи, не превышающие 100 а, вследствие чего он имеет меньшие размеры, а мощность, потребляемая его втягивающей катушкой, составляет 28 вот.
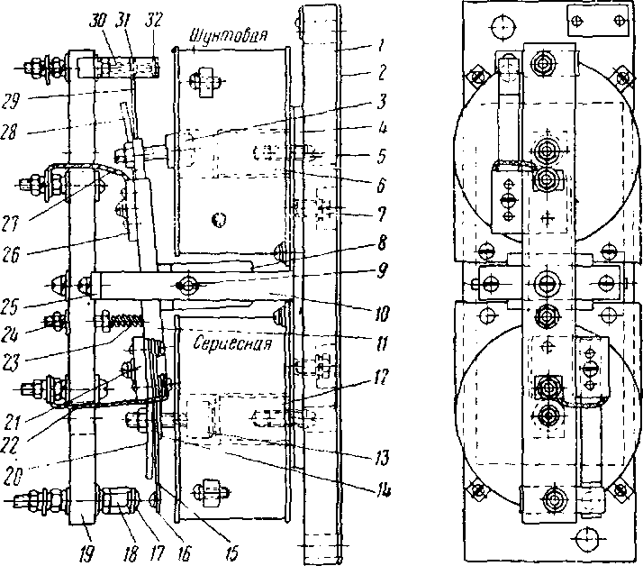
Электромагнитный контактор КТП-523-7 (рис. 75) смонтирован так же, как и контактор КП-504-1, на асбоцементной плите размером
20 х 175 X 350 мм с прессшпановой прокладкой толщиной 2 мм. Основной конструктивной особенностью его является то, что он имеет двухполюсное исполнение.
Все узлы и детали контактора собраны на основной скобе маг-нитопровода 13, имеющей П-образную форму. Якорь // в отличие от контакторов серии KTI-504-1 несет на себе пластмассовую колодку 14, к которой винтами прикреплены два кронштейна 15, несущих подвижные контакты. Такое исполнение подвижных контактов обеспечивает надежную изоляцию их друг от друга и от скобы маг-нитопровода 13.
Конструкция остальных узлов и деталей контактора КТП-523-7 аналогична конструкции соответствующих узлов и деталей контактора КП-504-1.
Контактная система контактора КТП-523-7 рассчитана на длительный ток 150 а, а мощность, потребляемая втягивающей катушкой, составляет 45 вт.
Э ле кт ро м а гн и тн ы й контактор КП1-0021 (рис. 76) смонтирован на асбоцементной доске с размерами 20 X 160 х 360 мм.
Скоба / магнитопровода на которой крепится втягивающая катушка 2 и якорь 12, контактора выполнена из полосовой электротехнической стали и имеет Г-образную форму. Якорь 12 представляет собой слегка изогнутую стальную полосу, качающуюся на призме ярма. При невозбужденной втягивающей катушке он удерживается в выключенном положении отключающей пружиной 14, натяжение которой регулируется регулировочным винтом 13.
К якорю контактора через изоляционную прокладку 10 с помощью держателя // крепятся два подвижных мостиковых контакта 7, каждый из которых имеет свою притирающую пружину 8. Жесткость пружины можно изменять с помощью болта 9. Неподвижные контакты 5 представляют собой оцинкованные шпильки, укрепленные с помощью гаек 4 и шайб 3 непосредственно на плите контактора. Подвижные и неподвижные контакты снабжены серебряными накладками 6, что значительно удлиняет срок службы контактора.

Рис. 76. Электромагнитный контактор типа КП1-0021:
/—скоба магнитопровода; 2 — втягивающая катушка; 3— шайба; 4 — гайка; 5 — неподвижный контакт; б —серебряные накладки; 7 —подвижный контакт; « — притирающая пружина; 9 — регулировочный болт; 10 — изоляционная прокладка; //—держатель; 12 — якорь; 13 — регулировочный винт; 14 — отключающая пружина
Подводящие провода подключаются к неподвижным контактам с задней стороны панели.
Контактная система контактора рассчитана на длительный ток 20 а. Мощность, потребляемая катушкой контактора, равна 25 вт.
Реле. Реле называют электрический аппарат, автоматически производящий определенные переключения контролируемой им электрической цепи.
На тепловозе установлено два управляющих реле: реле обратного тока РОТ и реле перехода РП, три защитных реле: два реле бок-

Рис. 77- Реле обратного тока:
1—доска; 2— прокладка; 3 — основание; 4 — крепежные болты; 5 — винты; 6 — шунт; 7 — бакелитовая трубка; 8 —шунтовая катушка; 9 — крепление катушек; 10 и //—трубки сопротивлений; 12 — соединение; 13 — контргайка; 14, 16 — регулировочные винты; 15 — скоба; / 7 — контргайка; /8— упор; 19 — регулировочная пружина; 20 — держатель; 21— сериесная катушка; 22 — упорная планка; 2 3 — изоляционная планка; 24 —предохранительная планка; 25 — гибкая пластина подвижного контакта; 26 — неподвижный блокировочный контакт; 27 — подвижный блокировочный контакт; 28,32 — винты; 29 — якорная пластина; 30 — встречная катушка; 31 —шайбысования РБ1 и РБ2 и реле заземления РЗ, а также один вспомогательный аппарат — реле напряжения РН.
Реле обратного тока. Реле обратного тока включено в электрическую схему тепловоза для защиты аккумуляторной батареи от разряда ее на вспомогательный генератор. С помощью этого реле осуществляется автоматическое управление контактором зарядки батареи. При напряжении на клеммах вспомогательного генератора, достаточном для зарядки батареи, реле включает контактор, который замыкает батарею на вспомогательный генератор. Когда напряжение вспомогательного генератора становится меньше напряжения аккумуляторной батареи, реле обратного тока выключает контактор зарядки батареи, который отключает батарею от вспомогательного генератора, предохраняя ее тем самым от разрядки.
Реле обратного тока типа ПР-26А (рис. 77) монтируется на асбоцементной доске 1 с прессшпановой прокладкой и состоит из собственно реле типа Р-44А и двух трубок сопротивлений 10 и 11 типа ТСМ с сопротивлениями соответственно 400 и 100 ом. Сопротивление трубки 10 имеет две секции на 25 и 375 ом.
Основание 3 реле представляет собой стальную оцинкованную пластину размером 9 X 50 X 190 мм, которая с помощью двух болтов 4 укреплена на доске /. К основанию латунными винтами 5 прикреплены три сердечника, на которых размещены катушки: шунтовая (напряжения) 8, сериесная (токовая) 21 и встречная, или дифференциальная, 30. Между сердечниками и основанием реле поставлены латунные шайбы 31.
Шунтовая и встречная катушки имеют каркас, а сериесная катушка бескаркасная и выполнена из медной шины. Для изоляции сериесной катушки на ее сердечник надевают бакелитовую трубку 7, на концах которой устанавливаются гетинаксовые шайбы. На сердечнике сериесной катушки крепится держатель 20, на котором качается якорь реле.
Якорь реле выполнен из стальной оцинкованной пластины 29 размером 9 х 50 X 160 мм, в верхний конец которой ввернут регулировочный винт 14 с контргайкой 13, а в нижний — контактный латунный винт 28 с контактом 27. В средней части якорной пластины укреплен упор 18 в виде изогнутой под углом 40° стальной пластины. В отогнутой части упора крепится заклепка с высокой головкой, служащая направляющей регулировочной пружины. Изменение нажатия пружины производится с помощью регулировочного винта 16, ввернутого в скобу 15, которая крепится к держателю якоря и несет на себе гетинаксовую изоляционную планку 23. На изоляционной планке 23 крепится гибкая бронзовая пластина 25, зажатая между упорной 22 и- предохранительной 24 планками.
Регулировку реле следует производить в следующем порядке:
1) установить ток в шунтовой катушке равным 0,576 а, а во встречной — 0,14 а;
2) плавно уменьшая ток во встречной катушке, довести его до нуля, после чего, изменив направление тока в катушке путем переключения концов, постепенно увеличивать ток. Реле должно включаться при токе меньше 0,008 а.
Подрегулировка производится изменением нажатия на регулировочную пружину, причем для уменьшения тока включения необходимо увеличить нажатие;
3) отключить встречную катушку и постепенно уменьшать ток шунтовой катушки до момента выключения якоря реле, которое должно произойти при токе, меньшем 0,075 а. Регулирование тока отпадания якоря производится регулировочным винтом;
4) установить ток в шунтовой катушке равным 0,135 а и вручную включить якорь реле, после чего постепенно увеличивать ток в сериесной катушке до отключения якоря. Ток отключения должен быть в пределах 8,5—9 а.
Реле переходов. Реле переходов в схеме тепловоза управляет автоматическим переходом с режима полного поля тяговых электродвигателей на режим ослабленного поля и обратно. Переход на ослабленное поле осуществляется при скорости тепловоза 27—28 км/ч, а с ослабленного поля на полное — при 20—21 км/ч.
Реле переходов типа Р-42Б-1 (рис. 78) монтируется на асбоцементной доске /. К доске винтами 7 крепится рама, состоящая из пла-

Рис. 78. Реле переходов:
/—доска; 2 —прокладка; 3, 13 — плунжеры; 4— стальная пластина; 5 —винт для крепления сердечника; 6 —сердечник шунтовой катушки; 7 —винт для крепления пластины; 8 — противовес; 9 — ось якоря; 10—стойки; //—якорь; 12—сердечник сериесной катушки; 14 — планка; 15, 29 — гибкие пластины; 16, 31 — подвижные контакты блокировки; 17, 32 — неподвижные контакты блокировки; 18— держатель изоляционный; 19— держатель неподвижного контакта; 20, 28 — защитные планки; 21, 26—держатели; 22, 27 — шунты; 23 — регулировочная пружина; 24 — регулировочный винт; 25 —плаика; 30 — держатель неподвижногоконтакта
стины 4 размером 6 X 68 X 160 мм, двух стоек 10 и планки 25, прикрепленной к стойкам винтами. Перечисленные детали, образующие магнитопровод, изготовлены из мягкой отожженной стали и оцинкованы.
На пластине 4 винтами 5 укреплены два стальных цилиндрических сердечника 6 и 12, на которых размещены шунтовая и сериес-ная катушки реле.
Якорь реле, состоящий из двух стальных плунжеров 3 и 13, двух текстолитовых держателей подвижных контактов 21 и 26, противовеса 8 и собственно якоря И, качается на оси 9, укрепленной в стойках 10.
Подвижные контакты, установленные на держателях 21 и 26, состоят из пружинящих гибких пластин 15 и 29 с напаянными серебряными контактами 16 и 31, зажимных планок 14 и защитных планок 20 и 28. Подвод тока к подвижным контактам осуществляется гибкими шунтами 22 и 27.
Два неподвижных контакта из серебра 17 и 32 напаяны на держателях 18 и 30, которые размещены на держателе неподвижных контактов 19, прикрепленном винтами к планке 25. Хвостовики держателей 18 и 30 служат клеммами. В качестве двух других клемм используются концы винтов, крепящих шунты 22 и 27.
Каждый плунжер реле представляет собой цилиндр, на одном конце которого имеется хвостовик с резьбой Мб и прорезью под отвертку, а на другом — латунная напайка.
Под действием регулировочной пружины 23, размещенной между нижним плечом якоря и регулировочным винтом 24, при обесточенных катушках якорь реле должен поворачиваться против часовой стрелки до упора регулировочного винта 13 в сердечник сериесной катушки 12.
Перед регулировкой реле необходимо проверить его блок-контакты.
Изгиб регулировочной пружины 15 нижнего контакта в свободном состоянии (при разобранном нижнем контакте) должен быть таким, чтобы стрела ее прогиба составляла 1—2 мм. Такой прогиб создает необходимое первоначальное усилие на контакте, заставляющее его четко, без вибрации, прижиматься к скобе контакта. Изгиб пружинящей планки 28 верхнего контакта должен быть таким, чтобы после его сборки планка прижималась к скобе полностью лишь в том случае, когда контакту будет дано смещение 1,5—2 мм.
После проверки блок-контактов необходимо проверить положение плунжеров. Плунжер шунтовой катушки должен быть ввернут так, чтобы резьба его хвостовика выходила из гайки на 1—1,5 витка. Плунжер сериесной катушки должен быть ввернут по возможности больше, но так, чтобы якорь реле не упирался в каркас катушки. В сердечник катушки должен упираться плунжер.
Регулировку реле необходимо вести в такой последовательности:
1. Установить реле в рабочее положение — вертикально, шунтовой катушкой кверху.
2. Проверить полярность катушек, для чего при обесточенной сериесной катушке установить в шунтовой катушке ток примерно 20 ма и заметить отклонение северного конца стрелки компаса, затем отключить шунтовую катушку, а в сериесной катушке установить ток около 0,2 а. Северный конец стрелки компаса в этом случае должен отклониться в противоположную сторону. В случае если стрелка отклонится в ту же сторону, необходимо полярность клемм одной из катушек поменять.
3. Установить ток в сериесной катушке равным 1 а и постепенно повышать ток в шунтовой катушке. При токе в шунтовой катушке
150—157 ма реле должно включаться. Если реле включается при токах в шунтовой катушке больших, чем 150—157 ма, то необходимо, ввертывая плунжер сериесной катушки, уменьшить зазор между плунжером и сердечником шунтовой катушки. Если включение реле происходит при меньших токах, то необходимо вывернуть плунжер сериесной катушки.
4. Включить ток в сериесной катушке, после чего, постепенно повышая ток в шунтовой катушке и изменяя натяжение регулировочной пружины, добиться включения реле при токе 50—55 ма. При достижении требуемых результатов провести повторную проверку согласно п. 3. Корректировку следует производить изменением положения плунжера сериесной катушки.
5. Установить ток в сериесной катушке 1,6 а, а в шунтовой 100—120 май вручную включить реле, после чего медленно снижать ток в шунтовой катушке. При токе в шунтовой катушке 27—28 ма должно произойти размыкание контактов реле. Если реле срабатывает при больших токах, то необходимо уменьшить толщину латунной напайки на плунжере шунтовой катушки. При срабатывании реле при меньших токах толщину напайки следует увеличить.
6. Правильно отрегулированное реле должно выключаться при токе 0,8 а в сериесной катушке и при 16—18 ма — в шунтовой.
Дополнительная регулировка реле, вызываемая неизбежным отклонением электромеханических характеристик главного генератора от расчетных, производится изменением величины сопротивлений панели СРП.
Реле боксования. Реле боксования предназначено для защиты тепловоза от начавшегося боксования путем обесточивания обмотки возбуждения возбудителя и оповещения об этом машиниста.
На тепловозе установлено два реле боксования — РБ1 и РБ2 типа Р-46Б-1, нормально закрытые контакты которых включены в цепь питания втягивающей катушки контактора возбуждения возбудителя ВВ, а нормально открытые — в цепь сигнальной лампы.
Реле боксования РБ1 включено в цепь первого и второго, а реле РБ2 — в цепь третьего и четвертого тяговых электродвигателей.
Параллельно якорным обмоткам тяговых двигателей включается панель сопротивлений СРБ-1,2 типа ЩС-27А-5, состоящая из четырех трубок сопротивлений типа ПЭ-75 по 500 ом каждая. Сопротивления подобраны таким образом, что падение напряжения на них равно падению напряжения в обмотках якорей тяговых электродвигателей.
При отсутствии боксования по катушкам реле РБ1, РБ2 ток не проходит, так как их выводы подключены к точкам равных потенциалов. В случае боксования одной из колесных пар, из-за увеличения противоэлектродвижущей силы ее электродвигателя, нарушается равенство потенциалов в точках подключения катушки одного из реле, что вызывает протекание тока по ней и срабатывание реле,
при этом отключается контактор ВВ и одновременно создается цепь питания сигнальных ламп, которыми подается световой сигнал машинисту. Выключением контактора ВВ прекращается питание обмотки возбуждения возбудителя от вспомогательного генератора, что приводит к значительному снижению напряжения на клеммах главного генератора и прекращению боксования. Реле боксования срабатывает при токе, равном 0,05 а.

Рис. 79. Реле боксования:
/—доска; 2 — держатель; 3 — задний неподвижный контакт; 4 —гибкий держатель контакта; 5 —жесткий держатель контакта; 6 — передний неподвижный контакт; 7 —сухарь; в —коромысло; 9 — ось; 10— кронштейн; 11— шунт; 12 — стальная пластина; 13 — регулировочный винт; 14 — специальный держатель пружины; 15 — регулировочная пружина; 16 — пластина якоря; 17 — плунжер; 18-катушка; /5 —сердечник катушки; 20 — винт крепления сердечника катушки; 21— винты крепления кронштейна; 22 — винты крепления катушки
Реле (рис. 79) монтируется на асбоцементной доске 1 толщиной 25 мм с прессшпановой прокладкой толщиной 2 мм. На панели двумя винтами укреплен стальной оцинкованный Г-образный кронштейн 10, на котором с помощью винта крепится сердечник 19 с катушкой реле 18. Сердечник изготовлен из стали в виде цилиндра с головкой и оцинкован. Катушка реле 18 имеет каркас и крепится с помощью винтов 22 к доске.
Якорь реле, состоящий из алюминиевого коромысла 8, стальной пластины 16, плунжера 17 и двойного подвижного контакта, качается на оси 9, укрепленной в кронштейне 10. Плунжер реле 17 выполнен из оцинкованной стали в виде цилиндра, на одном конце которого имеется хвостовик с резьбой и прорезью под отвертку, а на другом—латунная напайка.
Двойной подвижной контакт, состоящий из гибкого держателя 4 с контактом и жесткого стального держателя 5 с контактом, крепится к якорю с помощью алюминиевого сухаря 7 и винта. Регулировочная пружина реле 15 прикреплена одним концом к якорю, а другим к регулировочному винту 13, ввернутому в стальную пластину 12, укрепленную с помощью двух винтов на кронштейне 10.
При возбуждении катушки реле плунжер 17, преодолевая натяжение регулировочной пружины, притягивается к сердечнику катушки и поворачивает якорь, вследствие чего нормально замкну-

Рис. 80. Реле заземления:
)—доска; 2 — угольник; 3 — болт; 4 — пружина защелки; 5 — ось; в —рычаг защелки; 7 —катушка; 8, 13 — планки; 9 — сердечник катушки; 10— якорь; //—винт крепления катушки; 12 — кронштейн; 14— угольник; 15— шунт; /6 — регулировочная пружина; 17 — регулировочный винт; 18 — изолятор; 19 — притирающая пружина; 20 — подвижный контакт; 2/ —стойки с неподвижными контактами; 22 — штырь; 23 — пружина; 24 — изолятор блокировки; 25 — клеммный угольник; 26 — контактный мостик; 27 — пружинатый блок-контакт выключается, а подвижный контакт и неподвижный 6, укрепленный на винте, замыкаются.
Для регулировки реле на ток срабатывания 0,042—0,043 а необходимо установить панель с реле вертикально. Регулировку реле на нужный ток включения производят изменением натяжения регулировочной пружины, а на ток выключения — изменением положения плунжера.
Реле заземления. Реле заземления типа Р-45Г-2 (рис. 80) предназначено для защиты силовой цепи тепловоза от токов короткого замыкания. Нормально замкнутые контакты этого реле включены в цепь питания катушки контактора возбужденияглавного генератора КВ и контактора возбуждения возбудителя ВВ (см. схему электрических соединений). При срабатывании реле заземления отключается контактор КВ, разрывающий цепь возбуждения главного генератора, вследствие чего напряжение на клеммах главного генератора становится равным нулю. Одновременно с этим разрывается цепь независимого возбуждения возбудителя.
Катушка реле одним своим выводом через выключатель заземления ВРЗ подключена к шунту силовой цепи ШГ, а другим — к каркасу высоковольтной камеры.
Реле заземления смонтировано на асбоцементной доске 1, к которой двумя винтами привернут Г-образный кронштейн 12. На кронштейне укреплены сердечник 9 с катушкой реле 7, планки 13 и угольник 14.
Якорь реле 10 качается на призме кронштейна 12. В средней части якорь изогнут и по краям имеет косые вырезы, позволяющие ему удерживаться на планках 13. К планкам 13 двумя винтами крепится угольник 14, в который ввернут регулировочный винт 17 с контргайкой и пружиной 16.
Подвижные пальцевые контакты реле состоят из изолятора 18, притирающей пружины 19 с регулировочным винтом и контакта 20 с серебряными напайками. Стойки с неподвижными контактами 21 выполнены в виде оцинкованных шпилек с серебряными напайками. Мостиковые контакты реле состоят из клеммного угольника 25 с неподвижными контактами, контактного мостика 26 с серебряными напайками, притирающей пружины 27 и штыря 22 с пружиной 23.
При невозбужденной катушке якорь реле под действием регулировочной пружины 16 устанавливается в выключенное положение. Пальцевые контакты реле при этом замкнуты, а мостиковые разомкнуты. При токе в тяговой катушке, равном 0,19 а, реле включается, якорь его притягивается к сердечнику и поворачивает планку 8, которая входит в вырез рычага защелки 6 и запирается ее пружиной 4.
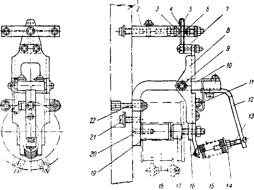
Электромагнитные вентили. Электромагнитным вентилем называется электрический аппарат, служащий для дистанционного управления впуском и выпуском сжатого воздуха.
На тепловозе ТУ2 имеется пять электромагнитных вентилей включающего типа. Три вентиля ВВ1 (рис. 81,а) служат для управления электропневматическим механизмом затяжки пружины регулятора оборотов дизеля. Два вентиля ВВ2 (рис. 81,6) предназначены для управления пневматическим приводом реверсора.
Вентиль состоит из сердечника 3 с катушкой 4, якоря 9, маг-нитопровода 10, клапанной коробки, или угольника, 6 и корпуса /, в котором размещается пневматическая система. Корпус изготовлен из отожженной стали с малым остаточным магнетизмом.
Во фланце корпуса имеется три воздушных канала А, Ц и Р. Верхний канал Ц соединен с цилиндром привода аппарата, нижний Р — с резервуаром сжатого воздуха, а канал А — с атмосферой. В корпусе вентиля проходит сквозной вертикальный канал,
имеющий по обоим концам внутреннюю резьбу,по которой снизу ввертывается пробка 16, а сверху — сердечник катушки 3. В среднюю часть канала запрессовывается бронзовая втулка 2.
Впускной клапан, прижимающийся пружиной 14 к нижнему седлу втулки 2, состоит из собственного клапана 13 и хвостовика 12. Клапан изготовлен из бронзы в виде цилиндра, имеющего на конце шайбу для упора выключающей пружины и хвостовик 12, который служит направляющей клапана. Выпускной клапан // по своим размерам и форме у вентилей ВВІ и ВВ2 различен. Нижняя

Рис. 81. Электромагнитные вентили:
/—корпус; 2 — втулка; 3 —сердечник; 4 — катушка; 5—латунные штифты; в —клапанная коробка, или угольник; 7 —пуговка, или штифт; в —пружина; 9 — якорь; 10 — магнитопровод; // —клапаи выпускной; 12 — хвостовик впускного клапана; 13 — клапан впускной; /4 —выключающая пружина; 15 — уплотиительные шайбы; 16 — пробка; А, Р,
Ц — каналычасть его у вентиля типа ВВІ имеет диаметр 9 мм, а у вентиля ВВ2— 5,3 мм. Оба вентиля отличаются друг от друга также и диаметрами расточек верхнего и нижнего седел втулки 2. У вентиля ВВІ верхнее отверстие имеет диаметр 2 мм, а нижнее — 1,7 мм; у вентиля ВВ2 эти отверстия имеют диаметры соответственно 3, 6 и 2,9 мм.
Сердечник катушки 3 выполнен из отожженной стали в виде втулки со штуцером на одном конце и бортиком на другом. Штуцером сердечник с надетой на него втягивающей катушкой 4 ввертывается в корпус 1 и стопорится винтом. Для предотвращения прилипания якоря 9 к сердечнику 3 в торец его бортика запрессовывают латунные штифты 5.
Катушка 4 каркасного типа, двухсекционная. Намотка обеих половин катушки производится от средней шайбы в противоположные стороны. Магнитопровод вентиля ВВІ выполнен из стальной оцинкованной пластины и несет на себе угольник 6. Магнитопровод вентиля ВВ2 имеет Г-образную форму, к нему винтами прикреплена клапанная коробка 6 с крышкой.
У обоих вентилей якорь 9 лежит одним своим концом на торце магнитолровода, а другим на стержне выпускного клапана. В угольнике 6 вентиля ВВІ установлен штифт 7 с пружиной 8, прижимающей якорь 9 к стержню выпускного клапана, а в крышке вентиля ВВ2— пуговка 7 с возвратной пружиной 8 под колпачком.
При прохождении тока по катушке 4, под действием возникающего в магнитопроводе магнитного потока, якорь 9 притягивается к сердечнику 3. Якорь 9 давит на стержень выпускного клапана //, который, преодолевая давление сжатого воздуха и пружины, садится на свое гнездо и отжимает впускной клапан 13, вследствие чего сжатый воздух из резервуара по каналу Р, через зазор между впускным клапаном 13 и седлом по каналу Ц пойдет в привод аппарата.
При обесточенной катушке вентиля сжатый воздух и возвратная пружина прижмут впускной клапан к седлу, а его хвостовик поднимет выпускной клапан, вследствие чего канал Ц сообщится с атмосферой, а канал Р надежно закроется впускным клапаном.
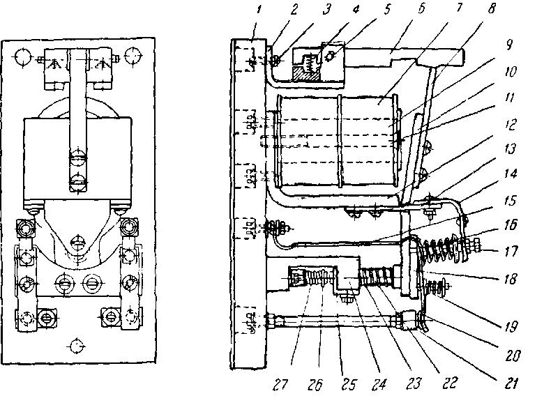
Регулятор напряжения. Поддержание постоянства напряжения вспомогательного генератора при переменной нагрузке и переменных оборотах его якоря осуществляется с помощью специального аппарата — регулятора напряжения.
Панель регулятора напряжения типа ПР-29А-1 (рис. 82) смонтирована на специальной панели, на которой размещены: собственно регулятор / типа СРН-2В, промежуточное реле 4 типа Р45Ж, четыре конденсатора 2 типа В-ЗК-153 по 0,5 мкф, из которых два являются запасными, и пять трубок сопротивлений 3 типа ТСБ:

Рис. 82. Панель регулятора напряжения:
/ — регулятор; 2— конденсаторы; 3— сопротивления; 4— промежуточное реле; 5 —панель (доска)
сопротивление РО — трубка ТСБ-5, сопротивление Я1 — трубка-ТСБ-55, сопротивление Я2—трубка ТСБ-14 и сопротивления /?<? и Я4 — трубки ТСБ-40.
Регулятор напряжения (рис. 83) состоит из стальной оцинкованной скобы (ярма) 1, в которую впрессована стальная втулка 2, сердечника 3 с неподвижной катушкой 16, подвижной катушки 5, намотанной на латунный цилиндр, якорной пластинки 4, подвижного контакта 10, двух неподвижных контактов 9 и 11, регулировочной пружины 12 и регулировочного винта 14.
Сердечник 3 выходит за пределы неподвижной катуш-

Рис. 83. Регулятор напряжения:
/ — ярмо; 2 — стальная втулка; 3 —сердечник неподвижной катушки; 4—якорные пластинки; 5—подвижная катушка; 5—изоляционная планка;
7_держатель подвижного контакта; в— биметаллические пластины;
5 —неподвижный контакт (серебряный); 10 —подвижный контакт; // —неподвижный контакт (угольный); 12 —регулировочная пружина; /3—держатель пружины; /4 —регулировочный винт; 15 — скоба; 16 — неподвижная катушкаки 16 и проходит внутри стальной втулки 2, образуя кольцевой зазор, в котором вдоль оси сердечника перемещается подвижная катушка 5, один конец обмотки которой припаян к ее каркасу, а второй имеет гибкий вывод.
Якорь регулятора, представляющий собой фигурный рычаг из двух алюминиевых пластинок, нижним концом крепится к кар касу подвижной катушки. Верхний конец якоря на изоляционной планке 6 несет на себе держатель 7 подвижного контакта 10. Якорь качается на оси, оканчивающейся призмами, которые опираются на стальную скобу, укрепленную в верхней левой части ярма.
Регулировочная пружина 12 одним концом крепится к валику, расположенному между боковыми пластинами якоря, несколько выше оси его качания. Второй конец ее закреплен в специальном держателе 13, в который ввернут регулировочный винт 14.
Подвижной контакт 10 и правый неподвижный 11 графитовые, а левый неподвижный контакт 9 — из серебра. Неподвижные контакты подвешиваются на биметаллических пластинах 8, прикрепленных к стальным угольникам.
Биметаллические пластины при нагреве изгибаются и сдвигают неподвижные контакты относительно оси подвижного контакта на 1—2 мм, чем обеспечивается равномерный износ контактов.
Промежуточное реле Р-45Ж представляет собой реле постоянного тока клапанного типа с нормально замкнутыми контактами.
Трубчатые эмалированные сопротивления типа ТСБ расположены на панели регулятора горизонтально в два ряда.
Аппараты управления. К аппаратам управления, установленным на тепловозе, относятся реверсор, контроллер машиниста, кнопочные выключатели, выключатели и переключатели. Все они, за исключением реверсора, имеют ручной непосредственный привод. Реверсор, установленный в высоковольтной камере, имеет электропневматическое дистанционное управление.
Контроллер машиниста. На тепловозе ТУ2 установлен контроллер машиниста типа КВ-8А-6 (рис. 84).
Контроллер вмонтирован в корпус, состоящий из уголков 1 и двух чугунных крышек 4 и 14. В корпусе размещены: главный вал 8 с укрепленными на нем шайбами фиксатора 7 и барабаном, состоящим из кулачковых шайб 20, реверсивный вал 3 с барабаном 10, текстолитовая панель 9, на которой размещены восемь неподвижных контактов, текстолитовая панель 11 с восемью пальцами 12 и 13 и блокировочное устройство.
Главный вал вращается в двух латунных подшипниках, установленных в верхней и нижней крышках контроллера. На концах обоих валов расположены рукоятки 5 и 6. Рукоятка 6 главного вала имеет восемь рабочих позиций и одну позицию холостого хода; рукоятка 5 реверсивного вала имеет три положения: «Вперед», «Выключено» и «Назад».
На реверсивном барабане расположены две кулачковые шайбы, а на главном— шесть.
Неподвижный контакт состоит из планки 29 и серебряной наплавки 28. Контактный палец, представляющий собой подвижный контакт, состоит из угольника 21, пальца 24, ролика 23, включающей пружины 22, притирающей пружины 26, шунта 25 и серебряной наплавки 27. Палец 24, изготовленный из оцинкованной стали толщиной 1 мм П-образного профиля, крепится к угольнику шар нирно. При вращении кулачка ролик 23, прижимаемый пружиной 22 свободно перекатывается по его пэверхности и в зависимости от профиля кулачка включает или выключает палец 24.

Рис. 84. Контроллер машиниста:
/—уголки; 2 — планки для крепления; 3 —реверсивный вал: 4 —крышка верхняя; 5 —реверсивная рукоятка; б —главная рукоятка; 7 —шайбы фиксатора; Я —главный вал; 9 — панель с неподвижными контактами; 10 — реверсивный барабан; 11—панель с контактными пальцами; 12—пальцы реверсивные; 13 — пальцы контактные; /4 —крышка нижняя; 15 — собачки: 16 — пружины собачек; 17 — фиксатор блокировки; 18 — пружина фиксатора; 19 — зубчатый сектор; 20 — шайбы контроллера; 21 — угольник; 22 — пружины включающие; 23 — ролик; 24—палец; 25—шунт; 26—притирающая пружина; 27 — серебряная наплавка пальца; 28 — серебряная наплавка неподвижного контакта; 29 — планка неподвижного контакта
Главная и реверсивная рукоятки контроллера машиниста механически сблокированы между собой. Реверсивная рукоятка может быть переведена в одно из крайних положений «Назад» или «Вперед» только в том случае, если рукоятка главного барабана находится в положении «Холостой ход». В свою очередь главная рукоятка контроллера может быть переведена на рабочие позиции только в том случае, если реверсивная рукоятка установлена в положение «Назад» или «Вперед».
Реверсивную рукоятку можно снимать только в положении «Выключено». При снятии реверсивной рукоятки контроллер заперт и перевод главной рукоятки в рабочее положение невозможен.
Блокировочное устройство состоит из двух зубчатых шайб 7, укрепленных на главном валу 8, сектора 19 с тремя выемками, ко-

Рнс. 85. Реверсор:
/—стойки; 2— пневматический привод: 5 —включающий вентиль; 4— палец защелкн; 5 —вал; б —барабан блоки- . ровки; 7—кронштейн; 8—масленка; 9 —держатель блокировочных пальцев; 10— защелка; / / — пальцедержатель; 12 — контактная пластина; 13 — шунт; 14 — штифт пальца; 15 — силовой палец; 16 — планка; 17 — пальцедержатель; 18—фибровая прокладка; 19 — силовой сегмент; 20 — болты, стягивающие силовые сегменты; 21—болты, стягивающие пальцедержатели; 22 — изоляция стоек; 23 — пальцедержа-тели; 24—блокировочные пальцы; 25 — сегменты блокировочные; 26 —деревянные колодки; 27 — сегментодержа-тель; 28 — изоляция валаторый крепится на реверсивном валу 3, фиксатора 17, собачек 15 и пружин 16 и 18.
При переводе реверсивной рукоятки контроллера из положения «Вперед» или «Назад» в положение «Выключено» сектор 19 повора чивается так, что зуб фиксатора из одной крайней глубокой выемки перемещается в среднюю неглубокую выемку. Фиксатор 17, растянув пружину 18, повернется вокруг своей оси и войдет вторым зубом в выемку шайбы 7. В таком положении главная рукоятка контроллера оказывается запертой и не может быть переведена из положения «Холостой ход» в рабочее.
При установке реверсивной рукоятки в одно из крайних положений сектор 19 поворачивается таким образом, что фиксатор 17 под действием пружины 18 войдет одним своим зубом в глубокую выемку сектора, а другим выйдет из шайбы 7. В таком положении главную рукоятку контроллера можно ставить на любую позицию.
Рабочие позиции главной рукоятки контроллера фиксируются собачками 15, которые прижимаются к храповику пружинами 16.
Если главная рукоятка контроллера находится на одной из рабочих позиций, то шайба 7 оказывается повернутой, вследствие чего выемка в нижней шайбе не совпадает с зубом фиксатора. В таком положении реверсивная рукоятка не может быть переведена в положение «Выключено», что исключает реверсирование тепловоза под током.
Реверсор. С помощью реверсора производится переключение концов обмоток возбуждения тяговых электродвигателей, чем изменяется направление тока в них. Изменение направления тока приводит к изменению направления вращения якоря электродвигателя, а значит, к изменению направления движения тепловоза.
На тепловозе ТУ2 установлен реверсор типа ПР-159А-1 (рис. 85), состоящий из двух изолированных стоек /, кронштейна 7, вала 5 и пневматического привода 2.
Стойки / верхними концами крепятся к кронштейну 7, а нижними к корпусу пневматического привода 2. Вал 5, реверсора вращается в бронзовых подшипниках, укрепленных в кронштейнах. Вал реверсора и стойки изолируются. Сегменты 19, отлитые из свинцовистой бронзы, крепятся на валу при помощи болтов 20. Сегменто-держатель 27 представляет собой стальную отливку, на которой укреплены две деревянные колодки 26 из пропитанного ясеня с медными сегментами 25.
На каждой стойке / размещены восемь бронзовых держателей // силовых пальцев и один держатель 9 блокировочных пальцев. Паль-цедержатели 17 контактными пластинами 12 соединяются попарно; каждая пара имеет четыре силовых пальца.
Блокировочные пальцы 24 реверсора, выполненные из стальной ленты, крепятся к пальцедержателям 23, которые изготовлены из пропитанного ясеня.
Привод реверсора (рис. 86) представляет собой двухцилиндровый пневматический механизм, управляемый двумя включающими электропневматическими вентилями ВВ-2А.
Поршни 4 привода соединены между собой ползуном. Штифт 5 ползуна входит в малую вилку мотыля 9.
При питании катушки электропневматического вентиля ВВ-2А того или иного пневматического цилиндра, сжатый воздух поступает в цилиндр, давит на поршень 4 и перемещает его, а вместе с ним и ползун. Мотыль вала поворачивается сам и поворачивает вал реверсора с сегментами. Сегменты, повернувшись вместе с валом, обеспечат то или иное включение обмоток возбуждения тяговых электродвигателей в силовую цепь.
При прекращении питания катушки электропневматического вентиля сжатый воздух выходит из цилиндра в атмосферу.

Рис. 86. Привод реверсора:
/ — цилиндр; 2 —пружинные шайбы; а —кожаная прокладка; 4 — поршень; 5—штифт; 6—болт; 7 — стойка; 8 — крышка; д — мотыль; 1о — болт; // — масленка; 12 — вал;
13 — вентиль
Кнопочный выключатель. Кнопочный выключатель служит для управления цепями запуска дизеля, топливного насоса, возбуждения вспомогательного генератора и освещения. На тепловозе установлен выключатель типа ВК-2, представляющий собой панель, на которой в один ряд размещены 12 кнопок с контактами и приспособление для запирания кнопок (замок). Панель вместе с кнопками и замком встроена в пульт управления тепловозом. Из-за малых габаритов пульта две кнопки управления лобовым прожектором сняты с общей панели выключателя ВК-2 и перенесены в среднюю часть пульта.
Из двенадцати кнопок выключателя ВК-2 две кнопки, управляющие цепями запуска первого и второго тепловозов, снабжены возвращающей пружиной. Каждая кнопка (рис. 87) состоит из двухнеподвижных пальцев 5, укрепленных на деревянной рейке 10, подвижного контактного ползуна 4, который стержнем 2 связан с головкой кнопки 1. Подвижной контактный ползун 4, изготов-

Рис. 87. Кнопки кнопочного выключателя:
а—с возвращающей пружиной; б —без возвращающей пружины: /—головка кнопки; 2—стержень; 3 —контактная пластина; 4 — ползун; В — неподвижные пальцы; 6 — винт пальца; 7 —изолятор; « — стальная планка; 9 — винты планки; 10 —деревянная рейка; //—пружина возвратная; 12 — валленный из фибры, имеет канавку для фиксации кнопки в выключенном положении и медную контактную пластину 3, замыкающую пару контактных пальцев 5. Замок, служащий для запирания кнопок, состоит из вала 12 с рожками и съемного ключа.
Сопротивления. В различных цепях электрической схемы тепловоза установлены сопротивления, которые служат для огра ничения и регулирования величин токов. Сопротивления собраны на панелях. На тепловозе установлены сопротивления типов СР, ТС, ПЭ и КФ.
Сопротивление типа СР представляет собой фарфоровую трубку с винтовыми желобками, в которые уложена константановая или нихромовая проволока.
Сопротивления типов ТС и ПЭ также состоят из фарфоровой трубки (рис. 88), на поверхности которой уложена проволока с высоким удельным сопротивлением. Поверхность трубки с намотанной на ней проволокой покрывается стекловидной эмалью, защищающей проволоку от окисления и межвиткового замыкания. У сопротивлений типа ПЭ эмалью покрывается вся активная поверхность

Рис. 88. Сопротивление типа ТС:
/—фарфоровая трубка; 2 — стержень; 3 — фарфоровая втулка; 4 — стойка; 5 — гайка; б —хомут; 7 —винт хомута; 8 — гибкие выводитрубки; у сопротивлений типа ТС по всей длине трубки оставляется полоса, не покрытая эмалью. На такой трубке дополнительно устанавливается контактный хомут 6 с перемычкой.
Сопротивление типа КФ состоит из стального держателя, на котором крепятся фарфоровые изоляторы с канавками, и фехрале-вой ленты, навиваемой по канавкам изоляторов на ребро.
Предохранители. Для защиты от токовых перегрузок и коротких замыканий цепей управления, возбуждения и освещения на тепловозе установлено 14 предохранителей, из них два — на 30 а, один — на 20 а, один — на 15 а и десять — на 5 а.
Предохранители на 20 и 30 а установлены в высоковольтной камере, остальные — в пульте управления тепловозом.
Предохранители на 5 и 15 с выполнены в виде фибровой трубки, на обоих концах которой установлены латунные колпачки. Внутри трубки впаяна медная вставка из проволоки диаметром соответственно 0,15 и 0,35 мм. Предохранители на 20 и 30 а представляют собой фибровую трубку 5, на концы которой надеты и прикреплены к ним штифтами 7 латунные втулки 4 с резьбой (рис. 89). Плавкая вставка 6 в виде оцинкованной пластины с двумя шейками двумя болтами прикрепляется к контактным ножам /, которые удерживаются двумя колпачками 2, навернутыми на втулки 4.
Защита плавких вставок от скручивания при сборке предохранителя осуществляется шайбами 8.
Соединительная аппаратура. К соединительной аппаратуре, установленной на тепловозе, относятся междутепловозные соединения, клеммовые рейки и штепсельные розетки.

Рис. 89. Предохранители:
/—контактные ножи; 2—колпачок; а —болты, крепящие вставку; 4 — втулка; 5—трубка; б —плавкая вставка; 7—штифты; 8— шайба фасонная
Междутепловозное соединение (рис. 90) состоит из двух концевых розеток (по одной на каждом конце тепловоза) и одного шест-надцатижильного кабеля, несущего на своих концах два штепселя.
Разрез по В8

Рис. 90. Междутепловозное соединение:
/ — корпус розетки; 2 —крышка с зубом; 3 — ось; 4 — пружина; 5 —корпус штепселя; в —резиновая шайба; 7 —накидная гайка; в— направляющий винт; 9 — изоляционная шайба штепселя; 10 — гнездо контактное; //—изоляционная шайба розетки; /2 —пружинящая шайба; 13 — штырь контактный; 14 — наконечник; 15 — резиновая прокладка; 16 — вннты крепления шайб; А, Б — полости
Розетка типа Р32А-1 остоит из литого чугунного корпуса / с крышкой 2, вращающейся на оси 3, и пружины 4, прижимающей крышку 2 к корпусу розетки. В корпусе тремя винтами укреплена изоляционная шайба 11 с шестнадцатью отверстиями, в которые вставлены бронзовые контактные штыри 13. Между заплечиками штырей и изоляционной шайбой поставлена пружинящая шайба 12.
В хвостовики контактных штырей ввернуты зажимы, которые одновременно являются наконечниками проводов.
Для улучшения изоляции шайбы 11 от корпуса розетки между ними ставится резиновая прокладка 15. Крышка розетки имеет уплотнение, обеспечивающее необходимую герметичность и зуб, запирающий вставленный в розетку штепсель. Для создания хорошей изоляции и устранения возможности попадания и скопления в розетке влаги полость А заливается компаундной массой с температурой плавления около 90°С.
К раме тепловоза розетка крепится специальным приливом, имеющимся на ее корпусе.
Штепсели типа ШУ-2А смонтированы в литом чугунном корпусе 5, имеющем полость Б для ввода шестнадцатижильного кабеля. Внутри корпуса с помощью винтов укреплена изоляционная шайба 9 с шестнадцатью контактными гнездами. Уплотнение кабеля в горловине штепселя осуществляется резиновой шайбой 6 и накидной гайкой 7.










