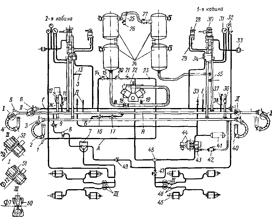
Воздухопровод тормоза
Тепловоз оборудован электропневматическим тормозом, воздушная схема которого показана на рис. 164. Для обеспечения тормозной системы и других устройств воздухом на тепловозе установлен тормозной компрессор типа КТ7. Тормозной компрессор трехцилиндровый, двухступенчатый (два цилиндра низкого давления и один цилиндр высокого давления) с промежуточным охлаждением воздуха между ступенями путем прохождения его через холодильник компрессора; воздух охлаждается четырехлопастным вентилятором. Эффективная производительность компрессора при п = 270 об/мин не менее 1,75 м3/мин, при п = 400 об/мин — не менее 2,6 м3/мин и при п = 850 об/мин — 5,3—5,7 м3/мин.
Потребляемая компрессором мощность при давлении 9 кгс/см2" колеблется от 15 до 60 л. с. в зависимости от частоты вращения вала.
Включение компрессора происходит при давлении в главных резервуарах 7,5 кгс/см2, а выключение при достижении давления 9 кгс/см2, после чего нагнетание воздуха прекращается и компрессор работает вхолостую. Режимами работы компрессора управляет регулятор давления № ЗРД.
При работе тепловозов по системе многих единиц компрессоры их блокируются и оба компрессора работают с одним регулятором давления. Воздух от компрессора подается в четыре одинаковых, соединенных между собой главных резервуара. Общий объем главных резервуаров равен 1000 л; эти резервуары взаимозаменяемы с резервуарами тепловозов ТЭЗ. Тепловозы до № 0289 оборудовались тремя главными резервуарами общим объемом 1030 л, при этом один из резервуаров объемом 430 л, а два других по 300 л каждый. Главные резервуары расположены в кузове тепловоза. Из них воздух поступает в питательную магистраль, а оттуда через кран машиниста усл. № 395 — в тормозную магистраль.
Из питательной магистрали воздух поступает в систему автоматического управления тепловозом, к песочницам, автостопу и другим приборам. Управление тормозами тепловоза и поезда осуществляют краном машиниста усл. № 395 и краном вспомогательного тормоза усл. № 254; одновременная работа обоих кранов устройством пневматической схемы тормоза исключается.
Пневматическая схема тормоза выполнена таким образом, что питание воздухом тормозных цилиндров передней тележки при работе
на пневматических тормозах осуществляется из запасного резервуара через воздухораспределитель усл. № 292 и через электровоздухораспределитель усл. № 305 при работе на электропневматических тормозах. Питание воздухом тормозных цилиндров задней тележки осуществляется через реле давления усл. №304.
На тепловозах установлены блокировочные устройства тормозов усл. № 367, предназначенные для обеспечения правильного включения тормозной системы тепловоза при смене кабины управления.

Рис. 164. Воздухопровод тормоза:
J — шланг дюрнтовый J2X5; 2 — рукав соединительный № 369А; 3, 5, 6— краны концевые № 190; 4 — рукав соединительный Р17 ГОСТ 2593—55; 7 — реле давления № 304.002; « — клапан максимального давления ЗМД; 9, 17, 27, 47, 49 — краны разобщительные ZU" Кч 379; 10, 14, 38 — краны разобщительные Чг" № 383; //, 15, 29, 37 — фильтры Э-114; 12, 27, 36, 42 — краны разобщительные № 377; 13, 35 — краиы проходные; 16 — обратный клапан 7э" Э-175; 18 — обратный клапан l'A" Э-155; 19 — клапан предохранительный Э-216; 20 — регулятор давления ЗРД; 21, 23 — краны разобщительные '/«" № 4200; 22 — компрессор КТ7; 24—главный резервуар У —250 л; 25 — маслоотделитель Э-120Т; 26 — кран спускной № 4360; 28 — кран вспомогательного тормоза усл. № 254; 30 — кран машиниста с контроллером усл. № 395; 31 — манометр с двумя стрелками MT-1-J50; 32 — манометр уравнительного резервуара и тормозных цилиндров МТК 100X10. цена делений 0,2 кл точности 1,5; 33 — резервуар уравнительный V=20 л; 34 — устройство блокировки тормозов усл. № 367.000А; 39 — клапан выпускной одинарный; 40 — изолированная подвеска; 41 — резервуар запасной У—78 л; 43 — воздухораспределитель пассажирского тормоза усл. № 292.001; 44 — электропневматический воздухораспределитель с кронштейном усл. № 305; 45 — тормозной цилиндр 10" № 507Б; 46 — рукав Р32; 48 — переключательный клапан ЗПК; 50 — штуцер с калибровкой диаметром 7 мм; 51 — шайба с калибровкой диаметром 12 мм, 52 — шайба с калибровкой диаметром 7 мм; А — магистраль блокировки компрессоров; Б — магистраль тормозная; В — магистраль питательная; Г — магистраль вспомогательного тормоза; Д — отвод к воздухопроводу автоматики; £ — отвод к воздухопроводу песочной системы; Ж — отвод к крану автостопа; 3 — отвод к скоростемеру
Блокирование производится ручкой, которая может быть надета и снята только в верхнем положении — при заторможенном автоматическом тормозе. На тепловозе имеется одна съемная ручка, вследствие чего обеспечивается принудительное разобщение воздухопроводов в нерабочей кабине и соединение их в рабочей кабине.
Комбинированный кран, включенный в блокировочное устройство, позволяет производить экстренное торможение из любой кабины машиниста. Входящий в систему блокировочного устройства сигнализатор оповещает машиниста о разъединении тормозной магистрали или открытии стоп-крана, а также об окончании зарядки тормозной сети поезда.
При следовании тепловоза в холодном состоянии блокировочные устройства в обеих кабинах выключаются.
Для повышения эффективности действия тормозов при высоких скоростях движения тепловозы ТЭП60 № 0074, 0075 и 0076 были оборудованы опытными скоростными тормозами (автоматическими регуляторами) и противогазными регуляторами, предохраняющими колесные пары от скольжения по рельсам. При применении скоростного тормоза величина тормозной силы изменяется в зависимости от скорости движения поезда.
Двухступенчатое регулирование нажатия тормозных колодок происходит путем изменения давления в тормозных цилиндрах: в диапазоне скоростей 160—65—55 км/ч давление в тормозных цилиндрах устанавливается 4,2 кгс/см2, в диапазоне скоростей 65—55—0 км/ч давление в тормозных цилиндрах устанавливается 2,4 кгс/см2.
Тепловозы, оборудованные скоростными тормозами, имеют секционные тормозные колодки, которые обеспечивают работу тормозов при двух коэффициентах нажатия колодок: в диапазоне высоких скоростей коэффициент нажатия равен 1,21, в диапазоне низких скоростей — 0,652.
В 1967 г. были построены два опытных тепловоза ТЭП60 № 193 и 194 с электрическим тормозом. От применения электрического тормоза, помимо сокращения тормозного пути, ожидается также снижение расхода тормозных колодок и увеличение срока службы бандажей. Опытные конструкции тормозов к настоящему времени не вышли из стадии эксплуатационной проверки.










