Рама поддизельная
Рама (рис. 8) изготовлена из стальных листов, сваренных электросваркой. К верхней плоскости рамы крепятся болтами блок дизеля и станина генератора. Положение блока фиксируется четырьмя призон-ными болтами, а станина генератора — прокладками под его лапами и призонными коническими штифтами. Стык между рамой и блоком уплотнен паронитовой прокладкой, смазанной герметизирующей пастой.
Нижней опорной поверхностью лап рама установлена на фундамент при помощи резинометаллических амортизаторов, устраняющих вредное влияние ударных нагрузок экипажа тепловоза на движущиеся детали дизеля, а также обеспечивающие звуко- и виброизоляцию кузова тепловоза от дизеля. С дизеля 11Д45 № 11 опорные лапы рамы выполнены горизонтальными.
От продольного смещения при резком торможении или при столкновении с подвижным составом дизель удерживается четырьмя такими же амортизаторами, устанавливаемыми в специальные вырезы между ребрами лап рамы.
Нижняя часть рамы, поддон, является сборником всего масла системы дизеля. В нем расположен закрытый сеткой приемник с трубой, по которой масло подводится к насосу. Масло из воздушного ресивера блока цилиндров сливается в специальные полости рамы по трубкам 3. Полости сообщены с атмосферой сигнальными отверстиями в штуцерах 23. Из сигнальных отверстий при работе дизеля постоянно выходит воздух, и только в случае переполнения полости начинает поступать масло. Не следует допускать переполнения этих полостей маслом, а также нельзя закрывать сигнальные отверстия в штуцерах. Невыполнение этого указания неизбежно приведет или к «разгону» дизеля с полным выходом его из строя (при длительной работе на холостом ходу), или к взрыву паров масла и к их воспламенению с выбросом пламени в дизельное помещение (при работе дизеля на большой мощности.) Учитывая это, необходимо один раз за поездку удалять масло из обеих полостей, открыв на непродолжительное время краны. Полости очищают от осадка через люки.
До дизеля 11Д45 № 76 масло из воздушного ресивера блока сливалось в специальные бачки, установленные на верхнюю плоскость рамы. Все изложенное выше действительно и для дизелей 11Д45 с № 1 по № 76.

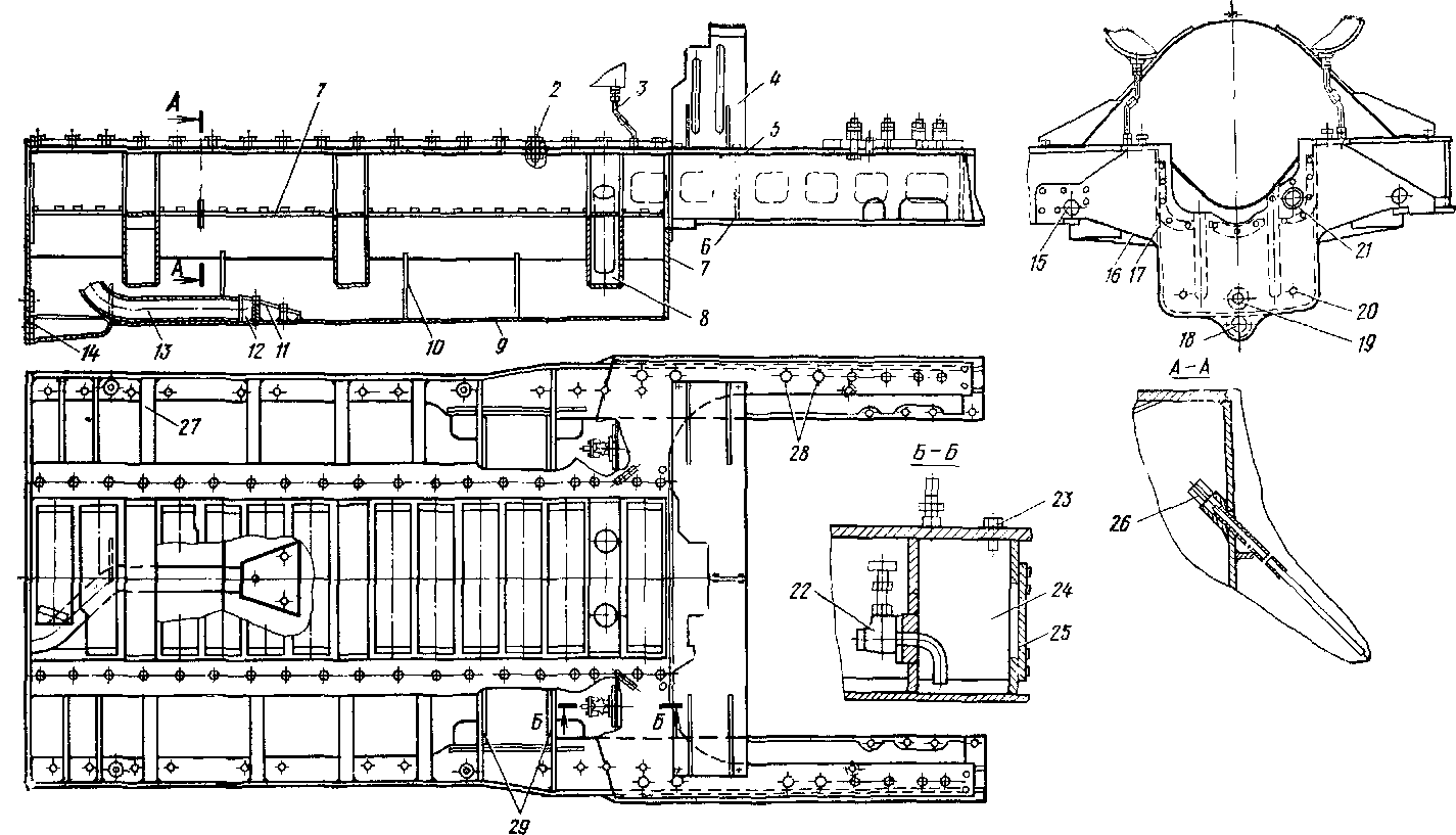
Рис. 8. Рама поддизельная:
/ — сетка пеногасительяая; 2 —болты крепления блока цилиндров; 3 — трубка слива масла из воздушного ресивера; 4 — кожух муфты; 5, 6 — листы горизонтальные; 7, 14 — листы торцовые; 8 — балка коробчатая: 9 — поддон; 10 — переборка, II — сетка защитная; 12 — патрубок приемный; 13 — труба; 15, 28 — отверстия для подъема дизель-генератора; 16 — лист нижний правый. 17 — лист боковой; 18 —- отверстие для слива масла из ванны; 19 — отверстие для отвода масла к маслопрокачивающему насосу; 20 — отверстия для слива масла из бачка системы вентиляции картера; 21 — отверстие для прохода масла к масляному насосу; 22 -— кран для слива масла из полости 24; 23 — штуцер с сигнальным отверстием, 24 — полость для слива масла нз воздушного ресивера; 25 — крышка для очистки полости 24 после слива масла; 26 — щуп для замера уровня масла. 27 — ребро; 29 — упор для установки амортизаторов
При заводском ремонте дизеля необходимо тщательно осмотреть, нет ли в поддизельной раме трещин. В случае обнаружения трещин технологию исправления дефекта следует согласовать с заводом-изготовителем дизеля.










