Кузов
Боковые стенки кузова (рис. 120) выполнены из вертикальных и наклонных стоек, которые придают ему достаточную жесткость и прочность. Нижние концы элементов стенок приварены к боковой об-носной балке рамы кузова, а верхние — к швеллерной балке № 16, которая идет по всему контуру каркаса и является опорной балкой для приварки элементов каркаса крыши кузова. В зоне камеры охлаждающего устройства имеется дополнительный каркас, состоящий из поперечных и продольных швеллеров, наклонных стоек для установки гидромоторов, щитов для доступа к воздуховодяным секциям.
Каркас крыши (рис. 121) состоит из поперечных дуг, соединенных продольными элементами. Каркасы над обеими кабинами и над охлаждающим устройством приварены к верхнему швеллеру. В зоне охлаждающего устройства к каркасу прикреплены два диффузора для вентиляторов холодильника. Между ними вварен наполнительный бак водяной системы охлаждающего устройства.

Рис. 120. Каркас кузова: / — каркас холодильника; 2 — каркас боковой стенки; 3 — каркас углов крыши; 4 —
каркас кабины

Рис. 121. Каркасы крыши кузова: / — каркас крыши передней кабины; 2 — каркас боков крыши; 3 — каркас крыши над холодильником, 4 — наполнительный бак, 5 — диффузор холодильника; 6 — каркас крышки задней» кабины; 7 .— ниша для прожектора
Над дизельным помещением каркас находится лишь по бокам крыши, дуги которого приварены к верхнему швеллеру. По концам каркаса кузова расположены каркасы кабин машиниста, они приварены к раме и к основному каркасу кузова и имеют общую крышу. Посередине крыша закрывается съемными люками (рис. 122). Всего имеется пять крупных люков, каждый из которых может сниматься. Большое количество болеее мелких люков потребовала эксплуатация на ссновании опыта ремонтных работ на первых тепловозах. Через люк 5 заливают масло в фильтр-бак гидростатического привода, через люк
7 вынимают кассеты масло-пленочного воздушного фильтра дизеля.
8 люках крыши имеются окна, часть из которых открывается. Через окно люка / имеется возможность выхода на крышу, что отмечено надписью, и предусмотрен поручень.

Рис 122. Люки крыши кузова:
/ — люк над высоковольтной камерой; 2 — люк иад генератором; 3 — люк над дизелем; 4 — люк над воздуходувкой дизеля: 5 — люк над масляным баком; 6 — люк над резервуаром противопожарной установки; 7 — люк над воздушным фильтром дизеля

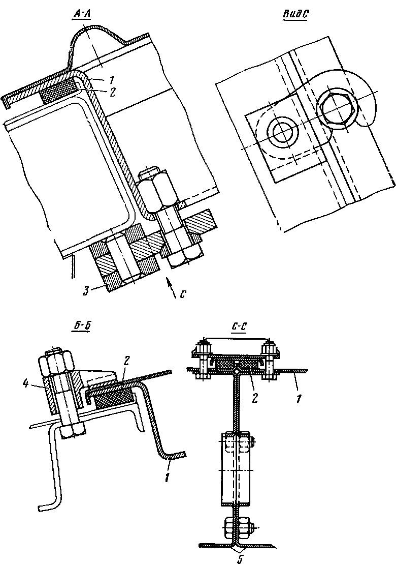
Рис. 123. Типовые крепления люков крышки (см. сечения на
рис. 122):
/ — люк; 2 — резиновые уплотнения; 3 — замок; 4— зажим; 5—поперечные
балки
На рис. 123 показаны типовые крепления люков к крыше с резиновыми уплотнениями. В сечении С—С показано крепление смежных люков между собой. Такая конструкция крепления люков в противоположность соединениям с помощью большого числа болтов, как было выполнено на тепловозах первого выпуска, упростила демонтаж и монтаж соединений. Качество соединений люков с крышей проверяется на тепловозе на водонепроницаемость.
Помимо силовых элементов, все каркасы имеют второстепенные звенья, образующие оконные проемы, опорные планки, к которым крепится обшивка, полы кузова и др. Каркасы кузова, крыши и люков выполнены из гнутых профилей с толщиной стенок от 2 до 6 мм. Материалы их — сталь 20 с гарантией на свариваемость. Каркасы будок и крыши изготовлены отдельно в специальных приспособлениях, обеспечивающих стабильность размеров после сварки, а следовательно, возможность стыковки без сложной подгонки к смежным узлам; каркасы боковых стенок изготовлены вместе с верхним швеллером № 16 на большой плите. Изготовленные узлы отправляют на сборочный кантователь кузова.
Боковые стенки между передней кабиной машиниста и холодильником дизеля обшиты алюминиевыми листами толщиной 3 мм, приклепываемыми заклепками диаметром 6 мм к элементам боковых стенок. Радиусная часть крыши обшита стальными листами толщиной 2 мм, остальные поверхности — 1,5 мм.
Все двери наружные и внутренние, а также большая часть деталей боковых окон и люков, через которые забирают воздух для охлаждения электрических машин, отштампованы из стальных листов толщиной 2 мм.
Боковые стенки кузова, крышу, люки в зоне дизельного помещения изолируют пенопластом ПСБ-С* и обшивают стальными листами толщиной 0,8 мм. На тепловозах прежних выпусков изоляцию производили дефицитным полиуретановым пенопластом ПХВ-Э, обшивку — перфорированными стальными листами. Пенопласт ПСБ-С легче пенопласта ПХВ-Э в 4—5 раз, имеет примерно одинаковые коэффициенты теплопроводности. Установлено, что шумность в дизельном помещении при обеих изоляциях одинакова. Толщина изоляции ПСБ-С на боковых стенках равна 50 мм, на воздушную прослойку остается 10 мм. Сплошная внутренняя обшивка дизельного помещения принята с целью устранения проникновения пламени через отверстия перфорированных листов в случае пожара в дизельном помещении.
На сборочном кантователе (рис. 124) несущего кузова первоначально устанавливают раму; ее опирают на четыре стойки, заменяющие собой соответствующие опоры на тележках; по высоте они так подобраны, что создают раме обратный прогиб не более 6 мм, с таким расчетом, чтобы при сборке тепловоза, когда установится дизель-генератор, рама кузова под действием его веса приняла бы горизонтальное положение. Затем устанавливают остальные части каркасов: самого кузова, боковых' ферм, кабины машиниста, крыш. Для взаимной установки перечисленных узлов кантователь имеет фиксаторы. Сборочный кантователь позволяет получить правильную геометрию и качественно сваренный несущий кузов пассажирского тепловоза. После окончания сборки несущего кузова его направляют на стенд для наружной и внутренней обшивки, для оборудования его окнами, дверьми, крышевыми люками и др. На этом же стенде приваривают
* С марта 1972 г. изоляция отменена.

Рис. 124. Сборочный кантователь несущего кузова

Рис. 125. Соединение секции тепловоза 2ТЭП60
до обшивки все бонки и кронштейны для крепления ряда узлов, обслуживающих дизель.
У двухсекционных тепловозов 2ТЭП60 имеется незначительное изменение в лобовой части задней кабины, вызванное необходимостью перехода из одной секции в другую во время следования тепловоза (рис. 125). Лобовая часть кабины имеет в средней части две вертикальные стойки, между которыми вверху размещается окно. Проем между стойками используют для переходной двери, открывающейся наружу. Дверь (560 X 1500 мм) хорошо уплотнена (рис. 126). Снаружи на лобовую часть крепятся четыре цилиндра 5 большого диаметра, в них входят вместе с пружинами четыре цилиндра 4 меньшего диаметра. К малым цилиндрам при помощи шарниров навешен каркас /. Между лобовой стенкой кабины и каркасом 1 по всему периметру перехода укреплены меха 2, а снизу расположены переходные площад-

Рис. 126. Переходные устройства у двухсекционных тепловозов 2ТЭП60: / — каркас; 2 — меха; 3 — поручень; 4 — малый цилиндр; 5 — большой цилиндр
ки. Аналогичное устройство имеет кабина второй секции. После сцепки двух секций происходит сжатие пружин, следовательно, и мехов почти на 200 мм. Во время следования каркасы 1 обеих секций соприкасаются, поэтому перед сцепкой их поверхности рекомендуют смазать густой смазкой. Переходное устройство хорошо уплотнено от проникновения дождя и снега. Габариты переходного устройства не позволяют одновременно открывать обе двери во время перехода. Переходное устройство с поочередным открыванием дверей для перехода работало исправно в заводских кривых R = 70+90 м. Каждая секция, оборудованная для двухсекционного тепловоза, может использоваться самостоятельно. Для длительной работы рекомендуют снять все устройства, включая цилиндры. Лобовая дверь, оставшаяся без мехов, обеспечивает воздухонепроницаемость и тем самым исключает понижение температуры в кабине в зимний период.










