Синхронный подвозбудитель
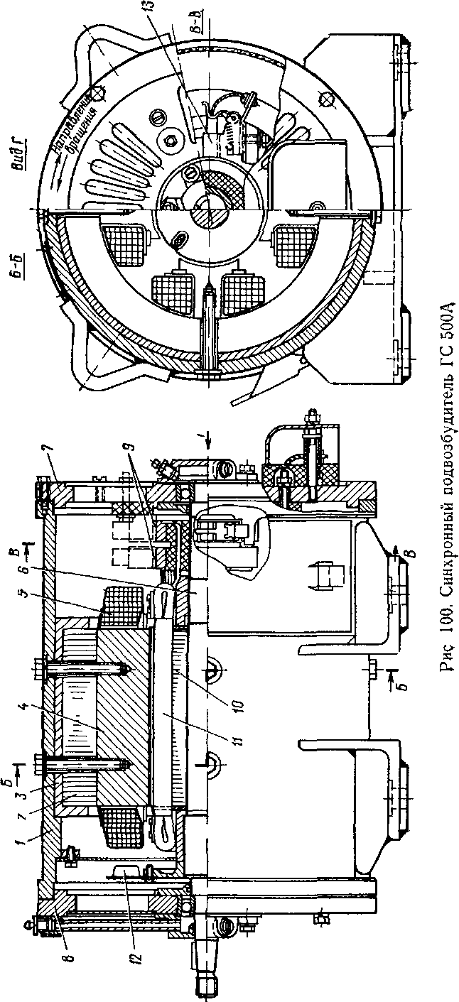
Для питания аппаратов системы автоматического регулирования генератора на тепловозе установлен синхронный подвозбудитель ГС-500А. Это однофазный синхронный генератор обращенного типа (рис. 100).
Обмотка возбуждения 5 подвозбудителя расположена на четырех неподвижных полюсах 4, как у машины постоянного тока, а обмотка переменного тока расположена на вращающемся роторе 10 и отвод переменного тока производится с контактных колец 9 ротора через две щетки.
Номинальная мощность подвозбудителя 1,1 кВт, напряжение 110 В, ток 10 А, частота переменного тока 133 Гц при частоте вра-

щения подвозбудителя 4000 об/мин, соответствующей частоте вращения вала дизеля 750 об/мин. Коэффициент полезного действия подвозбудителя 55%.
Узлы подвозбудителя крепятся к стальной станине /, которая одновременно является экраном, защищающим подвозбудитель от действия внешних магнитных полей. В станину запрессовано ярмо 2 магнитной системы, набранное из листовой стали Э41 толщиной 0,55 мм и залитое в алюминиевый корпус 3. К ярму при помощи болтов крепятся сердечники четырех полюсов. Сердечники полюсов литые из стали 25Л1. На полюсах установлены катушки обмотки возбуждения. Полюсная катушка имеет 250 витков, намотанных проводом ПСД диаметром 1,35 мм. Изоляция катушки по нагрево-стойкости относится к классу В. Полюсные катушки соединены последовательно, сопротивление обмотки возбуждения при температуре 20° С равно 4,64 Ом.
Вал ротора 6 опирается на два шариковых подшипника, установленных в подшипниковых щитах 7 к 8. Сердечник ротора шихтуется на валу из штампованных листов стали Э31 толщиной 0,5 мм. В листах сердечника выштамповано 14 пазов для укладки обмотки ротора.
Обмотка ротора 11 всыпная, выполнена из провода ПСД диаметром 1,08 мм. Каждая секция обмотки ротора имеет 16 витков. В каждом пазу уложено 32 эффективных проводника. Шаг обмотки по пазам 1->-4.
Сопротивление обмотки ротора при температуре 20° С равно 0,396 Ом. Изоляция обмотки ротора класса В.
Выводы обмотки ротора припаиваются к двум контактным кольцам, выполненным из меди М1. На валу ротора со стороны его свободного конца крепится вентилятор 12. К подшипниковому щиту со стороны контактных колец крепятся два щеткодержателя 13. В каждом щеткодержателе установлена одна щетка ЭГ8 размером 10 х 12,5 X 32 мм. Нажатие на щетку 0,35—0,45 кгс. Зазор между щеткодержателями и контактными кольцами должен находиться в пределах 1—1,5 мм. Допускаемое биение контактных колец в горячем состоянии составляет 0,03 мм, в холодном состоянии — 0,02 мм. Допустимая разность биения в горячем и холодном состоянии не должна превышать 0,01 мм.
Для крепления к тяговому генератору к станине подвозбудителя приварены лапы с отверстиями под болты. Начиная с тепловоза № 437 вместо подвозбудителя ГС-500А устанавливают подвозбудитель ВС-652, который при тех же выходных параметрах (мощность, напряжение, ток) имеет небольшие конструктивные отличия.










