Осмотр и ремонт узлов и деталей охлаждающего устройства
Для тепловозов, прошедших гарантийный период эксплуатации, приказом министра путей сообщения № 22Ц от 31 июля 1975 г. установлена следующая система обслуживания и ремонта: техническое обслуживание TOI, Т02, ТОЗ, текущие ремонты TPI, ТР2, ТРЗ, средний и капитальный ремонты. Этим же приказом установлены средне-сетевые нормы пробегов тепловозов между обслуживанием и ремонтом.
Техническое обслуживание TOI, Т02. При работающем дизеле проверяют: нет ли утечки масла, воды и воздуха в соединениях трубопроводов, секций холодильника; работу вентиляторов холодильника и их привода, открытие и закрытие жалюзи. При остановленном дизеле проверяют состояние секций холодильника и исправность механизмов привода жалюзи, трубопроводы системы гидропривода и крепление гидромашин.
Техническое обслуживание ТОЗ и текущий ремонт ТР1. Проверяют, нет ли течи воды в секциях и их соединениях, исправность привода жалюзи и плотность прилегания створок. Допускается эксплуатация тепловоза, если в месте крепления секции к коллектору имеется «потение», но не течь. Зимой проверяют работу привода утеплительных чехлов.
Осматривают узел уплотнения водомасляного теплообменника, а также водяной и масляный насосы дизеля. Устраняют утечки воды и масла в соединительных трубопроводах холодильника. При работающем дизеле и полном давлении в системе гидропривода вентиляторов проверяют, нет ли течи масла в его соединениях, осматривают гидромашины и их крепление, исправность работы терморегуляторов и комбинированного реле КР-4, управляющего приводом жалюзи холодильника. Проверяют уровень масла в фильтр-баке.
Через одно техническое обслуживание ТОЗ производят анализ масла гидропривода; при неудовлетворительном анализе (не соответствует требованиям ГОСТа) его заменяют, предварительно промыв фильтры и трубопроводы. В летний период эксплуатации производят контрольную проверку давления и утечек в гидромашинах. Величина давления в корпусе гидромашины не должна превышать 0,6—0,7 кгс/см2, а утечки — не более 15 л/мин.
Текущий ремонт ТР2. При текущем ремонте ТР2 выполняют работы, предусмотренные текущим ремонтом ТР1, и дополнительно снимают, осматривают и разбирают гидромашины. Если при проверке величины утечек и их давления на стенде результаты удовлетворительные и других замечаний по работе не имеется, то гидромашины разбирать не следует. При давлении в корпусах гидромашин 1 кгс/см2 и утечках более 25 л/мин гидромашины разбирают и ремонтируют в соответствии с правилами ремонта и инструкциями ЦТ МПС.
Изношенные и подтекающие манжетные уплотнения вала заменяют новыми. При этом сопряженные трущиеся поверхности покрывают смазкой АФ-70. Одновременно с осмотром и ремонтом гидромашин заменяют масло в гидросистеме и промывают фильтр-бак и фильтр тонкой очистки.
Если при постановке тепловоза на текущий ремонт ТР2 отмечена неудовлетворительная работа терморегуляторов (несвоевременное начало и конец работы вентилятора, течь масла по штоку золотника или по соединению с трубопроводом и др.) или же выход их из строя, а также выход из строя соответствующей секции комбинированного реле КР-4, то эти узлы снимают и ремонтируют. Запрещается выпуск из ремонта тепловоза с неисправными приборами и узлами автоматики гидропривода и жалюзи холодильника.
Теплообменник разбирают только тогда, когда обнаружится течь трубок. Это может быть выявлено при анализе масла системы дизеля. При неудовлетворительном состоянии сальникового узла он должен быть разобран с последующей постановкой новых резиновых колец. Контрольные отверстия промежуточного стального кольца должны быть при этом хорошо прочищены.
Текущий ремонт ТРЗ. Этим видом ремонта предусматриваются осмотр, разборка и ремонт всех узлов охлаждающего устройства с последующими испытаниями. Негодные и изношенные детали заменяют новыми. Секции и жалюзи холодильника снимают с тепловоза и ремон<-тируют.
Если при эксплуатации водомасляного теплообменника не ухудшалась его теплорассеивающая способность, не было текущих трубок и других существенных дефектов, то можно ограничиться лишь одной промывкой его полостей, без демонтажа и разборки.
Гидронасосы и гидромоторы, снятые с тепловоза, испытывают на стенде.
При давлении масла в корпусе 1 кгс/см2 и утечках более 25 л/мин машины должны быть разобраны и отремонтированы. При разборке проверяют размеры основных узлов, состояние
поверхностей трения и подшипников. Негодные детали бракуют и заменяют новыми.
В ряде депо, эксплуатирующих тепловозы ТЭП60, организован ремонт гидромашин; имеются стенды, изготовляют резиновые уплотнения, сальники, шлицевые втулки, ролики кардана, упоры и т. д. К таким депо следует отнести депо Засулаукс Прибалтийской дороги. В этом депо гидропривод на тепловозах всегда работает удовлетворительно.
Ремонт секций холодильника и жалюзи. Водяные секции холодильника снимают с тепловоза для осмотра, промывки и ремонта на текущем ремонте ТРЗ. Технология ремонта водяных секций типа ТЭЗ, которые установлены в холодильнике тепловоза ТЭП60, хорошо отработана и достаточно полно освещена в литературе (см., например, книгу «Ремонт тепловозов», М., «Транспорт», 1974, авт. Я. А. Норкин и др.), поэтому здесь она рассматриваться не будет. Следует лишь указать, что постановка секций на тепловоз без проверки на протекание не допускается, так как только при указанной проверке может быть получена объективная оценка чистоты поперечного сечения трубок секций.
У снятых с тепловоза жалюзи заменяют негодные втулки и войлочные уплотнения. Створки с трещинами заменяют, а погнутые выправляют. Привод жалюзи регулируют, негодные детали заменяют. Собранный привод регулируют.
Ремонт водомасляного теплообменника. Водяную полость теплообменника очищают тем же раствором, что и водяные секции тепловоза, а масляную — водным раствором окисленного петролатума (4%) и каустической соды (5%) с последующей промывкой горячей водой. При промывке масляной полости скорость раствора в трубках должна быть 1,3—1,6 м/с, а температура 90° С. Время промывки 30—40 мин с последующей промывкой горячей водой с температурой 80° С в течение 15—20 мин.
Если в процессе эксплуатации обнаружена течь трубок, то теплообменник разбирают и ремонтируют. Текущие трубки запаивают или заглушают. Допускается запаивание дефектных трубок с обоих концов, но не более 24 шт. (при выпуске из капитального ремонта). Течь в трубных досках устраняют запаиванием припоем ПОС-30. Прокладки и кольца заменяют новыми. При этом прокладки под крышки и поперечные ребра следует вырезать из одного куска паронита.
Алюминиевые крышки теплообменников подвержены кавитацион-ному разрушению. В депо Засулаукс разработана технология их восстановления. Внутренние поверхности крышек очищают и обезжиривают ацетоном.
После испарения ацетона поверхности крышек покрывают пленкой клея ГЭН-150 (В) толщиной 0,1—0,3 мм, после чего их сушат на воздухе в течение 15—20 мин, а затем в сушильной печи — в течение 1 ч при температуре 120—140° С. После этого поврежденные места крышек шпаклюют эпоксидной композицией.
При разрушении уплотняющих ребер на их концы ставят П-образ-ные накладки толщиной 0,8 мм по всей длине ребра. Внутренние полости накладок заполняют эпоксидным составом и насаживают на реб-
ра. Затем крышки выдерживают в горизонтальном положении в течение 10—15 ч до полного затвердения эпоксидного состава.
В связи со сложностью и дороговизной ремонта алюминиевых крышек теплообменников необходимо во время капитального или текущего ремонта заменить дефектные крышки новыми стальными, которыми в настоящее время оборудуют все теплообменники.
После промывки и ремонта теплообменник в собранном виде испытывают опрессовкой в течение 10 мин: полость воды давлением 6 кгс/см2; полосгь масла давлением 15 кгс/см2. Течь и потение не допускаются. Повторная опрессовка после устранения дефектов обязательна. После промывки и опрессовки через масляную полость теплообменника следует прокачать подогретое масло или дизельное топливо.
При отправке тепловозов из ремонта в холодном состоянии в осенне-зимний период слить воду и тщательно продуть водяную полость теплообменника. Если в теплообменнике останется вода, то это может привести к выходу из строя его трубчатой части и узлов уплотнения. При большом количестве оставшейся воды могут быть выведены из строя и крышки теплообменника.
Для разборки теплообменник демонтируют с тепловоза в такой последовательности: а) сливают воду и масло из системы, а затем отсоединяют теплообменник от трубопроводов и рамы тепловоза; б) снимают жалюзи верхние и боковые правые в передней шахте холодильника, а также 6—7 секций с той же стороны; в) пропускают чалку сверху через диффузор, закрепляют теплообменник и, подняв его до уровня проема в шахте, развертывают на 90°; г) кладут теплообменник на прочные доски или балку и, перечалив теплообменник, выводят его наружу тепловоза, соблюдая правила техники безопасности.
Эксплуатация гидропривода и его неисправности. Ежедневно перед подачей тепловоза под поезд гидропривод тщательно осматривает локомотивная бригада. При этом проверяют уровень масла в фильтр-баке; состояние разъемов (плотность) крышек^ фланцев, пробок, сферических соединений и т. д., надежность крепления гидромашин и трубопроводов, фильтр-бака и фильтра тонкой очистки.
Во время работы гидропривода запрещается производить всякого рода исправления, в том числе подтягивание болтов, гаек и пробок. Запрещается пускать гидропривод без масла. Нужно следить, чтобы по гидромашинам, трубопроводу и арматуре не наносились удары.
При работе гидропривода не должно быть утечек масла из-под неподвижных соединений: штуцеров, крышек, фланцев, соединений трубопровода. Утечки должны быть устранены на неработающем приводе. Допускаются утечки по манжетным уплотнениям не более 1 см3/ч. Если уровень масла в фильтр-баке ниже предельной отметки, надо долить масло, но не выше установленного уровня.
Применять масла только рекомендуемые и заливать их через фильтр с соблюдением мер предосторожности, гарантирующих от попадания грязи. Заливочную горловину необходимо тщательно закрыть. Масло из системы рекомендуется сливать сразу же после остановки гидропривода, так как оно при этом менее вязкое и легко уносит с собой из системы попавшую туда грязь. Сливают масло через клапаны фильтр-
бака, сливных и нагнетательных труб, охлаждающей секции (через нижнее соединение с трубопроводом) и из гидромашин через сливные пробки в их корпусах. После слива масла вначале промывают фильтр-бак, а затем и остальные емкости системы.
Для промывки системы заливают чистое масло в фильтр-бак и пускают дизель вхолостую. Для обеспечения пропуска масла через весь трубопровод необходимо поднять вручную вилки терморегуляторов и проработать в таком положении 10—15 мин, после чего вилки опустить, остановить дизель и спустить масло. После промывки системы заполнить гидропривод чистым маслом после анализа его в лаборатории на соответствие требованиям ГОСТ.
При постройке тепловоза, а также при его ремонте в депо или на заводе МПС, когда разбирают и ремонтируют узлы гидропривода, промывка системы обязательна как перед реостатными испытаниями, так и после них.
Заправку гидросистемы свежим маслом производят через горловину фильтр-бака. Систему можно считать заполненной, если масло после вращения коленчатого вала дизеля останется на прежнем уровне. Для удаления воздуха из системы производят кратковременный пуск дизеля (10—15 мин) на холостом ходу. Таких пусков производят несколько, при этом чередуют положение вилок терморегулятора (поднято и опущено). После того как прекратится выделение пузырьков воздуха, наблюдаемое в стекло масломера фильтр-бака, можно считать, что система полностью освобождена от воздуха.
Утечка масла через монтажное уплотнение вала гидромашины. Плохое качество манжеты и повышенное давление в корпусе гидромашины (на сливе) могут вызвать течь масла через манжету на валу гидромашины. Кроме того, течь может быть следствием повреждения уплотнения при его постановке на вал, а также из-за износа шейки вала под уплотнением и наличия задиров на ее поверхности. Если такой дефект имеет манжета гидромоторов, то капли или струя масла, вытекающие из трещины, будут подхватываться вентилятором и выбрасываться в воздух. При повреждении манжеты гидронасоса масло из системы гидропривода будет попадать в редуктор, а оттуда откачиваться в систему смазки дизеля. Этот дефект обнаруживается по понижению уровня масла в фильтр-баке.
Помощник машиниста должен периодически проверять уровень масла. При его ненормальном понижении проверить, не «несет» ли масло один из вентиляторов, и если масло будет продолжать уходить, необходимо остановить дизель и установить причину утечки.
Чтобы не допустить остановки поезда на перегоне из-за повреждения манжеты в результате повышенного давления в корпусе машины, необходимо периодически замерять это давление. Оно должно быть 0,6—0,7 кгс/см2 и измеряется при помощи манометра с ценой делений 0,1 кгс/см2. Для замера давления снимают одну из свободных пробок на гидромашине и вместо нее ввертывают штуцер, на который надевают резиновую трубку. Второй конец трубки соединяют с манометром. Дают дизелю полные обороты и поднимают вилки терморегуляторов. После этого смотрят на показания манометра.
После замера давления останавливают дизель и подгртавливают измерение утечек масла. Для этого отсоединяют от гидромашины дренажную трубку, заглушают ее и открытое дренажное отверстие. В емкость не менее 15 л опускают конец трубки, ранее присоединявшейся к манометру.
Пускают дизель на полные обороты, поднимая при этом полностью вилки терморегуляторов. Утечки замеряют следующим образом: конец резиновой трубки переносят из 15-литровой в контрольную емкость, включив одновременно секундомер. После заполнения емкости до риски «1 л» переносят конец трубки обратно в большую емкость и останавливают секундомер.
У гидромашин с нормальным износом утечки масла должны быть не более 10—15 л/мин. Максимальная величина утечек должна быть не более 25 л/мин, что соответствует падению частоты вращения вала гидромашины, равному 100 об'мин. Большие величины утечек недопустимы, так как в летних условиях не будет обеспечена требуемая для отвода тепла дизеля частота вращения вентиляторных колес.
Порядок замены манжеты гидромотора следующий: а) открепить и снять верхние жалюзи, после чего при помощи винтового съемника демонтировать вентиляторное колесо со шлицевого вала гидромотора;
б) снять крышку гидромотора и вынуть поврежденную манжету;
в) новую манжету промыть маслом и смазать консистентной приборной защитной смазкой; г) осторожно продвинуть манжету по валу до места посадки (воротник манжеть с пружиной должен быть обращен внутрь корпуса гидромашины); д) надеть крышку и закрепить ее винтами; е) не надевая колеса вентилятора, дать полную частоту вращения вала гидромотора и убедиться что манжета не пропускает масла; ж) закрепить вентиляторное колесо, верхние жалюзи и собрать их привод. При съемке и постановке, вентиляторного колеса соблюдать меры, исключающие толчки и удары по валу гидромашины.
Для замены манжеты гидронасос должен быть вынут из редуктора. Если у снятого насоса манжета окажется хорошей, то придется поставить этот насос на место, а снять другой. Качество постановки манжет у насосов может быть проверено либо на стенде, либо на тепловозе.
Неплотности в трубопроводе и арматуре гидропривода. Неплотности в соединениях трубопровода, арматуры и других деталей гидропривода приводят к утечкам масла и попаданию в систему воздуха. Присутствие воздуха в системе ведет к резкому ухудшению работы гидропривода: 1) в фильтр-баке появляются пена, пузырьки и поднимается уровень масла. При остановке гидропривода происходит бурление в фильтр-баке, а затем снижается уровень масла. У нормально работающего гидропривода при остановке поверхность масла в баке спокойная, либо происходит медленное перемещение частиц масла; 2) частота вращения вентиляторов и давление в системе падают, причем неравномерно; температура воды и масла дизеля может начать колебаться, постепенно возрастая; 3) работа гидропривода сопровождается резким дребезжащим шумом и вибрациями трубопроводов при этом стрелки манометров высокого давления непрерывно колеблются, «размывая» показания.
Для устранения утечек масла и удаления воздуха из гидропривода необходимо тщательно осмотреть все соединения; места утечек масла отметить мелом. После остановки гидропривода устранить утечки. Особенно трудно обнаружить неплотности во всасывающем трубопроводе. Слесарь-моторист Коломенского завода Е. И. Буров предложил упростить эту работу. Перед заполнением системы маслом к заливочной горловине фильтр-бака подводится воздух давлением 0,4— 0,5 кгс/см2. Имеющиеся неплотности обнаруживают по выходящему воздуху.
Особое внимание должно быть уделено состоянию крепления самих гидромашин. Иногда происходит ослабление крепления корпуса с косым фланцем. В образующуюся щель начинает вытекать масло. Это очень опасный дефект, который может привести к полному выходу из строя гидромашины, если немедленно не закрепить соединительные болты. После устранения утечек удалить воздух из системы.
Выход из строя терморегуляторов, их демонтаж и ремонт. Наиболее часто встречающихся случаев неисправности два. Выходит из строя узел уплотнения в термопатроне и весь или часть наполнителя вытекает. При этом золотник терморегулятора остается неподвижным и вентилятор вращается с минимальными оборотами или стоит. Эта неисправность не может быть устранена на ходу тепловоза и следует перейти на ручное управление золотником, установив его в такое положение, которое больше всего будет соответствовать развиваемой мощности дизеля. Возможно придется несколько раз за поездку вручную регулировать золотник, перемещая его при помощи вилки 20 (см. рис. 67) в положение, соответствующее режиму дизеля.
При понижении температуры воды или масла дизеля золотник заело и он не может возвратиться на место. Вентилятор будет продолжать работать с прежней частотой, вызывая переохлаждение холодильника. При повышении температуры дизеля золотник будет испытывать все возрастающее усилие наполнителя датчика. И если этим усилием золотник не будет перемещен вверх для перекрытия дроссельной щели, то произойдет повреждение резинового уплотнения датчика и утечка церезина. Вентилятор начнет снижать частоту вращения, что может привести к перегреву дизеля и даже его остановке.
Для устранения этого дефекта следует попытаться вручную переместить золотник, и если заедание не устранимо, то произвести ремонт в депо. У терморегулятора с вышедшим из строя датчиком вилка будет находиться в нижнем положении. По этому внешнему признаку и определяется отмеченная неисправность.
Иногда имеет место течь по штоку золотника из-за пропуска манжет 1 (см. рис. 67). Небольшая течь неопасна, так как манжеты находятся под давлением 0,3—0,6 кгс/см2. Однако во избежание потерь масла из системы, емкость которой весьма ограничена, при заходе в депо тепловоза манжеты следует заменить. При обнаружении незначительной течи уплотнительного кольца 5 его следует заменить в депо.
Для ремонта датчика первого круга циркуляции (охлаждение воды) снимать весь терморегулятор не требуется. После перекрытия двух кранов на водяном трубопроводе к стакану, в котором расположен тер-
мопатрон, последний вывертывают из основания 13 и заменяют новым, заблаговременно оттарированным. Замена датчика терморегулятора второго контура циркуляции (масло и наддувочный воздух дизеля) сложнее. Необходимо слить масло гидропривода из сливных и нагнетательных труб, слить масло дизеля в картер, отсоединить трубы от терморегулятора, открепить и снять терморегулятор, после чего приступить к ремонту или замене датчика. После замены термодатчиков, сборки соответствующих трубопроводов и заполнения систем следует пустить дизель и проверить температуры начала работы вентиляторного колеса и его расчетного режима, т. е. 69 ± 1° С и 80 ± 2° С. Для корректировки работы терморегулятора на тепловозе в пределах ± 3° С можно воспользоваться регулировочным винтом 12. При начале работы вентиляторов, например, при температуре 66° С следует снять вилку 20 и при помощи прорези на ее конце ввернуть винт в хвостовик золотника )/ на один оборот. Золотник при этом опустится вниз и начало вращения вентилятора будет смещено в зону более высокой температуры. Если вентилятор начинает вращаться позднее, то золотник следует подать регулировочным винтом вверх. Максимальный регулировочный ход винта составляет ± 1.5 мм. И если этого хода окажется недостаточно для подрегулировки, то следует снять датчик и откорректировать его статическую характеристику за счет изменения объема наполнителя.
Ремонт и стендовые испытания гидромашин. Гидромашины (насосы и моторы), как правило, разбирают и ремонтируют на текущем ТРЗ и капитальном ремонтах тепловозов. Лишь в случае повышенных утечек и давлений в корпусах гидромашин последние должны быть осмотрены на текущем ремонте ТР2.
К случаям, вызывающим внеплановый ремонт гидромашины, может быть отнесен, например, выход из строя насоса или мотора из-за заклинивания поршней в блоке цилиндров при несоблюдении гарантийного зазора 0,025—0,045 мм между поршнем и отверстием в блоке цилиндров (зазор меньше указанного).
Иногда во время работы тепловоза происходит заклинивание вентилятора холодильника (вследствие попадания между лопастями и диффузором постороннего предмета) или самого гидромотора. При этом давление в системе достигает 150 кгс/см2, температура воды или масла дизеля резко возрастает. Резкое повышение температуры дизеля может быть следствием выхода из строя насоса или мотора из-за отжима блока от распределителя. В этом случае давление в поврежденной системе гидропривода отсутствует, что является первым признаком указанного дефекта.
Разборка гидронасоса. Снять клапанную коробку 19 и крышку 2 с манжетой / (см. рис. 63). Вывернуть болт 21, открепив болты, отсоединить крышку 20 от фланца 10. Разъединить фланец 10 с корпусом 41 и снять первый. Чтобы снять распределитель 24, необходимо предварительно выбить штифт в оси 23. Снять блок цилиндров 15 с кардана 11 и поршней 29.
Для разборки деталей блока цилиндров извлекают стопорное кольцо 13, вынимают буксу 14 с малым упором 32 и втулку 12, снимают
пружинное кольцо 30, после чего можно вынуть из буксы малый упор и компенсационную шайбу 31. Вынуть ось блока 23 с подшипником 16, снять упорное кольцо под подшипником и пружину 17.
Вынуть из отверстия вала 5 кардан 11, большой упор 37 и пружину 38. Отвернуть гайку, стоящую перед подшипником 40. Чтобы не повредить головки поршней, на них надевают предохраняющее приспособление, после чего корпус 41 подают на пресс, где производят распрес-совку вала. Усилие выпрессовки направлено в сторону поршней. После распрессовки вала 5 с его хвостовика снимают кольцо 4, а из корпуса 41 вынимают шариковый подшипник 40 и кольцо 6.
С вала 5 при помощи приспособления спрессовывают подшипники 35, выбивают штифт и вынимают буксу 36 и втулку 39. После разборки все металлические детали и узлы гидромашин (гидромоторы разбирают аналогично) должны быть промыты авиационным бензином или уайт-спиритом (бензин-растворитель ГОСТ 3134—52 для лакокрасочной промышленности). После чего все узлы следует подвергнуть тщательному осмотру и соответствующим обмерам.
Осмотр и ремонт основных узлов гидромашин. Особое внимание при осмотре должно быть уделено состоянию сопрягаемых плоскостей блока цилиндров и распределителя. Риски, натиры и забоины на поверхностях устраняют обработкой. Торец блока цилиндров и распределителя обрабатывают высоким классом шероховатости. Торец, соприкасающийся с блоком, шабрить в 20 точках в квадрате со стороной 25 мм по контрольной плите (ГОСТ 10905—64). Выпуклость не допускается. Неплоскостность пришабренного торца не более 0,005 мм. Неплоскостность торца блока такая же. Применение абразивов при обработке рабочих торцов блока и распределителя не допускается. При выходе из текущего ремонта допускается уменьшение высоты блока цилиндров и толщины распределителя за счет износа соприкасающихся поверхностей на 1,5 мм.
При осмотре блока цилиндров и поршней должны быть замерены их диаметры и определен фактический зазор между ними. Допускается при выпуске из текущего ремонта (ТР2 или ТРЗ) увеличение зазора между поршнем и отверстием в блоке цилиндров до 0,08 мм. После капитального ремонта зазоры должны соответствовать чертежным и восстанавливают их за счет изготовления новых поршней.
Осматривая вал в сборе с шатунами и поршнями, тщательно замерить суммарный осевой люфт шатуна во вкладыше и поршне под нагрузкой 10 кгс. На подъемочном ремонте этот люфт может составлять 0,2—0,25 мм. Люфт более 0"/25 мм является браковочным, и шатуны должны быть отправлены на перезавальцовку вкладышей и поршней. Осевой люфт вкладыша вала в развальцовке и проворот его не допускаются.
Завальцовка шатуна в поршне и во вкладыше вала должна выдерживать усилие на разрыв 275 кгс в течение 1 мин. После снятия нагрузки качество сборки должно соответствовать техническим требованиям чертежа.
При ремонте кардана необходимо, чтобы: а) на сферических и рабочих (цилиндрических) поверхностях роликов не было трещин, выра-
ботки и рисок глубиной более 0,3 мм. Ролики с такими дефектами заменить; б) выход пальца кардана после запрессовки был в пределах 13,5_0 2 мм.
Перед сборкой гидромашины все отремонтированные и новые детали, кроме неметаллических, промыть в чистом уайт-спирите, продуть сжатым воздухом и протереть. Произвести внешний осмотр. Детали со следами коррозии, забоинами, заусенцами, грязные, со следами кон-сервационной смазки и другими дефектами на сборку не допускаются. Все металлические детали и подшипники смазать маслом методом окунания. Сопряженные трущиеся поверхности манжетного уплотнения и шлицевого вала покрыть смазкой ЦИАТИМ-201 (ГОСТ 6267—59).
При заводском ремонте гидромашин потребуется частичная или полная замена подшипников. В связи с этим необходимо определить толщину колец 4 и 6 (см. рис. 63). Чтобы определить толщину кольца 6 вал 5 с поршнями и подшипниками 35 вставляют до упора в уступ отверстия. Корпус в сборе с валом устанавливают в приспособление, при помощи которого создается нагрузка на вал 1100 кгс. На наружный буртик корпуса устанавливают набор плиток размером 23 мм и при помощи индикатора замеряют фактический размер от плиток до торца вала. Это будет фактическая толщина кольца 6.
Кольцо 6 с припуском по толщине шлифуют с двух сторон по размеру, найденному ранее, с обеспечением непараллельности плоскостей 0,02 мм, допуска по толщине ±0,1 мм и среднего класса шероховатости. Подшлифованное кольцо 6 вкладывают в корпус. Вал с поршнями устанавливают в корпус до упора в кольцо, после чего проверяют размер 23 ± 0,1 мм от торца фланца корпуса до наружного торца фланца вала.
Для определения толщины кольца 4 корпус в сборе с валом устанавливается в приспособление, где создается давление 75 кгс. При помощи штангенглубиномера 0—200 (ГОСТ 162—64) замеряют расстояние от буртика вала 0 78В7 до торца корпуса. Получают размер 1. Затем измеряют расстояние от торца отверстия диаметром 130А, корпуса (от упора в корпусе) до наружного торца корпуса. Получают размер 2. Если из размера первого вычесть размер второй и прибавить зазор 0,15—0,5 мм, то полученный результат определит искомую толщину кольца 4. Заготовку последнего отправляют на шлифовку до размера, найденного ранее с обеспечением непараллельности плоскостей 0,02 мм и среднего класса шероховатости с двух сторон.
После изготовления кольца его надевают на вал 5 и проверяют зазор 0,15—0,5 мм под нагрузкой 75 кгс между подшипником 40 № 313 и буртиком корпуса. Затем напрессовывают подшипник на вал и в корпус до упора в кольцо 4.
Стендовые испытания гидромашин. Собранный гидромотор или гидронасос подают на стенд для статических испытаний. Рабочая жидкость подается в оба отверстия крышки под давлением 150 ± 10 кгс/см2 и при этом производят контроль суммарных утечек в течение 5 мин (по 1—1,5 мин в четырех положениях вала, отстоящих друг от друга на 90°). Суммарные утечки рабочей жидкости через сопряженные поверхности блока цилиндров, распределителя, крышки и из-под поршней
Таблица 10

не должны превышать 1400 см3/мин. Утечки по плоскости разъема клапанной коробки и крышки не допускаются. После проверки результатов испытаний ОТК гидромашину передают на обкаточный стенд. Режим обкатки приведен в табл. 10. Общая продолжительность обкатки на стенде 7 ч.
Примечание. Направление вращения вала гидромашины должно соответствовать направлению вращения ее на тепловозе.
После обкатки гидромоторы подвергают испытаниям на утечки. Требования такие же, как и до обкатки гидромашин. По окончании испытаний статическим давлением гидромоторы должны пройти обкаточные испытания по режимам, приведенным в табл. 11. При этом утечки рабочей жидкости из корпуса гидромотора наружу по местам разъема, из-под крышек и пробок не допускаются.
Допускается незначительное просачивание масла без образования капель и подтеков. Утечки через манжетное уплотнение вала гидромотора допускаются не более 0,5 см3/ч.
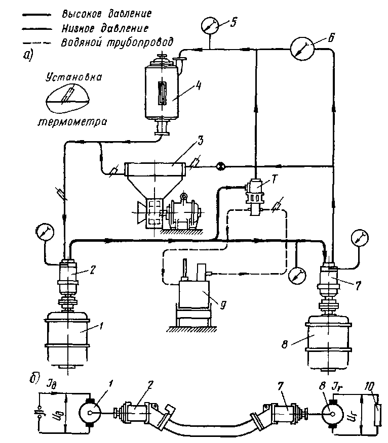
После режима III падение частоты вращения вала гидромотора при давлении в полости нагнетания 100 кгс/см2 по сравнению с частотой вращения при работе без нагрузки должно быть не более 50 об/мин. Схема стенда Коломенского завода для испытания гидропривода представлена на рис. 71. Насос 2 приводится в движение электродвигателем
Таблица 11

Примечание Направление вращения вала гидромотора должно соответствовать направлению вращения на тепловозе.
/ марки ПН-550. Поток масла направляется к испытуемому гидромотору 7, приводящему в движение генератор 8 постоянного тока.
Нагружается генератор реостатом 10. Параллельно гидромотору установлен терморегулятор Т, термобаллон которого омывается водой,

Рис. 71. Стенд для испытаний гидропривода: а —компоновка оборудования; б — нагрузочная схема; / — электродвигатель, 2 — насос; 3 — секция холодильника; 4 — фильтр-бак; 5 — манометры; 6 — расходомер; 7— гндромотор; 8 — генератор; 9 — бачок с водой; 10 — реостат; Г — терморегулятор
подогреваемой в бачке 9 на электропечке. Расходомер 6 марки СВШ-5 16/40 показывает расход масла. Охлаждается масло по мере надобности в секции 3. Отработавшее масло поступает в фильтр-бак 4. Частота вращения электрических машин определяется тахометрами ИСТ-1 с показаниями на пульте. Замеры силы тока и напряжения электрических машин производятся приборами класса 0,5. Давление измеряется манометрами 5 класса 0,6.
Общая продолжительность испытания на стенде 1 ч. Стенд Коломенского завода является универсальным. На нем, кроме обкатки гидромашин, в требуемом режиме могут быть испытаны терморегуляторы, фильтр-баки, определены утечки, проведены испытания на надежность, а также построены различные характеристики. К. п, д. гидропривода можно определить по формуле










