Холодильник тепловоза
Схема охлаждающего устройства и размещение теплообменных аппаратов. Охлаждающее устройство тепловоза ТЭП60 существенно отличается от холодильников других отечественных тепловозов: масло дизеля охлаждается в водомасляном теплообменнике, водяные секции типа ТЭЗ расположены в один ряд по глубине фронта, температурный режим дизеля регулируется автоматически при помощи гидрообъемного привода вентиляторов.
На тепловозах до № 0167 (за исключением опытных № 0098, 0141 и 0142) по конструктивным соображениям, связанным с первыми разработками, десять водовоздушных секций с собственным вентилятором были размещены в крыше тепловоза над дизелем.
Первые наблюдения за работой тепловозного холодильника в условиях эксплуатации, проведенные конструкторами завода, а затем и тягово-теплотехнические испытания тепловоза № 0020, проведенные ЦНИИ МПС, показали, что крышевой холодильник работает неудовлетворительно. Низкая тепловая эффективность вызвана охлаждением секций воздухом, подогретым в дизельном помещении (при температуре наружного воздуха +40° С воздух в дизельном помещении может достичь 65° С).
При работе вентилятора крышевого холодильника в кузове тепловоза возникали сквозняки. Ремонт и обслуживание дизеля также затруднялись, так как дополнительный холодильник располагался низко над дизелем, в зоне турбонагнетателей и цилиндров.
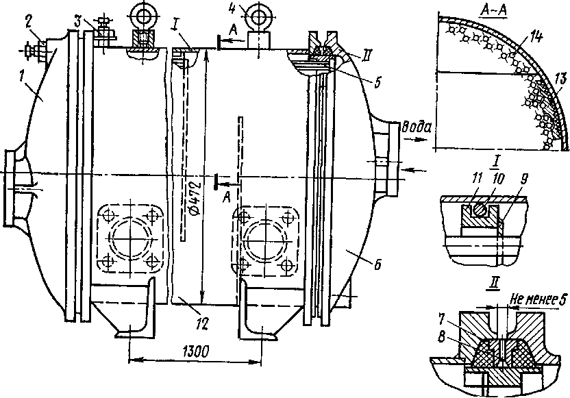
Чтобы устранить эти недостатки, заводом было разработано и внедрено с тепловоза ТЭП60 № 0167 модернизированное охлаждающее устройство, схема которого представлена на рис. 54. Принцип циркуляции воды двухконтурный. В первом контуре циркулирует вода^ охлаждающая детали дизеля. К этому контуру относятся 17 водяных секций 6, расположенных в первой к дизелю шахте холодильника (9 справа и 8 слева). Во втором контуре циркулирует вода, охлаждающая масло дизеля в теплообменнике 8, и наддувочный воздух в холодильнике 3, расположенном на дизеле /. Вода второго контура охлаждается в 30 секциях. Во второй шахте с каждой стороны находится по 12 секций и в первой — по 3 секции. Слева в передней шахте установлена секция 5 для охлаждения масла гидропривода вентиляторов. Два. восьмилопастных вентилятора серии УК-2М диаметром 1600 мм приводятся во вращение гидромоторами.
Основные технические данные холодильника
Секции холодильника..........Водовоздушные, трубчато-пластинчатого типа (типа ТЭЗ)
Число секций в контурах охлаждения:
первом ............. 17*
втором ............. 30
Наружная поверхность охлаждения секций, м2:
первого контура .......... 357
второго » .......... 630
Вес секции, кг............. 46,65
Водомасляный теплообменник....... Кожухо-трубчатого типа с
охлаждающим элементом из медных круглых неореб-ренных трубок
Охлаждающая поверхность, м2:
омываемая маслом......... 44
» водой.......... 35,2
Количество трубок в пучке........ 955
Сухой вес, кг............. 584
Вентилятор ............. Осевой, серии УК-2М
Диаметр колеса, мм........... 1600
Число лопастей............. 8
Угол установки лопастей, град....... 20
Частота вращения колеса максимальная, об/мин 1325 Передаточное отношение мультипликатора гидронасосов .............. 1,827
Привод ............... Гидрообъемный от гидромо-
тора МН 250/100 типа 11М20 Производительность на номинальном режиме, кг/с 37,6 Наибольшая мощность, отбираемая от дизеля на привод вентилятора, л. с......... 92,5
* В общем холодильнике установлена еще одна (масловоздушиая) секция для охлаждения масла гидропривода.
Расчетные параметры охлаждающего устройства следующие. Отвод тепла от воды дизеля 85,2 • 10*, от масла 46 • 10* и от наддувочного воздуха 18,2 • 10" ккал/ч. При всех нагрузках и температуре наружного воздуха +40° С допустимая температура масла на входе в дизель 70° С.
Сброс нагрузки по предельной температуре масла на входе —75° С с регулировкой 74 ± Г С. Предельная температура воды на выходе из дизеля не должна превышать 95° С. Вода на входе в холодильник наддувочного воздуха в соответствии с ГОСТ 10598—74 должна иметь температуру не более 65° С при температуре окружающей среды +40° С.
Коломенским заводом совместно с ВНИТИ и ЦНИИ МПС были проведены реостатные и эксплуатационные испытания модернизированного холодильника тепловоза ТЭП60-0142 при температуре наружного воздуха 22—35° С.
Изменения температуры воды и масла, полученные во время испытаний (рис. 55), показали, что при работе на расчетном режиме дизеля его холодильник имеет по допустимым температурам воды и масла дизеля еще некоторый запас.
Из рис. 55 видно, что холодильник первого контура охлаждения обеспечивает температуру воды на выходе из дизеля не выше 89° С при допустимой предельной 95° С. На этом же режиме температура масла на выходе из дизеля получена (при температуре окружающего воздуха -f 40° С) равной 80° С при допустимой 85° С, а на входе в дизель —69 С вместо предельной 74 ± Г С. Температура воды перед холодильником наддувочного воздуха равна 62° С. Наибольший коэффициент теплопередачи водомасляного теплообменника по данным испытаний составил 880 ккал/м2ч°С при скорости масла в трубках 1,5— 1,7 м/с. При частоте вращения вентилятора 1300 об/мин и полностью открытых боковых и верхних жалюзи среднее сопротивление водяных секций равно 43 кгс/м2, а общее сопротивление воздушного тракта до вентиляторного колеса — 105 кг/м2. По этим данным с учетом характеристики водовоздушной секции расход воздуха одним вентилятором составит 37,6 кг/с, или 140 000 кг/ч.
При модернизации охлаждающего устройства были реализованы следующие конструктивные решения: а) устранен крышевой холодильник; б) воздухоочистители, ранее располагавшиеся над секциями в передней к дизелю шахте, устанавливаются над дизелем (при этом компоновка тепловоза и возможности обслуживания дизеля не ухудшаются); в) улучшена конфигурация шахты холодильника. Из нее убраны лишние детали и трубопроводы, создававшие сопротивление движению воздуха. За счет подъема секций холодильника улучшен обдув секций и сокращен тракт потока воздуха от секций до вентиляторного колеса; г) осуществлена форсировка гидропривода вентилятора. Частота вращения вентиляторных колес на расчетном режиме увеличена с 1150 до 1320 об/мин. При этом существенно улучшена компоновка

Рис. 54. Схема охлаждающего устройства тепловоза ТЭП60:
/ — дизель; 2 — водяной насос второго контура; 3— холодильник наддувочного воздуха; 4—масляный насос; 5 — секция охлаждения масла гидропривода; 6 — водяные секции первого контура; 7 —водяные секции второго контура; 8 — теплообменник; 9 — водяной
насос первого контура

Рис. 55. Изменения температуры воды, масла и мощности генератора в зависимости от температуры окружающей среды
/ — изменение мощности генератора, 2, 3 — изменение температуры воды и масла на выходе из дизеля, 4 — температура масла перед дизелем, 5 — температура воды на выходе из холодильника наддувочного всздуха
трубопроводов, применен фильтр-бак новой конструкции и изменено место его установки, обеспечен лучший доступ к терморегуляторам, сокращено число фланцевых соединений и др.; д) во избежание ограничений по масляному холодильнику увеличена допустимая температура масла на входе в дизель с 65 до 70° С. Сброс нагрузки по предельной температуре масла на входе в дизель соответственно изменен с 70 до 75° С. На дизеле тепловоза №0142 и на всех последующих установлены водяные насосы улучшенной конструкции. Благодаря постановке более экономичных водяных насосов получена среднеэксплуатационная экономия топлива, составляющая около 2% . И снижение расхода топлива, и повышение к. п. д. водяных насосов положительно сказались на работе охлаждающего устройства, уменьшив его тепловую нагрузку примерно на 4%.
Во время испытаний опытного тепловоза №0142 в Мелитополе было отмечено, что водяные насосы обоих контуров циркуляции работали стабильно. На режиме максимальной мощности водяной насос первого контура развивал напор 31 м, а насос второго контура — 42 м и производительность была равна соответственно 120 и 84 м3/ч (по характеристикам заводских стендовых испытаний). Пониженная против расчетной (100 м3/ч) производительность насоса второго контура предопределилась высоким сопротивлением холодильника наддувочного воздуха (около 3 кгс/см2), составляющим около 72% общего напора, развиваемого насосом.
В результате проведенной модернизации и усовершенствования охлаждающего устройства на тепловозе ТЭП60 достигнута экономия 651 кг металла и 60 кг масла гидропривода на локомотив.
С каждой стороны шахты холодильника (рис. 56) установлены 12 секций 10. Однорядное (по глубине) расположение секций обеспечивает эффективный теплоотвод от них и удобно при сборке и ремонте холодильника. Коллекторы 9 изготовлены из трубы диаметром 133 мм толщиной 4 мм (ГОСТ 10704—63).
В отличие от коллекторов коробчатой конструкции, установленных на тепловозах ТЭЗ и других тепловозах с двухрядной компоновкой секций, трубчатые коллекторы менее трудоемки в изготовлении, обладают большой прочностью и позволяют устанавливать секции с внутренней стороны шахты. При замене секций не требуется снимать боковые жалюзи 11 и разбирать их привод.

Рис. 56. Шахта холодильника: / — подкачивающий насос; 2 — вырезы для соединения шахт; 3 — регулировочные прокладки; 4 — резиновый амортизатор; 5 — диффузор; 6 — стойка гидромотора- 7 — вентиляторное колесо; « — гидромотор; 9 — коллектор; 10 — водяные секции; // — жалюзи; 12 — воздушные резервуары; 13 — водомасляный теплообменник; 14 — настил; 15 — фильтр грубой очистки масла
При установке коллекторов необходимо обеспечить крепление секций холодильника, исключающее монтажные напряжения. Для этих целей служит набор регулировочных стальных прокладок 3. Уменьшение влияния толчков и вибрации достигается постановкой амортизаторов 4 из резины средней твердости.
Гидромотор 8, на шлицевой вал которого насажено вентиляторное колесо 7, прикреплен к стойке 6. Последняя укреплена на швеллерных балках, проходящих по всему холодильнику. Установка этого узла весьма ответственна и требует, чтобы зазор между ободом колеса вентилятора и обтекателем был 8—12 мм; зазор между нижним листом обечайки вентилятора и крышкой гидромотора 5—10 мм и зазор между любой лопастью вентилятора и алюминиевым диффузором 5 колебался в пределах 3—7 мм.
Для прохода по холодильному отсеку сделан достаточно широкий настил 14 и, сравнивая тепловозы ТЭЗ, ТЭП10, 2ТЭ10Л, М62 с тепловозом ТЭП60, можно отметить преимущество последнего из-за отсутствия загромождающего оборудования и приводов вентилятора.
Внутренние объемы шахт холодильника должны быть хорошо уплотнены заделками, исключающими подсос воздуха. В перегородке, разделяющей первую и вторую шахты, предусмотрены треугольные вырезы 2, которые при нормальной работе закрыты заслонками. При выходе из строя одного из вентиляторов (или его привода) заслонки снимают и оставшийся исправным вентилятор другой шахты будет просасывать воздух также и через секции шахты, вентилятор которой вышел из строя.
Водомасляный теплообменник. Охлаждение масла водой в теплообменнике по сравнению с охлаждением его воздухом в ребристых секциях имеет существенные преимущества: а) значительно повышается надежность охлаждающего устройства в целом из-за отсутствия масло-воздушных секций, часто выходящих из строя, особенно в зимних условиях; б) обеспечивается устойчивость температуры масла независимо от температуры наружного воздуха; в) упрощается компоновка секций на тепловозе и ремонт их в процессе эксплуатации; г) упрощается система прогрева масла, так как теплообменник при этом выполняет роль маслоподогревателя.
Благодаря отмеченным преимуществам водомасляное охлаждение получило исключительно широкое распространение в зарубежном тепловозостроении. Как правило, на всех современных тепловозах применяются только водомасляные теплообменники и как исключение охлаждение масла осуществляется в ребристых воздушных секциях.
Конструкторы Коломенского тепловозостроительного завода первыми применили на отечественных тепловозах водомасляные теплообменники (на ТЭ50 — в 1958 г., на ТЭП60 — с 1960 г., на двух опытных тепловозах с гидропередачей ТГП50—в 1962—1963 гг., на ТЭП70— в 1973 г.). На экспортном тепловозе М62 Ворошиловградского завода применен водомасляный теплообменник тепловоза ТЭП60. Надежная работа теплообменников Коломенского завода способствовала широкому распространению охлаждения масла дизеля водой и на всех новых
конструкциях тепловозов воздушномасляные секции, в том числе и с турбулизаторами, созданные ВНИТИ и выпускавшиеся Ворошилов-градским заводом, вытеснены водомасляными теплообменниками. Над созданием более эффективных водомасляных теплообменников в настоящее время работают научные сотрудники МИИТа, ЦНИИ МПС, Брянского института и ВНИТИ.
В основу разработанных на Коломенском заводе конструкций водомасляных холодильников положены исследования моделей гладко-трубчатых теплообменников, выполненные ЦНИИ А. И. Крыловым, а также расчетная методика, выполненная на основании указанных исследований.
При достаточно высоких скоростях масла (1,5—1,8 м/с), омывающего снаружи трубчатый элемент, а также благодаря устранению вредных перетеканий масла удалось довести коэффициент теплопередачи гладкотрубчатых теплообменников до 850—880 ккал/м2 • ч° С. Скорость воды в трубках теплообменников составляет 1,5—1,8 м/с. Эксплуатация теплообменников тепловозов ТЭП60 (рис. 57) в течение четырнадцати лет подтвердила их высокую надежность, незначительную загрязняемость и простоту обслуживания.
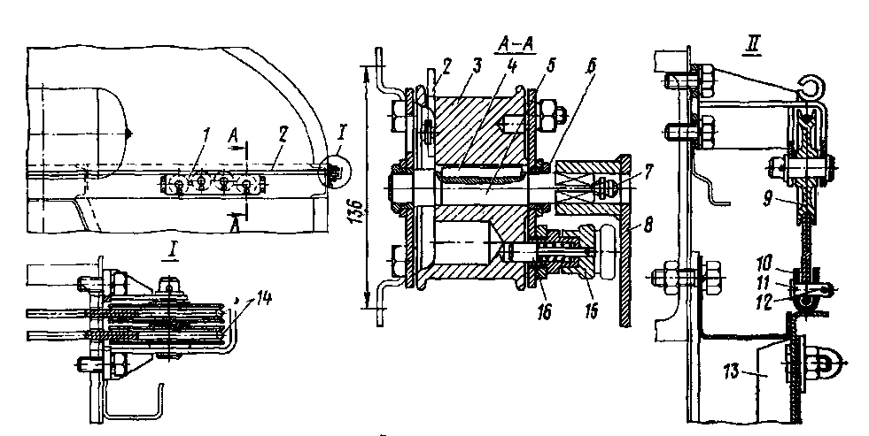
В корпусе теплообменника 12 из стали толщиной 6 мм с двумя фланцами по концам установлен охлаждающий элемент 5. Он состоит из 955 медных трубок 14 диаметром 10x1 мм. Разбивка трубок в пучке выполнена по треугольнику; расстояние между трубками 3 мм. Концы трубок закреплены в решетках. Снаружи концы трубок развальцованы и отбортованы, с внутренней стороны трубки и решетки соединены пайкой путем поочередного погружения концов охлаждающего

Рис. 57. Водомасляный теплообменник: /, б —- задняя и передняя крышки; 2, 3 — вентили спускные; 4— рым-болт; 5 — охлаждающий элемент; 7 — кольцо резиновое; 8 — кольцо промежуточное; 9 — перегородка; 10 — уплотнение; // — обод; 12 — корпус; 13 — накладка; 14 — трубки медные
элемента в ванну с расплавленным припоем ПОССуЗО-2. Девять перегородок 9 направляют поток масла поперек трубного пучка, обеспечивая оптимальные условия для теплообмена. К цилиндрическим периметрам перегородок приварены ободья /7, в пазы которых закладывают уплотнения из резины 10 марки 7-3465 (ТУ 38.005.204—71). Между барабаном и трубным пучком устанавливают накладки 13 из алюминия АЛ5, доводящие до минимума зазоры в поперечном сечении.
Температурное удлинение охлаждающего элемента компенсируется перемещением его передней части, где расположен сальниковый узел II. Он состоит из двух колец 7 из резины марки 7-3109грБ (б) (ТУ 38.105.376—72) и промежуточного кольца 8. В случае пропуска воды или масла капли жидкости будут стекать наружу через трехмиллиметровые отверстия этого кольца. Водяные полости передней 6 й задней 1 крышек уплотнены. Между ребром задней крышки и трубной доской ставят паронитовую прокладку, а между ребром передней крышки — уплотнение из резины марки 6331грВ (с) (ТУ 38.105.376—72). Благодаря ребрам в крышках осуществляются три хода воды по теплообменнику и реализуется требуемая ее скорость. Обе крышки теплообменника отливались из алюминия АЛ5 (ГОСТ 2685—63). Однако в связи со значительным кавитационным износом, требующим сложного ремонта, с тепловоза № 0510 алюминиевые крышки заменены стальными.
Для удаления воздуха служат вентили 2 и 3, установленные в верхних точках теплообменника.
Учитывая перспективность и преимущества водомасляного охлаждения для тепловозных дизелей, а также отличную работу теплообменников Коломенского завода, ВНИТИ и ЦНИДИ разработан типораз-мерный ряд трубчатых водомасляных теплообменников. Для оценки совершенства конструкции теплообменника, т. е. использования металла и его компактности, а также мощности на прокачку теплоносителей используются следующие показатели:
а) весовой коэффициент теплопередачи/гр = = ^-ккал/кг • ч°С;
б) объемный коэффициент теплопередачи к\ = ^ = = Щ- ккал/м3 • ч° С; /
в) коэффициент энергетической эффективности Е = дщ-( 1/0сг Т- е-
теплоотдача на единицу мощности, затрачиваемой на прокачку теплоносителей и 1° С температурного напора;
к — коэффициент теплопередачи теплообменника, ккал/м2-ч-град;
Р — поверхность охлаждения теплообменника, м2;
Р — вес трубного пучка, кг;
V — объем трубного пучка, м3;
ф — теплосъем, ккал/ч;
Дг — среднелогарифмический температурный напор, ° С;
N — затрата мощности [дизеля на прокачку теплоносителей, л.с;
А — тепловой эквивалент работы; А = 632,3 ккал/л.с.ч.
Таблица 9

В табл. 9 приведены данные ЦНИИ МПС о теплообменниках кругло-трубчатых без оребрения тепловозов ТЭП60, ТЭ10Л, а также об опытном теплообменнике тепловоза ТЭЗ с и-образными стальными трубками. Данные по ТЭП60 откорректированы.
При сравнении теплообменников тепловозов ТЭП60 и ТЭ10Л, одинаковых по мощности, видно, что теплообменник ТЭП60 имеет лучшие характеристики.
Жалюзи и их привод. Перед секциями холодильника в боковых стенках кузова тепловоза установлены жалюзи створчатой конструкции. Жалюзи аналогичной конструкции ставят также на крыше тепловоза, на выходе из вентиляторных установок.
Створки жалюзи, изготовленные из стали 10КТ1, крепят наглухо к осям, которые вращаются в латунных втулках. Нижние концы створок боковых жалюзи имеют уплотняющие полосы из войлока т хниче-ского грубошерстного (ГОСТ 6418—67). Створки верхних жалюзи войлочных уплотнений не имеют. Перекосы жалюзи при их установке, приводящие к заеданию и неполному открытию или закрытию створок, устраняют постановкой стальных прокладок между каркасом жалюзи и кузовом с последующей их приваркой. Жалюзи должны работать без заеданий, заклиниваний и плотно закрываться. В связи с тем что регулирование расхода воздуха при помощи жалюзи приводит лишь к непроизводительной потере мощности, на тепловозе предусмотрено только два положения створок жалюзи: открыто и закрыто.
Привод жалюзи автоматизирован с использованием электропневматической системы управления. Он должен обеспечивать полное откры-
тие и закрытие створок без рывков и заеданий при давлении воздуха в цилиндрах привода 5—6 кгс/см2. Жалюзи имеют также и ручной привод, однако им пользуются только при отказе дистанционного управления.
Электропневматическая схема управления механизмами жалюзи с использованием чувствительного элемента температуры комбинированного реле КР-4 представлена на рис. 58. Для первой шахты холодильника термобаллон / помещен в поток воды на выходе из дизеля, и чувствительный элемент отрегулирован на температуру срабатывания 70+2°С. Когда температура воды достигает указанного значения, сильфон 2, растягиваясь, преодолевает усилие пружины 3. Одновременно перемещается и толкатель 4, который нажимает на кнопку микропереключателя 5, производя переключение его контактов, обеспечивающее замыкание цепи катушки 7 электропневматического клапана ВВ-3. Якорь 10 притягивается к сердечнику и перемещает вниз золот-

Рис. 58. Электропневматическая схема привода жалюзи:
/ _ термобаллои; 2— сильфои; 3, 6 — пружины; 4— толкатель; 5 — микропереключатель; 7— катушка; 8 — краники цилиндров боковых жалюзи; 9 — золотник; 10 — якорь; 11 — ручной выключатель; 12 — цилиндр жалюзи; 13 — створкн жалюзи
ник Рк. При этом закрывается атмосферный клапан и открывается клапан, сообщающий воздушную магистраль с цилиндрами 12 привода жалюзи. Под давлением воздуха 8 кгс/см2 приходит в действие система рычагов и створки жалюзи 13 устанавливаются в открытое положение.
При снижении температуры воды на выходе из дизеля (менее 70° С) кнопка микропереключателя размыкает контакты, катушка клапана ВВ-3 обесточивается и золотник 9 под действием пружины 6 перемещается вверх.
Отверстие из воздушной магистрали закрывается, а атмосферное открывается. Под действием пружин цилиндров створки жалюзи закрываются.
Схема управления жалюзи второй шахты холодильника аналогична. Однако термобаллон устанавливается в поток масла на выходе из дизеля, а чувствительный элемент отрегулирован на температуру срабатывания 62+2° С. Два остальных чувствительных элемента реле КР-4, применяемого с тепловоза № 0167, вместо четырех реле ТРК-3, используются для защиты дизеля от перегрева воды и масла, настраиваясь соответственно на температуры 93—95 и 73—75° С.
При нарушении работы автоматики (выходе из строя чувствительного элемента комбинированного реле КР-4) управление жалюзи осуществляется с пульта машиниста. Для этого имеется тумблер, переключающий с автоматической работы жалюзи на ручную, и два тумблера для непосредственного управления жалюзи передней и задней шахт.
При выходе из строя электропневматического клапана ВВ-3 и невозможности включить его нажатием на ручной выключатель // (например, когда погнулся золотник) открытие жалюзи осуществляется вручную, при помощи рычагов привода и фиксации открытого положения створок. Чтобы не открывались жалюзи с какой-либо одной стороны тепловоза или даже с одной стороны шахты (первой или второй), во время движения тепловоза при сильных боковых ветрах (с пылью, снегопадом или дождем), перед воздушными цилиндрами привода жалюзи установлены краники 8, перекрывающие доступ воздуха к цилиндрам.
Привод утеплительных чехлов. В осенне-зимний период эксплуатации тепловоза при низких температурах наружного воздуха и во время длительных стоянок боковые жалюзи утепляют чехлами. Площадь зачехления жалюзи устанавливают опытным путем и регулируют в зависимости от климатических условий.
С каждой стороны холодильника к стенкам кузова в местах установки жалюзи прикреплены направляющие балки, по которым перемещаются в вертикальном направлении окантованные рамками утеплительные чехлы. Последние изготавливают из ваты хлопчатобумажной с подкладкой парусины брезентовой с водоупорной пропиткой. Снаружи чехлы обшиты искусственной кожей. По всей площади в вертикальном направлении чехлы прошиты черными нитками.
Перемещение утеплительных чехлов 13 (рис. 59) осуществляют при помощи лебедки /, закрепленной на правой наружной стенке холодильной камеры в тамбуре со стороны второй кабины машиниста.
Рис. 59. Привод утеплительных чехлов:
7 — лебедка; 2 — трос; 3 — барабан; 4 — шпонка; 5 — валик; 6 — подшипник; 7 — масленка;
8 — рукоятка; 9 — подъемный блочек; 10 — скоба; // — ось; 12 — шплинт; 13 — чехол утепли-
тельный; 14 — промежуточный блочек; 15 — кнопка; 16 — стопорный штифт
Лебедка имеет четыре барабана 3, на которые при помощи рукоятки 8 (ручка условно не показана) наматывается стальной трос 2 диаметром 4,2 мм.
Каждый барабан управляет подъемом (при зачехлении) и опусканием (при расчехлении) своего утеплительного чехла. На стенке тамбура внизу под барабанами делают надписи белилами (слева направо): 2л, 1л, 1пр, 2 пр. Цифра означает порядковый номер чехла (считая от первой кабины), а буквы — сторону его расположения.
Все барабаны 3, отливаемые из алюминиевого сплава АЛ5, закреплены шпонками 4 на валиках 5 из стали 45. Последние вращаются в чугунных подшипниках 6. Через масленку 7 и отверстия, просверленные в валиках, к подшипникам 6 подается смазка УС-2 (ГОСТ 1033—73).
Чтобы привести в движение какой-либо чехол (или последовательно все), необходимо на квадрат хвостовика валика соответствующего барабана надеть рукоятку и при помощи кнопки 15 вывести стопорный штифт 16 из отверстия в барабане. При вращении барабана на него будет наматываться или сматываться трос 2, пропущенный через соответствующий промежуточный блочек 14 и подъемный блочек 9. При этом трос, закрепленный в скобе 10, будет перемещать чехол вверх или вниз в зависимости от направления вращения барабана.
Для демонтажа утеплительных чехлов необходимо: выбить шплинты 12 и вынуть оси //; намотать тросы на барабаны лебедки и закрепить их попарно у отверстий в месте входа тросов в кузов, использовав освободившиеся оси и шплинты. Оставшиеся оси вставить в скобы рам чехлов и зашплинтовать; снять нижние направляющие балки с каждой стороны тепловоза, вынуть .утеплительные чехлы из направляющих рам и пометить их для последующей установки на прежнее место; установить и закрепить вновь снятые ранее нижние направляющие балки; утеплительные чехлы передать на хранение, исключающее их поврежде-

ние, Установку утеплительных чехлов производят в обратном порядке при установившейся температуре наружного воздуха —5° С и ниже.
Зачехление жалюзи следует считать правильным, если при работе дизеля на полной мощности (XV позиция контроллера) давление масла в системе гидропривода вентиляторов не превышает 10—15 кгс/см2. Некоторые машинисты при небольшом понижении температуры наружного воздуха ниже нуля стараются поддерживать зачехление как можно выше, температуру воды и масла также поддерживают высокой, полагая, что при этом меньше опасность замораживания секций холодильника. С этими действиями согласиться нельзя. Замерзание секции* происходит при прекращении циркуляции в ней воды, а не от того, что машинист держал низко зачехление или не закрывал жалюзи при установке контроллера на нуль.
Только в тех случаях, когда температура воды резко снижается при остановившихся вентиляторах, что бывает при очень холодной погоде, а комбинированное реле КР-4 управления жалюзи не срабатывает, необходимо своевременно принудительно прикрыть жалюзи и поднять чехлы на столько, чтобы температура воды и масла не поднималась до-величины, нагружающей гидропривод.
Вентиляторное колесо. На тепловозах с № 0167 устанавливают восьмилопастные вентиляторные колеса (2 шт. на тепловоз) ЦАГИ серии1 УК-2М с углом установки лопастей 20°.
Лопасти / (рис. 60) изготовляют штамповкой (или выбивкой) из листовой стали толщиной 2 мм. Приваривают лопасти к втулке 3 и к воротникам жесткости 2, что повышает прочность крепления лопастей. К верхней части втулки приваривают обтекатель 4. Лопасти и воротники должны прилегать к ободу втулки. Местные просветы допускаются не более 1 мм. Просвет между лопастью и воротником в,местах постановки электрозаклепок не должен превышать 0,5 мм для одной заклепки с каждой стороны лопасти. Нарушение этих требований может повлечь за собой серьезные последствия. У тепловозов 2ТЭ10Л и ТЭП10Л на лопастях некоторых вентиляторных колес после непродолжительной работы (пробег около 60 тыс. км) в районе крепления лопасти к воротнику появлялись усталостные трещины. Обследование колес показало, что при всех случаях поломок зазоры между лопастью» и воротником доходили до 6 мм. Наблюдались также дефекты в постановке электрозаклепок: подрезы, непровар, чрезмерная высота и др. Поэтому сварка должна выполняться квалифицированным сварщиком, допущенным к сварке ответственных конструкций. Сварку выполняют электродом типа Э42А или Э50А (ГОСТ 9467—60).
При статической балансировке колеса допускаемый дисбаланс 230 гс-см. Избыточный дисбаланс устраняют приваркой грузов. После отделки и окончательной балансировки колесо вентилятора испытывают на разнос при частоте вращения 1600 об/мин в течение 15 мин.
При подборе вентиляторов для охлаждающих устройств пользуются безразмерными характеристиками. Такой способ выбора вентилятора общеизвестен и не требует специальных пояснений. Однако практика проектирования, а также исследования показали, что характеристика вентилятора в тепловозном холодильнике значительно

Рис. 60. Вентиляторное колесо: / — лопасти; 2 — воротник жесткости; 3 — втулка; 4 — обтекатель
отличается от экспериментальных характеристик ЦАГИ. Учитывая испытания Ворошиловградского машиностроительного института, на моделях холодильников тепловозов 2ТЭ10Л и М62, а также ряд на-зурных испытаний тепловозов, следует принимать в рабочей зоне характеристик вентилятора УК-2М полное давление вентилятора на 20—25% меньше, чем по графикам ЦАГИ для равномерного потока










