Котел-подогреватель
При длительных стоянках тепловозов в зимнее время вне помещения необходим периодический прогрев водяной, масляной и топливной систем дизеля, который может осуществляться работой двигателя на холостом ходу или при помощи специально установленного на тепловозах до № 0502 котла-подогревателя, работающего на дизельном топливе. На последующих выпусках тепловозов (по согласованию с МПС) котлы-подогреватели не ставят. Однако в некоторых депо еще продолжают пользоваться котлами-подогревателями (их с тепловозов не демонтируют).
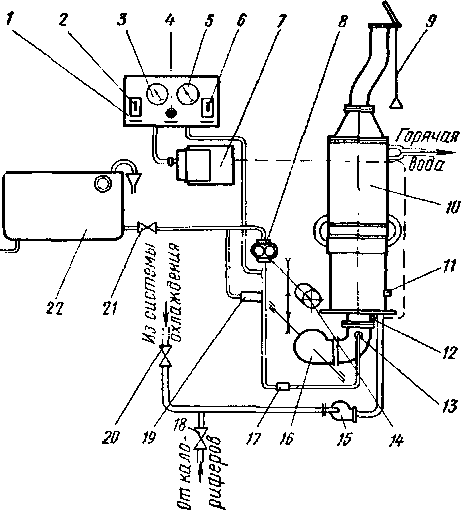
Котел-подогреватель и вся относящаяся к нему аппаратура расположены с левой стороны тепловоза, у его передней входной двери (рис. 49). Котел 10, установленный на тумбе, прикреплен при ее помощи к настилу рамы тепловоза, а средняя часть котла связана о боковой стенкой кузова.
На общем кронштейне, прикрепляемом к котлу, смонтирован блок насосов, состоящий из топливного насоса 8, водяного насоса 15 и вентилятора 16. Приводятся эти агрегаты электродвигателем 14 серии П12 (ПО В, 1 кВт, 3000 об/мин), причем шестеренчатый топливный насос — через упругую муфту, а

Рис. 49. Схема установки котла-подогревателя:
1 — щиток управления; 2 — автоматический выключатель электродвигателя котла; 3 ~-электротермометр; 4 — кнопка зажигания; 5 — электроманометр; 6 — автоматический выключатель электродвигателя маслопрокачнва-ющего насоса; 7 — агрегат зажигания; 8 — топливный насос; 9 — тяга крышки трубы; 10 — котел; // — смотровой глазок; 12 — свечи; 13 — форсунка; 14 — электродвигатель; 15 — водяной насос; 16 — вентилятор; 17 — обратный клапан; 18, 20, 21 — вентили; 19 — перепускной клапан; 22 « топливный бачок
вентилятор и водяной насос — посредством клиноременной передачи. Номинальная частота вращения водяного насоса и вентилятора составляет 3800 об/мин.
Электродвигатель 14 питается от аккумуляторной батареи и развивает 1470—1500 об/мин. До установки электродвигателя необходимо переключить его обмотку возбуждения с последовательного на параллельное соединение.
дизельное топливо поступает самотеком из топливного бачка 22 к реверсивному шестеренчатому насосу 8 серии Г11-11А и по нагнетательному трубопроводу подается к форсунке 13. Перед форсункой установлен обратный клапан 17, который препятствует скоплению дизельного топлива в форсунке и затеканию его в воздушный патрубок котла и оттуда при остановках топливного насоса — в корпус.
На нагнетательном трубопроводе установлен также перепускной клапан 19. Его пружина отрегулирована на давление 6—6,5 кгс/см2. При давлении нагнетания, превышающем установленное, топливо идет на перепуск к всасывающей стороне топливного насоса. Давление топлива показывает манометр 5, расположенный на щитке управления /. Здесь также находится электротермометр 3, указывающий температуру воды на выходе из котла, которая не должна превышать 90° С.
Для зажигания факела применены агрегат зажигания 7 марки НСЗ-2АМ и свеча поверхностного разряда 12 марки СЭ-15В. Зажигание включается кнопкой 4. На щитке управления расположены автоматические выключатели 2 и 6. Первый служит для включения электродвигателя котла, а второй — для включения электродвигателя прокачки масла через водомасляный теплообменник.
При помощи вентилей 18 и 20 котел может быть отключен от водяной системы, а при помощи вентиля 21 — от топливного бачка.
Техническая характеристика котла-подогревателя
Теплопроизводительность, ккал/ч...... 85 000—90 000
Температура воды на выходе, °С, не выше ... 90 Поверхность нагрева, м2:
топочной части........... 0,68
трубной » ........... 3,5
Объем топочного пространства, м3...... 0,056
Объем воды в котле, м3......... 0,03
Расход топлива на расчетном режиме, кг/ч ... 12
Коэффициент полезного действия, %..... 72—75
Система зажигания........... Электроискровая
Мощность, потребляемая электродвигателем, Вт . 700
Напряжение питания электродвигателя, В . . . 62—64
Тип топливного насоса (шестеренчатого) . . . Г11 — ПА
Вес котельной установки, кг........ 340
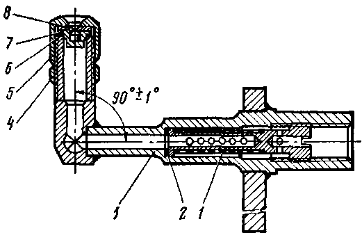
Устройство форсунки. Топливо, подаваемое насосом в форсунку проходит через сетчатый фильтр / (рис. 50), а затем через канал в корпусе 3 подается в завихритель 7 с тремя тангенциальными отверстиями 0,3 мм. После этого топливо проходит сопло 8 с распыливающим отверстием 0,6 мм и зенковкой под 60°. Форсунку до постановки на котел проверяют на распыл и расход дизельного топлива при давлении

6+0,5 кгс/см2. Топливо ДОЛЖНО распиливаться до равномерного туманообразного состояния и не выходить струйками.
Система зажигания. Агрегат зажигания работает совместно со свечой поверхностного разряда типа СЭ-15В. Свеча включается лишь во время пуска котельного агрегата.
После вспышки смеси топлива и воздуха она отключается, и дальнейшее зажигание поступающего в камеру
горения топлива происходит непрерывно за счет тепла факела.
Агрегат зажигания НСЗ-2АМ преобразует постоянный ток низкого напряжения в импульсный ток повышенного напряжения и создает емкостный разряд по поверхности свечи типа СЭ-15В.
Электрическая схема агрегата (рис. 51) выполнена по однопровод-ной схеме. Питание от аккумуляторной батареи проходит через штепсельный разъем ШР. Схема предусматривает параллельную работу двух индукционных катушек ИК, каждая из которых работает на свою свечу. На тепловозе используется только половина агрегата зажигания, а вторая является резервной.
В процессе размыкания контактов К во вторичной обмотке возникает э. д. с, создающая ток, который через селеновый выпрямитель В
Рис. 50. Форсунка:
/ — фильтр; 2, 6 — прокладки; 3 — корпус; 4 — контргайка; 5 — гайка накидная; 7 — завихритель; 8 — сопло

Рис. 51. Принципиальная электрическая схема агрегата зажигания
НСЗ-2АМ:
ШР — штепсельный разъем; Ф — фильтр; Др — дроссель фильтра; С2, СЗ, С4 — конденсаторы фильтра; ИК— индукционная катушка; Ц72 — первичная и вто-
ричная обмотки индукционной катушки; С5 — нскрогаснтельный конденсатор; К— контакты прерывателя; В — селеновый выпрямитель; С1 — рабочий конденсатор; й— резистор; Р — газонаполненный разрядник; Св — свеча поверхностного разряда
заряжает рабочий конденсатор С1. Частота следования импульсов тока равна частоте разрыва контактов прерывателя. Когда напряжение на конденсаторе достигает величины, достаточной для пробоя промежутка газонаполненного разрядника Р и искрового промежутка свечи Св (1,3—2,2 кВ), происходит пробой промежутка разрядника и свечи. Частота следования разрядов 2 — 7 импульсов в секунду.
Параллельно рабочему конденсатору включено постоянное сопротивление 3 МОм, через которое происходит разряд рабочего конденсатора после выключения агрегата. Таким образом исключается возможность поражения током обслуживающего персонала после выключения агрегата.
Уход за агрегатом НСЗ-2АМ сводится к проверке надежности крепления и целостности питающих и высоковольтных проводов, а также наблюдению за состоянием контактов прерывателей.
При обнаружении на поверхности контактов масла следует протереть их замшей, смоченной в чистом спирте. Пользоваться для чистки ветошью, наждачной и стеклянной бумагой запрещается. При наличии на контактах нагара очистить их специальным «бархатным» напильником, протаскивая его несколько раз между контактами. Затем контакты протереть замшей. После зачистки рабочие поверхности контактов должны плотно прилегать друг к другу. Необходимо следить, чтобы на контакты прерывателей не могли попасть масло, керосин, бензин. Осмотр контактов следует приурочивать к большому периодическому ремонту тепловоза а осенне-зимний период эксплуатации.
Эксплуатация и уход за котлом-подогревателем При пуске котла-подогревателя необходимо: а) открыть соответствующие вентили водяной системы дизеля; б) открыть тягой 9 (см. рис. 49) крышку дымовой трубы; в) убедиться в наличии топлива в баке и открыть вентиль для подачи топлива к насосу. Включить аккумуляторную батарею или подключить котел к постороннему источнику электроэнергии; г) нажать кнопку зажигания на щитке котла и, убедившись в наличии искры, включить электродвигатель котла. Электродвигатель включается автоматически выключателем, который при перегрузке двигателя отключает его; д) отпустить кнопку зажигания после загорания факела и через смотровое стекло // убедиться в устойчивом горении. Работа без стекла не допускается. Давление топлива должно составлять 6 ± 0,5 кгс/см2. Работа котла с дымом запрещается.
Для кратковременной остановки котла выключают - только его электродвигатель. При остановке котла на длительное время следует вначале перекрыть вентиль подачи топлива из бачка, а через 15—20 с выключить электродвигатель.
При температуре наружного воздуха — 40° С и нормально заряженной батарее при включенных электродвигателях котла и масло-прокачивающего насоса суммарное время работы системы прогрева не должно превышать 1,5 ч. При температуре наружного воздуха —20° С допускается работа в течение 3 ч. По истечении этого времени систему прогрева следует выключить и произвести подзаряд аккумуляторной батареи до зарядного тока 10—15 А при нормальном напряжении вспомогательного генератора.
Для предупреждения глубоких разрядов аккумуляторной батареи при длительных стоянках тепловозов следует котел подключить к постороннему источнику питания (там, где он имеется). В этом случае длительность работы котла не ограничивается.
Необходимо периодически проверять натяжение клиноременной передачи блока насосов. Прогиб ремня должен быть 12—14 мм при усилии 1 кгс, приложенном к середине ремня.
Профилактические осмотры и периодические ремонты котла и его агрегатов должны, как правило, приурочиваться к осенне-зимнему периоду эксплуатации тепловоза, так как летом котлом не пользуются.
Через один профилактический ремонт (в зимнее время) необходимо снять и проверить работу форсунки котла. Очистить от нагара камеру сгорания, пустить котел-подогреватель и проверить его работу.
На большом периодическом ремонте следует разобрать, осмотреть и заменить дефектные детали у котла-подогревателя. Осмотреть и испытать блок насосов котла и систему зажигания. После сборки зажечь котел и отрегулировать его для устойчивого горения. Во время заводского ремонта тепловоза котел-подогреватель и все его агрегаты полностью разбирают, очищают и проверяют. Электродвигатель и агрегат зажигания подвергают полной ревизии, ремонту и испытаниям.










