8. Вертикальная передача, воздуходувка и приводы
Вертикальная передача. Только у двухтактных двигателей с прямоточно-щелевой продувкой с противоположно движущимися поршнями и двумя коленчатыми валами или у двигателей, имеющих силовую турбину, мощность которой передается коленчатому валу, используется вертикальная передача. Эта передача выполняет функцию связывающего звена между коленчатыми валами и функцию органа газораспределения. Выпускные окна
втулок цилиндров благодаря вертикальной передаче открываются и закрываются раньше продувочных окон, поэтому выпуск газов происходит раньше начала продувки и тем самым создаются условия понижения давления в цилиндре и инерционного движения газов в сторону выпускных окон, что способствует улучшенному процессу очистки цилиндров от выпускных газов и наддуву их свежим воздушным зарядом.
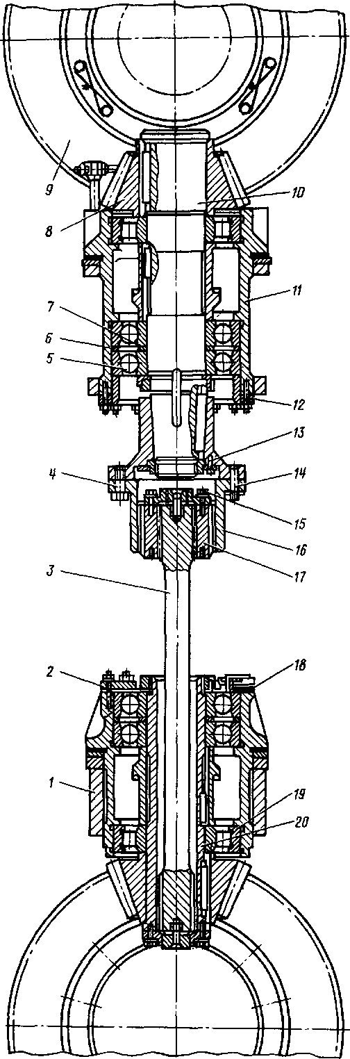
Вертикальная передача выполнена в виде двух пар конических шестерен, по одной паре на каждый коленчатый вал, и вертикального вала (рис. 16). Каждая пара шестерен (большая на коленчатом валу, а малая на валу вертикальной передачи) после взаимной притирки обкаткой на станке составляет комплект, имеющий один номер, с указанием допускаемого бокового зазора.
Большие конические шестерни (см. рис. 2), установленные на концевой части каждого коленчатого вала, прикреплены к фланцам вала болтами, половина из которых призонные (через один). Малые конические шестерни установлены на верхний и нижний валы вертикальной передачи на шпонках с натягом. Верхний и нижний валы вертикальной передачи смонтированы на роликовых подшипниках качения и радиально-упорных шариковых подшипниках в чугунных корпусах, а подшипники со своими распорными втулками стянуты нажимными фланцами шпильками, ввернутыми в торец корпуса.
На конусном хвостовике верхнего вертикального вала 10 установлена ступица 13 и закреплена гайкой 15, навинченной на резьбовую часть конусного хвостовика. К ступице прикреплена своим фланцем шлицевая муфта 16. Верхний и нижний вертикальные валы
Рис. 16. Вертикальная передача: / — корпус нижний; 2, 15 — гайки; 3 — вал торсион-ный; 4 — штнфт конический; 5 — раднально-упорный подшипник; 6,7 — кольца регулировочные; 8 — малая коническая шестерня; 9 — большая коническая шестерня; 10—вал верхний; //—корпус верхний; 12, 18 — фланцы нажимные; 13 — ступнца; 14 — болт; 16 — муфта; 17 — втулка шлицевая; 19 — роликовый подшипник; 20— вал нижний
соединены торсионным валом 3, шлицы которого входят в шлицы нижнего вертикального вала. Верхний конец

торсионного вала своими шлицами соединен со шлицевой втулкой, которая в свою очередь наружными шлицами соединена со шлицевой муфтой. Такое двойное шлицевое соединение (торсионный вал—шлицевая втулка—шлицевая муфта) позволяет оегулиповать угол опережения заклинивания валов и взаимное осевое перемещение их при изменении длины торсионного вала при его закрутке или вертикальное из-за теплового расширения.
Воздуходувка. У двухтактных дизелей процесс газообмена осуществляется при помощи сжатого воздуха, который подается продувочным устройством—центробежным или объемным нагнетателем. Воздух, подаваемый для продувки и зарядки цилиндра, очищают от пылевых частиц и масла, попадаемо-го из нагнетателя в процессе сжатия или в пооцессе всасывания газов при вентиляции картера.
Объемные компрессоры, применяв мые в качестве продувочных у двухтактных двигателей, делят на поршневые и роторные. Поршневые компрессоры имеют более высокий коэффициент полезного действия, чем роторные. Недостаток поршневых компрессоров — большие габаритные размеры и несовершенная динамика кривошипного механизма В компрессоре нет предварительного сжатия нагнетаемого воздуха. При вращении роторов из полости всасывания захватывается воздух, заключенный в пространстве между лопастями и коопусом. Давление между этими лопастями равно атмосферному. В первый момент, когда пространство между лопастями начнет сообщаться с нагнетательной полостью, воздух движется в обратном направлении—из нагнетательной полости в пространство между лопастями. Только тогда, когда давление в поостранстве между лопастями повысится до давления в нагнетательной полости, начнется подача воздуха из компрессора в ресивер двигателя. Высокая частота изменения направления воздушного потока вызывает понижение к. п д. компрессора, повышает температуру нагнетаемого воздуха и увеличивает шум при работе Поэтому компрессоры такого типа применяют при небольших давлениях на-
гнетания. Роторы таких компрессоров делаются с двумя или тремя лопастями—прямыми или винтовыми. Винтовая форма лопастей роторов обеспечивает плавную подачу воздуха и снижает шумность.
В дизеле 2Д100 установлена роторная воздуходувка типа Рут с тремя винтовыми лопастями (рис. 17), обеспечивающая давление 0,13—0,14 МПа (1,3—1,4 кгс/см2) Воздуходувка состоит из корпуса / верхнего и нижнего роторов, передней 13 и задней 3 торцовых плит. Корпус воздуходувки, имеющий каналы для прохода воздуха и оебра жесткости, отлит из алюминиевого сплава. В корпусе выполнена цилиндрическая расточка, в которой размещены роторы.
Роторы трехлопастные, лопасти пустотелые, отлиты из алюминиевого сплава с залитыми внутрь стальными валами, имеющими шлицы и кольцевые проточки, что при заливке обеспечивает более прочное соединение. После механической обработки роторы подвергаются динамической балансировке, а грузики 21, устраняющие дисбаланс, собирают в пакетики и крепят винтом в стальных пробках 20, которые на резьбе завертываются в торцы ротора. От-балансиоованные роторы проверяют на Разгон в течение 1—2 мин при 3000 об/мин.
Роторы вращаются в цилиндрических расточках корпуса, при этом они не должны соприкасаться между собой и со стенками корпуса. Для обеспечения этого требования роторы связаны координационными шестернями. После регулировки радиального зазора по роторам ведущая координационная шестерня 14 фиксируется с шестерней привода воздуходувки путем совместной обработки отвеостий под призонные болты, соединяющие эти шестерни.
При установке роторов в корпус необходимо следить, чтобы лопасть нижнего потора, на торце которой выбита цифра 0, совпала со впадиной верхнего ротора, на которой выбита также метка, а зуб нижней координационной шестерни, имеющий цифру 0, вошел во впадину между зубьями верхней координационной шестерни, имеющую отметку 00. На внешних

Рис. 17. Воздуходувка:
/ — корпус; 2 — рабочее колесо верхнее; 3 — плита тооцовая задняя; 4 — роликовый подшипник; 5 — шариковый подшипник; 6 — шайба упорная; 7 — кольцо оегулнровочное; 8 — рабочее колесо нижнее; 9, 10—проставочные кольца; 11 — кожух; 12 — пробка; 13—плита торцовая пеоедняя; 14 — шестерня кооодинацнонная ведущая; 15 — шестерня поивода; 16 — болт поизонный; 17 — шестеоня ведомая; 18 — маслоуловитель; 19—кольцо уплотнительное; 20—пробка с балансировочными грузиками; 21—балансиоовочные
грузикн; 22 — прокладка
боковых стенках корпуса имеются два смотровых люка во всасывающую полость, на правом люке установлена труба отсоса картерных газов, очищаемых от масла специальным маслоотбойни-ком, расположенным в отсеке вертикальной передачи (маслоотделитель).
С торцов корпус закрыт стальными сварными плитами 3 и 13. Плиты крепят к корпусу шпильками и после центровки их по роторам штифтуют, по два штифта на каждую плиту. Передняя плита имеет фланец, которым она прикреплена к блоку дизеля. В передней плите установлены роликовые подшипники, в задней—роликовые и радиально-упорные шарикоподшипники. Шарикоподшипники разгружены от действия радиальных нагрузок и установлены с предварительным осевым натягом, создаваемым за счет разности толщин проставочных 2*
колец между внутренними и наружными кольцами подшипников.
Зазоры между роторами и корпусом обеспечиваются центрированием торцовых плит относительно корпуса.
Для защиты роторов от попадания масла из подшипников в полость вращения роторов на осях роторов установлены чугунные разрезные кольца типа поршневых в специальных обоймах, напрессованных на оси роторов. Количество масла, подводимого к подшипникам роторов, дозируется постановкой в трубопроводе масла жиклеров расчетного размера.
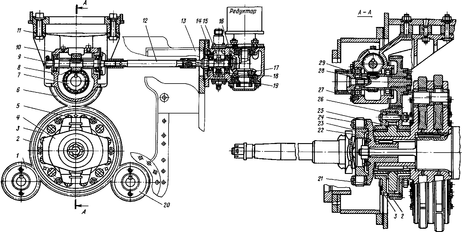
Эластичный привод воздуходувки. Привод воздуходувки осуществляется от верхнего коленчатого вала цилиндрическими зубчатыми колесами и состоит из ведущей шестерни 7 и вмонтированной в нее эластичной пружинной муфты и ведомого зубчатого колеса /
(рис. 18), которое установлено на нижнем валу ротора воздуходувки. Ступица
4 ведущей шестерни посажена на шпонке на конец коленчатого вала и прижата к его бурту торцовым диском, прикрепленным к торцу вала шпильками. На ступицу надета ведущая шестерня, в которую впрессована с натягом бронзовая втулка 3. Бронзовая втулка
5 сидит на шлифованной шейке ступицы с зазором и имеет возможность проворачиваться. На вторую шлифованную шейку ступицы насажен боковой диск 2. Диск также имеет возможность проворачиваться. В отверстия бокового диска и шестерни входят цапфы 6 сухарей, на которые опираются пружины 8 с одной стороны и на выступы ступицы—с другой стороны. Как в сухарях, так и в выступах имеются цековки для центровки пружин.
Во время работы ступица передает вращающий момент от верхнего коленчатого вала через свои выступы пружинам, а пружины через сухари— опорному диску и шестерне, шестерня через ведомую шестерню на роторе вращает нижний ротор и ведущую координационную шестерню воздуходувки.
Смазка поступает к опорным бронзовым втулкам шестерни и опорного диска, к сухарям и пружинам в ступице через кольцевую канавку. Масло в канавку попадает из канала в торце коленчатого вала и далее по канавке, прорезанной на дне шпоночного паза ступицы. Из кольцевой канавки масло по наклонным канавкам в ступице идет к бронзовым втулкам опорных дисков. В зацепление зубьев шестерен масло подается из жиклера, укреплен-

Рис. 18. Привод воздуходувки: / — ведомое зубчатое колесо; 2 — боковой диск; 3, 5 — бронзовые втулки; 4 — ступица; 6 — цапфа;
7 — ведущая шестерня; 8 — пружина
ного на поперечном листе блока в отсеке вертикальной передачи. К жиклеру масло подводится по трубке из масляного коллектора.
Привод агрегатов и гидромеханического редуктора. Известно, что эффективная мощность дизеля (мощность, замеренная на фланце коленчатого вала) меньше индикаторной на величину мощности внутренних потерь, состоящих из потерь на трение в шатунно-кривошипном механизме, привод валов топливных насосов и самих насосов, привод воздуходувки для очистки цилиндров от продуктов сгорания и наддува цилиндров свежим воздушным зарядом, привод агрегатов, установленных на дизеле (насос масляный смазки двигателя, насос масляный центробежного фильтоа, фильтры масла, насосы водяные, привод тахометра и др.).
Таким образом, эффективная мощность дизеля
ЛАе=М-ЛАтр,
где n1 — индикатооная мощность двигателя; гУтр—мощность внутоенних потеоь.
Механический коэффициент полезного действия (к. п. д.) дизеля
г|м = Л^/М, тогда М.= Мт]м-
Следовательно, при данной индикаторной мощности можно увеличить эффективную (полезную) мощность (Йе) путем достижения минимальных затрат на привод агрегатов, а в целом— увеличить механический к. п. д.
Привод агрегатов (рис. 19) аналогично приводу воздуходувки осуществляется от нижнего коленчатого вала через шестеренную передачу с эластичным приводом. Эластичный привод состоит из шестерни, упруго соединенной с нижним коленчатым валом и находящейся в постоянном зацеплении с шестерней водяного насоса, шестерней маслопрокачивающего насоса и масляного насоса для центробежного фильтра и шестерней привода регулятора.
Эластичная шестерня своей ступицей напрессована на цапфу ступицы антивибратора и соединена с ней шпонкой. На цапфы ступицы 25 на-
сажена шестерня с опорными дисками, в которые запрессованы с натягом бронзовые втулки 23, надетые с зазором 0,1—0,2 мм на цапфы ступицы. Между выступами и сухарями, закрепленными в опорном диске и шестерне (аналогично, как и в эластичном приводе воздуходувки), установлены пружины. Сухари закреплены в опорном диске и шестерне призонными болтами с корончатой гайкой. К бронзовым втулкам, на которых шестерня имеет возможность качаться, подводится масло из нижнего коленчатого вала к ступице антивибратора и далее по шпоночному пазу ступицы шестерни и по наклонным отверстиям к втулкам и зацеплениям шестерен.
Привод к гидромеханическому редуктору осуществляется через кардан, вилка 21 которого запрессована во внутреннее отверстие ступицы антивибратора и вместе с запрессованной вилкой кардана закреплена затяжкой гайки на шпильке, ввернутой в хвостовик коленчатого вала так, чтобы местный зазор между торцами антивибратор—коленчатый вал и торцами вилка кардана—ступица антивибратора был не более 0,05 мм на дуге не более 60 мм. Цапфа встречной вилки, вышедшая из уплотнения, на опорной плите насосов, имеет на своем конце конус для насадки с натягом фланца, которым она соединяется с промежуточным валом привода гидромеханического редуктора.
Цапфа встречной вилки кардана привода гидромеханического редуктора на выходе из опорной плиты насосов имеет специальное текстолитовое уплотнение для предотвращения утечки масла между стенкой отверстия и цапфой кардана. Оно состоит из стальной шайбы со сферическим торцом, напрессованной на цапфу вилки сферической стороной к отверстию в опорной плите и текстолитового кольца с внутренней сферической поверхностью одного радиуса со сферой стального кольца. Текстолитовое кольцо свободно посажено во фланец на пружинах и может перемещаться под действием пружин. Фланец крепится к передней стенке опорной плиты насосов, а текстолитовое кольцо пружинами прижимается к

Рис. 19. Привод агрегатов, установленных на дизеле: /, 20 — шестерни водяных насосов; 2 — шестеоня коленчатого вала; 3 — опорный диск; 4, 21 — вилки каоданные; 5 — пружина; 6 — шестерня привода масляного насоса; 7, 8, 15, 18—винтовые шестеонн; 9 — ведомый валик; 10 — корпус; //, 14, 19 — регулировочные прокладки; 12 — промежуточный валик; 13 — плита насосов; 16 — вал шестерни конической; 17 — коническая шестеоня; 22 — крестовина; 23, 24 — втулки; 25 — ступица; 26 — сухарь; 27— шлицевая муфта; 28 — ведущий вал; 29 — стопорное кольцо
стальной сферической шайбе (см. рис. 19).
Валы масляного насоса и регулятора приводятся во вращение от эластичной шестерни, посаженной на цапфу ступицы антивибратора через сухари и пружины, опирающиеся на радиальные выступы ступицы ведомой шестерни. От ведомой шестерни через ведомый вал (связанный с шестерней шлице-вым соединением) вращение передается к масляному насосу. Вал масляного насоса соединен с ведомым валом при помощи шлиц муфты.
Привод к регулятору производится через винтовую пару, у которой ведущая винтовая шестерня посажена на приводной вал масляного насоса, а ведомая — на вал привода регулятора.










