5. Поршень, поршневые кольца и шатун
Поршень. Поршень непосредственно воспринимает нагрузку от газов, образующихся в цилиндре при сгорании топлива, и передает это усилие через шатун на коленчатый вал. В двухтактных двигателях особенно с прямо-точно-щелевой продувкой создание герметичного уплотнения картера решается сложно. Конструкция бесшпилечного поршня (рис. 12) лучше обеспечивает герметизацию картера, чем поршень с бобышками.
Поскольку у двухтактных дизелей усилия, действующие на поршень, все время направлены к н. м. т., силы инерции не вызывают напряжений растяжения в шатуне и его болтах, а следовательно, применение

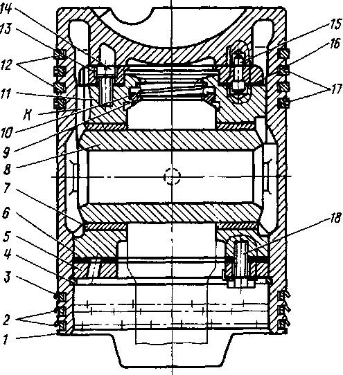
Рис. 12. Поршень бесшпнлечный: / — поршень; 2,3 — маслосрезывающие поршневые кольца; 4 — стопорное кольцо; 5 — нижняя плнта, 6, 16 — регулировочные прокладки; 7 — втулка; 8 — поршневой палец, 9 — ползушка; 10 — пружина, //—вставка, 12—уплотнительные (компрессионные) хромированные кольца, 13—верхняя плнта, 14 — винт; 15 — штифт; 17 — уплотнительные (компрессионные) кольца с бронзовой вставкой, 18 — болт; К — канал для слива масла из полости охлаждения головки поршня
чугунных (более тяжелых) поршней, увеличивающих силы инерции, не вызывает необходимости усиления шатуна и его деталей.
В верхней части поршня установлены четыре уплотнительных кольца. Два уплотнительных кольца 12 хромированные из высокопрочного чугуна. Два других уплотнительных (компрессионных) кольца 17 выполнены с запрессованными в них бронзовыми вставками для прирабатываемое™ колец к зеркалу втулки. В нижней части поршня расположены три маелосрезы-вающих кольца 2 и 3. Маслосрезывающие кольца так же, как и компрессионные 17, выполнены из специального чугуна и покрыты оловом для улучшения приработки их к зеркалу втулки.
Для понижения тепловой напряженности поршневой группы поршень и пояс уплотнительных колец в области головки поршня охлаждаются маслом. Масло подается по каналам в стержень шатуна и через ползушку, которая уплотняет сочленение поршень —
верхняя головка шатуна, попадает в полость между головкой поршня и верхней плитой вставки. Омывая внутреннюю поверхность головки поршня, масло охлаждает его. Масло выходит из поршня через отверстия в плите и во вставке, попадая в масляный картер по каналу К- Из верхнего поршня масло выбрасывается инерционными силами через сливной канал. Верхняя часть поршня (головка) имеет жаростойкое хромовое покрытие.
Верхний и нижний поршни конструктивно одинаковы, но не взаимозаменяемы, так как они по форме днища (камеры сгорания) симметричны, а по юбке верхний не имеет приливов («бороды»). Верхние опорные плиты и вставки верхних и нижних поршней также не взаимозаменяемы из-за зеркального расположения пазов для слива охлаждающего масла.
Поршень, перемещаясь со средней скоростью 7,2 м/с и передавая на шатун усилие около 300 кН (30 тс), должен в то же время обеспечивать такую герметизацию, при которой выпускные газы и воздух при его сжатии в цилиндре не попадали бы в картер дизеля. Герметизация обеспечивается, с одной стороны, точным зазором между юбкой поршня и втулкой цилиндра, а с другой—поршневыми компрессионными кольцами (в двухтактном двигателе со щелевой продувкой в значительной степени также и масло-срезывающими кольцами). Во время работы поршень испытывает высокие механические нагрузки от давления газов и сил инерции, а также тепловую нагрузку от соприкосновения с горячими газами при совершении каждого оборота коленчатого вала.
Металл для отливки поршней соответствует требованиям специальных технических условий и следующему химическому составу в %: углерод 2,9—3,1; кремний 1,6—2,0; марганец 0,9—1,2; хром 0,25—0,35; никель 0,7— 0,9; молибден 0,2—0,3; фосфор < 0,1; сера ^ 0,1.
Камера сгорания поршня имеет чечевичную форму. Ребрами на внутренней поверхности донышка поршень опирается на вставку. Опорные ребра выполнены в виде двух незамкнутых
колец для прохода масла, охлаждающего днище поршня. По геометрической форме образующей поршень выполнен идентично поршням шпилечной конструкции, устанавливаемых ранее на дизелях (вариант ЗА). Расположение компрессионных и маслосрезывающих колец соответствует поршню варианта ЗА.
Поверхность юбки поршня покрыта тонким слоем (0,03—0,05 мм) кадмия иди олова для прирабатываемости ее к втулке. Антифрикционный слой не допускает задирообразования при длительной работе. Юбка поршня выполнена удлиненной, так как, находясь в в. м. т., поршень должен закрывать выпускные окна и иметь большую устойчивость от опрокидывания относительно поршневого пальца.
Чугунная вставка //в сборе с плитами 5 и 13 и прокладками установлена в поршень и зафиксирована стопорным кольцом 4. Верхняя опорная плита крепится к вставке двумя винтами 14 и имеет запрессованный ступенчатый штифт 15, который фиксирует поршень, плиту 13 и вставку // так, чтобы масляные каналы в плите и вставке совпадали, а также определяет положение поршня в цилиндре относительно форсунок. Под верхней плитой установлены прокладки 16 для регулировки линейной величины камеры сжатия. Расстояние между поршнями, находящимися в цилиндре в собранном состоянии с шатунами (в наиболее сближенном положении), называется линейной величиной камеры сжатия. Эта величина играет важную роль в рабочем процессе двигателя, поэтому ее установку и проверку следует проводить тщательно. Нормально линейная величина камеры сжатия 4,4—4,8 мм.
В верхней части внутри вставки установлена ползушка 9, которая пружиной 10 прижимается к сферической поверхности верхней головки шатуна. К нижней части вставки двумя болтами 18 крепится нижняя плита 5, под которой установлены прокладки 6 для регулировки зазора между плитой 5 и стопорным кольцом 4.
Для правильной сборки поршней на плитах и вставках клеймят буквы В (для деталей верхнего поршня) и Н (для деталей нижнего поршня).
В двухтактных двигателях поршень выполняет функции газораспределения. Положение верхнего кольца на нем определяет фазы распределения, поэтому верхнее рабочее кольцо двухтактного двигателя поставлено в тяжелые условия, так как оно испытывает большую тепловую напряженность из-за высокой температуры газов в момент начала открытия поршнем продувочных и выпускных окон. Особенно в тяжелых условиях находится нижний выпускной поршень, который омывается все время горячими газами, в то время как верхний, так называемый «продувочный», периодически в момент открытия продувочных окон охлаждается воздухом.
Температура и другие параметры, при которых протекает рабочий процесс, определяют нагрев головки поршня и верхних поршневых колец, а следовательно, и их работоспособность. Рациональная форма днища поршня должна способствовать хорошему смесеобразованию и сгоранию.
Работоспособность (надежность) поршневой группы зависит от многих факторов. В частности, от эффек: тивности способов отвода тепла от днища поршня и создания благоприятных условий для работы поршневых колец. Через поршень может отводиться до 7—8% тепла, вводимого с топливом в цилиндр двигателя. Очень важен подбор соответствующих антифрикционных качеств трущейся пары: поршень — кольцо с одной стороны зеркало — втулки цилиндров с другой, и хорошие условия их прирабатываемости с третьей. Надежность поршневой группы зависит от геометрических размеров поршня, конусности его головки, формы юбки поршня (правильный выбор зазоров между втулкой и юбкой поршня, допускающих тепловое расширение поршня). Отсутствие эллиптичности, конусности и граненности зеркала втулки цилиндра, обеспечение хорошего прилегания к зеркалу втулки поршневых колец способствуют хорошей их приработке и устраняют прорыв газа в картер. Нельзя забывать и о качестве материалов, применяемых для изготовления поршней и колец и их способности выдерживать длительную динамическую и статическую нагрузки
при повышенной температуре без накопления остаточных деформаций, теплопроводности, коэффициента линейного расширения, механических свойств и др.
Поршневые кольца. По назначению поршневые кольца делятся на два типа: компрессионные и маслосрезы-вающие. Компрессионные кольца уплотняют камеру сгорания за счет упругих свойств самого кольца и действия газов, поступающих из камеры сгорания. Давление газов создает основное усилие прижатия кольца к стенкам зеркала втулки цилиндра. Сила упругости собственно кольца невелика и не может предохранить цилиндр от прорыва газов. Ширина канавки под поршневое кольцо имеет важное значение, так как масса кольца прямо зависит от этого размера. Массу кольца нежелательно увеличивать, так как под действием инерционных сил создаются условия для разработки (разбивания) канавок по ширине. Это явление весьма значительно проявляется в четырехтактных дизелях. В двухтактных дизелях оно несущественно. Компрессионные кольца устанавливаются в верхней части поршня, маслосрезывающие— ниже компрессионных или ниже поршневого пальца. У дизеля два нижних поршневых кольца служат для срезания (съема) масла с зеркала втулки цилиндра (поэтому они называются мас-лосрезывающими) и тем самым препятствуют попаданию его в камеру сгорания, а следовательно, закоксова нию компрессионных колец, смолоот-ложениям, ухудшению рабочего процесса и дымлению. Состояние масло-срезывающих колец определяет расход масла, идущего на угар.
В течение последних лет (годы после прекращения выпуска тепловозов ТЭЗ) нагрузка на двигатель непрерывно возрастает и достигает по среднему эффективному давлению (ре) для двухтактных дизелей более 1,1 МП а (11 кгс/см2), что привело к снижению срока службы поршневых колец. Учитывая это, по дизелю 10Д100 проводятся непрерывные работы, направленные на повышение срока службы поршневых колец. Поскольку поршневые кольца дизеля 2Д100 полностью унифицированы с 1 ОД 100, то такие кольца поступают и их будут ставить на дизели 2Д100.
Во время эксплуатации поршневые кольца должны быть стойки к задирам, абразивному и коррозионному износам. Коррозионный износ происходит вследствие образования кислот при сгорании топлива с высоким содержанием серы. От абразивного или пылевого износа дизель защищен воздухоочистителями, которые всегда должны быть в хорошем состоянии.
Верхнее маслосрезывающее кольцо, кроме съема масла, выполняет функцию уплотнительного кольца, предотвращающего попадание выпускных газов или наддувочного воздуха в картер дизеля при положении нижнего или верхнего поршня в наружной мертвой точке. Кольца выполнены из специального чугуна.
Два компрессионных кольца (устанавливаемые в 1-й и 3-й ручьи нижнего поршня и в 1-й ручей верхнего поршня) изготовлены из высокопрочного чугуна с шаровидным графитом и легированы хромом, никелем, молибденом и марганцем; химический состав по Мп, Сг, № и Мо является обязательным, по остальным элементам—факультативным (табл. 1). Для проверки качества материала от каждой плавки от заготовки вырезают пластины. Заготовки до взятия образцов после предварительной обработки подвергают искусственному старению.
Обточка заготовки до ее нарезки на отдельные кольца производится по заданной эпюре кольца. Рабочую
Таблица

цилиндрическую поверхность колец хромируют и покрывают приработоч-ным слоем дисульфид-молибденовой композиции. Изготовленные из таких заготовок компрессионные кольца хромируют. Хромированные кольца по наружному цилиндру имеют маслоудер-живающие канавки и медь-дисульфид-молибденовое приработочное покрытие.
Два других компрессионных кольца изготовлены из специального чугуна и термически обработаны. Для лучшей прирабатываемости колец к зеркалу втулки цилиндра в кольца запрессованы бронзовые пояски с последующим лужением оловом и образованием (до лужения) двустороннего конуса в обе стороны от бронзового пояска (конус 1+0'5 ). Для обеспечения плавного прохождения компрессионными кольцами кромок выпускных и продувочных окон на цилиндрической поверхности у замков кольца снимают фаски на длине ~60 мм.
Кольца проверяют на прилегание к плите (равномерно не менее 50% площади каждой торцовой поверхности) . Цилиндрическую поверхность кольца проверяют на прилегание ее к поверхности контрольного калибра диаметром 207 +<ш мм, допускается два просвета длиной не более 100 мм и не ближе 55 мм от замка. Каждое кольцо проверяют на отсутствие коробления, пропуская его через щель 7,95+0'02 мм, образованную двумя параллельными плитами при вертикальном их положении (кольцо проходит через щель под действием собственного веса). Упругость колец проверяют на ленточном приборе, стягивающем кольцо грузом 60—70 Н (6—7 кгс) до зазора в замке 1+0,2 мм. Зазор в замке в свободном состоянии должен быть 24—32 мм, при браковочном в эксплуатации—18 мм. Зазор в замке в рабочем состоянии 1 —1,4 мм.
Маслосрезывающие поршневые кольца обоих типов (кольца с прорезью для стока масла и уплотняющие маслосрезывающие кольца) имеют острую кромку, направленную на съем масла с зеркала втулки, т. е. в сторону движения поршня от внутренней мертвой точки (в. м. т.). Масло, снимаемое кольцами со стенок цилиндра, стекает
по прорезям и отверстиям в поршне вовнутрь поршня и далее в картер двигателя. При обратном движении поршня (закругленной кромкой в сторону камеры сгорания) масло с зеркала втулки цилиндра не срезается, кольцо как бы скользит по маслу, не соскабливая его.
Следует отметить, что при сборке поршней с шатунами или замене одного из них необходимо, чтобы в одном комплекте (группа поршень — шатун любого из коленчатых валов) вес их отличался не более чем на 5,00 Н, а вес поршней—не более 2,50 Н. Изготавливают три группы шатунов и две группы поршней.
Поршневой палец 8 (см. рис. 12) изготовлен из стали 12ХН2А, цементирован, твердость НЕС 58—63. Палец пустотелый, плавающего типа, установлен свободно (с зазором) в отверстия вставки, в которые запрессованы бронзовые втулки. Во время работы палец проворачивается. Преимущество такой конструкции—равномерный износ поверхности. Осевое перемещение пальца ограничено специальными выступами на внутренней поверхности юбки поршня.
В двухтактных двигателях поршневой палец прижимается к одной стороне и знакопеременные усилия отсутствуют, благодаря чему создаются неблагоприятные условия, так как качательное движение не обеспечивает создание масляного клина. У дизеля 2Д100 этот недостаток устранен тем, что на рабочей поверхности бронзовой втулки выполнены спиральные канавки специального профиля. Во втулке всего 32 канавки с шагом 1600 мм, направление спирали произвольное (левое или правое).
Шатун. Шатун передает движение от поршня к коленчатому валу, превращая возвратно-поступательное движение во вращательное движение коленчатого вала. Силы от сгорания топлива в цилиндре и силы от сжимаемого в цилиндре воздуха воздействуют на шатун, стремясь его согнуть (сжать). Шатун двухтактного дизеля испытывает пульсирующие нагрузки, т. е. переменные по величине, но не меняющие знака. Кроме высокой прочности, жест~ кости и износоустойчивости в сочле-
нениях, шатун должен иметь малую массу, Чтобы испытывать минимальные силы инерции.
У двигателя 2Д100 со встречно-движущимися поршнями и с двумя шатунами для выбора оптимальных габаритных размеров дизеля по высоте верхний шатун короче нижнего. Вообще принято в современных быстроходных двигателях длину шатуна задавать как функцию радиуса кривошипа: А,= = /?/£, где £—длина шатуна между осями верхней и нижней головок; /?—радиус кривошипа. Эта величина колеблется в пределах 1/3,8—1/4,3. Следует иметь в виду, что уменьшение длины шатуна приводит к увеличению нормального давления поршня на стенку втулки цилиндра. Шатун состоит из верхней головки, стержня и нижней головки.
Верхней головкой шатун соединен с поршнем при помощи поршневого пальца.










