26. Тележка
Тепловоз ТЭЗ опирается на две трехосные тележки (рис. 98). Тележка состоит из рамы, опорно-возвращаю-щего устройства, рессорного подвешивания, тормоза, колесных пар с буксами и тяговыми двигателями.
База тележки, т.е. расстояние между центрами крайних колесных пар, равна 4200 мм.
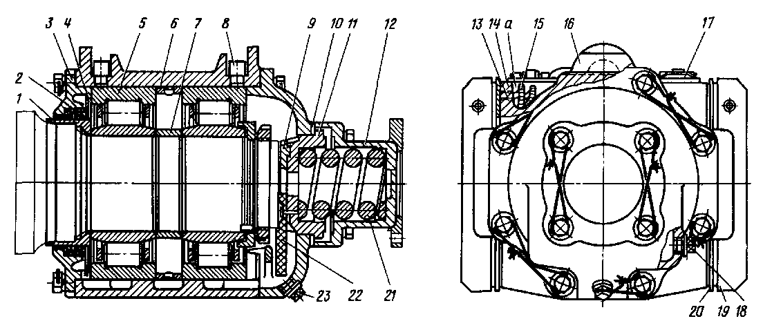
Рама. Рама тележки сварена из листовой стали. Боковина рамы (рис. 99) коробчатого сечения; вертикальные листы ее имеют толщину 14 мм, верхний лист — 18 мм и нижние листы — 30 мм. Верхний лист в местах междурамных креплений усилен для установки оснований опор-но-возвращающих устройств.
В боковину вварены стальные литые буксовые челюсти (концевые и средние), которые снизу стянуты струнками. Концевая буксовая челюсть отлита за одно целое с гнездом для концевой пружины рессорного подвешивания. К обработанной поверхности задней части концевой челюсти прикреплена концевая балка, выполненная из швеллера. К балке приварены по концам планки, через которые проходят специальные при-зонные болты, крепящие балку к челюсти.
В буксовом проеме челюстей с внутренней стороны в местах прилегания букс прикреплены наличники 15 (внутренний) и 16 (боковой), изготовленные из стали 60Г и термооб-работанные до твердости НРХ 30—39.
В средней части рамы на расстоянии 2100 мм друг от друга приварены два сварных междурамных крепления коробчатого сечения с опорами для пружин рессорного подвешивания. К нижнему листу междурамного крепления приварены и дополнительно прикреплены болтами М24 литые кронштейны 2 и 7, один (7) из которых имеет опоры под тяговые электродвигатели с двух сторон, а другой (2)—только с одной стороны. Такое различие в кронштейнах обусловлено схемой установки тяговых электродвигателей на тележке (два двигателя — согласно, один — напротив).
Для восприятия горизонтальных усилий, действующих между кузовом и тележкой, служит литая шкворневая балка 3, опирающаяся своими фланцами на междурамные крепления. В середине шкворневой балки имеется гнездо для шкворня кузова, в которое вставлена втулка 13, приваренная к балке. В средней части тележки к боковинам рамы приварены кронштейны 6 тормозных цилиндров. Так как концевые балки оказались мало нагружены, с 1960 г. они стали изготавливаться из более легкого профиля — швеллер № 25 был заменен швеллером № 16.
В 1957 г. в рамках тележек стали обнаруживаться трещины по сварочному шву в местах загиба ниж-
них листов боковин на концевые челюсти с выходом трещин на вертикальные листы боковин, а также поперечные трещины в нижних листах боковин у мест приварки к ним нижних листов средних поперечных балок. В процессе исследований было обнаружено, что причиной повреждений явилось нарушение технологии сварки рам в месте загиба нижних листов боковин на концевые челюсти и концентрация напряжений у места выхода нижнего листа поперечной балки на боковину. Для устранения этих недостатков конфигурация нижнего листа поперечной балки была изменена: листу была придана скругленная форма, чтобы исключить пересечение его поперечным швом; кронштейн же был перенесен на вертикальный лист боковины.
Правильное положение колесных пар в раме тележки зависит от расположения внутренних поверхностей челюстей боковин, поэтому перед приваркой наличников челюсти «подгоняют» к одной плоскости при помощи подкладок 14 и 17. Подкладки прикрепляют к челюстям, а наличники к подкладкам при помощи электрозаклепок. С 1960 г. крепление струнок стали осуществлять двумя болтами вместо четырех.
Опорно-возвращающее устройство. Опорно-возвращающие устройства (по четыре на каждой тележке) служат для передачи вертикальной нагрузки надтележечного строения на тележку. Они удерживают тележку во время движения таким образом, чтобы продольная ее ось совпадала с продольной осью тепловоза, а также возвращают тележку в это положение при её отклонении.
Сверху корпус опорно-возвраща-ющего устройства (рис. 100) закрыт крышкой 3. Чтобы грязь не попадала в корпус, между ним и рамой установлен брезентовый чехол. Поверхности верхней и нижней опор со стороны, обращенной к роликам, наклонены в обе стороны от среднего положения ролика на 2 °. Следовательно, если произойдет перемещение одной обоймы относительно другой, то ролики будут перекатываться
по наклонным поверхностям, в результате чего между роликами и опорными поверхностями возникает сила, которая будет стремиться вернуть опоры в первоначальное положение. Момент, создаваемый этой силой, носит название возвращающего. Для того чтобы при перемещении опор и роликов корпус не изнашивался, к его стенкам приварены две планки 10.
Кроме перекатывания роликов по наклонным плоскостям при повороте тележки, происходит еще скольжение гнезда по верхней опоре и поворот его относительно опоры и грибка, которым кузов опирается на тележку. Для этих перемещений необходимо преодолеть трение между поверхностями этих деталей. Таким образом, отклонению тележки препятствует не только возвращающий момент, но и момент трения. Чтобы обеспечить возвращение тележки в первоначальное положение, возвращающий момент должен быть больше момента трения. Соотношение между ними зависит от того, насколько повернута поперечная ось опоры относительно радиуса, соединяющего центр шкворня тележки с центром хвостовика опорно-возвращающего устройства. На тепловозе ТЭЗ этот угол равен 5 °. Внутреннюю полость корпуса опоры заполняют маслом, уровень которого должен находиться между верхней и нижней отметками масло-указателя 8.
Первоначально опорные плиты возвращающего устройства имели угол наклона 3°30", а угол поворота опор в плане был выбран 8 °. Однако проведенные испытания показали, что принятые значения углов создают большие возвращающие усилия, которые в кривых малого радиуса вызывают чрезмерные напряжения в рельсах. Поэтому с тепловоза № 115 эти углы были уменьшены и стали равными 2 и 5° соответственно.
Рессорное подвешивание. На тепловозе ТЭЗ применена четырехточечная схема рессорного подвешивания (рис. 101), в которой предусмотрены четыре самостоятельные и совершенно одинаковые группы сбалансирован-



Рис. 99. Рама тележки:
/ — боковина рамы; 2, 7— кронштейны поперечных балок; 3—шкворневая балка; 4 — скоба направляющая; 5 — угольник; 6 — кронштейн для крепления тормозного цилиндра; 8 — опоры рессооы; 9 — бонка; 10 — балка концевая; 11 — кольцо; 12 — диск; /3~втулка; 14, 17 —
подкладки; 15 — наличник внутренний; 16 — наличник боковой; 18, 19 — заделки

ных рессор и пружин. Каждая из этих групп расположена по одну сторону тележки. В состав группы, или так называемой точки рессорного подвешивания, входят два средних и два концевых комплекта, а также система балансиров 2 и подвесок / и 3, связывающая эти комплекты в одну систему.
Средний комплект состоит из листовой рессоры 4 и двух цилиндрических пружин 6 и 7. Рессора восьмилистовая набрана из пластин размером 120X16 мм. Две нижние пластины длиной 1300 мм называются коренными, длина остальных пластин постепенно уменьшается от 1150 до 220 мм. Пластины изготовлены из стали 60С2 (ГОСТ 14959—79) и термообработаны до твердости НВ 363—432. В средней части рессорные пластины скреплены хомутом, который обжат в горячем состоянии. Каждая пластина имеет сферический выступ-впадину, фиксирующий ее положение относительно другой пластины.
Пружины среднего комплекта навиты из прутковой стали 60С2 (ГОСТ 14959—79) диаметром 40 мм. Число витков 4,5, из них 3 витка рабочие. Пружины и рессоры связываются в единый узел при помощи валика //, проходящего через отверстия в проушинах опоры и хомута. Чтобы предохранить проушины от износа, в их от верстия запрессованы стальные втулки. Для смазки трущихся поверхно стей втулок и валиков в них просверле ны центральное и радиальное отвер-
стия. В центральное отверстие смазка подается через клапан, ввинченный в торец валика.
Рама тележки опирается на средний комплект через тарелку и упругие резиновые амортизаторы 10. Опора пружины вместе с резиновой шайбой фиксируется относительно рамы тележки фиксатором 9, приваренным к опоре пружины.
Концевой комплект состоит из цилиндрической пружины 8 составной подвески, валика с клапаном, резинового амортизатора, тарелки 12 и подкладки 13. Подвеска имеет штампованную головку и стержень, ввернутый в нее и зафиксированный штифтом. Пружина применяется та же, что и для среднего комплекта. При помощи подвески и валика она соединена с балансиром 2 и передает через него нагрузку от рамы тележки на буксу.
Тормозное оборудование тележки.
На тепловозе применен пневматический тормоз системы Матросова с односторонним расположением тормозных колодок. На рис. 102 представлена механическая часть тормозной системы. К раме тележки на специальных кронштейнах прикреплены тормозные пневматические цилиндры 16, штоки которых через систему балансиров 12 и 14, рычагов 4 и стяжек 2 связаны с тормозными колодками. Тормозные колодки гребневые с площадью 390 см2.
В поперечном направлении перемещению колодок препятствуют гребень


и специальные упоры 10. Все соединения элементов рычажной передачи выполнены на валиках, которые стопорятся скобами и шплинтами.
Конструкция тормоза предусматривает регулирование передаточного отношения рычажной передачи. Для этого в горизонтальном балансире 12 сделаны два отверстия, которые позволяют изменять его плечи. Зазор между тормозными колодками и поверхностями катания бандажей регулируют винтовой стяжкой 2 и проверяют по выходу штока при прижатых к бандажам колодках. Выход штока должен быть при первом положении (65 ±5) мм, при втором положении (90±5) мм. Максимальный допускаемый выход штока в эксплуатации 150 мм.
Питание тормозной системы (рис. 103) сжатым воздухом осуществляется компрессором типа КПЗ с подачей 5,3—5,7 м3/мин, приводимым во вращение от нижнего коленчатого вала дизеля. На тепловозах ТЭЗ выпуска до 1962 г. привод компрессора осуществлялся посредством гидромуфты. Из-за скольжения гидромуфты частота вращения вала компрессора при 850 об/мин вала дизеля составила 810 об/мин. С 1962 г. вращение на вал компрессора передается через механический редуктор с передаточным отношением 1:1, минуя гидромуфту.
При работе компрессора воздух, забираемый из дизельного помещения через воздушный фильтр, сжимается и поступает в четыре главных резервуара общей вместимостью 1080 л. Из главных резервуаров воздух, пройдя через маслоотделитель, поступает в питательную магистраль и далее через соединительный рукав — в питательную магистраль поезда. Питательная магистраль объединяет резервуары обеих секций в одну общую систему. Давление в главных резервуарах поддерживается 0,7—0,85 МПа (7—8,5 кгс/см2) при помощи регулятора давления типа ЗРД. Для предотвращения повышения давления в резервуарах выше допустимых пределов при неисправности регулятора ЗРД или выключающего устройства компрессора в
системе имеются два предохранительных клапана. Давление в главных резервуарах контролируется по показаниям манометра, установленного на пульте управления. Из питательной магистрали сжатый воздух подается к крану машиниста, к электропневматическому клапану ЭПК-150 автостопа и к крану вспомогательного тормоза.
Для подготовки к действию тормозов тепловоза и поезда необходимо произвести так называемую зарядку тормоза. Для этого ручку крана машиниста переводят в I рабочее положение (зарядное и отпускное). Воздух из питательной магистрали поступает в тормозную магистраль, откуда попадает в воздухораспределитель, заполняет его камеры и запасной резервуар. Через кран машиниста из питательной магистрали воздух поступает также в дополнительный (резервуар времени) и уравнительный резервуары. Давление в тормозной магистрали определяют по показанию стрелки манометра.
Процесс зарядки тормоза считается законченным, когда давление в уравнительном резервуаре достигнет 0,6 — 0,65 МПа (6—6,5 кгс/см2). После этого ручку крана машиниста переводят в поездное положение, и давление в тормозной магистрали устанавливается 0,53—0,55 МПа (5,3—5,5 кгс/см2). В процессе зарядки происходит также заполнение сжатым воздухом тормозной магистрали, воздухораспределителей и дополнительных резервуаров в поезде.
Торможение локомотива и поезда осуществляется переводом ручки крана машиниста в одно из тормозных положений. При этом из тормозной магистрали через кран машиниста выпускается определенный объем воздуха, что вызывает падение давления в ней. При этом воздухораспределитель перепускает воздух из запасного резервуара в магистраль блокировки вспомогательного тормоза и далее к крану вспомогательного тормоза. Одновременно воздух заполняет дополнительный резервуар, обеспечивающий стабильную работу этого крана. Под действием сжатого воздуха, поступившего из магистрали, кран вспомо-

Рис. 103. Пневматическая схема тормозной системы: / — резервуар времени; 2, 12 — краны разобщительные № 383; 3, 11 — фильтры Э-114; 4 — кран вспомогательного тормоза № 254; 5 — устройство блокировки тормоза; 6 — манометр двухстрелочный тормозной магистрали и главных резервуаров; 7— манометры уравнительного резервуара и тормозных цилиндров; 8 — кран машиниста № 222; 9 — резервуар уравнительный; 10—клапан автостопа; 14 — цилиндр тормозной № 507А; 13— кран двойной тяги № 377; 15, 18 — краиы разобщительные № 379; 16—камера в сборе № 295-001; 17 — датчик пневмоэлектрический; /9— резервуар запасной; 20 — рукав; 21 — регулятор давления ЗРД; 22 — кран концевой; 24— шланг дюритовый; 25— компрессор КТ6; 26— клапан предохранительный № Э216; 27— резервуары главные; 28— маслоотделитель Э120/Т; 29—краны спускные
гательного тормоза срабатывает и перепускает воздух из питательной магистрали в тормозную, откуда он поступает к тормозным цилиндрам. Давление в тормозных цилиндрах контролируется манометром.
Одновременно с тормозом локомотива начинают действовать и тормоза вагонов, но там воздух при срабатывании воздухораспределителей поступает в тормозные цилиндры из запасных резервуаров.
Отпуск тормозов осуществляется путем перевода ручки крана машиниста в I рабочее положение (отпуск и зарядка). При этом через кран машиниста тормозная магистраль соединяется с питательной и давление в ней увеличивается до 0,6—0,65 МПа
(6—6,5 кгс/см2). Воздух заполняет также внутренние камеры в воздухораспределителе и запасной резервуар. Одновременно через кран вспомогательного тормоза и воздухораспределитель соединяются с атмосферой соответственно магистраль вспомогательного тормоза и магистраль блокировки. В результате этого давление в тормозных цилиндрах снижается до атмосферного и нажатие тормозных колодок прекращается. Одновременно происходит отпуск тормозов вагонов поезда. Процесс отпуска тормозов в вагонах протекает так же, как и на тепловозе, с той лишь разницей, что воздух из тормозных цилиндров вагонов выходит через воздухораспределители. Так как в процессе отпуска
тормозов происходит и зарядка тормозной системы, то система вновь оказывается подготовленной для следующего торможения.
Тепловоз ТЭЗ оборудован также ручным тормозом, действие которого распространяется на две задние оси передней тележки. Ручной привод, состоящий из штурвала, цепей и тяг, соединен с головками горизонтальных балансиров тормозной рычажной передачи тележки. При затормаживании тепловоза цепь привода выбирается штурвалом, поворачивая горизонтальные балансиры, в результате чего тормозные колодки прижимаются к бандажам колес. Шток цилиндра при этом не двигается, поэтому тормозное усилие на переднюю колесную пару тележки не передается.
Песочная система. На каждой секции тепловоза имеется четыре песочных бункера, общая вместимость которых позволяет загрузить 400 кг песка. Два бункера расположены в передней части секции, а два — на ее задней торцовой стенке. Бункера снабжены дверками и откидными желобами. Снизу к бункерам прикреплены форсунки, к которым подводится сжатый воздух из тормозной магистрали. При переднем ходе песок подается под первую и четвертую оси, при заднем — под шестую и третью. Трубы, подводящие песок к третьей и четвертой осям, имеют большие горизонтальные участки, в которых иногда слеживался песок. Поэтому с 1959 г. была введена дополнительная подача воздуха по длине этих участков и к месту подачи песка на рельс.
Подача песка регулируется педалью, которая замыкает цепь катушки электропневматического клапана. При этом воздух под давлением 0,55—0,6 МПа подводится к соответствующим воздухораспределителям.
Срабатывая, воздухораспределители открывают доступ сжатого воздуха из тормозной магистрали к форсункам песочницы.
Колесная пара с тяговым электродвигателем. Колесные пары тепловоза ТЭЗ являются ведущими, т.е. каждая
из них участвует в создании силы тяги. На ось 9 (рис. 104) напрес-сованы колесные центры 6 с бандажами 5, а также ведомая шестерня 4 тягового редуктора. Буксы / роликового типа. Тяговый электродвигатель 7 моторно-осевыми подшипниками скользящего типа опирается на ось, а носками корпуса через пружинную подвеску 8 крепится к раме тележки. Такая подвеска тя-

Рис. 104. Колесная пара с тяговым электродвигателем:
/ — букса роликового типа; 2 — разъемный кожух; 3 — ведущая шестерня; 4 — ведомая шестерня; 5— бандаж; 6 — колесный центр, 7 — тяговый электродвигатель; 8 — пружинная подвеска; 9 — ось; 10— крышка

Рис. 105. Роликовая букса с упругим упооом: / — кольцо; 2 — севанитовое уплотнение; 3 — задняя коышка; 4 — распорное кольцо; 5 — роликоподшипник; 6,7 — дистанционные кольца; 8 — грибок; 9 — боонзовая наплавка; 10 — прокладка; / / — упор; 12 — корпус упора; 13 — трубка; 14 — корпус буксы; 15 — фитиль; 16 — арка; 17 — крышка; 18 — пообка; 19, 20 — наличники; 21 — пружина; 22 — фнтнль; 23 —.пробка
гового электродвигателя носит название опорно-осевой.
Моторно-осевые подшипники смазываются осевым маслом марки Л (летнее) или 3 (зимнее) в зависимости от температуры окружающей среды. Масло заливают в резервуар крышки 10, откуда оно поступает к трущейся шейке оси посредством фитильного устройства.
Ведущая шестерня 3 тягового редуктора насажена на конусный конец вала тягового электродвигателя. Передаточное отношение редуктора 75:17 = 4,41. Редуктор закрыт разъемным кожухом 2, прикрепленным болтами к корпусу тягового электродвигателя. Он служит одновременно и резервуаром для смазки.
Роликовая букса (рис. 105) имеет литой корпус 14, к которому приварены буксовые наличники 19 и 20. В корпусе предусмотрены полости а, заполняемые через горловину с крышкой 17 смазкой, которая по трубкам 13 с помощью фитилей 15 подается к наличникам. В нижней части корпуса имеется отверстие для спуска масла, закрытое пробкой 23.
В корпусе буксы смонтированы два роликовых подшипника 15 (размеры 160X320X110 мм, серийные № 2Н32732Л и 2Н52732Л), расстояние между которыми определяется дистанционными кольцами 6 и 7. С внут-
ренней стороны корпус закрыт крышкой 3 с уплотнйтельным кольцом. Чтобы исключить возможность вытекания смазки из буксы, в крышке имеются лабиринт и севанитовое уплотнение 2.
С внешней стороны на торце корпуса укреплен упор, служащий для передачи горизонтальных усилий со стороны оси колесной пары через корпус буксы и наличники на раму тележки. Конструкция упоров для крайних и средней осей различная. Буксы крайних осей оборудованы упругими упорами, буксы средней оси — жесткими. Постановка упругих упоров на крайних осях вызвана необходимостью смягчать удары, которые воспринимаются в первую очередь именно этими осями. Упругий упор состоит из корпуса 12, собственно упора // и пружины 21, предварительно сжатой усилием 8000 Н.'
На торцовой поверхности упора, обращенной к оси колесной пары, имеется бронзовая наплавка 9. Для исключения перегрева и задиров упора и оси к упору по войлочному фитилю 15 подводится смазка. Жесткий упор по конструкции значительно проще (рис. 106).
На правой буксе первой колесной пары первой тележки установлен привод к скоростемеру, представляющий собой червячный редуктор. Нагрузка

Рис. 106. Роликовая букса с жестким упооом: / — передняя крышка; 2, 3—прокладки, 4— упор, 5 — крышка, 6 — фитиль
от балансира рессорного подвешивания на корпус буксы передается через опоры 8.










