§ 41. СКОРОСТЕМЕР
Самопишущий скоростемер СЛ-2 служит для контроля режима движения локомотива и работы системы автоматического тормоза.
Прибор кинематически связан приводом с осью передней колёсной пары. Штуцер пневматической части прибора соединён трубкой с поездной магистралью.
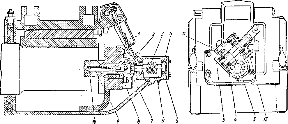
Фиг. 274. Привод скоростемера:
/ — редуктор прявода; 2 — телескопический вал; 3 — конический редуктор с шарнирным соединением; 4 — вертикальный вал; 5 — скоростемер
Привод состоит из следующих элементов: редуктора 1 (фиг. 274), установленного на крышке правой буксы передней колёсной пары (каждой секции), телескопического вала 2, обеспечивающего свободу перемещений буксы в челюсти во время движения и дающего возможность открывать крышку буксы без расцепления привода; конического редуктора 3, служащего для передачи движения от наклонного телескопического вала к карданному вертикальному валу 4, приводных вилок 7 а 8 (фиг. 275), служащих для вращения червячного редуктора и связанных с осью колёсной пары распорной втулкой 9 и болтом с конической головкой 10.
Общее передаточное число привода 1 : 105.
Для смазки трущихся поверхностей привода применяются следующие виды смазки.
1. Для червячного редуктора компрессорное масло по ГОСТ 1861—44.
2. Для шарикоподшипников, шарниров и конического редуктора смазка 1-13 ГОСТ 1631—52.
3. Для верхней пробки телескопического вала осевое масло ГОСТ 610—48.
4. Для нижней пробки телескопического вала и шлиц карданного вала солидол ГОСТ 1033—51 или смазка 1-13 ГОСТ 1631—52.
Правила ухода за прибором СЛ-2 и его подробное описание изложены во временной инструкции, прилагаемой с паспортом к каждому прибору.
Все трущиеся поверхности привода должны быть хорошо смазаны. Крышка буксы должна быть насажена на штифты, а пружинные запоры закрыты.
Фиг. 275. Редуктор привода скоростемера:
/- крышка правой передней буксы; 2 — гайка; 3 — червяк; 4 —шариковый подшипник; 5 —корпус редуктора; б —пробка; 7 — внлка червяка; 8 — вилка распорной втулки; 9 — распорная втулка; 10 — болт с конической головкой; // — шестерня; 12 — валик
Крышку буксы после осмотра следует закрывать осторожно, не допуская ударов приводных вилок.
Для выемки осевого упора зажимная втулка, болт и вилка должны быть вынуты. Для этого необходимо расшилинтовать болт, отвернуть гайку и лёгкими ударами по торцу болта протолкнуть его внутрь осевого отверстия до упора, после этого снять вилку и вынуть распорную втулку с болтом из осевого отверстия.
Постановку вилки, распорной втулки и болта следует производить в такой последовательности.
1. Установить буксовый упор.
2. В отверстие зажимной втулки вставить стяжной болт и вместе с ним еложить зажимную вилку в отверстие оси до упора.
3. На свободный торец зажимной втулки надеть вилку.
4. На выступающий конец болта надеть пружинную шайбу, навернуть гайку и зашплинтовать.
Увеличение осевых разбегов передней колёсной пары сверх установленных не разрешается. Болтовые соединения привода необходимо периодически проверять, не допуская их ослабления.










