ГЛАВА VI МЕХАНИЧЕСКОЕ ОБОРУДОВАНИЕ
Экипажная часть тепловоза представляет собой две повозки тележечного типа, сочленённые жёсткой стяжкой. Каждая повозка состоит из главной рамы, предназначенной для размещения силовых агрегатов и аппаратов управления, и двух двухосных тележек, на шкворневые балки которых опирается главная рама. На колёсных парах и междурамных креплениях тележек смонтированы тяговые электродвигатели, буксы, рессорное подвешивание и тормозное оборудование.
§ 34. ГЛАВНАЯ РАМА
Главная рама тепловоза состоит из двух хребтовых балок 16 (фиг. 249), двух литых стяжных ящиков 12 и 14, двух опорных пят 15, вваренных снизу между балками, боковых консольных кронштейнов, связанных между собой обносным угольником, настильных листов 18 и кронштейнов 13, служащих для подъёмки рамы краном.
Каждая хребтовая балка представляет собой балку двутаврового сечения № 36 ОСТ 10015—39, усиленную в средней части полосами размером 20 X X 270 мм, приваренными к нижней и верхней полкам балки. По концам балки связаны между собой стяжными ящиками и накрыты сверху настильными листами. В средней части между хребтовыми балками установлены косынки, к нижней части которых и к полкам балки приварены нижние настильные листы 18. Такое сочетание хребтовых балок, консольных кронштейнов с об-носными угольниками, а также косынок и настильных верхних и нижних листов придаёт раме достаточную жёсткость и необходимую прочность как в вертикальной, так и в горизонтальной плоскостях.
Передний стяжной ящик 12 представляет собой стальную литую коробку, снабжённую массивными фланцами, которыми она крепится к концам хребтовых балок. Этот ящик служит для монтажа в нём автосцепки, ударных приборов и кронштейна расцепного привода автосцепки. Задний стяжной ящик 14 также представляет собой стальную литую коробку, связывающую задние концы хребтовых балок. На заднем стяжном ящике монтируются ударные приборы и жёсткие стяжки, посредством которых осуществляется" сочленение секций тепловоза. В заднем ящике предусмотрено место для постановки стяжного крюка паровозного типа с упряжным винтовым прибором на случай работы тепловоза одиночной секцией. Задний стяжной ящик прикреплён к хребтовым балкам заклёпками диаметром 29 мм и сварными швами. В местах постановки буферов в ящике предусмотрены специальные углубления, служащие для установки пружин буферных стаканов.
Пространство между обносными угольниками и хребтовыми балками около задней пяты с обеих сторон рамы используется для аккумуляторного помещения, состоящего из четырёх отдельных отсеков 4.
Во избежание проникания паров кислоты внутрь кузова приварка перегородок и стенок аккумуляторного помещения произведена плотным сварочным швом. Внутренние поверхности аккумуляторного помещения покрыва-
ются эмалевой антикислотной краской. Для вентиляции аккумуляторного помещения в его наружных стенках имеются отверстия с жалюзи и сетками-фильтрами, предохраняющими аккумуляторное помещение от попадания внутрь снега и песка.
В передней части рамы пространство между обносными угольниками и хребтовыми балками используется для установки главных воздушных резервуаров. Передний лист настила в этих местах имеет два выреза, через которые главные резервуары несколько выступают над поверхностью настила.
Фиг. 249. Главная рама:
і /— фундамент для установки редуктора вентилятора; 2— всасывающий канал; 3 — каиал для подвода-
; охлаждающего воздуха к электродвигателям задней тележки; 4 — отсеки для размещения аккумулятор-
I ной батареи; б — место установки вспомогательного топливного насоса фильтра грубой очистки и топ-
1 ливоподогре'вателя; б —накладки для установки двигателя; 7 —боковые упоры; в —люк для осмотра
1 генератора; 9 — канал для подвода охлаждающего воздуха к электродвигателям передней тележки;
{ ю — место для установки главных воздушных резервуаров; // — место для установки двухмашинного
1 агрегата; 12 — передний стяжной ящик; 13 — кронштейн для подъёмки рамы; 14 — задний стяжной
< ящик; 16 — опорная пята; 16 — главные хребтовые балки; 17 — усиливающий пояс; 18 — нижний на-| стильный лист; 19 — отсек рамы
Для установки двигателя на верхних поясах хребтовых балок приварены накладки 6 с отверстиями под шпильки. Подгонка опорных поверхностей накладок после их приварки производится по специально для этого предназначенной («технологической») раме двигателя. При установке её на накладках максимальный зазор между рамой и накладками допускается не более 2 мм. \ Разница в величине этого зазора на длине накладки допускается не более 0,5 мм- При установке двигателя эти зазоры заполняются регулировочными прокладками, изготовленными из белой жести.
Для разгрузки шпилек крепления двигателя от срезывающих усилий на хребтовых балках привариваются четыре торцовых и восемь боковых упоров 7. Зазоры между этими упорами и рамой двигателя заполняются также регулиро-' вочными пластинами, концы которых привариваются к установленным упорам.
Максимальный зазор между упором и регулировочными пластинами допускается не более 0,06 мм.
Установка двигателя на раме тепловоза производится после подкатки тележек или на отдельной раме, установленной своими пятами на специальных опорах.
Шпильки крепления двигателя к раме должны быть завёрнуты до отказа.
На фундаментных плитах, приваренных на настильном листе рамы тепловоза между главным генератором и высоковольтной камерой, устанавливается компрессор. Верхние поверхности фундаментных плит должны лежать в одной плоскости. Максимальное отклонение должно быть не более 0,5 мм.
При установке компрессора его коленчатый вал при помощи специального приспособления устанавливается по оси вала главного генератора. Взаимное смещение осей одной относительно другой не должно превышать 0,15 мм, а непараллельность осей не должна быть более 0,3 мм на длине 400 мм.
После установки вала болты крепления компрессора должны быть надлежащим образом закреплены, а в отверстия его опорных лап забиты кони, ческие стопорные штифты.
После закрепления компрессора гибкая муфта, связывающая коленчатый вал с валом главного генератора, стягивается болтами.
Фиг. 250. Вентилятор охлаждения тяговых электродвигателей передней тележки:
/ — рабочие лопатки; 2 —колесо; 3 — кожух; 4 — ступица; 5, «—корпуса подшипников; 6, 10—шарикоподшипники; 7 — вал; 9 —пробка; //—шкив; 12 — прокладки; 13— опора
На настильный лист в передней части рамы устанавливается кабина машиниста, составляющая одно целое с высоковольтной камерой. Кабина приваривается к раме тепловоза и является несъёмной частью. В средней части рамы над двигателем установлен кузов, который укреплён болтами к обнос-ному угольнику и может быть снят при среднем или капитальном ремонте тепловоза.
В задней части рамы установлена шахта холодильника. Шахта приварена к настильному листу и обносным угольникам.
В передней части тепловоза под полом кабины машиниста расположен центробежный вентилятор охлаждения тяговых электродвигателей передней тележки.
Вентилятор охлаждения тяговых электродвигателей передней тележки представляет собой колесо 2 (фиг. 250), состоящее из двух дисков и шестидесяти рабочих лопаток /, поставленных на заклёпках. Несущий диск колеса 2 скреплён заклёпками со стальной ступицей 4, посаженной на концевую часть вала 7 и закреплённой корончатой гайкой.
Вал вентиляторного колеса уложен в двух шарикоподшипниках (большом сферическом 6 и малом двухрядном 10), установленных в корпусах 5 и 8. Корпуса снабжены сальниковыми уплотнениями, удерживающими смазку.
Центровка вентиляторного колеса в кожухе осуществляется смещением корпуса подшипника 8 по горизонтали и прокладками 12, положенными между опорой 13 и корпусом 8. Вентилятор устанавливается непосредственно на раме над устьями воздушных каналов 9 (см. фиг. 249), выведенных на поверхность рамы.
Фиг. 251. Вентилятор охлаждения тяговых электродвигателей задней тележки:
У—болт; 2 — кронштейн; « — корпус подшипника; 4, 15—шарикоподшипники; 5 шкив; « — вал; Т — уплотнение; 8 — крышка; 9 — пробка; 10 — кожух; //—ступица; 12 — всасывающий патрубок; 13 — пробка; 14 — корпус подшипника; /«—гайка; /7 —крышка; /« — прокладки
Благодаря этому установка получается достаточно компактной, а путь Еоздуха спрямлённым.
Всасывающий канал вентилятора передней тележки проходит под полом кабины машиниста к отверстию в боковой стенке кузова, оборудованного жалюзи и сетчатыми фильтрами. Вентилятор соединяется с тяговыми электродвигателями брезентовыми рукавами.
Всасывающий патрубок вентилятора задней тележки выходит под раму кузова. Охлаждающий воздух из вентилятора поступает в каналы, проложенные внутри рамы кузова, а по ним через брезентовые рукава — к тяговым электродвигателям.
Вентилятор охлаждения тяговых электродвигателей задней тележки (фиг. 251) отличается от вентилятора охлаждения тяговых электродвигателей передней тележки расположением опор и меньшей длиной вала, лежащего в двух сферических подшипниках.
Привод каждого вентилятора осуществляется двумя ремнями, причём вентилятор передней тележки получает вращение от шкива, посаженного на валу главного генератора, а вентилятор задней тележки — от шкива, установленного на приставном валу привода масляного насоса.
Натяжение ремней регулируется натяжными винтами.
При числе оборотов коленчатого вала двигателя 740 в мин. производительность каждого вентилятора составляет 35 м3/мин при напоре, равном 60 мм вод. ст. Число оборотов колеса вентилятора — 2 160 в мин. Мощность, потребляемая вентиляторами, равна 4 л. с.
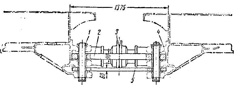
_ Сцепка рам секций тепловоза осуществляется двумя жёсткими тягами 2 и 5 (фиг. 252), расположенными друг под другом между задними буферами 3.
При нормальной работе тепловоза тяговые усилия передаются только верхней рабочей тягой. Нижняя тяга меньшего сечения и является запасной.
Фиг. 252. Сцепка секций: I—валик" 2 — рабочая тяга; 3—буфера; 4—стяжные ящики; 5 — запасная тяга
Тяги своими проушинами соединяются с проушинами задних стяжных ящиков валиками. Нижние торцы валиков опираются на предохранительные скобы, укреплённые на проушинах стяжных ящиков.
Предохранительная скоба в случае поломки валика удерживает его нижнюю часть от выпадения. Поэтому сочленение секций через запасную тягу в этом случае не нарушается. Штифт с кольцом удерживает валик от выхода его из гнезда через верхнее отверстие.
Для уменьшения виляний сочленённых секций одной относительно другой нажатие задних буферов принято равным 5 т.
Новые тепловозы выпускаются с облегчённой на 350 кг рамой. Выигрыш в весе получился за счёт постановки хребтовых балок из двутавра № 35в вместо № 36С, уменьшения толщины стенок переднего стяжного ящика с 24 до 20 мм и некоторого изменения конструкции заднего стяжного ящика.
Проверка рамы. При среднем и капитальном ремонтах главная рама тепловоза проверяется на отсутствие прогиба хребтовых балок и настильного листа рамы, на расположение в одной горизонтальной плоскости поверхностей накладок, на которых устанавливается двигатель, на взаимную параллельность настильного листа, накладок и боковых обносных угольников и на отсутствие перекоса опорных поверхностей пят.
^ Прогиб хребтовых балок 2 (фиг. 253) рамы проверяется с помощью стальной струны диаметром 0,5 мм, натянутой под рамой вдоль хребтовых балок, при этом прогиб допускается на всей длине рамы не более 5 мм.
Поверхность настильного листа 4 во всех направлениях, рамы и обносных угольников 3 обычно проверяется линейками соответствующих размеров и щупом. Неровности допускаются в пределах 3 мм. При завышенных прогибах хребтовых балок и настильного листа их исправляют подогревом газовой горелкой с последующей установкой груза (стальной или чугунной болванки весом 10—15 т).
Проверка поверхностей накладок, на которые устанавливается двигатель, производится с помощью линеек и технологической картерной рамы двигателя.
Проверка на взаимную параллельность настильного листа 4, накладок под двигатель и обносных'угольников 3 на всей длине рамы относительно опорных поверхностен пят / (винтообразность) производится на двух специальных плитах 5,установленных в одной плоскости, рейсмусом 6; отклонение допускается не более 15 мм.
При увеличенном отклонении винтообразность исправляется нагревом рамы газовой горелкой в месте максимального прогиба и наложением груза в этом месте.
Для правильного распределения нагрузки на шейки осей колёсных пар, а также обеспечения нормальной работы подпятников опорные поверхности пят / должны находиться в одной плоскости. Проверка их осуществляется также на плитах 5 набором пластин щупа в рабочем состоянии рамы; отклонение, замеренное на концах диаметров опорных поверхностей пят, допускается не более 1 мм. При перекосе более 1 мм исправление производится подшлифовкой опорных поверхностей пят 1 до приварки нижнего диска. Шлифовка должна производиться таким образом, чтобы поверхность была ровной, гладкой, не имела отдельных выпуклостей или перекатов и обеспечивала достаточное соприкосновение привариваемого диска. Если перекос пяты получается в левую или правую сторону от продольной оси рамы, то исправление перекоса производится нагревом рамы в требуемом месте и наложением груза.
Сварочные швы рамы проверяются на отсутствие трещин и надрывов переносным звуковым электромагнитным дефектоскопом. При отсутствии такого дефектоскопа проверка может осуществляться следующим путём. Все сварочные швы обильно смазываются дизельным топливом, подогретым до 70°. Затем топливо, тщательно вытирают и смазывают швы меловым раствором (1 часть мела на 3 части воды). После просушки мела при наличии трещин или надрывов на меловой поверхности появятся следы в виде волосовин коричневого цвета. Обнаруженные таким образом надрывы следует вырубить и вновь заварить.










