§ 20. СХЕМА И ОБОРУДОВАНИЕ МАСЛЯНОЙ СИСТЕМЫ
Масляная система тепловоза состоит из шестерёнчатого масляного насоса, масляного холодильника, двойного сетчатонабивного фильтра, двойного щелевого фильтра, предохранительного клапана, установленного на корпусе масляного насоса, байпасного, регулирующего и обратного клапанов, реле давления масла и трубопроводов.
Масляная система служит для подвода масла ко всем трущимся частям двигателя. В результате этого уменьшается их износ и удлиняется срок службы всего механизма двигателя. Правильное применение смазки имеет существенное значение для обеспечения надёжности и долговечности работы двигателя.
Масляным резервуаром служит нижняя часть (маслосборник) 2 (фиг. 143) рамы двигателя. Запас смазки во всей системе составляет 400 л. Уровень масла контролируется специальным щупом, расположенным с правой стороны в средней части рамы двигателя. Заполнение маслом производится через горловину 14, имеющуюся с правой стороны рамы двигателя.
Работа масляной системы происходит следующим образом: Масляный насос 31, приводимый во вращательное движение парой конических шестерён от коленчатого вала двигателя, засасывает масло из маслосборника 2 и по трубопроводу, на котором установлен отключающий вентиль 23, нагнетает его в секции 24 холодильника. На корпусе масляного насоса 31 установлен разгрузочный клапан 32, отрегулированный на давление 5,3 ати. В случае повышения давления более 5,3 ати, что бывает при холодном двигателе, разгрузочный клапан, преодолевая усилие пружины, открывается и перепускает масло по каналу в корпусе во всасывающую полость насоса.
На трубопроводах, подводящих и отводящих масло от холодильника, установлены два вентиля 23, служащие для отключения секций холодильника на случай их ремонта. Эти трубопроводы соединены между собой дополнительной трубкой, па которой установлен байпасный клапан 18, поддерживающий разность давления масла до секций холодильника и после них в 1 am.
Проходя секции 24 холодильника, масло охлаждается и поступает к двойным щелевым пластинчатым фильтрам 30, смонтированным в корпусе привода масляного насоса.
При работе двигателя со сравнительно холодным маслом, имеющим высокую вязкость, или при засорении труб секций холодильника байпасный клапан 18 будет перепускать масло непосредственно к щелевым фильтрам 30, минуя секции холодильника.
Около байпасного клапана на той же перепускной трубе установлен регулирующий клапан 20, удерживающий давление масла перед щелевыми фильтрами не выше 2,5 ати. Регулирующий клапан 20, как видно из схемы, перепускает избыточное масло в раму двигателя, которое минует при этом фильтр 30.
С трубопроводом, отводящим масло от секций холодильника, соединена труба, на которой установлен разгрузочный клапан 28, отрегулированный на 2,5 ати. Эта труба с клапаном 28 подведена к двум сетчатонабив-ным фильтрам 21.
При повышении давления в системе более 2,5 ати разгрузочный клапан 28 перепускает часть масла в сетчатонабивные фильтры 21. Из них очишенное масло поступает в раму двигателя.
На трубе, отводящей масло от секций холодильника, установлен датчик аэротермометра 25, показывающего температуру масла после холодильника. На нагнетательном трубопроводе установлен датчик другого аэротермометра 8, который показывает температуру масла до холодильника. Указатель аэротермометра 8 смонтирован на щите поста управления тепловозом.
Для охлаждения масла с левой стороны в шахте холодильника установлено шесть ребристых секций, соединённых своими концевыми коробками с двумя полыми сварными коллекторами.
Нормально основной поток масла проходит через обе секции щелевого фильтра 30 и далее по каналам в корпусе привода масляного насоса поступает в масляную трубу 3, расположенную с левой стороны внутри рамы двигателя. От трубы 3 масло по семи трубкам подводится для смазки коренных подшипников коленчатого вала, по семи трубкам—для смазки опорных подшипников распределительного вала и по шести трубкам — для смазки рычагов толкателей и рычагов впускных и выпускных клапанов.
Подробное описание смазки двигателя дано в главе П.
К концу трубы 3 присоединены две трубки: одна идёт к седьмой опоре распределительного вала, от которой масло по трубе 11 поступает для смазки и охлаждения подшипников турбовоздуходувки, вторая трубка идёт к манометру 9, показывающему давление масла в системе. На этой же трубке установлен датчик дистанционного электроманометра. Приёмник (электроманометр) связан с датчиком проводами и установлен на пульте второй секции тепловоза. К выводу из трубы 3 присоединена также трубка, подводящая масло для смазки оси паразитной шестерни и других шестерён привода распределительных валов.
Со стороны корпуса привода масляного насоса (фильтров 30) масло отго-дится по трём трубкам. Одна из этих трубок отводит масло к реле давления масла 17. По второй трубке масло подводится для смазки конических шестерён и всего механизма привода масляного насоса. По третьей — масло подводится для смазки конических шестерён и всего механизма редуктора холодильника.
Слив масла из системы смазки осуществляется по трубе с вентилем /.
Как было сказано выше, в систему масляного трубопровода входят сетчатонабивные 21 и щелевые 30 фильтры.
Сетчатонабивной фильтр состоит из корпуса 10 (фиг. 144), внутри которого размещены цилиндрические сетки 8 и 9, имеющие размер ячеек соответственно 1,2 и 0,75 мм. В днище этих сеток установлена втулка 6, имеющая два боковых отверстия. Сверху и снизу обе сетки закрыты крышками //. Верхняя часть втулки 6 закрыта шариковым клапаном 4, удерживаемым в верхнем положении пружиной 14. Пространство между сетками 8 и 9 заполнено набивкой 5 (чистыми хлопчатобумажными концами). Сверху корпус набивного фильтра закрыт крышкой 1, укреплённой откидными болтами 3.
В выточку крышки установлена пружина 2, которая прижимает обе сетки с набивкой вниз.
В фильтр масло подводится снизу через штуцер 12. Проходя через наружную сетку 9, набивку 5 и внутреннюю сетку 6", масло фильтруется и попадает в центральное отверстие направляющей втулки 6, а затем по каналу и трубе 13 попадает в картер двигателя. При загрязнённой набивке масло, встречая большое сопротивление, отжимает шариковый клапан и, минуя набивку, проходит внутрь втулки 6 и далее в раму двигателя. Набивные фильтры установлены на тепловозе ТЭ2 около стенки шахты холодильника и работают параллельно, как показано на схеме фиг. 143.
Щелевой масляный фильтр (фиг. 145) фактически состоит из двух фильтров, смонтированных в корпусе 6 привода масляного насоса и конструктивно близких щелевым топливным фильтрам. Каждый фильтр состоит из набора пластин 11, насаженных на стержни 12. По бокам пластин установлены стержни 9, на которые насажены неподвижные ножи 10. Ножи входят в зазоры, равные 0,15 мм между пластинами //. Снизу пластины закрыты крышками 7 и затянуты гайками. Стержни фильтров установлены в отдельные корпуса 2, где они уплотнены сальниками. Фильтры крепятся в корпусе привода 6 шпильками 1.
Такие фильтры устанавливаются со второй половины 1952 г. Раньше каждый из фильтров состоял из трёх самостоятельных наборов пластин меньшего диаметра, насаженных на стержни и очищавшихся ножами трёх отдельных гребёнок.
Масло из холодильника поступает в полость 8, проходит между пластинами фильтров и по окнам корпусов 13 иЗ попадает в полость 4, а из неё через отверстие 5 нагнетается в масляную трубу (коллектор), расположенную в раме двигателя.
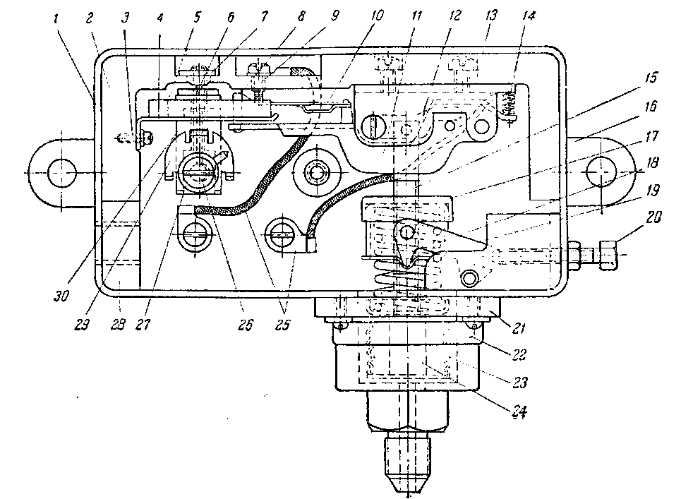
Проходя фильтры, инородные частицы, попавшие в масло, остаются на поверхности пластин. При проворачивании стержней 12 пластины 11 вращаются вместе с ними и очищаются неподвижными ножами 10, входящими в зазоры между пластинами. Реле давления масла типа РДМ-1А-1 является механическим реле и служит для контроля за давлением масла в масляной системе тепловоза. Оно состоит из датчика и собственно реле (фиг. 146).
Датчик реле давления масла состоит из бронзового корпуса 22 со штуцером и гофрированной трубки 23 с припаянным донышком.
По отверстию в корпусе масло поступает во внутреннюю полость датчика и давит на донышко трубки 23 снаружи, поднимая его вверх.
Припаянный к донышку стержень 24 через тягу 15 связывает датчик с рычагом реле.
Собственно реле монтируется в латунной коробке 1, к задней стенке которой припаивается латунная пластина 16 с кронштейнами для крепления реле.
К корпусу реле винтами крепится фибровая панель 2, которая несёт на себе обойму 13. Обойма изготовлена из стальной оцинкованной пластины толщиной 2,5 мм корытообразной формы. В подшипниках обоймы качается якорь.
Фиг. 144. Сетчатонабивной масляный фильтр:
1— крышка; 2 — пружина; 3 — откидной болт; 4 —шариковый клапан; 5 — набивка; 5 —втулка; 7—-внутренняя сетка; 8 — сетка с ячейками 1,2 мм; 9 — сетка с ячейками 0,75 мм; 10— корпус; // —крышка; 12 — штуцер подвода масла к фильтру; 13 — труба отвода масла из фильтра; 14 — коническая пружина; 15 — пробка
Якорь реле состоит из рычага 11, изготовленного из стальной полосы толщиной 1 мм, упора-ограничителя хода 5 и узла подвижного контакта. Подвижный контакт припаян к бронзовой пластине 10, укреплённой между верхней (стальной) и нижней (пружинящей латунной) пластинками на специальном штифте якоря. Пружина 14 стремится повернуть якорь так, чтобы подвижный контакт замкнулся с неподвижным контактом 9.
Якорь посредством текстолитового сухаря 12 связан с тягой 15, которая, как уже было сказано, соединена с датчиком.
Для возможности регулировки реле имеются ещё два устройства.
Регулировка реле на величину давления включения и выключения производится изменением величины затяжки регулировочной пружины 18. Эта пружина нижним своим концом упирается в тарелку, надетую на стержень 24, а верхним — в дно стакана. Этот стакан, прикрытый сверху изоляционной тарелкой 17, имеет буртик с двумя фигурными выступами, в которые упирается вильчатый рычаг 19. Ввинчивая регулировочный болт 20, можно увеличить затяжку пружины /6". Это поведёт к увеличению давления, при котором реле будет включаться и выключаться.
Для возможности более точного регулирования давления выключения реле имеется устройство с постоянным магнитом 5. Постоянный магнит — подковообразный, сечением 4,8 X 6,5 мм и развёрнутой длиной 71 мм. Этот магнит вместе с устройством для его перемещения укреплён на латунной пружинящей пластине 4, которая двумя винтами 3 прикреплена к панели реле.
Устройство для перемещения магнита состоит из латунного корпуса 30 с вертикальным и горизонтальным отверстиями. На передней стенке корпуса укреплена стальная пластина-шкала, а в горизонтальный канал корпуса вставлен эксцентриковый валик 26, к головке которого припаян указатель 27. В вертикальный канал корпуса туго ввинчен латунный винт. В отверстие, просверленное в этом винте, встаблен латунный штифт 6. Верхний конец этого штифта упирается в винт 7, нижний — в эксцентриковый валик 26.
Валик 26 латунный с цилиндрической головкой. Эксцентричность валика создана тем, что в его средней части на длине 8 мм сделана плавная выточка с наибольшей глубиной 0,4 мм.
При повороте головки эксцентрикового валика 26 постоянный магнит будет или подниматься вверх или опускаться вниз и соответственно с большей или меньшей силой удерживать подвижный контакт во включённом положении, чем и достигается точная регулировка величины давления, при котором реле выключается.
Фиг. 146. Реле давлення масла.
/ — .латунная коробка; 2 — панель; 3 —впиты; 4 — пружинящая пластина магнита; 5 —постоянный магнит; 6 — штифт; 7 —винт; 8 — ограничитель хода; 9 — неподвижный контакт; 10— пружинящая пластина подвижного контакта; //—рычаг; 12 — текстолитовый сухарь; 1:) — обойма; 14 — пружина; 15 — тяга; 16 — пластина; 17 — изоляционная тарелка; /« — регулировочная пружина; 19 — вильчатый рычаг; 20 — регулировочный болт; 21 —усиливающая .планка; 22 — корпус датчика; 23 — гофрированная трубка; 24 — стержень; 25 — шунты; 26 — эксцентриковый валик; 27 — указатель; 28 — бойки; 29 — шкала; 30 — латунный корпус
Нормально реле должно быть отрегулировано так, чтобы оно выключалось при понижении давления в масляной системе до 1,6 ати.
При выключении реле разрывает цепь питания катушки электромагнита регулятора оборотов, что приводит к остановке.двигателя.










