2.2. Магнитные усилители с обратной связью
Для изменения коэффициентов усиления и увеличения стабильности работы МУ в них применяются обратные связи. Обратной связью называется воздействие управляемой величины на вход системы управления. Применительно к МУ обратной связью будет дополнительное подмагничивание сердечника за счет выходного тока (рис. 17, а). Если
при этом увеличение выходного тока увеличивает подмагничивание, обратная связь называется положительной. Такая обратная связь повышает коэффициент усиления. Если увеличение выходного тока уменьшает подмагничивание, обратная связь называется отрицательной, она снижает коэффициент усиления (рис. 17, б). По схеме исполнения обратные связи в МУ могут быть внешними, когда для обратной связи используется отдельная обмотка обратной связи, и внутренними, когда для обратной связи используются рабочие обмотки МУ.
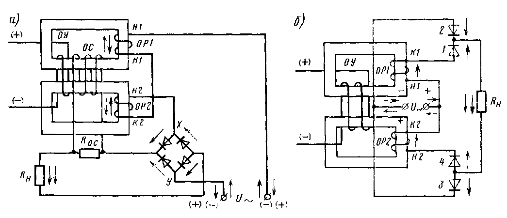
Внешняя обратная связь в МУ выполняется как положительной, так и отрицательной. Внутренняя обратная связь обычно выполняется положительной. В тепловозных схемах МУ с внешней обратной связью не применяются, однако их рассмотрение облегчит изучение тепловозных МУ с внутренней обратной связью. Переменный ток, протекающий по рабочим обмоткам МУ, выпрямляется при помощи мостовой двухполупериодной схемы (рис. 18, а). Для обратной связи служит отдельная обмотка обратной связи ОС, которая получает питание за счет падения напряжения на резисторе Рос в выходной цепи с выпрямленным током.
Работа МУ с внешней обратной связью протекает следующим образом. При увеличении тока в обмотке управления ОУ увеличивается подмагничивание сердечника и возра^ стает рабочий ток (ток нагрузки). При этом становится большим падение Напряжения На реЗИСТОре Рос
и, следовательно, возрастает ток в обмотке обратной связи. М. д. с. этой обмотки изменяет подмагничивание сердечника. Если м. д. с. обмотки обратной связи направлена согласно м. д. с. обмотки управления, то действие обратной связи увеличивает коэффициент усиления (положительная обратная связь). Если же м. д. с. обмотки обратной связи направлена встречно м. д. с. обмотки управления,
то коэффициент усиления МУ уменьшается (отрицательная обратная связь).
Более проста н экономична схема МУ с внутренней обратной связью (рис. 18, б), при которой сердечник дополнительно подмагничивается самими же рабочими обмотками ОР1, ОР2. МУ с внутренней обратной связью называют еще МУ с самопод-магничиванием (с самонасыщением). МУ с самоподмагничиванием и выходом постоянного тока называют амплистатом.
В амплистате рабочие обмотки включены таким образом, что их м. д. с. направлены согласно (в одном направлении). Последовательно с обмотками включены диоды так, что в каждой обмотке рабочий ток течет только в одном направлении (хотя он и переменный по значению) и каждая из обмоток «работает» лишь «свою» половину периода напряжения питания. В МУ с положительной обратной связью при увеличении тока в обмотке управления увеличивается подмагничивание сердечника и возрастает рабочий ток. Это приводит к еще большему под-магничнванию сердечника (в результате самоподмагничивания) и дальнейшему увеличению рабочего тока.
Характеристика управления МУ с положительной обратной связью, в частности с самоподмагничиванием,

Рис. 17. Схема обратной связи в магнитном усилителе (а) и характеристики управления
магнитного усилителя (б): / — с положительной обратной связью; 2 — без обратной связи; 3 — с отрицательной обратной связью
несимметрична относительно оси рабочего тока и ее особенностью является сравнительно большое значение тока холостого хода /хх (рис. 19). Объясняется это действием обратной связи.
На рис. 19 стрелками показано направление м. д. с. рабочих обмоток ґр и результирующей м. д. с. обмоток управления 2/-'у. Естественно, что Рр может быть лишь положительной, а 2РУ — как положительной, так и отрицательной. Если увеличить м. д. с. обмоток управления в положительном направлении, т. е. так, чтобы результирующий магнитный поток в сердечнике (магнитный поток рабочего тока плюс магнитный поток тока управления) возрастал, рабочий ток будет увели-

Рис. 18. Схема магнитного усилителя с выходом на постоянном токе

Рис. 19. Характеристика управления магнитного усилителя с внутренней обратной связью (амплистата)
чиваться. Если же увеличить м. д. с. тока управления в отрицательном направлении, т. е. так, чтобы результирующий магнитный поток в сердечнике (магнитный поток рабочего тока минус магнитный поток тока управления) уменьшался, рабочий ток будет уменьшаться.
На тепловозах типа ТЭ10 МУ нашли широкое применение в системах автоматического регулирования возбуждения тягового генератора. МУ с самоподмагничиванием (ам-плистаты) используются для управления током возбуждения возбудителя и генератора, а МУ без обратной связи в виде измерительных трансформаторов постоянного напряжения (ТПН) и постоянного тока (ТПТ)—для подачи на управляющую обмотку амплистата сигналов по напряжению и по току нагрузки тягового генератора (тяговых электродвигателей).
Контрольные вопросы
1. Что представляет собой магнитный усилитель?
2. Каков принцип работы МУ?
3. Для чего МУ имеет две рабочие обмотки и два сердечника?
4. Как влияет частота питающего тока на работу МУ?
5. Каковы основные параметры МУ?
6. Какой может быть обратная связь? Что является обратной связью в МУ?
7. Что такое амплистат?
8. Какие магнитные усилители применяют иа тепловозах типа ТЭ10?










