8.7. Цепи реле заземления, реле сброса нагрузки при обрыве перемычек полюсов и контроля заземления в цепях управления
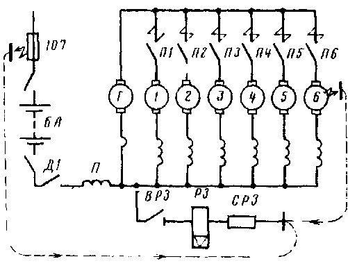
Цепи реле заземления. Реле заземления РЗ служит для снятия нагрузки с генератора при заземлении в силовой тяговой цепи. На тепловозах ЗТЭ10М, 2ТЭ10М, выпускавшихся до 1985 г., применены однокатушечные реле заземления Р-45Г2-12. Катушка реле включена в минусовую цепь генератора (подсоединена к шунту амперметра)
вместе с рубильником ВРЗ (рис.92). В цепь катушки входит резистор СРЗ. Другой конец цепи припаян к корпусу тепловоза.
При заземлении в силовой тяговой цепи ток от места заземления по корпусу поступает в цепь реле через припаянный к корпусу конец цепи и уходит на «минус» генератора. Когда ток достигнет 10 А, реле сработает и размыкающим контактом разорвет цепь катушек контакторов возбуждения генератора и возбудителя. При выключении контактора возбуждения возбудителя ВВ его размыкающий вспомогательный контакт замыкает цепь сигнальной лампы «Сброс нагрузки». В то же время замыкающий контакт реле РЗ замыкает цепь сигнальной лампы «Реле заземления».
Во время работы тепловоза при замыкании на корпус в цепях управления реле заземления не срабатывает. Однако при пуске дизеля, когда через включенный контактор Ш катушка реле заземления соединяется с «минусом» аккумуляторной батареи, реле может реагировать при замыкании на корпус плюсовой части цепей управления.
При срабатывании реле РЗ его якорь удерживается во включенном положении защелкой. После устранения повреждения защелку необходимо освободить, и реле отпус-тится. Если место заземления не обнаружено, разрешается отключить реле рубильником ВРЗ и ехать до ближайшего депо.
Недостатком реле заземления Р-45Г2-12 является то, что оно срабатывает при заземлении лишь в плюсовой части силовой тяговой цепи и не реагирует на заземление в минусовой ее части. Кроме того, в связи с наличием механической защелки реле имеет сравнительно малое быстродействие, что особенно отрицательно сказывается при круговом огне на коллекторе ТЭД
На тепловозах ЗТЭ10М и 2ТЭ10М, выпускавшихся с 1985 г., а также на тепловозах типа ТЭ10У применяются реле заземления РМ-1П0 с искусственной нулевой точкой и асимметричным делителем напряжения (рис. 93). Реле имеет две катушки: рабочую РЗ (р) и удерживающую Р3(у). Магнитодвижущие силы этих катушек направлены согласно. Магнитодвижущая сила удерживающей катушки помогает рабочей катушке удерживать якорь во включенном положении, ио сама удерживающая катушка включить реле не может Благодаря такому свойству эта катушка выполняет роль «электрической защелки». Если надо выключить реле после его срабатывания, нажимают кнопку КРЗ, обесточивая удерживающую катушку.
Рабочая катушка через диоды Д!—Д4 выпрямительного моста БВЗ подключена с одной стороны к корпусу тепловоза, а с другой — к делителю напряжения, соединенному как с плюсовой, так и с минусовой частями силовых цепей. Благодаря такому включению ток в катушке протекает в неизменном направлении независимо от того, в какой части силовой цепи имеется заземление (в плюсовой или минусовой).
Делитель напряжения СРЗЗ— СР32—СР31 выполнен асимметричным таким образом, что у вывода Р2 резистора СР32 напряжение составляет примерно '/* напряжения тягового 1енератора. Это сделано для надежного срабатывания реле заземления при возникновении кругового огня на коллекторе ТЭД. При перебросе дуги на корпус потенциал на

Рнс 92. Принципиальная схема включения и действия реле заземления Р-45Г2-12

Рис 93 Принципиальная схема включения реле заземления РМ-1110 тепловозов типов ТЭ10М. и ТЭ10У
нем равен примерно половине напряжения тягового генератора. Если бы делитель напряжения был симметричен, напряжение на его выходе (вывод Р2 резистора СР32) также рав-
нялось бы половине напряжения генератора. В результате из-за малой разности потенциалов между корпусом и выходом делителя реле могло бы не сработать. Для того чтобы обеспечить одинаковую чувствительность реле при замыкании как в плюсовой, так и в минусовой части силовой тяговой цепи, используются добавочные резисторы СР35—СР36, ток по которым проходит только в случае заземления в плюсовой части цепи.
При отключенном рубильнике ВР31 схема включения рабочей обмотки реле становится такой же, как и у реле Р-45Г2-12, т. е. реле будет в этом случае реагировать только на заземление в плюсовой части силовой цепи. Если при включенном рубильнике ВР31 реле заземления срабатывает, а при отключенном не срабатывает, значит, замыкание на корпус в минусовой цепи.
При пробое изоляции обмотки якоря ТЭД неисправный двигатель находят путем поочередного отключения двигателей и включения нагрузки (рубильник ВР31 должен быть выключен). После нахождения неисправного двигателя он должен быть отключен.
Выключают реле заземления отключением рубильника ВР32.
Применение реле заземления РМ-1П0 повышает надежность работы тепловозов благодаря своевременному обнаружению заземления на корпус в любом месте силовой тяговой цепи.
Цепь реле сброса нагрузки при обрыве перемычек полюсов. При поломке перемычек между обмотками главных полюсов ТЭД, когда тепловоз работает в режиме ослабленного возбуждения, в цепи резисторов ослабления возбуждения резко возрастает ток нагрузки. Это вызывает сильный нагрев этих резисторов (докрасна) и может привести к возгоранию в левой аппаратной камере. Поэтому на тепловозах ЗТЭ10М, 2ТЭ10М, выпускавшихся с 1983 г., а также на тепловозах типа ТЭ10У
применено реле сброса нагрузки при обрыве перемычек полюсов РОП. В 1983—1985 гг. в качестве такого реле использовалось реле Р-45Г5-11 с катушкой, рассчитанной на срабатывание при напряжении 24 В, и механической защелкой. Катушка реле включена на выход блока диодов сравнения БДС. При обрыве перемычек полюсов между цепями ТЭД появится разность потенциалов выше напряжения срабатывания реле. Реле сработает и своим размыкающим контактом разорвет цепь питания катушек контакторов КВ, ВВ, что приведет к сбросу нагрузки с тягового генератора.
На тепловозах типа ТЭ10М, выпускавшихся с 1986 г., а также иа тепловозах типа ТЭ10У в качестве реле РОП используется реле РМ-1110 с током срабатывания в рабочей катушке 0,2 А. Включена рабочая катушка на выход блока БДС. При обрыве перемычек полюсов между цепями ТЭД появится разность потенциалов и в рабочей катушке потечет ток более указанной величины. Реле сработает и своим размыкающим контактом разорвет цепь катушек контакторов КВ, ВВ.
Удерживающая катушка реле РОП включена параллельно удерживающей катушке реле РЗ (см. рис. 93) и выполняет роль «электрической защелки». Выключить реле можно, нажав кнопку КРЗ.
При срабатывании реле РОП, как и при срабатывании реле РЗ, на тепловозах типа ТЭ10М включается сигнальная лампа ЛРЗ «Реле заземления». На тепловозах типа ТЭ10У имеются две отдельные сигнальные лампы: ЛРЗ «Реле заземления» и ЛРП «Обрыв поля».
Контроль заземления в цепях управления. Для контроля состояния изоляции в цепях управления на ряде тепловозов установлен вольтметр V цепей управления, переключаемый при помощи двух кнопок. При положении кнопки, которое изображено на рис. 1, 2, вольтметр, будучи включенным между плюсовыми 1/1-4
и минусовыми зажимами, показывает напряжение цепей управления. При нажатии на кнопку КИ2 «Заземление в цепи ■+-» и наличии заземления в плюсовой части цепей управления ток будет идти от «плюса» вспомогательного генератора или аккумуляторной батареи по цепи управления до места заземления, далее по корпусу тепловоза на припаянный к корпусу провод цепи вольтметра V, затем через замкнувшийся при нажатии контакт кнопки КИ2, перемычку между контактами кнопки КИ2, вольтметр и далее через кнопку КИ1 на минусовый зажим. Таким образом, ток утечки из плюсовой части цепи управления вызовет отклонение стрелки вольтметра. При нажатии на кнопку КИ1 «Заземление в цепи —» и наличии заземления в минусовой части цепей управления ток вспомогательного генератора или батареи через зажимы 1/1-4 и кнопку КИ2 будет подведен к вольтметру, далее через замкнувшийся при иажатии контакт кнопки КИ1 он пройдет к проводу, припаянному к корпусу, по корпусу к месту заземления цепей управления и по цепям на «минус» источника питания (ВГ или БА). При этом также будет отклоняться стрелка вольтметра.
На тепловозах типа ТЭ10У в цепи вольтметра применена еще и кнопка КПЗ, которая позволяет проверить изоляцию аккумуляторной батареи при отключенном рубильнике (см. рис. 2).










