7.4. Цепи управления пуском и защиты дизеля
Структурные схемы (алгоритмы) управления пуском дизеля тепловозов типов ТЭ10М и ТЭ10У приведены на рис. 66, 67. Сами цепи будем рассматривать для каждого типа в отдельности.
Тепловозы ЗТЭ10М и 2ТЭ10М (см. рис. 1). Цепь контактора КТН и электромагнита МР5 регулятора. При включении автомата А4 «Топливный иасос» подготавливается цепь питания электродвигателя топливопод-качивающего насоса, а при включении автомата А5 «дизель» получает
питание электромагнит МР5 регулятора, а также подготавливаются цепи питания катушки контактора КТН, возбуждения вспомогательного генератора, питания вентилей ВП6, ВП9 (рис. 68). Электромагнит МР5 регулятора полностью задвигает якорь индуктивного датчика в катушку (это необходимо для облегчения пуска дизеля). При включении тумблера ТН1 «Топливный насос» включается контактор КТН. При этом ток течет по цепи: «плюс» аккумуляторной батареи, провод 396, нож рубильника ВБ, провода 493, 392, плавкий предохранитель 107 на 125 А, провод 775, автомат А5 «дизель», провода 314, 223, 442, контакт 26-2 ШР, размыкающий контакт реле РУ7, контакт 25-26 ШР, провод 338, катушка контактора КТН, провода 320, 113, 892, тумблер ТН1 «Топливный насос» и далее по проводам 358, 1023 иа минусовые зажимы.
Цепь электродвигателя топливо-подкачивающего насоса и электропневматических вентилей ВП6, ВП9 выключения части топливных насо-
сов. При включении контактора К.ТН один его главный контакт замыкает цепь электродвигателя топливопод-качивающего насоса, а другой — цепь питания вентилей ВП6 и ВП9.
Включившись, вентиль ВП6 подводит сжатый воздух в цилиндр механизма выключения топливных насосов левого ряда. Вентиль ВП9 подводит сжатый воздух в цилиндр мехаииз-

Рис. 66. Структурная схема (алгоритм) управления включением электродвигателя топливо подкачивающего насоса тепловозов типов ТЭ10М (а) н ТЭ10У (б)

ма выключения пяти топливных насосов правого ряда. В цепи вентиля ВП6 находятся размыкающие вспомогательные контакты контакторов Д1 и ВВ; в цепь вентиля ВП9 включены размыкающие контакты реле РУ6, РУ19 и РУ8. Поэтому вентиль ВП6 включен при работе дизеля лишь на холостом ходу, когда контактор ВВ выключен. Вентиль ВП9 включен на нулевой и 1-й позициях контроллера, когда отключено реле РУ8. Выключение топливных насосов левого ряда при работе дизеля вхолостую и пяти топливных насосов правого ряда при работе на холостом ходу и под нагрузкой на 1-й позиции способствует улучшению качества распыла и сгорания топлива в связи с тем, что увеличивается порция топлива, распыли-ваемая каждым насосом. Благодаря этому также исключается попадание несгоревшего топлива в масло, а следовательно, повышается срок службы последнего.
В период пуска дизеля вентили ВП6 и ВП9 выключены (пуск происходит при работе всех 20 насосов), так как при этом не замкнуты размыкающий вспомогательный контакт контактора Д1 и размыкающий контакт реле РУ6.
При включении контактора КТН собирается также цепь от аккумуляторной батареи на обмотку возбуждения вспомогательного генератора и регулятор напряжения БРН-ЗВ.
Цепь включения реле времени РВ1, электродвигателя МН масло-прокачивающего насоса и контакторов Д1, Д2 и ДЗ. На тепловозах применяется автоматическое управление пуском дизеля, при котором после кратковременного нажатия кнопки «Пуск дизеля» начинает работать электродвигатель маслопро-качивающего насоса, а затем через заданное время включаются пусковые контакторы и осуществляется пуск дизеля с автоматическим выключением электродвигателя масло-прокачивающего насоса и всех аппа-

Рис. 68. Принципиальная схема включения электродвигателя топливоподкачивающего насоса тепловозов типа ТЭ10М
ратов, связанных с пуском при достижении заданного давления масла в системе.
При включении автомата А13 «Управление» напряжение батареи через плюсовые зажимы ////—2, контакт блокировки тормоза БУ, контакт реверсивного барабана контроллера КМ в положении «Вперед» или «Назад» подводится к контактам контроллера и далее через его 4-й контакт, замкнутый на нулевой позиции, провод 1236, контакт 3—/ ШР подводится к кнопкам ПД1, ПД2, ПДЗ «Пуск дизеля».
При нажатии кнопки ПД1 срабатывает реле РУ6, а после отпускания этой кнопки катушка реле РУ6 будет продолжать получать питание теперь уже через замыкающий контакт этого же реле от плюсового зажима 7/10. Через этот же контакт напряжение будет подводиться ко всем цепям, связанным с управлением пуском дизеля.
На тепловозах ЗТЭ10М, 2ТЭ10М, выпускавшихся с 1983 г., в цепи управления пуском дизеля устанавливается реле времени ВЛ-50, которое имеет лишь один замыкающий контакт, что приводит к необходимости использовать, наряду с реле времени РВ1, промежуточное реле управления РУ4 (рис. 69).

При срабатывании реле РУ6 его замыкающий контакт между проводами 200 и 345 создает цепь питания катушки контактора КМН. Контактор КМН включается, через его главный контакт получает питание электродвигатель МН маслопрока-чивающего насоса, через вспомогательный контакт между проводами 216 и 341—реле времени РВ1, а вспомогательный контакт контактора КМН между проводами 325 и 326 подготавливает цепь питания катушки контактора Д1.
Спустя 90 с замыкается контакт реле времени РВ1 между проводами 217 и 218, что создает цепь питания катушки реле РУ4. Срабатывая, реле РУ4 замыкает цепь питания катушки контактора Д1: контакт реле РУ4, провод 325, замкнутый вспомогательный контакт контактора КМН, провод 326, размыкающий вспомогательный контакт контактора КВ, провода 287, 331, кб, контакт 105 блокировки валоповоротного меха-
низма, провода к7, 333, 368, катушка контактора Д1 и далее на «минус». Размыкающий вспомогательный контакт контактора КВ (между проводами 326 и 287) предотвращает возможность случайного включения пусковых контакторов при работе тепловоза в режиме тяги. Контакт 105 блокировки валоповоротного механизма не допускает включения пусковых контакторов при опущенном механизме. Замыкающий вспомогательный контакт контактора КМН позволяет включить пусковые контакторы только при работающем маслопрокачивающем насосе.
При включении контактора Д1 через его вспомогательный контакт между проводами 241 и 246 ток будет проходить в катушку контактора ДЗ данной секции, а по проводам 250, 249, 50 и далее через колодки межсекционных соединений — на катушки контакторов, ДЗ других секций. Через включившиеся вспомогательные контакты контакторов
ДЗ (между проводами 245 и 249) ток потечет на катушки контакторов Д2 всех секций, вызывая их включение. Через замыкающие главные контакты контакторов ДЗ на двух или трех секциях аккумуляторные батареи на период пуска соединяются параллельно (см. рис. 62, 63). Через замыкающие главные контакты контакторов Д1 и Д2 питание от батарей двух или трех секций подводится к тяговому генератору, который, работая в режиме двигателя, проворачивает валы дизеля для пуска.
На тепловозах ЗТЭ10М, 2ТЭ10М более ранней постройки в качестве реле РВ1 применяются реле времени ВЛ-31, имеющие два замыкающих контакта, поэтому цепи управления пуском дизеля (рис. 70) несколько отличаются от описанных выше.
При срабатывании реле РУ6 его замыкающий контакт между проводами 200 и 220 создает цепь питания катушки реле времени РВ1. В результате замыкается контакт мгновенного действия реле РВ1 (между контактами 8 и 9 ШР), обеспечивая подачу питания на катушку контактора КМН. Контактор КМН включается и через его главные контакты получает питание электродвигатель МН маслопрокачиваю-щего насоса. Замыкающий вспомогательный контакт контактора КМН между проводами 325 и 326 подготавливает цепь включения пусковых контакторов Д1—ДЗ.
Через 90 с замыкается контакт реле времени РВ1 между контактами 5 и 6" ШР и через него начинает проходить ток на катушку пускового контактора Д1. При включении контактора Д1 через его вспомогательный контакт получают питание катушки контакторов ДЗ данной и сочлененных секций. Затем включаются контакторы Д2 на всех секциях и генератор секции, на которой осуществляется пуск, начинает работать в режиме двигателя, проворачивая валы дизеля.
На тепловозах, выпускавшихся с 1983 г., при включении контактора ДЗ через его замыкающий вспомогательный контакт между проводами 242 и 247 ток начинает поступать на катушки реле времени РВ2 и электромагнит ЭТ объединенного регулятора.
Реле времени РВ2 выключит пусковые контакторы через 30 с после их включения, если пуск дизеля не произойдет или будет идти дольше указанного времени (см. ниже).
Через замыкающий вспомогательный контакт контактора Д1 получает питание электропневматический вентиль ВП7. Вентиль ВП7 впускает воздух в пневматический цилиндр ускорителя пуска дизеля. Под давлением сжатого воздуха поршневая пара ускорителя пуска дизеля перемещается и подает масло под силовой поршень серводвигателя подачи топлива регулятора, что вызывает перемещение реек топливных насосов на подачу топлива, близкую к максимальной. Это облегчает процесс пуска дизеля, уменьшает разряд аккумуляторных батарей при пуске.
При необходимости провернуть валы дизеля, не пуская его, следует включить автомат А13 «Управление» и кнопку «Пуск дизеля», не включая тумблер «Топливный насос». Тогда через размыкающий вспомогательный контакт контактора КТН (между проводами 372 и 329) получают питание лишь контакторы Д1— ДЗ (контакторы КТН и КМН, реле РУ6, РВ1, РВ2, двигатели топливо-подкачивающего и маслопрокачи-вающего насосов, тяговый электромагнит ЭТ, вентили ВП6, ВП7 остаются выключенными).
Цепь тягового электромагнита ЭТ регулятора. При включении пусковых контакторов через замыкающий вспомогательный контакт контактора ДЗ (между проводами 242 и 247) получает питание тяговый электромагнит ЭТ регулятора, что позволяет силовому поршню регулятора подняться, выдвинуть рейки топлив-

ных насосов и обеспечить подачу топлива в цилиндры при повороте валов дизеля. Тек к катушке электромагнита ЭТ проходит по цепи: Замыкающий вспомогательный контакт контактора ДЗ, провода 247,248,312, катушка ЭТ и далее на «минус» батареи.
Цепи защиты дизеля при снижении давления масла. Когда в процессе пуска дизеля давление масла в его системе превысит 0,5— 0,6 кгс/см2, сработает реле давления масла РДМ1 и соберет цепь питания катушкн реле РУ9 (рис. 71, см рис. 69). Замыкающие главные контакты контактора КТН и контакты реле РУ9 создают вторую цепь питания катушки электромагнита ЭТ {помимо описанной ранее цепи через замыкающий вспомогательный контакт контактора ДЗ). При срабатывании реле РУ9 его размыкающие контакты между проводами 342 и 337 разрывают цепи питания всех аппаратов, связанных с пуском дизеля (кроме электромагнита ЭТ и контактора КТН). Если теперь давление масла в системе дизеля упадет ниже 0,5—0,6 кгс/см2, реле РДМ1 разорвет цепь питания катушки реле РУ9, реле выключится и выключит электромагнит ЭТ, останавливая тем самым дизель.
Через замыкающий контакт реле РУ9, по проводам 1328, 46, через колодки межсекционного соединения напряжение подается на лампы «Работа дизеля» (при работе дизеля средней секции тепловоза ЗТЭ10М на крайних секциях горят лампы ЛД2, при работе дизеля крайней секции горит лампа ЛДЗ на другой крайней секции).
Цепи защиты аккумуляторной батареи от чрезмерного разряда. Если давление масла в системе дизеля не достигнет требуемого уровня или пуск дизеля ие произойдет по какой-либо другой причине, реле времени РВ2 через 30 с после включения контактора ДЗ обеспечит выключение пусковых контакторов и всех прочих аппаратов, связанных с пуском дизеля. Размыкающий контакт реле РВ2 между проводами 327 и 334 разорвет цепь катушки реле РУ6, замыкающий контакт которого разорвет цепи питания всех аппаратов, связанных с пуском дизеля. Тем самым прекратится разряд аккумуляторной батареи, которая питает при пуске тяговый генератор.
Цепи защиты дизеля от пробоя газов в картер и аварийной остановки дизеля. На тепловозе предусмотрена защита дизеля при повышении давления в картере, свидетель-

Рис. 71. Структурная схема (алгоритм) остановки дизеля при срабатывании защиты на тепловозах типов ТЭ10М и ТЭ10У
ст вую щем о пробое газов через трещину в головке поршня нли уплот-иительные кольца. Для контроля за давлением или разрежением в картере дизеля на тепловозе установлен дифференциальный (ІІ-образньїй) манометр, имеющий контакты КДМ, включенные в электрическую схему. Нормальное разрежение в картере должно быть 10—60 мм вод. ст. При повышении давления в картере до 7 мм вод. ст. замыкается контакт / дифманометра в цепи сигнальной лампы ЛДК «Давление в картере». При достижении давления 30— 35 мм вод. ст. по цепи между замкнувшимися контактами 2 к З ШР дифманометра при любой позиции контроллера ток будет проходить на катушку реле РУ7.
Аварийная остановка дизеля осуществляется нажатием кнопки А К, которая находится на пульте машиниста. При включении кнопки АК также создается цепь питания катушки реле РУ7.
Размыкающий контакт реле РУ7 как при включении контактов КДМ дифференциального манометра, так и при нажатии аварийной кнопки АК разрывает цепь катушки контактора КТН, в результате прекращается питание и электромагнита ЭТ, дизель н топливоподкачи-вающий насос останавливаются. После срабатывания реле РУ7 его катушка начинает получать питание через свой замыкающий контакт, так что для отпускания реле требу-
ется выключить рубильник батареи или автомат А5 «дизель».
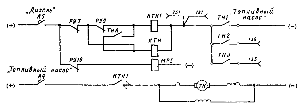
Тепловозы ЗТЭ10У, 2ТЭ10У, гТЭЮУ1 (см. рис. 2). Цепи контакторов КТН, КТН1 и электромагнита МР5 регулятора. При включении тумблера «Топливный насос» (рис. 72) включаются контакторы КТН и КТН1. Цепь питания катушки КТН1 следующая: плюсовые выводные зажимы, провод 875, автомат А5 «дизель», провода 1401,1418, размыкающие контакты реле РУ7, РУ9, провода 1416, 1561, катушка контактора КТН1 и далее через тумблер ТН1 «Топливный насос» на минусовые зажимы. Одновременно с этим после размыкающего контакта РУ7 ток потечет пб проводам 1562, 1563 на катушку контактора КТН. Контакторы КТН1, КТН включатся.
При включении автомата А5 «дизель» получает также питание электромагнит МР5 регулятора по цепи: автомат А5, провода 1401, 1453, размыкающий контакт реле РУ10, провода 1398, 1408, катушка МР5.
Цепь электродвигателя топливо-подкачивающего насоса. При включении контактора КТН1 включается электродвигатель топливоподкачи-вающего насоса, при этом ток идет по цепи: плюсовые зажимы 1/1-4, провода 871X2, автомат А4 «Топливный насос», провода 2020, 2021, главные контакты контактора КТН1, провода 2023, 2027, электродвигатель ТН и по проводам 2022, 2024 на минусовый зажим

Рис 72 Принципиальная схема включения электродвигатели топливоподкачивающего насоса
тепловозов типа ТЭ10У

Рис 73 Принципиальная схема цепей автоматического пуска дизеля тепловозов типа ТЭ10У
При включении тумблера «Топливный иасос» главный контакт контактора КТН замыкает цепь от аккумуляторной батареи на обмотку возбуждения вспомогательного генератора и регулятор напряжения. В эту цепь входят размыкающие вспомогательные контакты контакторов Д1 и ДЗ.
Цепь включения реле времени РВ1, электродвигателя МН маслопрока-чивающего насоса и контакторов Д1, Д2 и ДЗ. При включении автомата А13 «Управление» (рнс. 73) напряжение аккумуляторной батареи через плюсовые зажимы 11/1-2, контакты блокировки тормоза БУ, контакт реверсивного барабана контроллера КМ, включенный в положении «Вперед» или «Назад», 4-й контакт контроллера, замкнутый на нулевой позиции, по проводам 1411, 1427, 1428 подводится к кнопкам ПД1, ПД2, ПДЗ «Пуск дизеля». Включение в эту цепь 4-го контакта контроллера исключает возможность
пуска дизеля при рабочих позициях контроллера.
Кнопку «Пуск дизеля» после нажатия можно сразу же отпустить. При этом успевает сработать реле РУ6. Цепь питания катушки реле РУ6 следующая: провода 1412, 1413, 1414, резистор СУ1, провод 1415, размыкающий контакт реле РУ9, провода 1491, 1487, замыкающий вспомогательный контакт контактора КТН, провода 1486, 1482, размыкающий контакт реле времени РВ2, провод 1483, катушка реле РУ6 и далее на «минус». После отпускания кнопки «Пуск дизеля» питание катушки реле РУ6 будет осуществляться от цепи катушек контакторов КТН и КТН1 через размыкающий контакт реле РУ8 и замыкающий контакт реле РУ6 между проводами 1455 и 1459.
После срабатывания реле РУ6 через его замыкающий контакт между проводами 1567 и 1568 создается цепь питания катушки контактора
КМН. Контактор КМН включает электродвигатель МН маслопрокачи-вающего насоса, который начинает прокачку масла в системе дизеля. Ток к электродвигателю идет от рубильника ВБ аккумуляторной батареи по цепи: провод 451, шина 01Ш8, провод 811, плавкий предохранитель 107 на 125 А, провода 817X4, главные контакты контактора КМН, провод 819, электродвигатель МН и далее по проводам 820, 454 на «минус» батареи.
При включении контактора КМН его замыкающий вспомогательный контакт между проводами 1495 и 1496 подготавливает цепь пусковых контакторов Д1—ДЗ.
Через второй замыкающий вспомогательный контакт контактора КМН между проводами 1441, 1471 и 1472 подается питание на реле РВ1.
Спустя установленную выдержку времени (90 с) замыкающий контакт реле времени РВ1 между проводами 1457, 1458 создает цепь питания катушкн реле РУ4. При этом получает питание катушка контактора Д1 по цепи: контакт реле РУ4, провода 1461, 1495, замыкающий вспомогательный контакт контактора КМН, провода 1496, 1462, размыкающий вспомогательный контакт контактора КВ, провода 1463, 1464, кб, контакт ВПУ блокировки вало-поворотного механизма, провода к7, 1465, 1466, катушка контактора Д1 и далее по проводам 1448, 1449 на минусовые зажимы. Размыкающий вспомогательный контакт контактора КВ между проводами 1462 и 1463 не допускает случайного включения пусковых контакторов во время работы тепловоза в режиме тяги. Контакт ВПУ блокировки вало-поворотного механизма предотвращает возможность включения контакторов Д1—ДЗ при опущенном механизме.
После включения контактора Д1 его вспомогательный контакт замыкает цепи: от плюсовых зажимов 5/12, 5/11 по проводам 1501, 1400,
1471, 1441, 1444 на катушку пускового контактора ДЗ данной секции и по проводам 1446, 132 (252), через розетки межсекционных соединений на включающие катушки контакторов ДЗ второй (третьей) секции.
Включение контакторов ДЗ на двух или трех секциях тепловоза, как указывалось выше (см. рис. 62, 63), соединяет параллельно две или три аккумуляторные батареи. После включения контакторов ДЗ через их замыкающие вспомогательные контакты между проводами 1442 и 1443 ток проходит на катушки контакторов Д2, вызывая их включение. Включение контакторов Д1, Д2 и ДЗ обеспечивает подвод питания от аккумуляторных батарей двух или трех секций к тяговому генератору, который, работая в режиме двигателя, проворачивает валы дизеля для пуска.
При включении контактора ДЗ через его замыкающий вспомогательный контакт между проводами 1511 и 1508 ток пойдет на катушку реле РВ2.
При необходимости провернуть валы дизеля без его пуска включают автомат А13 «Управление» и кнопку «Пуск дизеля», не включая тумблер ТН1 «Топливный насос». Тогда контакторы КТН, КТН1 и КМН, реле РУ6, РВ1, РВ2, двигатели топливо-подкачивающего и маслопрокачи-вающего насосов, тяговый электромагнит ЭТ, вентиль ВП6 останутся выключенными, а через размыкающий вспомогательный контакт контактора КТН между проводами 1493 и 1494 получат питание лишь контакторы Д1—ДЗ.
Цепь тягового электромагнита ЭТ регулятора и электропневматического вентиля ВП7 ускорителя пуска дизеля. При пуске дизеля одновременно с включением пусковых контакторов включается электромагнит ЭТ регулятора, который обеспечивает подачу топлива в цилиндры при повороте валов дизеля. Катушка ЭТ при включении контактора ДЗ получает питание через его замы-
кающнй вспомогательный контакт между проводами 1511 и 1508.
Через замыкающий вспомогательный контакт контактора Д1 между проводами 1504, 1511 и 1512 ток подводится к катушке вентиля ВП7, впускающего воздух в пневматический цилиндр ускорителя пуска дизеля.
Цепи защиты дизеля при снижении давления масла. Катушка электромагнита ЭТ может получать питание не только через замыкающий вспомогательный контакт контактора ДЗ (см. выше), но и через замыкающий контакт реле РУ9. Когда давление масла в системе дизеля превысит 0,2—0,4 кгс/см2, сработает реле давления масла РДМ1 и его контакт замкнет цепь питания катушки реле РУ9 (см. рис. 73). Через замыкающие контакты реле РУ9 ток потечет на катушку электромагнита ЭТ. В то же время размыкающий контакт реле РУ9 между проводами 1415 и 1491 разорвет цепь питания катушки реле РУ6, что приведет к выключению всех аппаратов, связанных с пуском дизеля (кроме электромагнита ЭТ и контактора КТН). Размыкающий контакт реле РУ9 между проводами 1418 и 1416 разорвет цепь катушки контактора КТН1, выключив тем самым топливоподкачивающий насос, имеющий привод от электродвигателя. (Если включить тумблер ТНА, то контактор КТН1 будет получать питание по другой цепи и топливоподкачивающий насос с приводом от электродвигателя после окончания пуска дизеля останется включенным.) Если давление масла в системе дизеля станет ниже 0,2— 0,4 кгс/см2, реле РДМ1 разорвет цепь питания катушки реле РУ9, которое выключит электромагнит ЭТ н этим остановит дизель.
Через замыкающий контакт реле РУ9 по проводам 1534, 142 (262) и далее через колодки межсекционных соединений напряжение будет подводиться к лампам, сигнализи-
рующим о работе дизеля (при работе дизеля средней секции тепловоза ЗТЭ10У на крайних секциях горят лампы ЛД2, при работе дизеля крайней секции горит лампа ЛДЗ на другой крайней секции).
Цепи защиты аккумуляторной батареи от чрезмерного разряда. В случае если давление масла в системе дизеля не поднимается или пуск дизеля не происходит по какой-либо другой причине, пусковые контакторы и другие аппараты, связанные с пуском дизеля, должны выключиться через 20—30 с после их включения. Этим предотвращается чрезмерный разряд аккумуляторных батарей при несостоявшемся нли чрезмерно затянувшемся пуске. Для выключения пусковых контакторов через 20—30 с служит реле времени РВ2. Ток подводится к катушке этого реле через замыкающий вспомогательный контакт контактора ДЗ. Спустя 20—30 с размыкающий контакт реле РВ2 между проводами 1482 и 1483 разрывает цепь питания катушки реле РУ6, размыкающий контакт которого между проводами 1459 и 1455 разрывает цепи питания всех аппаратов, связанных с пуском дизеля.
Цепи защиты дизеля от пробоя газов в картер и аварийной остановки дизеля. При повышении давления в картере до 7 мм вод. ст. замыкается контакт /—2 дифференциального манометра в цепи сигнальной лампы ЛДК «Давление в картере». Если давление в картере превысит 30—35 мм вод. ст., замыкаются контакты 2—3 дифманометра и создается цепь питания катушки реле РУ7.
Аварийная остановка дизеля осуществляется при помощи кнопки АК, смонтированной на пульте машиниста как крайних, так и средней секции. При включении кнопки А К также создается цепь питания катушки реле РУ7.
Размыкающий контакт реле РУ7 как при включении контактов дифманометра КДМ, так и при нажатии
аварийной кнопки АК разрывает цепи катушек контакторов КТН, КТН1, что приводит к отключению электромагнита ЭТ.










