6.3. Цепь возбуждения вспомогательного генератора
В связи с тем, что вспомогательный генератор питает цепи возбуждения возбудителя, освещения, управления и ряд других, напряжение его должно быть постоянным. Постоянное напряжение (75±1) В поддерживается регулятором напряжения, который включен в цепь обмотки параллельного возбуждения вспомогательного генератора.
Перед пуском дизеля при включении тумблера «Топливный насос» вспомогательный генератор получает независимое возбуждение от аккумуляторной батареи. Включение тумблера «Топливный насос» приводит к включению контактора КТН (см. ниже). При этом ток от аккумуляторной батареи будет протекать по обмотке возбуждения вспомогательного генератора. Предварительное возбуждение вспомогательного генератора от аккумуляторной батареи
обеспечивает возможность его самовозбуждения после начала работы.
На современных тепловозах применяются бесконтактные регуляторы напряжения. В 1972—1990 гг. выпускались регуляторы БРН-ЗВ, с 1990 г. выпускаются регуляторы БРН-ЗГ. Эти регуляторы работают по принципу компенсации отклонения управляемой величины (см. рис. 25).
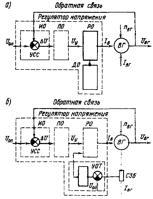
Основными узлами регулятора напряжения (рис. 57) являются измерительный орган ИО, который воспринимает отклонения напряжения от заданного значения, и регулирующий орган РО, который получает

Рис. 57. Структурная схема регулятора напряжения: а — БРН-ЗВ; б — БРН-ЗГ

Рис. 58. Принципиальная схема регулятора напряжения, работающего в импульсном ре-
сигнал от измерительного органа и изменяет ток в обмотке возбуждения вспомогательного генератора ВГ. Регулятор напряжения может включать и преобразующий орган ПО, который преобразует сигнал от измерительного органа к регулирующему, а также в отдельных случаях дополнительный орган ДО, обеспечивающий работу основных органов. Регулятор БРН-ЗГ, кроме того, имеет узел ограиичейия тока якоря УОТ с целью защиты вспомогательного генератора от перегрузки.
Бесконтактные регуляторы работают в импульсном режиме (в режиме «ключа»), быстро чередуя включение тока в обмотке возбуждения при напряжении вспомогательного генератора ниже 75 В и выключение тока в этой обмотке при большем напряжении. На принципиальной схеме (рис. 58) изображен условный ключ К, включающий и выключающий ток в обмотке возбуждения. Режим ключа может характеризоваться коэффициентом скважности, представляющим отношение продолжительности включенного состояния к суммарному времени включенного и выключенного состояний. При увеличении частоты вращения якоря, уменьшении тока нагрузки ВГ уменьшается коэффициент скважности регулятора напряжения, а следовательно, снижается средний ток возбуждения ВГ (и наоборот).
Точность поддержания напряжения при регуляторах БРН-ЗВ, БРН-ЗГ составляет ± 1 В. Частота пульсации напряжения 60—80 Гц; амплитуда напряжения не превышает 0,5 В. Повышению точности регулирования и сглаживанию пульсации напряжения способствует работа вспомогательного генератора параллельно с аккумуляторной батареей.
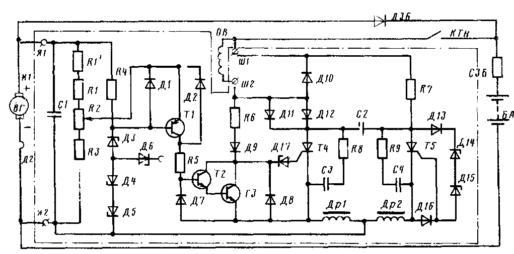
В регуляторах БРН-ЗВ измерительный орган выполнен по мостовой схеме (рис. 59). Первое плечо моста образуют резисторы /?/, /?/' и часть потенциометра второе — оставшаяся часть потенциометра /?2
и резистор третье — резистор
114, четвертое — стабилитроны ДЗ (или резервный Д6), Д4, Д5. В диагональ моста включен эмиттер-базовый (управляющий) переход транзистора 77. В рассматриваемом мосте падение напряжения вспомогательного генератора между ползунком потенциометра /?2 и выводом Д2 (т. е. напряжение на втором плече) сравнивается с напряжением стабилизации стабилитрона ДЗ (Д6).
Когда напряжение вспомогательного генератора превысит 75 В, напряжение на втором плече моста станет выше напряжения стабилизации ДЗ и в диагонали моста (в управляющем переходе транзистора 77) потечет ток, который откроет транзистор 77. При этом начнет протекать ток в цепи эмиттер — коллектор этого транзистора, который откроет транзисторы Т2 и ТЗ (типа п-р-п). Сопротивление перехода эмиттер — коллектор этих транзисторов упадет, в результате будет шунтироваться переход управляющий электрод — катод тиристора Т4.
В измерительный орган входят стабилитроны Д4, Д5, которые служат для повышения стабильности его работы (температурной компенсации), диод Д7, уменьшающий ток утечки транзистора ТІ, а также дио-
ды Д1, Д2, защищающие переходы транзистора ТІ от обратных напряжений в момент коммутации.
В регулирующем органе регулятора соединенный последовательно с обмоткой возбуждения ОВ тиристор Т4 обеспечивает включение и выключение тока в этой обмотке в импульсном режиме. Открытие тиристора происходит при достижении напряжением ВГ определенного значения (несколько вольт) и подаче отпирающего импульса на управляющий электрод тиристора по цепи: зажим Ш2, резистор кб, диод Д9, стабилитрон Д17. Сигнал для запирания тиристора подается от измерительного органа путем прерывания тока в цепи управляющий электрод— катод в результате шунтирования этой цепи открывшимися (находящимися в режиме насыщения) транзисторами Т2, ТЗ. Запирается тиристор лишь при подаче на его катод импульса обратной полярности.
Для возможности подачи запирающих импульсов на силовой тиристор Т4 он включен в схему мультивибратора, в которую входят также управляющий тиристор Т5, два последовательно соединенных стабилитрона Д14 и Д15, коммутирующий конденсатор С2, резистор /?7.
Схема работы мультивибратора

Рис. 59. Принципиальная схема регулятора напряжения БРН-ЗВ

на двух тиристорах представлена на рис. 60. Когда напряжение вспомогательного генератора достигнет определенного значения, на управляющий электрод тиристора Т4 через резистор /?6 будет подан отпирающий импульс (стрелка /), и тиристор откроется. Тиристор Т5 пока будет закрыт, так как в цепи его управляющего электрода стабилитроны Д14, Д15 не пропускают ток. При этом конденсатор С2 заряжается по цепи (стрелка 2): резистор /?7, конденсатор С2 (полярность указана без скобок), тиристор 14. Когда напряжение на конденсаторе станет достаточным для пробоя стабилитронов Д14 и Д15, через них потечет ток (стрелка 3) на управляющий электрод тиристора Т5, который откроется. Разряд конденсатора через тиристор Т5 (стрелка 4) даст отрицательный импульс на тиристор Т4, что приведет к закрытию последнего.
Теперь конденсатор С2 будет перезаряжаться по цепи (стрелка 5): обмотка возбуждения ОВ, конденсатор С2, тиристор Т5 и получит обратную полярность (указана в скобках). При достижении обратным напряжением на конденсаторе определенного значения откроется тиристор Т4, через него потечет разрядный ток конденсатора (стрелка 6), который послужит отрицательным импульсом для тиристора Т5. Тиристор Т5 закроется.
Так создаются автоколебания частотой около 400 Гц, которая зависит от емкости конденсатора С2
и сопротивления резистора Ю. Эти параметры подобраны так, что большую часть цикла тиристор Т4 открыт и, следовательно, ток в обмотке возбуждения ВГ близок к максимальному. Необходимо помнить, что автоколебания происходят лишь при напряжении вспомогательного генератора менее 75 В, когда закрыты транзисторы Т2 и ТЗ. Эти автоколебания накладываются на колебательный процесс, имеющий место при регулировании напряжения вспомогательного генератора. Когда оно превысит 75 В, транзисторы Т2 и ТЗ откроются и автоколебания прекратятся. Ток возбуждения ВГ и, следовательно, его напряжение начнут уменьшаться. Так будет продолжаться до тех пор, пока напряжение в диагонали моста измерительного органа, т е. на входе транзистора 77 не снизится настолько, что транзисторы 77, Т2, ТЗ закроются. Тиристор Т4 откроется и процесс повторится.
Диоды Д13, Д16, Д9, Д8 (см. рис. 59) защищают переходы управляющий электрод — катод тиристоров Т4 и Т5 от возникающих при перезарядке конденсатора С2 обратных напряжений. Диод Д8 защищает также переходы транзисторов Т2, ТЗ. Стабилитрон Д17 создает отрицательное смещение на управляющем электроде тиристора Т4, чем обеспечивается отсечка тока управления при открытых транзисторах Т2, ТЗ. Отсекающие диоды Д11, Д12 не допускают самопроизвольных колебаний в контуре обмотка возбуждения — конденсатор С2. Конденсатор С1 сглаживает пульсацию напряжения вспомогательного генератора, которая возникает вследствие импульсного характера процесса регулирования.
Обмотка возбуждения вспомогательного генератора шунтирована диодом Д10, который играет роль нелинейного разрядного сопротивления, снижающего перенапряжения, возникающие при выключении тока.
Применяемые в регуляторе БРН-
ЗВ дроссели Др1 и Др2 уменьшают скорость изменения тока, протекающего через тиристоры Т4, Т5, и тем самым защищают их от коммутационных перенапряжений. Цепочки /?—С (резисторы 118, 119, конденсаторы СЗ и С4) служат для повышения помехоустойчивости регулятора. Регулятор настраивают вращением регулировочного винта потенциометра Я2: при вращении его по часовой стрелке напряжение вспомогательного генератора растет и наоборот.
Регулятор БРН-ЗГ выполнен с использованием трех аналоговых интегральных микросхем А1, А2, АЗ серии 140УД6 (рис. 61)
Питание интегральных микросхем (см. соединительные провода а, в) осуществляется через параметрический стабилизатор напряжения, состоящий из последовательно включенных стабилитронов VI, У2 и ограничивающего резистора /?/.
Измерительный орган регулятора выполнен на интегральном операционном усилителе А1, который работает в режиме компаратора
(нуль-индикатора) и служит для усиления входного сигнала.
Напряжение вспомогательного генератора (напряжение обратной связи, снимаемое с делителя напряжения /?2, сравнивается на неинвертирующем входе операционного усилителя А1 с опорным сигналом, снимаемым с термокомпен-снроваиного стабилитрона У2. В зависимости от знака сигнала рассогласования на выходе 6 операционного усилителя А1 устанавливается положительное или отрицательное напряжение относительно искусственной средней точки. Искусственная средняя точка источника питания принята между катодом стабилитрона VI и анодом стабилитрона VI.
Регулирующий орган представляет собой ключевой транзисторный усилитель, включающий входной VT1 и выходной VT2 транзисторы. Нагрузкой выходного транзистора является обмотка возбуждения вспомогательного генератора. При включении входного транзистора выходной транзистор запирается и ток в обмот-

Рис 61 Принципиальная схема регулятора напряжения БРН-ЗГ
ке возбуждения, замыкаясь через диод V8, снижается по экспоненциальному закону. При закрытии входного транзистора открывается выходной, включая ток в обмотке возбуждения.
Если напряжение вспомогательного генератора превышает заданную величину, напряжение обратной связи, снимаемое с движка резистора R3 относительно средней точки источника питания, превышает по модулю значение опорного напряжения, и операционный усилитель AI устанавливается в положение положительного насыщения. При этом регулирующий орган запирается, и ток в обмотке возбуждения вспомогательного генератора снижается. Напряжение вспомогательного генератора начинает падать. При снижении напряжения вспомогательного генератора ниже заданной величины операционный усилитель AI переходит в режим отрицательного насыщения, и регулирующий орган открывается, включая ток в обмотке возбуждения. Это вызывает увеличение возбуждения вспомогательного генератора, и процесс регулирования повторяется.
Для компенсации статической ошибки регулирования в схему регулятора введен интегральный канал, включающий аналоговый интегратор на операционном усилителе А2, резисторы R8, R9, RIO, конденсатор СЗ. Ошибка регулирования, равная разности опорного напряжения и напряжения обратной связи, интегрируется в интегральном канале и в качестве корректирующего сигнала подается на инвертирующий вход операционного усилителя AI. Это повышает точность регулирования напряжения вспомогательного генератора, компенсируя возмущающие воздействия как на вспомогательный генератор, так и на регулятор напряжения.
В регуляторе предусмотрен узел ограничения тока вспомогательного генератора. Этот узел включает операционный усилитель A3, который
работает в режиме компаратора. На входе его сравнивается с опорным сигналом разность напряжений на зажимах вспомогательного генератора и на резисторе заряда батареи, по которому протекает большая часть тока нагрузки вспомогательного генератора (опорный сигнал определяется напряжением стабилизации стабилитрона У2). Если эта разность напряжений, приведенная к входам операционного усилителя АЗ, превышает опорное напряжение, операционный усилитель АЗ переходит в рё"-жим положительного насыщения. Это приводит к запиранию выходного транзистора УТ2 и уменьшению тока возбуждения вспомогательного генератора.
Контрольные вопросы
1. Какие электрические аппараты входят в силовую тяговую цепь и каково их назначение?
2. От какого источника получает питание обмотка независимого возбуждения тягового генератора? Когда включается ее цепь?
3. Каково назначение резистора СВГ и диода ДГЛ?
4. Какие потребители переменного тока получают питание от синхронного подвозбу-дителя?
5. От какого источника получает питание обмотка независимого возбуждения синхронного подвозбудителя? Когда включается ее цепь?
6. Проследите по схеме направление тока в рабочих обмотках амплистата в первую и вторую половины периода напряжения СПВ.
7. От какого источника получает питание задающая обмотка амплистата? Как изменяется ток в этой обмотке в зависимости от позиции контроллера?
8. Каково назначение бесконтактного та-хометрического блока?
9. Проследите по схеме направление тока в рабочих обмотках ТПН и ТПТ.
10. Каково назначение регулировочной обмотки амплистата? Проследите путь тока в ее цепи.
11. Каково назначение размагничивающей обмотки возбудителя? Проследите по схеме направление тока в ее цепи при нормальном и аварийном режимах работы.
12. Каково назначение аварийного переключателя возбуждения АР?
13. Каково назначение регулятора напряжения?
14. Объясните принцип работы бесконтактных регуляторов напряжения БРН-ЗВ и БРН-ЗГ.










