5.4. Питание задающей обмотки амплистата через бесконтактный тахометрический блок
Бесконтактный тахометрический блок (БТ) обеспечивает питание задающей обмотки амплистата током, пропорциональным частоте вращения валов дизель-генераторной установки, и тем самым позволяет осуществить автоматическое управление тяговым генератором по частоте вращения.
Основным узлом БТ (рис. 48) является насыщающийся трансформатор с сердечником из пермаллоя, имеющего прямоугольную петлю гистерезиса. Как известно, у обычного (ненасыщающегося) трансформатора вторичное напряжение пропорционально первичному. В насыщающемся трансформаторе при подаче на первичную обмотку переменного напряжения (рис. 49, а) два раза в течение одного периода достигается насыщение сердечника (рис. 49, б). При изменении магнитного потока в сердечнике во вторичной обмотке будет индуцироваться э.д.с. Еч. При насыщении сердечника (Ф = const) э.д.с. во вторичной обмотке не индуцируется. Таким образом, форма э.д.с во вторичной обмотке будет иметь вид импульсов различной полярности (рис. 49, в). После выпрямления импульсы напряжения будут иметь одинаковый знак (рис. 49, г). Площадь каждого импульса на графике не зависит от частоты первичного напряжения и почти не зависит от значения этого напряжения. Поэтому среднее значение напряжения на выходе насыщающегося тран-

Рнс 48 Принципиальная электрическая схема бесконтактного тахометрического блока БА-420

Рис 49 Диаграммы изменения напряжения в первичной обмотке (о), магнитного потока (б), э д с во вторичной обмотке (в) и вы прямленного напряжения на выходе (г)
сформатора будет зависеть от количества импульсов в единицу времени, т. е от частоты питающего напряжения
Указанное свойство насыщающегося трансформатора иллюстрируется его характеристикой (рис 50), из которой видно, что при
Рис 50 Характеристика насыщающегося трансформатора при разной частоте питаю щего тока
/ — 130 Гц, 2—120 Гц, 3—110 Гц, 4 — 100 Гц
малых значениях первичного напряжения и\ вторичное напряжение Иг растет пропорционально первичному. Затем при насыщении вторичное напряжение остается почти неизменным, зависящим Лишь от частоты питания
На основании этого свойства насыщающегося трансформатора и создан бесконтактный тахометричес-кий блок Синхронный подвозбуди-тель тепловоза получает вращение от вала дизель-генератора Поэтому частота его напряжения пропорциональна частоте вращения вала Если синхронный под возбудитель подключить к первичной обмотке насыщающегося трансформатора 77 (см. рис 48), то вторичное напряжение будет прямо пропорционально частоте питающего напряжения, т е. частоте вращения вала дизель-генератора Вторичное напряжение после выпрямления в выпрямительном мосте В подается на задающую обмотку амплистата (она в данном случае служит нагрузкой /?н) и, таким образом, обеспечивается пропорциональность тока в задающей обмотке частоте вращения вала дизель-генератора или позиции контроллера
В схему БТ входит компенсирующий трансформатор Т2 Он выполнен на тороидальном сердечнике из альсифера, который имеет малую магнитную проницаемость, поэтому трансформатор не является насыщающимся Первичная обмотка этого трансформатора соединена последовательно и согласно с первичной обмоткой насыщающегося трансформатора, и, таким образом, напряжение, приложенное к ней, пропорционально напряжению синхронного подвозбудителя Вторичная обмотка компенсирующего трансформатора включена последовательно и встречно с вторичной обмоткой насыщающегося трансформатора, и ее э д с компенсирует ту часть э д с. вторичной обмотки насыщающегося трансформатора, которая обусловлена влиянием величины первичного


Рис 51. Принципиальная схема питания задающей обмотки амплистата через бесконтактный тахометрический блок тепловозов типа ТЭ10
напряжения на напряжение выхода БТ. Этим достигается независимость напряжения выхода БТ от напряжения синхронного подвозбуди-теля и тем самым увеличивается точность работы БТ
Пульсация выходного напряжения сглаживается фильтром, который состоит из дросселя Др на Ш-образном сердечнике с регулируемым воздушным зазором, электролитического конденсатора С и резистора /?.
Выходной ток БТ подводится к задающей обмотке амплистата через резистор СОЗ Параллельно этому
резистору включены контакты реле управления и отключателей тяговых электродвигателей (рис. 51).
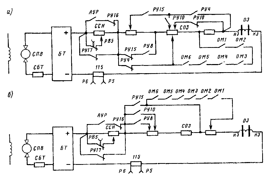
Замыкающим контактом реле РУ8, начиная со 2-й позиции контроллера, шунтируется одна из ступеней резистора СОЗ. Другая ступень шунтируется замыкающим контактом реле РУ10, начиная с 4-й позиции. Эти ступени резистора, уменьшая тої» в задающей обмотке амплистата, обеспечивают плавное трогание тепловоза с места
Третья ступень резистора СОЗ вводится в цепь при выключении какого-либо из отключателей тяговых

Рис 52 Принципиальная схема питания задающей обмотки амплистата через бесконтактный тахометрический блок тепловозов ЗТЭ10М и 2ТЭ10М, выпускавшихся с 1987 г (а), и тепловозов
типа ТЭЮУ (б)
двигателей 0М1—0М6. При этом снижается ток в задающей обмотке амплистата и уменьшается мощность генератора (примерно на 'Д).
На тепловозах ЗТЭ10М и 2ТЭ10М, выпускавшихся в 1987— 1990 гг., в рассматриваемой цепи, кроме контактов, указанных выше, включены контакты реле РУ4, РУ15 (рис. 52, а), что обеспечивает «перелом» тепловозной характеристики на 12-й и 8-й позициях контроллера и общее снижение ее уровня с целью облегчения условий работы дизеля на промежуточных позициях контроллера.
На тепловозах типа ТЭ10У уменьшение мощности генератора на 'Д происходит лишь при работе на 8— 15-й позициях контроллера, когда включен замыкающий контакт реле РУ15 (рис. 52, б).










