49. Отбор мощности от дизеля для привода вспомогательного оборудования
На привод агрегатов и механизмов, обеспечивающих работу дизеля и вспомогательных электрических машин, затрачивается значительная мощность. Для различных серий тепловозов затраты составляют 8—12% эффективной мощности дизеля. Из вспомогательных машин основными потребителями энергии являются вентиляторы охлаждающего устройства (4—6%), компрессор (около 2%), вентиляторы охлаждения электрических машин (2—2,5%). двухмашинный агрегат или стартер-генератор с синхронным возбудителем (около 1,5%).
На тепловозах отбор мощности от дизеля производится, как правило, с обоих концов его коленчатого вала через распределительные редукторы. На тепловозе 2ТЭ10В со стороны генератора получают вращение через передний распределительный редуктор вентилятор охлаждения тяговых электродвигателей передней тележки, тормозной компрессор, двухмашинный агрегат. Ведущий вал распределительного редуктора соединен с валом генератора и валом компрессора пластинчатыми муфтами.
Задний распределительный редуктор тепловоза 2ТЭ10В, связанный с коленчатым валом дизеля промежуточным валом, передает мощность дизеля вентилятору охлаждения тяговых электродвигателей задней тележки, синхронному подвозбудителю генератора через промежуточный редуктор и вентилятору охлаждающего устройства через гидродинамический привод с угловым редуктором.
Распределительные редукторы. Редукторы тепловоза 2ТЭ10В по конструкции аналогичны друг другу и имеют много взаимозаменяемых деталей. Передний и задний редукторы имеют чугунные корпуса, состоящие из двух разъемных картеров. В корпусах выполнены по три поперечных и одной продольной расточки для валов с под шипниками. Над каждой расточкой при литье предусмотрены корытообразные ванночки, куда при разбрызгивании собирается масло для подачи его по каналам к подшипникам валов. Нижние картеры редукторов имеют по три лапы для крепления к раме тепловоза.
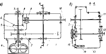
В заднем распределительном редукторе (рис. 161) ведущий вал //, установленный в сферических подшипниках, приводит во вращение через шестерню 2 нижний вал 12 и вал насосного колеса гидромуфты 4. При заполнении гидромуфты маслом вращение от вала насосного колеса передается турбинному валу 5, проходящему внутри ступицы насосного колеса гидромуфты и вращающемуся на двух сферических подшипниках. На среднюю шейку вала 5 напрессована коническая шестерня 6, входящая в зацепление с шестерней 8 вала 10, приводящего во вращение колесо вентилятора охлаждения тяговых двигателей задней тележки. Вал 10 опирается на один роликовый сферический подшипник 9 и один шариковый. На конусный хвостовик вала установлено вентиляторное колесо, а корпус вентилятора прифланцован к редуктору. На конце вала 5 турбинного колеса с помощью шлицевой втулки 7 укреплен шестеренный насос фильтра центробежной очистки масла дизеля.
Гидромуфта редуктора состоит из насосного колеса 4, чаши (колокола) и турбинного колеса, отлитых из алюминия. Внутренние полости насосного и турбинного колес при совмещении представляют собой тор поперечное сечение которого является кругом циркуляции масла, поступающего в колокол из масляной системы дизеля через штуцер и центральное отверстие в насосном колесе с радиальными каналами. При заполнении муфты маслом насосное колесо с лопатками, располо-
1 Тор — геометрическое гело, образуемое вращением круга вокруг прямой, лежащей в плоскости этого круга, но не пересекающей его. Например, форму тора имеет спасательный круг.
дизеля для привода вспомогательного оборудования" width="408" height="208">Рис. 161. Схемы заднего распределительного редуктора тепловоза 2ТЭ10В:
а — в горизонтальной плоскости; б — в вертикальной плоскости: 1 — картер; 2, 3, 6, 8, 13 — шестерни; 4 — гидромуфта; 5 — вал турбинного колеса гидромуфты; 7 — шлицевая втулка привода насоса центробежного очистителя масла: 9 — сферический роликовый подшипник; 10 — вал вентилятора; 11 — ве дущий вал; 12 — нижний вал; 14 — фильтр; 15 — насосженными под углом 45° к торцовой его поверхности, отбрасывает масло на такие же лопатки турбинного колеса, заставляя его вращаться. При работе муфты масло нагревается, поэтому в колоколе имеются два отверстия диаметром 1,4 мм, через которые горячее масло сливается в поддон редуктора, освобождая место для свежего ненагретого масла.
Цилиндрические шестерни редуктора имеют при вращении большие окружные скорости, поэтому выполнены косозубыми с высокой степенью точности зубчатого зацепления. Изготовлены они из стали 20Х. Зубья имеют эвольвентный профиль, цементированы и закалены. После закалки боковые поверхности зубьев шлифуют, обеспечивая высокие степени точности и шероховатости.
Чтобы уменьшить потери на трение и предотвратить преждевременный износ рабочих поверхностей шестерен и подшипников, редукторы имеют систему смазки. Масло подводится от масляной системы дизеля к трубопроводу, расположенному внутри корпуса редуктора, и струями подается на зубья шестерен. Стекая, масло задерживается в ванночках над подшипниками и по отверстиям подводится к подшипникам. Зубья шестерен смазываются разбрызгиванием. Скопившееся в картере масло лопастным насосом 15 подается через сетчатый фильтр
14 обратно в систему дизеля. Лопастной насос прифланцован к редуктору и приводится во вращение от нижнего вала 12.
В последние годы на тепловозах типа ТЭ10М внедрена в серийное производство более простая и надежная конструкция распределительных редукторов. Изменению подверглись подшипниковые узлы промежуточных валов обоих редукторов и нижнего вала заднего редуктора. В усовершенствованных опорах шарикоподшипники 2 (рис. 162) разгружены от радиальных сил благодаря их монтажу в гнезде с радиальным зазором. Радиальную нагрузку несут роликовые подшипники /, дополнительно установленные в опорах. Это позволило повысить долговечность наиболее нагруженных подшипниковых опор валов редуктора. Такой переделке подверглись и опоры валов распределительных редукторов тепловоза 2ТЭ10В.
Существенное упрощение конструкции получено благодаря исключению гидромуфты постоянного заполнения вместе с полым валом. Гидромуфта предназначалась в прежней конструкции для защиты лопаток центробежного колеса вентилятора от динамических нагрузок. В новой конструкции защита лопаток осуществляется благодаря встроенной в ступицу вентилятора упругой муфте 5 с резиновыми
дизеля для привода вспомогательного оборудования" width="444" height="523">Рис. 162. Распределительный редуктор упрощенного варианта:
/ роликовый подшипник; 2 — шариковый подшипник; 3 — фланец вала вентилятора охлаждения тяговых двигателей; 4 —- наборный диск; 5 — упругая муфта; 6 — нижний ведомый вал; 7 — штифт; 8 — втулка; 9 — вал ротора насосавтулками и наборному из отдельных колец несущему диску 4.
В элементах привода лопастного насоса также сделаны изменения, целью которых является снижение динамических нагрузок в приводе. В прежней конструкции привода с втулкой, которая жестко запрессовывается в вал, при небольших отклонениях в размерах деталей возникали динамические нагрузки. По новой схеме насос получает вращение от нижнего ведомого вала 6 через штифт 7,
запрессованный в вал точно по оси, втулку 8 с квадратным отверстием, в которое входит квадратный хвостовик вала 9 ротора насоса. С противоположной стороны втулка имеет продольный фрезерованный паз, охватывающий штифт. Такая конструкция привода компенсирует неточности изготовления деталей, исключает нагрузки на подшипники и обеспечивает полную взаимозаменяемость насосов.
Соединительные валы и муфты. На тепловозах типа ТЭ10М для соедине-
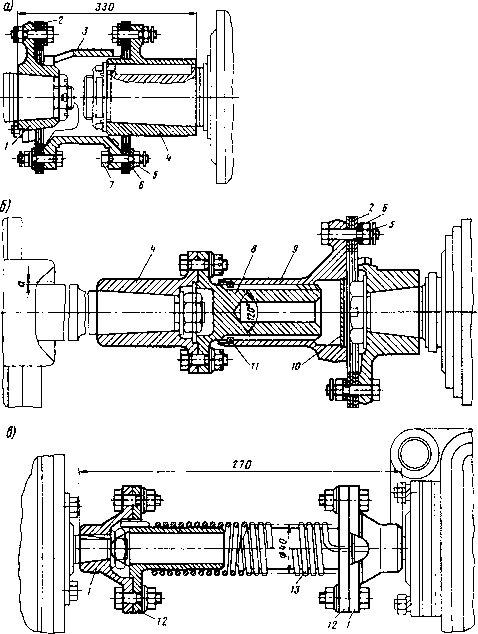
Рис. 163. Соединительные валы и муфты:
а - пластинчатая муфта; б — соединительный валопровод от дизеля к заднему распределительному редуктору тепловоза 2ТЭ10В; в — приводной валопровод подвозбудителя; I. ■*, 8, 9. 12 —■ фланцы. 2 — муфта из пластин; 3 траверса; 5 - обжимная гайка; 6 — сферическая шайба: 7 - болт; 10 — заглушка; // — уплотнительное кольцо; 13 -пружина
дизеля для привода вспомогательного оборудования" width="478" height="634">ния вала дизеля с передним распределительным редуктором применена двойная пластинчатая муфта (рис 163, а). Она состоит из стальной литой траверсы 3, имеющей по концам по три лапы, к которым крепятся пластинчатые муфты 2, набранные из стальных дисков (по 22 шт.) толщиной 0,5 мм. Одна муфта присоединена болтами 7 со сферическими шайбамив к лапам фланцев редуктора, смещенным на 60° относительно лап траверсы, другая — к лапам фланца генератора. Фланцы 1, 4 редуктора и вала генератора посажены на конусные хвостовики валов прессовой посадкой. Сферические шайбы 6, подкладывае-мые под гайки 5, позволяют изгибаться дискам муфты при неточном центрировании сопрягаемых валов. Пла стинчатые муфты за счет упругой деформации стальных дисков обеспечивают относительный поворот соединяемых валов при их несоосности. Такая же муфта применяется для соединения вала редуктора с валом компрессора.
Задний распределительный редуктор соединен с валом дизеля пластинчатой муфтой 2 и промежуточным валом (рис. 163, б). Промежуточный вал в сборе представляет собой два фланца 8, 9, из которых один имеет шли-цевой хвостовик, а другой — шлице-вую втулку. Шлицы выполнены с эвольвентным профилем. В конце шли-цевой втулки на внутренней ее поверхности сделана проточка, в которую устанавливается резиновое уплотнитель-ное кольцо //, задерживающее консистентную смазку, закладываемую при сборке между шлицами. В эксплуатации смазка добавляется через коническое отверстие с резьбой во фланце вала. Фланцы промежуточного вала соединены болтами — один непосредственно с фланцем 4 вала дизеля, а другой через пластинчатую муфту с фланцем 1 вала редуктора. Фланцы насаживаются на хвостовики валов в горячем состоянии. Такой же валопро-вод соединяет дизель с редуктором гидронасосов на тепловозе ТЭП70.
Вал привода подвозбудителя, который получает вращение от промежуточного редуктора, состоит из двух фланцев 12 (рис. 163, в) с трубчатыми хвостовиками, на которые навита стальная проволока диаметром 6 мм, образующая спиральную пружину 13. Пружина концами закреплена во фланцах 12. Фланцы / валов редуктора и подвозбудителя надеты на их-конусные хвостовики в горячем состоянии. В пружинном приводе исключены быстроизнашивающиеся упругие резиновые элементы, применяемые ранее.
На тепловозе ТЭМ2 для привода двухмашинного агрегата и вентилятора охлаждения тяговых электродвигателей применяется клиноременная передача. Двухмашинный агрегат и вентилятор охлаждения двигателей передней тележки приводятся от шкива с девятью клиновыми пазами, наса женного на вал генератора. Валопро-вод привода двухмашинного агрегата представляет собой стальной вал, на один конец которого насажен фланец, соединяющийся пластинчатой муфтой с фланцем вала агрегата, а на втором на шпонке укреплен шкив с шестью клиновыми канавками. Конец вала со стороны шкива опирается на опору через сферический подшипник, воспринимающий усилие от натяжения ремней.










