42. Масляные системы
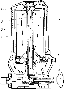
Масляная система служит для создания необходимого давления и подвода масла к трущимся деталям, отвода тепла от них, а также для удаления продуктов износа и частиц нагара, попадающих между трущимися поверхностями. Масляная система состоит из внутренней и внешней. Внутренние системы смазки дизелей представляют собой совокупность каналов и трубок в деталях, обеспечивающих подвод масла ко всем механизмам деталей. Системы подвода масла к деталям у всех дизелей принципиально одинаковы. Из внутренней системы, например, дизеля ПД1М (рис. 129) насос 3 забирает масло по маслоотводящей трубе / из поддона дизеля и подает его во внешнюю систему.
Внешние системы обеспечивают циркуляцию, очистку и охлаждение масла, забираемого из поддона дизеля и подводимого к его масляному кол лектору. Внешняя масляная система содержит насосы, охладители масла, фильтры, контрольные и защитные приборы. Пройдя внешнюю систему, охлажденное и очищенное масло поступает в масляный коллектор 5 дизеля, из которого оно по каналам 2 подается к коренным и шатунным подшипникам коленчатого вала. От шатунных шеек коленчатого вала масло подается по каналам 8 в шатунах на охлаждение поршней и смазывание трущихся деталей цилиндропоршневой группы. Для смазывания подшипников распределительного вала масло от коллектора подводится к трубкам 7. К рычагам толкателей масло подается по трубкам 9 и далее по каналам 15 и 14 в рычагах и штангах толкателей — на смазывание рычагов механизма газораспределения. От масляного коллектора масло поступает также к шестерням привода распределительного вала (по трубке 13) и к подшипникам турбокомпрессора (по трубкам 10, 11). После смазывания деталей и сборочных единиц дизеля масло сливается в поддон дизеля 17 (маслосборник).
Внешние масляные системы дизелей 10Д100, 5Д49 и ПД1М различаются числом масляных насосов, расположением трубопроводов и фильтров, типом охладителей масла и способами соединения отдельных элементов системы.
Тепловоз 2ТЭ10В. В системе (рис. 130) установлен один масляный насос /, обеспечивающий циркуляцию масла под давлением в основном контуре, включающем масляную ванну в картере дизеля, трубопровод, охладитель масла (водомасляный теплообменник) 10, фильтр грубой очистки 13 и масляные коллекторы дизеля с его внутренней системой. Помимо основного контура, масляная система имеет ряд дополнительных контуров: два независимых друг от друга контура тонкой очистки масла, контур прокачивания масла перед пуском дизеля, а также контур смазывания редукторов.
После масляного насоса / около 5—6% масла направляется к бумажным фильтрам тонкой очистки 12, откуда сливается снова в картер дизе-

Рис. 129. Схема масляной внутренней системы дизеля ПД1М:
/ — маслоотводнщий канал; 2 - канал в коленчатом валу для прохода масла к шатунным подшипникам; 3 — масляный насос; 4 —- фильтра грубой очистки масла; 5 — масляный коллектор; 6 — трубка подвода масла к коренному подшипнику; 7 — трубка подвода масла к подшипнику распределительного вала; 8 — канал в шатуне; 9 — трубка подвода масла к рычагам толкателя. 10 — подвод масла к фильтру турбокомпрессора; // — подвод масла к подшипникам турбокомпрессора; 12 — слив масла с турбокомпрессора; 13 — подвод масла к распределительным шестерням; 14 — подвод масла к рычагам клапанов механизма газораспределения; 15 — подвод масла к рычагам толкателей; 16 подвод масла к приводу масляного насоса; 17 — маслосборник

Рис. 130 Схема масляной системы тепловоза 2ТЭ10В:
/ — главный масляный насос; 2 — центробежный очиститель масла; 3 — вентиль для заправки масляной системы дизеля; 4 — вентиль для слива масла из системы, 5 — передний распределительный редуктор; 6 — маслопрокачивающнй насос; 7 — невозвратный клапан. * — термореле'; 9 — щит приборов; 10 — водо-мвсляный теплообменник. 11—гидропривод вентилятора холодильника. 12 — фильтр тонкой очистки масла: 13 — фильтр грубой очистки масла. 14 — задний распределительный редукторля. Так как часовая подача насоса раз в 70 превышает объем масла в дизеле, то такой доли масла, направляемой в фильтры тонкой очистки, вполне достаточно для его очистки. Кроме того, второй контур очистки — контур центробежной очистки — обеспечивает очистку еще 10% объема масла. Контур центробежной очистки включает дополнительный масляный насос, установленный в картере дизеля, и центробежный очиститель масла, после которого масло стекает обратно в картер дизеля. В картере установлен предохранительный клапан, который при достижении в картере давления масла 0,8—1,02 МПа перепускает часть масла в основной контур.
Маслопрокачивающнй шестеренный насос 6, соединенный с электродвигателем, служит для прокачки масла в системе перед пуском дизеля для надежной подачи масла к его трущимся деталям, чтобы устранить задиры и уменьшить затраты мощности при пуске. Масло забирается насосом из картера дизеля и через невозвратный клапан 7 подается в фильтр грубойочистки, откуда поступает в масляные коллекторы дизеля и далее во внутреннюю систему. Время прокачки масла 1,5 мин определяется настройкой реле времени. Для смазывания подшипников редукторов масло поступает после фильтра тонкой очистки 12 через предохранительный клапан, отрегулированный на давление 0,07— 0,08 МПа.
В масляной системе дизеля установлены устройства автоматической защиты и приборы контроля. Защита дизеля от работы без масла или с пониженным его давлением осуществляется двумя реле давления. При падении давления масла в конце верхнего коллектора ниже 0,05—0,06 МПа происходит остановка дизеля в результате воздействия реле давления на цепь питания электромагнита золотника остановки регулятора; при падении давления ниже 0,11 МПа происходит сброс нагрузки в результате воздействия другого реле давления на цепь возбуждения генератора.
Температура масла контролируется термореле 8, которое устанавливается

Рис 131 Счема масляной системы тепловоза ТЭП70: 1 — охладитель масла, 2 — левый масляный насос; 3 — фильтры грубой очистки масла; 4 — маслозабор-ник, 5 — колпачок заглушка, 6 - насос маслопрокачивающий; 7 — фильтры тонкой очистки масла; В — опора для терморегулятора; 9 грибки для термореле; 10 — грибки под реле давления; /7 — манометр до фильтра тонкой очистки; 12 - манометр после фильтра тонкой очистки; 13 — манометр после фильтра грубой очистки, 14 — манометр до фильтра грубой очистки; 15 — трубопровод гибкий; 16 — клапан невозаратиый, /7 — правый масляный насос, 18 — кран для слива масла из воздушного коллектора (в кружках указан,,! номера бирок расположенных на вентилях)
на выходе масла из дизеля Реле срабатывает при температуре масла 85 °С и снимает нагрузку с дизеля.
Тепловоз ТЭП70. Масляная система (рнс. 131) содержит два масляных насоса 2, 17, расположенных на переднем торце дизеля; два масляных охладителя /; два фильтра грубой очистки 3, два полнопоточных фильтра тонкой очистки 7, маслопрокачивающий насос 6, трубопроводы, вентили и невозвратный клапан 16.
Масло из поддизельной рамы через специальное устройство 4 поступает во всасывающую полость правого масляного насоса 17, проходит фильтр грубой очистки 3 и поступает по трубопроводу а к полнопоточным фильтрам тонкой очистки 7, из которых по трубопроводу б в правый охладитель /. Пройдя последовательно оба охладителя, масло поступает в полость левого насоса 2 и оттуда под давлением в левый фильтр грубой очистки 3 и затем во внутреннюю систему смазки дизеля Установка дополнительного фильтра грубой очистки 3 после ле вого насоса 2 вызвана тем, что при загрязнении фильтров тонкой очистки и росте их сопротивления часть масла может обходить фильтр через перепускной клапан, встроенный в фильтр. Часть масла после охладителей / поступает к двум центробежным очистителям, из которых после очистки сливается непосредственно в масляную ванну дизеля.
Маслопрокачивающий насос 6 шестеренного типа с приводом от электродвигателя типа П42М с момента включения двигателя в течение 60 с должен создать давление не менее 0,02 МП а в самой отдаленной от него точке системы. После пуска дизеля и прекращения работы маслопрокачи-вающего насоса шарик невозвратного (обратного) клапана 16 садится в свое седло, отсоединяя тем самым трубопровод в от основного трубопровода. После остановки дизеля маслопрокачивающий насос 6 автоматически включается и прокачивает систему в течение 60 с.

Рис. 132. Схема масляной системы тепловоза ТЭМ2:
/ - пробка для слива масла; 2 - масляные секции; з — пробка для выпуска воздуха; 4 — термореле; 5— вентиль; в обратный клапан; 7 - масляные фильтры тонкой очистки; 8 — невозвратный клапан; 9 - краны; 10 маслоподкачивающий насос; 11 — электротермометр; 12 плектроманометр; 13 — заглушка: 14 пробка для спуска масла и* корпуса щелевых фильтров; 15 --- прорезиненные шланги; 16 -обратный клапан: 17 клапан регулирующий: 18 — клапан перепускной (байпасный): а. б. в. г — тру^
бопроводы
На трубопроводе а перед фильтром тонкой очистки 7 на опоре 8 устанавливается терморегулятор в зависимости от температуры масла, изменяющий его расход в обход гидродвнгате-ля вентилятора охлаждающего устройства. Тем самым обеспечивается необходимая частота вращения вентилятора для поддержания заданной температуры масла, поступающего в дизель.
Манометры 13, 14, установленные до и после фильтров грубой очистки 3, позволяют контролировать по их показаниям гидравлическое сопротивление фильтров. Этой же цели служат и манометры И, 12, установленные до н после фильтров тонкой очистки. Если перепад давлений по манометрам превышает 0,15 МПа, это будет свидетельствовать о загрязнении фильтров. Фильтры в данном случае заменяют.
Заправку системы дизелей маслом производят через сливные трубопроводы с вентилями 54 с любой стороны тепловоза нли через заливочную горловину поддизельной рамы. После заправки системы открывают краны на охладителях / и фильтрах грубой очистки 3 н включают маслопрокачивающнй насос 6. При появлении масла в кранах их закрывают.
Тепловоз ТЭМ2. Запас масла на тепловозе (378 л) находится в системеи в маслосборнике картера дизеля. Масло заливают через горловину центробежного очистителя масла. Циркуляция масла по замкнутой системе обеспечивается главным масляным насосом 3 (см. рис. 129), который забирает масло из маслосборника 17 и подает его по трубе а (рис. 132) к верхнему коллектору секций масловоз-душных радиаторов 2. Из нижнего коллектора радиаторов основная часть масла по трубе б поступает в пластинчато-щелевые фильтры (грубой очистки) 4 (см. рис. 129), а из них — в трубу 5 (масляный коллектор), идущую внутри картера. Часть масла, примерно 15—20%, нз радиатора 2 (см. рис. 132) поступает в сетча-то-набивные фильтры 7 (тонкой очистки), откуда по трубе в сливается в маслосборник картера.
Перед пуском дизеля масло забирается из картера маслопрокачиваю-щим насосом 10 и по нагнетательной трубе г подается к трущимся деталям дизеля. Невозвратный клапан 8 не пропускает масло в маслопрокачиваю-щий насос 10 во время работы дизеля. Через кран 9(7) выпускается воздух при прокачивании масла перед пуском дизеля. Байпасный клапан /8 перепускает масло из подводящего трубопровода о в отводящий б, минуя секции охлаждающего устройства, если разница между давлениями в этих трубахбудет больше 0,165 МПа. Таком перепад давлений возможен при повышении вязкости масла, когда понижается температура или загрязнены секции охлаждающего устройства. Разгрузочный обратный клапан 6 выполняет две функции: пропускает некоторое количество масла через фильтры 7, если давление его выше 0,255 МПа, кроме того, клапан 6 не позволяет стекать загрязненному маслу нз фильтров в картер после остановки дизеля. При повышении давления в трубе б свыше 0,295 МПа масло через регулирующий клапан 17 сливается в картер, минуя все фильтры. Вентиль 5(3) используют, когда масло холодное и его не следует пропускать через секции охлаждающего устройства.
Для отключения масляных секций на поддонах и отводящих трубах установлены вентили 5(1) и 5(2). Для выпуска воздуха из секций охлаждающего устройства холодильника 2 служит пробка 3. В случае необходимости масло нз картера сливается по трубе, на которой установлен вентиль 5(5). На конец этой трубы дополнительно навернута заглушка. Масло из масляной системы сливают через вентиль 5(4). Трубопроводы, идущие от масляного насоса к секциям холодильника и от секции к пластинчато-щелевым фильтрам, соединены гибкими шлангами.
Элементы масляных систем. Главные масляные насосы. Насосы дизелей обеспечивают циркуляцию масла в системе. Все масляные насосы, применяемые на тепловозах, шестеренного типа и различаются только конструктивными формами, размерами и подачей. Основными элементами насосов являются косозубые шестерни, выполненные заодно со своими валами.
Главный масляный насос дизеля 10Д100 (рис. 133) имеет чугунный корпус / с двумя патрубками, один из которых А присоединен к дизельной раме, а второй Б—к нагнетательной трубе системы. В цилиндрических расточках корпуса установлены ведущая 5 и ведомая 10 стальные шестерни. Цапфы шестерен вращаются в радиально-сферических подшипниках, запрессо ванных в расточки плит 2 и 9, которые изютовлены из антифрикционного чугуна Плиты играют роль осевых упоров косозубых шестерен Для уменьшения осевых усилий на наружную плиту 2 на конце правой цапфы шестерни 5 смонтирован масляный демпфер (амортизатор), представляющий собой поршень 7, находящийся в расточке крышки 6 Пространство между поршнем и крышкой соединено каналом с нагнетательной полостью Усилие, соответствующее давлению нагнетания, передается через шарикоподшипник на торец цапфы шестерни, компенсируя осевое усилие от шестерни на плиту 9 Давление масла, создаваемое насосом, ограничивается предохранительным клапаном 4, состоящим из корпуса и поршня, прижатого к седлу двумя пружинами Клапан отрегулирован на открытие при давле нии масла 0,55 МПа При превышении ітого давления масло из насоса будет сливаться обратно в картер Насос получает вращение от коленчатого вала через шестеренную передачу и зубча тую муфту, закрепленную на шлицах вала шестерик 5 Подача насоса — 120 м^/ч
Масляные насосы дизеля 2А-5Д49 в отличие от насосов дизеля ЮДЮОне имеют подшипников качения (До

Рис. 133. Схема работы (и) и устройство (''I масляного насоса:
/ корпус: 1} внутренняя плита; .І приводна» ип-сіерпя. 4 предохранительный клапан: > - шестерня ведущая: ^ - крышка; 7 - устройство |>а и ру тчное (демпфер): £ — подшипники: 9 наружная плита: (0 шестерня ведомая; 1 - по лисп, чеясываюшай: в - полость нагт-тательнан

Рис. 134. Масляный насос дизеля ПД1М и его привод: / — вал горизон гальный: 2, 5 — шестерни конические; 3 поводок привода; 4 болт стяжной; Ь корпус привода: 7 - вал вертикальный: Н - крышка насоса: 9 корпус масляного насоса; 10. 12 — шестерни; 11 — бронзовая втулка; 13 — клапан редукционный; 14 — муфта шлицевая; и — всасывающийпатрубок; 6 — нагнетательный патрубок
1980 г. выпускались масляные насосы МШ-120 с двухрядными радиально-сферическими Подшипниками. В связи с недостаточной долговечностью этих подшипников насосы сняты с производства.)
Опорами для ведущей шестерни, приводимой во вращение шлицевым валиком, являются бронзовые втулки, запрессованные в крышки насоса. Ведомая шестерня вращается на неподвижной оси. Подшипниками шестерни служат бронзовые втулки, запрессованные в ее расточки. При вращении рабочие шестерни захватывают масло всасывающей полостью и переносят его между зубьями и цилиндрической поверхностью корпуса в нагнетатель ную полость. Давление^ создаваемое насосом, определяется сопротивлением системы Для ограничения максимального давления нагнетательная полость снабжена перепускным клапаном, прикрепленным к торцу насоса и отрегулированным на давление 0,9 МПа Подача насоса 110 м3/ч при давлении нагнетания 0,7 МПа и температуре масла 65—82 °С
Масляный насос дизеля ПД1М и его привод (рис. 134) прикреплены к торцовой части картера и блока дизеля со стороны первого цилиндра. Насос шестеренного типа, максимальная подача 24 м3/ч. В корпусе масляного насоса 9 размещены две цилиндрические шестерни 10 и 12, закрываемыекрышкой 8. Цапфы шестерен вращаются в бронзовых втулках, запрессованных в чугунный корпус 9 и крышку 8. Для предохранения от проворачивания каждая из втулок имеет тугую посадку и дополнительно застопорена винтами.
Шестерни 10 и 12 изготовлены из стали 12ХН2А, цементированы н закалены. Шестерни имеют по одиннадцать косых зубьев. За одно целое с шестернями изготовлены цапфы. Цапфа ведущей шестерни удлинена, ее удлиненный конец снабжен шлицами для соединения с муфтой 14. В нижней части корпуса масляного насоса отлит канал, соединяющий всасывающую и нагнетательную полости. При перетекании из полости в полость масло проходит через перепускной клапан 13, прижатый к седлу пружиной, и открывающийся при давлении 0,53 МПа. Фланцем всасывающего патрубка а насос прикреплен к масляному каналу в картере дизеля, а нагнетательным патрубком б — к трубе, по которой масло поступает к секциям охлаждающего устройства.
Привод масляного насоса имеет чугунный корпус 6, внутри которого размещены горизонтальный / и вертикальный 7 валы. На горизонтальный вал / напрессована коническая шестерня 2 со спиральными зубьями; ступица этой шестерни опирается на бронзовую втулку, запрессованную вкрышку корпуса. Второй конец вала опирается также на бронзовую втулку (подшипник), залитую баббитом по внутренней цилиндрической и торцовой поверхностям.
На конусную часть горизонтального вала / напрессован шкив привода вентиляторов охлаждающего устройства и тяговых электродвигателей. На валу со стороны конической шестерни укреплен стяжным болтом 4 на шпонке поводок 3, изготовленный из стали 20Х2Н2А. На поводке выфрезерована головка, имеющая закаленные боковые поверхности. Головка входит между кулачками валоповоротного диска на коленчатом валу. Вращение коленчатого вала таким образом передается горизонтальному валу привода масляного насоса. Вертикальный вал 7 н коническая шестерня 5 представляют собой одно целое. Вал 7 вращается в бронзовой втулке //, запрессованной в корпусе 6. Нижний конец вала 7 шлице-вой муфтой соединен с цапфой ведущей шестерни 10 масляного насоса.
Маслопрокачивающие насосы принципиально имеют такую же конструкцию, как и главные. Их корпуса крепятся либо к фланцу электродвигателя, либо закреплены на общей плите с электродвигателем. Шестерни вращаются в бронзовых втулках. Насосы имеют небольшую подачу.
Фильтры. Для грубой очистки масла на тепловозах обычно применяют

Рис. 135. Фильтры грубой очистки масла (пластинчато-щелевые): а — фильтрующий элемент; б — установка фильтрующих элементов в корпусе фильтра дизеля 10Д100; I — рукоятка: 2 — ось; 3 — корпус; 4 — фильтрующий пакет пластин: .5 — рабочая пластина: 6 — промежуточная пластина; 7 — неподвижные ножи для очистки; 9 — корпус фильтра; а — полость неочищенного масла: б — полость очищенного масла

Рис. 136. Фильтр грубой очистки масла дизеля 5Д49:
а — конструкция фильтра; б — устройство сетчатого элемента; / — дисковый сетчатый элемент; 2 --стержень: 3 — колпак: 4 — уплотнение; 5 — корпус: 6' - вентиль: 7 — гофрированная диаграмма; 1, 10 - внешняя и внутренняя сетки: 9. II - - наружный и внутренний ободки

пластинчато-щелевые фильтры. Секция фильтра (рнс. 135, б) представляет собой корпус 3, к которому прн помощи трех стоек, ввернутых в торец корпуса, прикреплен фильтрующий элемент, набранный из пластин 5 толщиной 0,3 мм, между которыми помещены звездообразные промежуточные пластины 6 толщиной 0,15 мм. Пластины 6, имея меньший диаметр, создают между соседними пластинами 5 зазор (щели) высотой 0,15 мм. Масло, проходя через эти щелн, очищается от грубых посторонних частиц. Для очистки пластин служат ножи 7 толщиной 0,1 мм, смонтированные на стойке 8 квадратного сечения. Прн повороте рукоятки / вращается ось 2 вместе с пластинами 5 и 6 и с них ножами 7 снимаются посторонние частицы, которые скапливаются на дне камеры, куда помещены фильтры.
На дизеле 10Д100 корпус фильтров 9 (см. рис. 135л б) имеет десять гнезд для фильтровальных секций (два ряда по пять штук в каждом). Неочищенное масло поступает через отверстие в корпусе 9 в нижнюю полость а, разделенную перегородками. Пройдя между пластинами фильтрующих элементов, очищенное масло поднимается в верхнюю полость б и поступает в нагнетательный трубопровод дизеля.
На дизеле ПД1М пластинчато-щелевой фильтр состоит из двух аналогичных секций, расположенных с правой стороны дизеля горизонтально (см. рис. 129, поз. 4).
На дизелях типа 5Д49 применяются сетчатые дисковые фильтры (рис. 136). Секция фильтра представляет набор сетчатых дисковых элементов /, установленных на центральном трехгранном стержне 2. Масло, поступив снаружи элементов, поднимается очищенным вдоль стержня 2. Сетчатый элемент (рис. 136, б) состоит из гофрированной диафрагмы 7 с отверстиями для прохода масла, двух двойных сеток: внешней 8 (фильтрующей) и внутренней 10 (более редкой несущей), завальцованных во внутренние //и наружные 9 ободки. Такие фильтры обладают большой поверхностью очистки на единицу объема.

Рис. 138. Фильтр масла полнопоточный (дизель 5Д49):
/ — основание корпуса; 2 - стакан: 3 ~- унлотнительное кольцо; 4 - опора: 5 корпус; 6 — фильтрующий элемент; 7 перепускной клапан; 8 — пружина; 9 — труба
Для тонкой очистки масла на дизелях типа Д100 применяют фильтры с бумажными элементами (рис. 137). В цилиндрическом корпусе 2 с двойным дном установлено на пустотелых стержнях семь фильтрующих секций. На каждом стержне надето по четыре бумажных элемента /. Бумажный элемент— это картонная полоса с отверстиями. На эту полосу сверху и снизу наложены две ленты фильтровальной бумаги, свернутые гармошкой. Края бумаги смазаны клеем н при сворачивании полосы спирально на трубку с калиброванными отверстиями они склеиваются. Масло в фильтр подводится через отверстие а и, пройдя с торцев в фильтровальные элементы, попадает через отверстия внутрь стержней 5, а из них по отверстиям в штуцерах (внизу) — в полость б очищенного масла и по трубе в отводится в подднзельную раму. Перепускной клапан 4 служит для предохраненияфильтрующих элементов от чрезмерного давления масла.
На дизелях типа 5Д49 применяется полнопоточный фильтр (рис. 138), в котором установлены фильтрующие элементы из синтетических (нетканых) материалов типа «Нарва 6». Фильтр выполнен по типу топливного фильтра тонкой очистки. Фильтрующий слой из синтетического материала менее плотен, чем фильтровальная бумага, и фильтр обладает меньшим сопротивлением. Эти фильтры позволяют пропускать через себя полный поток масла (полнопоточные фнльтрып.
Фильтры тонкой очистки масла дизеля ПД1М сетчато-набивные. У этих фильтров пространство между сетками набивают хлопчатобумажными концами (путанкой). С 1975 г. на тепловозах ТЭМ2 вместо сетчато-набивных фильтров устанавливают фильтры тонкой очистки с бумажными элементами. Принцип работы и элементы фильтра,

Рис. 139. Центробежный очиститель масладизелей типа 5Д49: / — колпак; 2 — ротор; 3 — полая ось; 4 — втулка; 5 — прокладка бумажная; 6 — сопло; 7 — кронштейн; 8 — запорно-регулирующий клапанза исключением фильтрующих элементов, остались без изменения.
Центробежные очистители масла. Рассмотренные средства очистки масла от загрязнений задерживают частицы, превышающие размеры пор ячеек фильтровальных элементов. Уменьшение ячеек фильтров с тем, чтобы уловить самые мельчайшие механические частицы — продукты износа подшипников, колец и т. п. — невозможно, так как в этом случае гидравлическое сопротивление фильтра оказалось бы огромным. Поэтому для отделения таких частиц от масла используется центробежный способ его очистки, при котором масло, попадая в цилиндр, вращающийся с очень большой частотой, отбрасывается на его стенки под действием центробежной силы. Так как плотность металлических частица несколько раз больше плотности масла, а центробежные силы в тысячи раз превышают силы тяжести частиц, то взвешенные в масле эти частицы при вращении цилиндра остаются на его поверхности, образуя плотный слой. Центробежные очистители масла дизелей 10Д100, 5Д49 и ПД1М принци пиально устроены и работают одинаково. Масло от специального шестеренного насоса подается под давлением к полой оси 3 (рис. 139) ротора 2, закрепленной в корпусе (кронштейне) 7 центрифуги. Выходя из отверстия в оси, масло перемещается в роторе, установленном на подшипниках оси, и подходит к сопловым наконечникам 6 ротора. Вытекая из сопел, масло развивает реактивную силу, заставляющую ротор вращаться. Масло, перемещающееся по ротору под действием центробежной силы, будет «сепарироваться», т. е. очищаться от посторонних частиц. Чистое масло стекает по каналам в корпусе обратно в картер.










