Индикаторные диаграммы рабочего процесса четырех и двухтактных дизелей
дизелей" width="223" height="267">
Рис. 21. Индикаторная диаграмма четырехтактного дизеля с газотурбинным наддувом:
ра — давление в период наполнения; рг давление в цилиндре в период выпуска; рк - давление воздуха в наддувочном коллекторе; V объем камеры сжатия; объем, описываемый поршнем, \'л — полный объем цилиндра газов. Ход расширения является полезным рабочим ходом, так как в этот период газы с большим давлением действуют на поршень дизеля в направлении его движения и совершают полезную работу, отдавая ее нагрузочному агрегату.
Четвертый такт — выпуск газов.
дизелей" width="256" height="241">
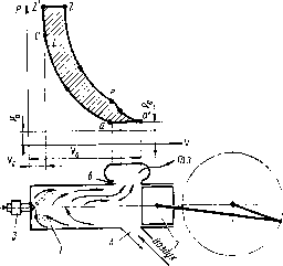
Рис. 22. Диаграмма рабочего цикла двухтактного дизеля и схема его устройства:
А — продувочное окно; Б - выпускное окно. / — цилиндр; 1 — поршень; 3 — форсункапускной клапан 5 открыт и газы выталкиваются из цилиндра. Процесс выпуска газов на диаграмме изображен линией e'er. Удаление газов происходит при давлении 0,11—0,12 МПа, поэтому линия выпуска газов располагается выше атмосферной линии. Температура газов за выпускным клапаном равна 700—900 К-
Для более совершенной продувки и зарядки цилиндра воздухом впускной и выпускной клапаны на протяжении 50—100° поворота кривошипа коленчатого вала открыты одновременно. Это так называемое «перекрытие» клапанов обеспечивает хорошую очистку цилиндров от продуктов сгорания топлива и более полное заполнение рабочего объема воздухом, а также охлаждение днища поршня и выпускных клапанов потоком холодного воздуха. Качество очистки цилиндра от отработавших газов оценивается коэффициентом остаточных газов у, который представляет собой отношение количества оставшихся в цилиндре от предыдущего цикла газов к величине поступившего в цилиндр свежего воздушного заряда. Обычно у — = 0,02ч-0,1.
Особенности рабочего цикла четырехтактного дизеля с газотурбинным наддувом. В дизелях с наддувом процесс зарядки цилиндра происходит иначе, чем у двигателей без наддува. Турбокомпрессор засасывает воздух из атмосферы при давлении р0 (рис. 21) и сжимает до давления рк. Сжатый в турбокомпрессоре воздух прежде, чем попасть в цилиндр, проходит через охладитель, впускной коллектор и выпускные клапаны; на пути от турбокомпрессора до цилиндра его давление снижается от рк до ра. Поэтому линия давления впуска расположена ниже линии рк и выше атмосферной линии (Ро).
После заполнения цилиндра воздухом поршень, двигаясь от точки а налево, сжимает воздух. Процесс сжатия изображен кривой ас. В конце сжатия в цилиндр впрыскивается топливо, которое воспламеняется в точке с. Процесс сгорания показан линиями cz' и г'г. Расширение газовпроисходит по кривой ге. В точке е открываются выпускные клапаны, и отработавшие газы выталкиваются в газовую турбину (при давлении рт), а затем выбрасываются в атмосферу. Таким образом, линия выпуска газа из цилиндра расположена выше атмосферной и ниже линии наполнения. В четырехтактных двигателях энергии отработавших газов вполне достаточно, чтобы нагнетатель сжимал воздух до давления рк, более высокого, чем рг. В результате наддува площадь индикаторной диаграммы, а следовательно, и мощность дизеля значительно возрастают.
Следует отметить, что в действительности процесс сгорания происходит не по прямым линиям с г' и г'г, а по штриховой линии (см. рис. 21).
Диаграмма двухтактного дизеля. Сжатие воздуха в цилиндре при движении поршня справа налево начинается в точке а и продолжается до точки с (рис. 22). За 16—25° угла поворота коленчатого вала до крайнего левого положения поршня через форсунку 3 в цилиндр при высоком давлении подается жидкое топливо (в мелкораспыленном виде), которое, соприкасаясь с нагретым до высокой температуры сжатым воздухом, воспламеняется. Образовавшиеся газы, стремясь расшириться, перемещают поршень вправо. Движущийся поршень через шатун вращает коленчатый вал. Не доходя до крайнего правого положения, поршень 2 своей кромкой открывает выпускное окно Б, давая выход отработавшим газам через глушитель наружу. Двигаясь дальше вправо, поршень открывает продувочное окно Л, через которое в цилиндр \стремляется свежий воздух, имеющий повышенное давление. Воздух вытесняет отработавшие газы и заполняет цилиндр. Когда поршень изменит направление и начнет двигаться справа налево, он вначале закроет продувочное окно А, а затем выпускное Б, после чего начнется сжатие оставшегося в цилиндре воздуха. Таким образом, полный рабочий процесс (цикл) в двухтактном дизеле совершается за два кода поршня (такта), при этом коленчатый вал совершает один оборот.
В двухтактных дизелях продувочный воздух подается в цилиндры нагнетателем, приводимым в движение от вала дизеля, или турбокомпрессором. От качества продувки цилиндров зависит мощность и к.п.д. дизеля. Чтобы обеспечить хорошую продувку цилиндров воздухом и снизить тепловое напряжение деталей дизеля, соприкасающихся с горячими газами, в цилиндры подается значительно больше воздуха, чем требуется для горения топлива; во время продувки часть воздуха уходит через выпускные окна. Учитывая это, подача продувочного воздушного нагнетателя должна быть на 30—40 % больше, чем это необходимо для обеспечения полного сгорания топлива. При проектировании двухтактных двигателей конструкторы стремятся к тому, чтобы при наименьшей потере сжатого воздуха получалась бы наилучшая продувка и зарядка цилиндров. В двухтактных дизелях обычно энергии отработавших газов недостаточно для сжатия наддувочного воздуха до требуемого давления, так как давление это должно быть больше, чем давление в выпускном трубопроводе для качественной очистки цилиндров, а энергия выпускных газов (при прочих равных условиях) ниже, чем в четырехтактных двигателях, из-за разбавления газов холодным продувочным воздухом. Поэтому в двухтактных дизелях используется комбинированный наддув, при котором часть энергии, необходимой для сжатия наддувочного воздуха, отбирается от коленчатого вала двигателя (см. выше).
Схемы продувки двухтактных дизелей. Наиболее простая, но вместе с тем и наиболее несовершенная схема— так называемая поперечно-щелевая продувка, при которой в цилиндре может оставаться 15—20% отработавших газов (рис. 23,а). Такая продувка применяется в маломощных дизелях, для которых простота конструкции, а не экономичность, имеет решающее значение. Схема продувки, показанная на рис. 23,6, более совершенна. Благодаря обратному клапану 3 эта конструкция обеспечивает некоторый наддув цилиндров. Такая схема продувкиприменяется на тихоходных судовых двигателях.
Более совершенна прямоточная кла-панно-щелевая продувка (рис. 23,в). Сжатый воздух из нагнетателя поступает в цилиндр через нижние окна, а отработавшие газы удаляются через выпускные клапаны 3, размещенные в крышке цилиндра. При такой продувке на дизеле устанавливают распределительный вал. Клапанно-щелевая продувка применяется в тепловозных дизелях 11Д45 и 14Д40.
Наиболее совершенна прямоточно-щелевая продувка (рис. 23,г), которую можно осуществить в двигателях со встречно движущимися поршнями. Сжатый воздух от нагнетателя поступает через верхние окна (продувочные), а отработавшие газы удаляются из цилиндра через нижние (выпускные) окна. Чтобы можно было полнее зарядить цилиндр, нижний поршень, перекрывающий выпускные окна, несколько опережает (на 10—12° угла поворота коленчатого вала) верхний поршень, перекрывающий впускные окна.
При таком способе продувки в цилиндре почти не остается отработавших газов. Прямоточно-щелевая продувка применяется в тепловозных дизелях 2Д100 и 1 ОД 100.










