§ 8. Рабочие схемы тепловоза
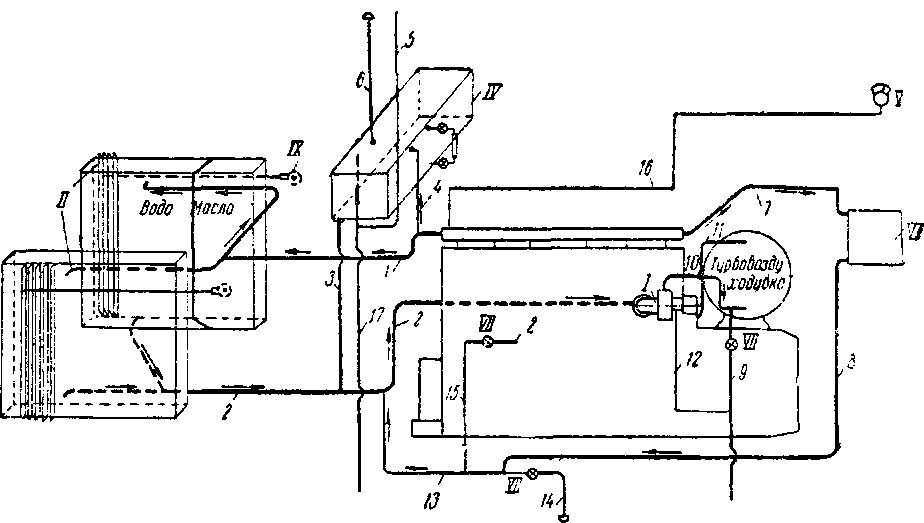
Схема водяного трубопровода. Система водяного охлаждения дизеля, схематично изображённая на фиг. 15, состоит из следующих основных узлов:
/—центробежного водяного насоса, общий вид и детали которого показаны на фиг. 15а. Насос этот, расположенный на левой боковой стенке блока дизеля около турбовоздуходувки, приводится в движение через систему зубчатых колёс от вала дизеля;
//—трёх групп секций холодильника, размещённых впереди тепловоза: двух с левой стороны и одной справа;
///—вентилятора холодильника, приводимого в движение череї фрикционную муфту от вала дизеля (на чертеже не показан);
IV— расширительного водяного бака с водомерным стеклом;
V— дистанционного термометра (пирометра), расположенного в будке;
VI— калорифера отопления будки;
VII— трёх вентилей для спуска и заполнения двигателя водой;
VIII— трубопровода;
IX— управляемых жалюзи.
Циркуляция воды в дизеле происходит в следующей последовательности.
Центробежным насосом, который всегда заполнен водой, так как расширительный бак находится выше двигателя, вода под давлением нагнетается в рубашки цилиндров и далее поступает для охлаждения крышек, откуда собирается в водяном коллекторе, располо-
женном вдоль дизеля. Кроме того, от насоса вода по трубе 10 подаётся для охлаждения турбовоздуходувки. Из турбовоздуходувки вода возвращается по трубе 77 в блок дизеля.
Из коллектора вода по трубе 7 нагнетается в правые и левые секции холодильника, откуда по трубе 2 возвращается в насос.
Расширение воды при нагревании и компенсация воздушных мешков, которые могут образовываться при пуске дизеля или при изменении режимов работы, а также устранение паровых мешков при перегрузке двигателя достигается при помощи трубы 3, которая соединяет трубу 2 с расширительным бачком.
При остановке дизеля интенсивная циркуляция воды через холодильник приостановится, так как в это время насос не работает,

Фиг. 15. Схема водяного трубопровода
но незначительная циркуляция воды всё же будет продолжаться по принципу термосифона, т. е. по трубе 4 горячая вода поднимется в расширительный бак, смешается с более холодной водой, по трубе 3 опустится вниз и далее, отнимая тепло у дизеля, снова через трубу 4 направится в расширительный бак. Таким образом, данная система охлаждения обеспечивает постепенное снижение температуры дизеля без образования паровых или воздушных мешков при пуске и после остановки двигателя.
Труба 5 соединяет расширительный бачок через контрольную* трубку 77 с атмосферой. Калорифер отопления будки питается горячей водой от двигателя по трубе 7, обратно вода возвращается по трубе 8 и 13 непосредственно в трубу 2. Труба 72 служит для спуска просочившейся воды через сальник водяного насоса. Следует отметить, что просочившаяся вода служит смазкой вала насоса. Поэтому через сальник насоса должна незначительно просачиваться вода. По трубам 9, 15 и 14 осуществляется спуск воды из двигателя.
Кабель 16 аэротермометра имеет назначение передавать колебания тока от термопары, помещённой в водяном коллекторе, к гальванометру (термометру), вмонтированному в щиток контроллера.
Перед пуском дизеля система под напором водопровода заполняется чистой дестиллированной водой через верхнюю трубу 6 расширительного бака или через нижнюю трубу 14. Уровень воды в расширительном баке не должен допускаться ниже х/з водомерного стекла. При заполнении системы через нижнюю трубу 14 необходимо открыть вентиль, установленный на этой трубе. Открытие вентилей, расположенных на трубах 15 и 9, необязательно. Уровень воды в системе наблюдается по водомерному стеклу в расширительном баке

Фиг. 15а. Водяной центробежный насос
/—всасывающий патрубок, 2—корпус насоса, 3—отвод воды к турбовоздуходувке, 4—рабо чее колесо насоса, 5—приводное колесо насоса, б—приводной вал, 7—сальниковые кольца, 7'—нажимная гайка саіьника, в—втулка сальника, 8'—масляное уплотнение, 9—втулочный подшипник, 10—втулка в корпусе насоса, 1 /—установочное (монтажное) кольцо, 12—шариковой подшипник, 13—крышка шарикового подшипника
В случае переполнения бака вода контрольной трубкой 17, выведенной наружу с левой стороны тепловоза, может сливаться наружу.
По заполнении системы водой все вентили должны быть плотно закрыты. Для заполнения системы охлаждения требуется 950 л воды.
Нормальная работа дизеля должна происходить при наличии в расширительном баке воды, уровень которой соответствует 3/4 стекла воды. При отсутствии воды в расширительном баке дизель должен быть остановлен.
Необходимо помнить, что нельзя добавлять холодной воды в горячий двигатель, так как это может повести к появлению трещин в крышках цилиндров или блока. Но в случае крайней необходимости пополнения дизеля водой температура воды в нём должна быть предварительно снижена до 40—50°.
Кроме того, добавление воды в горячий дизель должно обязательно происходить во время его работы.
Температура воды в дизеле обычно поддерживается в зависимости от нагрузки от 65 до 77°, но ни в коем случае не должна быть выше 88°.
Регулирование температуры достигается путём открывания или закрывания жалюзи холодильников при помощи ручки, находящейся под рукой у машиниста на передней стенке будки.
В том случае, если даже при полном открытии жалюзи холодильников температура воды будет всё же выше 88°, то надо или уменьшить нагрузку на двигатель или перевести его на холостую работу.
При открытии жалюзи следует помнить, что вначале нужно открывать жалюзи левого холодильника и в последнюю очередь — правого, потому что с правой стороны, кроме водяных секций, расположены ещё масляные секции. Поэтому открытие жалюзи правой и левой сторон должно устанавливаться с таким расчётом, чтобы темпера* тура воды была в пределах 60—80° и температура масла 40—70° при любой температуре наружного воздуха.
Нормальная циркуляция воды в дизеле проверяется наощупь рукой; при этом все части двигателя, охлаждаемые водой, должны иметь одинаковую температуру.
Местные нагревы указывают на нарушение циркуляции воды и требуют обязательного выяснения причины и устранения её.
Нарушением циркуляции воды в дизеле может явиться: затягивание отверстий резиновыми прокладками для прохода воды, образование накипи или недостаток воды в расширительном баке.
Заполнение водяной системы тепловоза грязной водой ни в коем случае недопустимо, так как это может привести к отложению накипи в крышках двигателя и в секциях холодильника, что в свою очередь может вызвать образование трещин в крышках и выход секций холодильников из строя.
Схема масляного трубопровода. Смазочная система дизеля, схематично изображённая на фиг. 16, состоит из следующих элементов: /— шестерёнчатого насоса, расположенного у основания двигателя со стороны камеры холодильника. Насос приводится в движение через систему зубчатых колёс от вала двигателя;
//— одной группы секций холодильника, расположенного впереди тепловоза, с правой стороны;
///— двух фильтров с набивкой бумажными концами; IV— двух фильтров Куно, заключённых в одном корпусе; V— вспомогательного байпасного клапана;
VI— разгрузочного обратного клапана;
VII— регулирующего клапана; VIII— разгрузочного клапана;
IX— манометра;
X— реле давления масла;
XI— соленоида регулятора для остановки дизеля.
Циркуляция масла в системе протекает в следующей последовательности.
Масло засасывается насосом непосредственно из картера дизеля и по трубе 7 нагнетается в холодильник. Из холодильника масло по трубе 2 поступает в щелевой фильтр системы Куно, откуда распределяется по коренным подшипникам вала дизеля, подшипникам турбовоздуходувки и ко всем трущимся частям распределения.
Вспомогательный байпасный клапан и труба 8 имеют назначение перепускать масло из трубы 1 непосредственно в трубу 2 в случае: во-первых, падения температуры и увеличения вязкости масла в холодильнике и, во-вторых, когда разность давления между трубами 7 и 2 достигнет величины более 1 кг/слр или в том случае, когда вентили, отключающие масляный холодильник, будут закрыты.

Разгрузочный обратный клапан на трубе 7 имеет два назначения: а) служит для пропуска части масла из трубы 2 в фильтры при давлении масла в трубе 2 более 2,5 кг\смг и б) препятствует сливу грязного масла из фильтров обратно в трубу 2 после остановки дизеля. Из фильтров масло по трубе 6 поступает на слив в картер.
Разгрузочный клапан на масляном насосе служит для перепускания масла по трубе 16 на слив в картер при давлении масла свыше 5,3 кг]смг.
Манометр, установленный в кабине управления тепловоза, контролирует в главном трубопроводе 2 давление масла, поступающего на смазку дизеля.
Реле давления масла соединено трубкой 10 с трубой 2. При падении давления масла в трубе 2 ниже 1,6 кг/см* это реле разрывает цепь питания соленоида у регулятора дизеля, в результате чего двигатель останавливается.
Заполнение картера дизеля маслом производится через воронку, расположенную в стенке блока дизеля с левой стороны тепловоза.
Полный запас масла составляет 300 л. При правильной эксплуатации смена масла происходит через 1 700 час. работы двигателя.
Схема топливного трубопровода. Система топливоподачи, схематично изображённая на фиг. 17, состоит из следующих основных частей:
/— топливных насосов системы Бош, соединённых в одном блоке; //— топливного коллектора; ///— форсунок системы Бош; IV— комбинированного фильтра Куно и Бош;
V— регулирующего клапана;
VI— разгрузочного клапана;
VII— вспомогательного шестерёнчатого топливного насоса;

Фиг. 17. Схема топливного трубопровода
VIII— двойного сетчатого фильтра; IX— экстренного ручного выключателя топлива; X— двух баков топлива; XI— системы трубопровода.
После включения кнопки мотора вспомогательного топливного насоса топливо засасывается из нижнего бака и по трубам / и 2 через двойной сетчатый фильтр и трубу 3 подаётся к разгрузочному клапану, который по трубе 18 перепускает топливо обратно в бак при давлении свыше 5,3 кг]см%.
От разгрузочного клапана топливо по трубе 4 поступает в комбинированный фильтр системы Куно и Бош и, пройдя их, попадает в топливный коллектор, откуда распределяется по топливным насосам. Излишек топлива из насосов по трубе 6 через регулирующий клапан (который поддерживает давление топлива в коллекторе 2,5 кг/слА), идёт по трубам 7 и 8 на слив в бак. От топливных насосов топливо под давлением поступает к форсункам.
Труба // служит для слива топлива, просачивающегося вдоль шпинделя иглы форсунки.
Труба 72 имеет то Же назначение для просочившегося топлива из-под плунжеров топливных насосов.
Трубы 14 и 77 являются вентиляционными.
Экстренный выключатель топлива, расположенный перед вспомогательным насосом, прекращает подачу топлива к последнему и тем самым в топливный коллектор и к топливным насосам, в результате чего дизель останавливается.
Баки заполняются топливом через наливные трубы с любой стороны будки. Топливо сначала поступает в верхний бак, расположенный под будкой, откуда самотёком перетекает в нижний бак. находящийся между тележками. Общая вместимость баков б 050л (5,32/я). Степень наполнения баков контролируется нефтемерными стёклами, установленными на боковых стенках верхнего бака и видимыми снаружи.










