Дороже или дешевле
От чего зависит эффективность использования тепловозов? Чтобы ответить на подобный вопрос, надо детально проанализировать особенности их работы в тех или иных условиях. На магистральном

Ри«. 6. Эксплуатационные режимы магистрального тепловоза. ТЭ1в и соответствующий расход топлива за пробег 5000 км с грузовым составом: с — режим работы по времени; б —расход топлива.

Р и с. 7. Эквглуетационные режимы работы тепловозов при технологических перевозках в %: / — хелосто* их; 2 — номинальный режим; 3 — переходные режимы; 4 —
прочие режимы.
железнодорожном транспорте работа тепловоза имеет свои отличия. На рис. 6 показана загрузка тепловоза Т310 на путях МПС по исследованиям кандидата технических наук И. В. Севрука. 17% от всего времени работы локомотив использовал всю номинальную мощность, а расход топлива за это время составил 57%. Длительность же холостого хода равна 42%, а расход топлива при работе в таком режиме не превысил и 4,5%.
В 1969 г. тепловозами израсходовано свыше 7,7 млн. т дизельного топлива на сумму 290 млн. рублей. По новым ценам на топливо (72 руб. на тонну) эти расходы значительно выше. Следовательно, для локомотивов магистрального транспорта особенно важна работа дизеля с малым удельным расходом топлива.
Совершенно в других условиях работают тепловозы на промышленном транспорте. Здесь холостой ход дизеля составляет до 70% всего времени, так как неизбежны простои в ожидании погрузки и выгрузки вагонов. Но отбросим вынужденные простои. Даже и тогда эксплуатационные режимы работы тепловоза при выполнении технологических перевозок на металлургическом заводе связаны со значительным временем работы дизеля на холостом ходу (рис. 7). Например, при вывозке ковшей с жидким чугуном от домны к разливочной машине или миксеру мартеновского цеха холостой ход дизеля тепловоза ТГМЗ составляет 37%. Обращает на себя внимание и тот факт, что на двух металлургических заводах с разным путевым развитием загрузка локомотивов на одной и той же технологической операции близка между собой.
Рис. 7 позволяет сделать и другой важный вывод: на трех различных технологических участках очень незначительна степень использования номинальной мощности локомотива. Например, при работе тепловоза ТГМЗ на чугуновозной стороне доменного цеха и на участке марте-

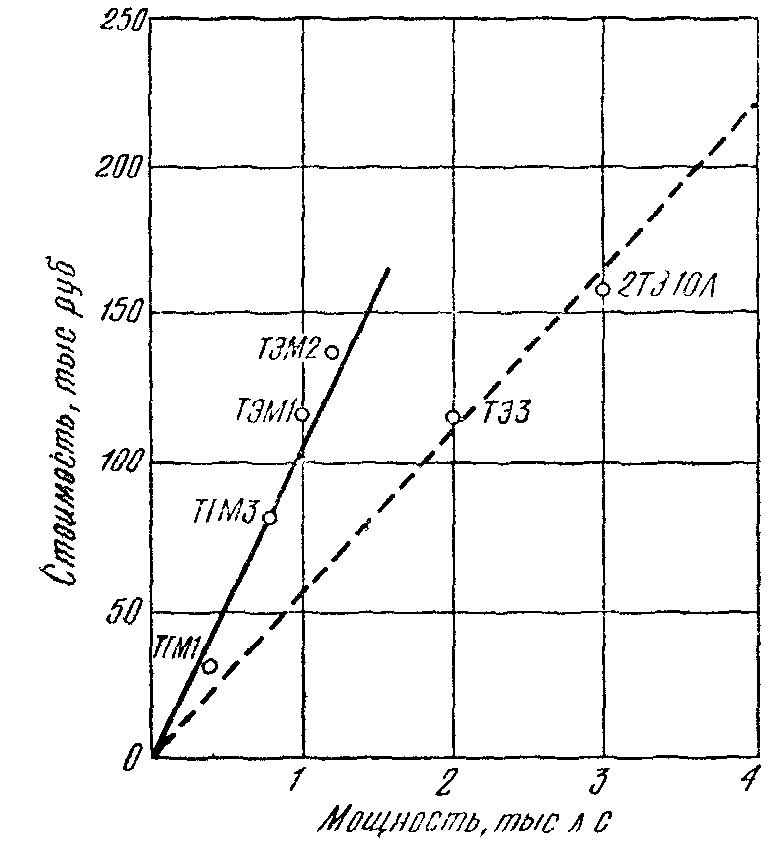
Рис. 8. Стоимость тепловозов в функции их мощности.
•новский цех — стрипперное отделение номинальная мощность локомотива практически не используется.
Объясняется это тем, что на этих участках скорость движения оо условиям техники безопасности очень мала. Так, при перевозке горячих слитков она не должна превышать 5 км/ч. Выше мы говорили, что локомотив работает наиболее эффективно только при полном использовании его мощности, следовательно, тепловоз ТГМЗ на этих перевозках неэффективен.
Чем выше вес тепловоза при одной и той же мощности дизеля, тем меньше скорость выхода локомотива на автоматическую характеристику. Вот почему тепловозы для промышленного транспорта должны быть более тяжелыми. Фирма «Хеншель» (ФРГ) специально для металлургических заводов производит четырехосные тепловозы мощностью 360 л. с. и весом 80 т. Такой локомотив имеет удельный вес на единицу мощности 220 кг/л. с. и вполне может заменить тепловоз ТГМЗ при перевозке горячих слитков.
Уменьшение мощности тепловоза дает большой экономический эффект благодаря снижению стоимости локомотива и его эксплуатации. На рис. 8 дана стоимость отечественных тепловозов по ценнику 1970 г. в функции мощности дизеля. Стоимость всех тепловозов с большой степенью приближения может быть представлена двумя прямыми линиями: сплошной и пунктирной. При этом сплошная линия относится к тепловозам малой мощности, а пунктирная — большой.
Для нашего примера уменьшение мощности тепловоза с 750 до 360 л. с. дает уменьшение его стоимости при одинаковой партии выпуска примерно в 2 раза. Это немедленно скажется на стоимости эксплуатации.
При создании мощных тепловозов всегда встает вопрос: как оценить экономическую эффективность нового локомотива по сравнению со старым? Ведь новый локомотив часто стоит дороже старого, так как цена его в значительной степени определяется мощностью. А если мощность и стоимость изготовления старого и нового локомотивов одинаковы, как быть в этом случае?
Для суждения об эффективности новых тепловозов во Всесоюзном научно-исследовательском тепловозном институте (ВНИТИ) разработана специальная методика, с которой нас познакомила кандидат технических наук Е. К. Ставрова, начальник лаборатории технико-экономических расчетов.
Для примера определим экономический эффект тепловоза 2ТЭ109 по сравнению с 2ТЭ10Л в грузовом движении. Себестоимость изготовления и мощность дизелей для этих тепловозов одинакова, поэтому основная эффективность тепловоза ТЭ109 может проявиться только в эксплуатации и ремонте.
Расходы на топливо составляют примерно 40% всех затрат от эксплуатационных расходов локомотивной службы. Вот почему эффективность тепловоза в значительной степени определяется тем, каков удельный расход топлива у его дизеля. На тепловозе 2ТЭ109 установлен дизель Д49, у которого удельный расход топлива ниже, чем у дизеля 1 ОД 100 тепловоза 2ТЭ10Л. Поэтому при перевозке поезда весом 4200 г на участке длиной 240 км при грузопотоке в 20 млн. т годовой расход топлива тепловозами 2ТЭ109 оказывается на 2000 т меньше, чем при перевозке того же грузопотока тепловозами 2ТЭ10Л. Благодаря этому сокращаются расходы при экипировке на 10% и расходы на смазку еще на 6%.
Ремонтные расходы при новом локомотиве также изменяются. Применение генератора переменного тока на тепловозе 2ТЭ109 по сравнению с генератором постоянного тока на тепловозе 2ТЭ10Л дает дополнительный выигрыш при ремонте на 30%, более совершенный дизель позволяет сэкономить при ремонтных работах еще 20% и так далее. В целом по тепловозу 2ТЭ109 получается экономия по ремонту на 16%.
Итак, стоимость изготовления обоих тепловозов одинакова, а стоимость эксплуатации и ремонта тепловоза 2ТЭ109 меньше. Но это еще не все. Надо определить народнохозяйственную эффективность внедрения нового локомотива. Для этого находят срок окупаемости дополнительных капитальных вложений на организацию производства тепловоза ТЭ109. Это делается путем деления дополнительных капитальных затрат при создании оборудования на выпуск нового тепловоза к годовой экономии эксплуатационных расходов. В результате всех расчетов оказалось, что срок окупаемости дополнительных капитальных вложений на организацию производства тепловоза ТЭ109 составляет 4,7 года.
Вместе с ростом производительности труда и удешевлением перевозок тепловозы обеспечивают удлинение участков обращения локомотивов, что позволило сократить ряд основных и оборотных депо. В настоящее время на железных дорогах СССР уменьшена потребность в работниках локомотивного хозяйства примерно на 300 тыс. человек. С реконструкцией тяги были упразднены профессии с тяжелыми условиями труда. Нет теперь 600 тыс. паровозных кочегаров, 6 тыс. котельщиков, 4 тыс. промывальщиков паровозов — все эти преимущества тепловозной тяги трудно выразить в денежной экономии.










