11.3. Передача вращающего момента к колесным парам
Привод ведущих колесных пар при электрической передаче. Привод может быть индивидуальным или групповым. Тепловозы с электрической передачей в СССР и за рубежом почти исключительно имеют индивидуальный привод колесных пар, т. е. каждая колесная пара имеет отдельный тяговый электродвигатель, приводящий ее во вращение. Возможен и групповой привод: один двигатель, размещенный на тележке, приводит все ее колесные пары (мономоторная тележка). Такая схема, .которая применялась во французском локомотивостроении, имеет некоторые преимущества в отношении динамических воздействий при высокоскоростном движении, а также в использовании сцепного веса (см. ниже). При групповом приводе значительно уменьшается возможность боксования колесных пар. Однако на трехосных тележках схема с одним двигателем требует сложной системы зубчатых колес для передачи момента на колесные пары. Поэтому в отечественном тепловозостроении применяется только индивидуальный привод.
Вращающий момент от тягового электродвигателя к колесной паре при индивидуальном приводе передается при помощи одноступенчатого тягового редуктора, состоящего из цилиндрической зубчатой пары: ведущей шестерни — на валу тягового двигателя и ведомого зубчатого колеса — на оси колесной пары. В тепловозостроении зубчатая передача из-за ограниченных габаритов пространства для размещения тягового электродвигателя выполняется, как правило, односторонней, несимметричной относительно продольной оси тепловоза и поэтому состоит из прямозубых колес. (В электровозостроении применяется и двусторонняя передача — ведущие шестерни размещаются на обоих
концах вала тягового двигателя. Такая схема делает передачу момента симметричной относительно продольной оси тепловоза и позволяет применять косозубые передачи, отличающиеся более плавной работой.)
При односторонней передаче неизбежны некоторые смещения осей шестерен и перекосы зубьев в зацеплении, которые приводят к их неравномерному износу. Для устранения вредного влияния перекосов у зубьев ведущей шестерни одна из сторон выполняется с небольшим скосом (на 0,20—0,24 мм). Таким образом, зубья оказываются заранее скошенными на угол 5—6' в сторону, противоположную перекосу под нагрузкой, поэтому в процессе работы контакт между зубьями обеих шестерен становится более равномерным по их длине.
Передаточное число тягового редуктора зависит от назначения тепловоза: у грузовых и маневровых оно больше и составляет обычно 4,41 =75/17, у пассажирских меньше (например, у тепловозов ТЭП60— 2,32, у ТЭП70 — 3,12).
Подвешивание тяговых электродвигателей на тележке при индивидуальном приводе колесных пар должно обеспечить передачу вращающего момента при одновременном подрессоривании массы двигателя. Дело в том, что момент от вала двигателя к колесной паре может передаваться, только если корпус двигателя будет закреплен. Однако если закрепить корпус на раме тележки, то при ее колебаниях будет нарушаться зацепление между шестернями тягового редуктора. Поэтому корпус двигателя, связанный с рамой тележки, должен одновременно быть связанным и с колесной парой, чтобы не менялось межцентровое расстояние редуктора. Это можно обеспечить, если двигатель будет иметь с одной стороны опору на раму тележки, а с другой — на колесную пару.
Такую систему подвешивания тяговых электродвигателей (двигатель
жестко опирается на ось колесной пары и через упругие звенья на раму тележки) называют опорно-осевой. При опирании двигателя на колесную пару жестко передается примерно половина его веса. Если двигатель полностью закрепить на раме тележки, получим опорно-рамное подвешивание. В этом случае тяговый привод должен быть упругим и компенсировать смещения двигателя относительно колесной пары.
Первая схема применяется на серийных грузовых и маневровых тепловозах, вторая (конструктивно более сложная) — на пассажирских и мощных грузовых (2ТЭ121) тепловозах.
Опорно-осевое подвешивание тяговых электродвигателей получило наибольшее распространение в советском тепловозостроении (тепловозы 2ТЭ10В, ТЭЗ, 2ТЭ116, ТЭМ2 и др.).
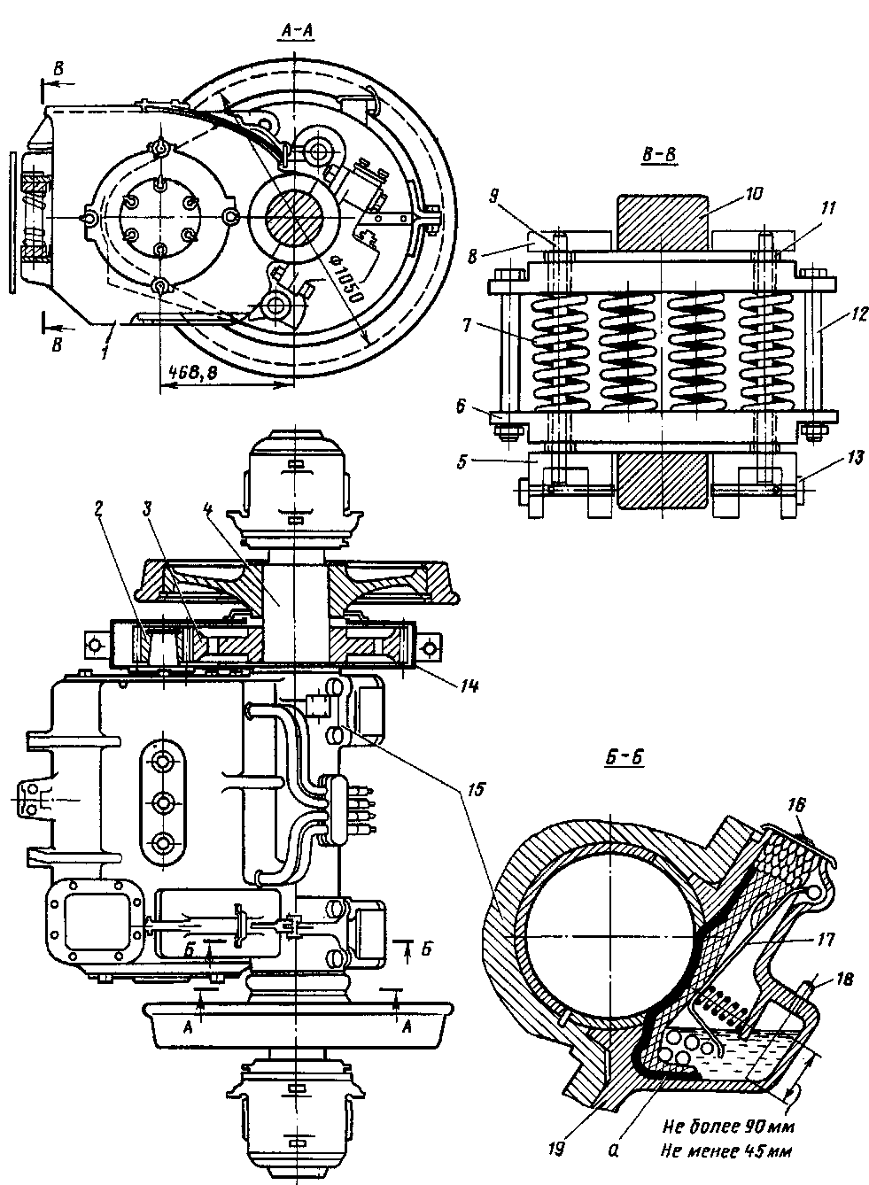
Тяговый электродвигатель / (рис. 11.6) имеет три опорные точки. Он опирается на специальные опорные шейки средней части оси 4 колесной пары двумя моторно-осе-выми подшипниками 15. Размещение подшипников вала тягового двигателя и оси колесной пары в одном корпусе гарантирует неизменность межцентрового расстояния зубчатой передачи 2—3 (в пределах допусков на износ подшипников).
Третья опора (подвеска к раме тележки) выполнена упругой — через пружинный комплект, состоящий из четырех пружин 7. Пружины, работающие параллельно, сжаты между двумя обоймами 6, скрепленными по концам двумя болтами 12. Пружинный комплект установлен между выступами (верхними 8 и нижними 5) литого кронштейна подвески, приваренного к раме тележки. По оси крайних пружин комплекта через отверстия в выступах и обоймах снизу вверх пропускаются два стержня 9, скрепляющие комплект с рамой. Стержни 9 предохраняются от выпадания вниз валиками 13. Предварительно сжатый болтами 12

Рис. 11.6. Опорно-осевое подвешивание тягового электродвигателя
пружинный комплект охватывается выступами 10 корпуса двигателя, и после ослабления гаек на болтах 12 до упора в шплинты пружины в распор прижимают обоймы 6 к выступам 10 (рабочие поверхности обойм усилены наваркой сменных износостойких пластин //).
Моторно-осевые подшипники скольжения состоят каждый из двух вкладышей из свинцовистой бронзы ОЦС 4-4-17. Один вкладыш — верхний — вставляется в расточку корпуса тягового электродвигателя, второй — нижний — в «шапку» (крышку) 19, притягиваемую к корпусу болтами. Нижний вкладыш имеет прямоугольное окно для подвода смазки (осевого масла) к шейке оси.
На тепловозах 2ТЭ10Л и ТЭЗ с тяговыми электродвигателями типов ЭД107 и ЭДТ200Б (соответственно) смазка шеек осуществляется контактным способом с помощью набивки из полушерстяной пряжи. Масло заливается в масляную ванну в шапке 19 через верхнюю масленку 16 в крышке. Набивка укладывается до заливки масла в следующей последовательности. Сначала непосредственно на шейку вдоль стенки полости шапки укладывается войлочная прокладка а (показана на рис. 11.6 сплошной черной линией — см. сечение Б—Б), которая предохраняет набивку от истирания и затягивания в подшипник. Затем размещают заблаговременно пропитанные маслом пять мотков полушерстяной пряжи: четыре — вдоль прокладки, а пятый, сложенный вчетверо,— на дно масляной ванны, прижимая расправленные по дну концы первых четырех мотков. Набивка, прижатая пружинной планкой 17, равномерно распределяет масло по всему окну во вкладыше. Сверху набивки укладывают слой хлопчатобумажной путанки, пропитанной в масле. Уровень смазки в подшипнике проверяется наклонным шупом через нижнюю масленку 18. Его вы-
сота (по шупу) должна быть в пределах 45—90 мм.
Средняя часть оси, между мотор-но-осевыми подшипниками, закрывается защитным кожухом.
На тяговых электродвигателях тепловозов 2ТЭ10В применена более совершенная «польстерная» смазка мо-торно-осевых подшипников. Для подачи смазки в каждом подшипнике используется пакет («польстер») 12 из двух войлочных пластин с хлопчатобумажными фитилями между ними. Пакет закреплен в коробке // скобой 10 (рис. 11.7).
Коробка снаружи имеет пластинчатые пружины 8, за счет упругости которых она вставлена в распор в корпус 9. Пружина 6 прижимает коробку с польстером к шейке оси. Нажатие пружины (40—60 Н) превышает сопротивление распорных пружин 8, что обеспечивает контакт польстера с шейкой. Рычаг 7 осью / соединен с корпусом 9, на котором укреплена и пружина 6. Корпус 9 установлен на нижней стенке шапки 5 подшипника. Уровень смазки в масляной ванне контролируется по стержню 3 поплавка 4 при открытии крышки 2 или при помощи щупа.
Тяговый редуктор огражден от внешних воздействий кожухом 14 (см. рис. 11.6). Кожух состоит ИЗ двух половин, изготовленных ИЗ листовой стали на сварке, и укрепляется на корпусе двигателя в трех точках. Нижняя часть кожуха служит емкостью для смазки (типа СТП) в количестве 3,5 л (на тепловозах 2ТЭ116 — до 5 л).
Опорно-рамное подвешивание тяговых электродвигателей отличается от опорно-осевого тем, что весь вес тягового электродвигателя передается на раму тележки. Это значительно снижает вес необрессорен-ных частей локомотива, а следовательно, его воздействие на путь. Существуют различные конструкции тягового привода при опорно-рамном подвешивании.

Рис. 11.7. Моторно-осевой подшипник с польстером
Одним из распространенных является привод с помощью полого вала и шарнирной муфты. Такой привод применяется французской фирмой «Альстом», поэтому его иногда называют просто «привод типа Альстом». Такой тип привода с опорно-рамным подвешиванием применен на тепловозах ТЭП60 (рис. 11.8) и первых ТЭП70 (до № 008).
Тяговый электродвигатель 4 (см. рис. 11.8) двумя лапами 5—приливами на боковой стороне его остова — опирается на кронштейны 6, укрепленные на поперечной балке рамы тележки. На другой стороне остова двигателя в середине шестью

Рис. 11.8. Схема опорно-рамного подвешивания тягового электродвигателя
болтами укреплен стальной литой кронштейн /, который опирается на кронштейн 7 на другой поперечной балке рамы тележки. Таким образом, двигатель имеет три точки опоры на раму тележки, обеспечивающих его правильную установку.
Моторно-осевые подшипники двигателя, закрепленного на раме, не опираются на ось 2, а поддерживают полый вал 3 — цилиндрическую гильзу наружным диаметром 315 мм, на которой укреплена ведомая шестерня тягового редуктора. Полый вал 3 охватывает ось 2 колесной пары. Радиальный зазор между внутренней поверхностью полого вала и осью составляет в среднем 35 мм. Такая его величина полностью исключает возможность соприкосновения этих деталей при колебаниях ходовых частей.
Опорно-рамное подвешивание тягового двигателя требует упругого тягового привода и отражается на устройстве колесной пары тепловоза (рис. 11.9). Она состоит из оси 3, колесных центров 6 с бандажами 8 и укрепляющими кольцами 7, полого вала 4 с приводами / и 6.
Рассмотрим особенности деталей колесной пары. Ось 3 для облегчения веса имеет сквозное центральное отверстие диаметром 70 мм. Колесный центр имеет два прилива с отверстиями для запрессовки ведущих пальцев // и два отверстия диаметром 200 мм для прохода цапф приводов.
На концы полого вала 3 насажены в горячем состоянии и зафиксированы штифтами 5 приводы 1 и 6 с ведущими пальцами 10. Один из приводов (/) имеет дисковый фланец для укрепления ведомой шестерни 2.
Вращающий момент от тягового двигателя к колесной паре передается через эластичные муфты (рис. 11.10), размещенные на обоих колесах. Муфта состоит из траверсы 6 и шарнирно с ней соединенных валиками 4 четырех поводков 5. Два поводка соединяются с пальцами 2 привода муфты, два других — с пальцами / колесного центра. Головки поводков надеваются на пальцы через резиновые амортизаторы 3.
Имеются и другие схемы тягового привода при опорно-рамном подвешивании тяговых электродвигателей (рис. 11.11). Одна из этих схем (с полым валом тягового электродвигателя) применена на тепловозе 2ТЭ121.
Приводные механизмы тепловозов с гидравлическими передачами. Вращающий момент от выходного вала гидропередачи к движущим осям тепловоза может быть передан либо при помощи дышлового (кривошипно-шатунного) механизма, аналогично паровозному, либо при помощи карданного привода, состоящего из системы телескопических валов, соединенных так называемыми шарнирами Гука (или карданными муфтами), и осевых редукторов.
Телескопические шлицевые соединения валов допускают в некоторых пределах изменения расстояний между выходным валом передачи и устройствами привода на осях, которые неизбежны при движении и колебаниях локомотива. Шарниры допускают также возникающие при этом перекосы валов.
Дышловой механизм (рис. 11.12, а) состоит из отбойного вала 3, получающего вращение от дизеля / через гидропередачу 2, и системы дышел, связывающих его с движущими осями 6.
Отбойный вал ведущим дышлом 4 связан с одной из колесных пар и приводит ее во вращение. Все ведущие колесные пары соединены между собой сцепными дышлами 5. Передача движения к колесным парам при помощи отбойного вала и

Рис. 11.9. Колесная пара тепловоза ТЭП60

Рис. 11.10. Эластичная муфта тягового привода тепловоза ТЭП60

Рис. 11.11. Схема тягового привода с карданными валами при опорно-рамном подвешивании:
а —с полым валом тягового электродвигателя; б —с полым карданным валом; в —с продольными карданными валами

дышлового механизма применяется на двух-, трехосных маневрово-промышленных тепловозах, оси которых размещены в общей жесткой раме (ТГМ1, ТГМ23). Простой и надежный дышловой механизм обладает в то же время существенными недостатками. Размещение непосредственно на колесных парах эксцентрично расположенных массивных дышел и кривошипов приводит к неуравновешенности механизма и к значительным динамическим воздействиям на путь, особенно при высоких скоростях движения. Необходимость соединения всех осей дышлами не позволяет использовать такой привод на тележечных локомотивах. На маломощных и сравнительно тихоходных локомотивах указанные недостатки проявляются несущественно, а простота конструкции окупает себя. Это и определяет сферу применения дышлового механизма.
Карданный привод (рис. 11.12,6) состоит из карданных валов 7 и осевых редукторов 8 на ведущих осях. Такой привод, как правило, применяется на тележечных тепловозах. При любом типе движущего механизма привод ведущих осей на тепловозах с гидропередачей является группо-
вым в отличие от индивидуального привода осей при электрической передаче. Групповой привод позволяет реализовать более высокие коэффициенты сцепления между колесами и рельсом. Иными словами, экипаж с групповым приводом обладает меньшей склонностью к боксованию, что особенно важно для грузовых и маневровых локомотивов. Эти преимущества группового привода привели к его применению на опытном тепловозе ТЭМ12, имеющем электрическую передачу (см. рис. 11.11, в). Два его тяговых электродвигателя подвешены под рамой тепловоза вдоль его оси; через суммирующий редуктор их мощность распределяется по ведущим осям системой карданных валов.
Осевые редукторы советских тепловозов — двухступенчатые. Редуктор (рис. 11.13) состоит из двух зубчатых пар: конической /—4 и цилиндрической 3—6, размещенных в стальном корпусе 5. Вращение системой карданных валов передается через фланец ведущему валу 2. Ведомая коническая шестерня 4 насажена непосредственно на удлиненную цапфу цилиндрической шестерни 3. Ведомая шестерня 6 сидит

непосредственно на средней части оси 7 ведущей колесной пары. Подшипники редуктора роликовые и шариковые. Последние воспринимают осевые усилия.










