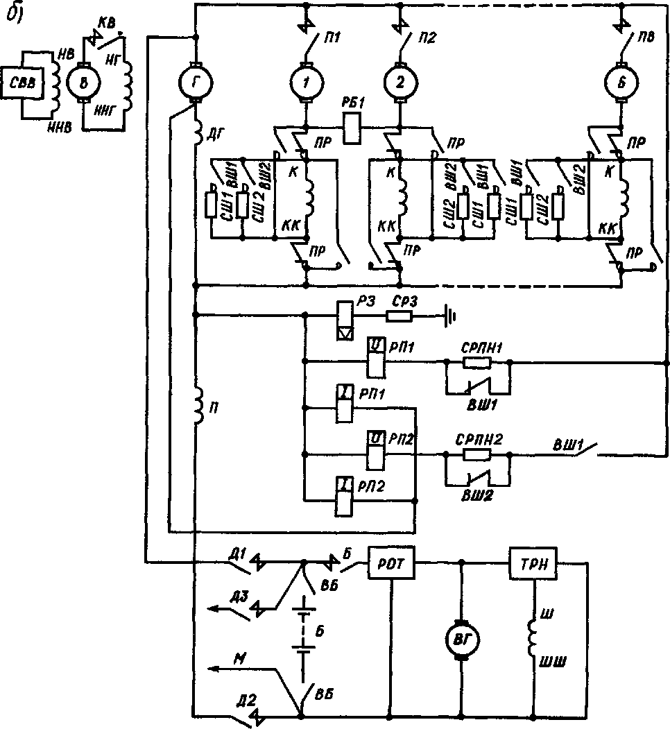
10.2. Схема электрических цепей тепловоза типа ТЭ10
Пуск дизеля. Для пуска дизеля необходимо вращать его коленчатый вал с частотой, достаточной для сжатия воздуха в цилиндрах и воспламенения топлива. На большинстве тепловозов с электрической передачей для этой цели используют тяговый генератор, работающий в режиме электродвигателя (стартера) с последовательным возбуждением. На тепловозах с гидромеханической передачей или электрической передачей переменно-постоянного тока для пуска дизеля устанавливают специальный стартер. Источником энергии при пуске является аккумуляторная батарея.
Последовательное возбуждение обеспечивает наилучшие характеристики стартера при пуске: большой начальный момент, надежно обеспечивающий быстрое страгивание с места коленчатого вала дизеля; по мере разгона ток якоря и магнитный поток уменьшаются, что приводит к увеличению скорости; исключается возможность перехода в генераторный режим после пуска дизеля, когда скорость вращения якоря резко возрастает. К. недостаткам стартера с последовательным возбуждением следует отнести большой начальный ток, что приводит к увеличению размеров аккумуляторной батареи, а при использовании для пуска тягового генератора — к необходимости размещения на главных
полюсах дополнительной пусковой обмотки, не используемой в тяговом режиме.
На современных двухсекционных тепловозах для облегчения условий работы аккумуляторные батареи обеих секций на период пуска соединяют между собой параллельно. Для этого их минусовые выводы соединены между собой постоянно кабелем М (рис. 10.1), а плюсовые — электромагнитными контакторами ДЗ на период пуска.
Для пуска дизеля необходимо: включить рубильник ВБ аккумуляторной батареи Б для подачи питания к цепям управления; включить замковый ключ КЗ, исключающий возможность одновременного управления с двух постов; включить автомат «Управление», через который плюс батареи Б подключается к неподвижным контактам контроллера машиниста КМ; включить автомат «Топливный насос», нажать и отпустить кнопку ПД (пуск дизеля). Все дальнейшие операции при пуске дизеля происходят автоматически.
После включения автомата «Топливный насос» через контакты КЗ и размыкающий контакт реле управления РУ7 включится катушка реле РУЗ, замыкающий блок-контакт которого замкнет цепь питания электродвигателя ТН вспомогательного топливного насоса.
Для исключения возможности пуска дизеля на рабочих (1-й и выше) позициях контроллера машиниста кнопка ПД включена через контакт, замкнутый только на нулевой позиции контроллера машиниста. При нажатии кнопки ПД включается РУ6, которое своим замыкающим блок-контактом включает реле времени РВ1. Замыкающий блок-контакт мгновенного действия РВ1 замыкает цепь катушки контактора КМН, силовые контакты которого подключают к батарее электродвигатель МН маслопрокачивающего насоса. В дальнейшем катушка РУ6 получает питание через свой замы-
кающий блок-контакт и контакты РУ8 и РУ9, минуя кнопку ПД.
Размыкающий блок-контакт КМН вводит в цепь катушки РВ1 резистор СРВ/, благодаря чему уменьшается ток, а следовательно, и нагрев катушки реле. Прокачка масла продолжается заданное время, которое контролируется реле РВ1. Через это время размыкающий блок-контакт РВ1 с выдержкой времени выключит контактор КМН и двигатель МН, а замыкающие блок-контакты РВ1 замкнут цепь катушки пускового контактора Д1 и реле времени РВ2, контролирующего продолжительность пуска. В цепь катушки
контактора Д1 включены размыкающие блок-контакты контакторов КМН, Б и КВ и блок-контакт 105 устройства для проворота коленчатого вала дизеля, исключающие возможность пуска дизеля при включенных контакторах КМН, Б и КВ и опущенном червяке этого устройства.
После включения контактора Д1 через его замыкающий блок-контакт включаются контакторы ДЗ на обеих секциях, а затем контактор Д2. В результате якорь тягового генератора подключается к аккумуляторным батареям Б обеих секций, причем пусковая обмотка Я генератора оказывается соединенной последова-

Рис. 10.1. Электрическая схема тепловозов типа ТЭ10 {а и б)
тельно с якорем. Замыкающий блок-контакт контактора Д2 включает катушку электропневматического клапана ВП7 ускорителя пуска, а замыкающий блок-контакт Д1 — катушку блокировочного магнита БМ регулятора частоты вращения дизеля.
Через замыкающий блок-контакт БМ включится сигнальная лампа «дизель II секции» на второй секции тепловоза. После пуска дизеля, когда давление масла в системе поднимается до заданного значения, замкнется замыкающий блок-контакт реле давления масла РДМ1 и включит реле РУ9, которое своим
размыкающим блок-контактом выключит реле РУ6 и разомкнет цепь пуска. Если через определенное время после включения Д1 давление масла не достигнет заданного значения, то реле времени РВ2 своим размыкающим блок-контактом также выключит реле РУ6 и прекратит пуск, чтобы избежать длительного разряда батареи. Замыкающий блок-контакт реле РУ9 обеспечивает питание катушки БМ, минуя разомкнувшийся блок-контакт Д/.
Управление регулятором частоты вращения дизеля. Частота вращения коленчатого вала дизеля на каждой позиции контроллера машиниста

поддерживается постоянной при помощи регулятора. Для связи с контроллером в регуляторе имеются электромагниты МР1—МР4 или электропневматические клапаны (на тепловозах ТЭЗ и др.). Катушки магнитов МР1—МР4 соединены непосредственно с контактами контроллера, переключающимися в последовательности, показанной на развертке контроллера Каждой позиции соответствует определенная комбинация включенных катушек магнитов и, следовательно, определенная частота вращения коленчатого вала дизеля.
Трогание с места и движение тепловоза. Движение тепловоза под нагрузкой возможно только на 1-й и выше позициях контроллера. Поэтому питание катушек всех аппаратов, связанных с силовыми цепями, осуществляется через два контакта контроллера, последовательно соединенных и замкнутых на всех позициях, кроме нулевой. Для трога-ния тепловоза с места машинист должен включить автомат «Управление тепловозом» и установить реверсивную рукоятку контроллера в положение, соответствующее заданному направлению движения (по схеме «Вперед»), а главную на 1-ю позицию.
После этого включится катушка В (или Н) электропневматического клапана реверсора и его силовые контакты подключат обмотки возбуждения (К1—КК1) — (К6—КК6) тяговых двигателей к силовой цепи с требуемой для выбранного направления движения полярностью.
После включения силовых контактов замыкается блок-контакт реверсора и включаются электропневматические клапаны силовых контакторов П1—П6. Силовые контакты контакторов П1—П6 подключают тяговые электродвигатели /—6 к тяговому генератору Г, а замыкающие блок-контакты П1—П6 замыкают цепи контакторов КВ и ВВ возбуждения тягового генератора и возбудителя, обеспечивая возбуждение тяго-
вого генератора, появление напряжения на его якоре и тока в цепи тяговых двигателей (работа системы возбуждения на тепловозах ТЭ10 рассмотрена выше). Размыкающие блок-контакты Д1 и Д2 в этой цепи исключают возможность включения силовой цепи до окончания пуска дизеля; размыкающий блок-контакт РУ8 обеспечивает возможность включения контакторов КВ и ВВ только на 1-й позиции КМ, так как со 2-й позиции реле РУ8 включается. После трогания с места машинист устанавливает требуемый режим движения, задавая главной рукояткой контроллера ту или иную частоту вращения коленчатого вала дизеля, а значит, и мощность тепловоза. На нулевой позиции силовая установка тепловоза работает на холостом ходу (режим выбега).
Если по условиям движения включается реле перехода РП1 (РП2), то его замыкающий блок-контакт замыкает цепь катушки электропневматического клапана группового контактора BUH (ВШ2), силовые контакты которого включают параллельно обмоткам возбуждения тяговых двигателей шунтирующие резисторы С Uli—СШ2. Таким образом обеспечивается режим ослабленного возбуждения. При изменении условий движения реле РП1 (РП2) выключаются и отключают контакторы ВШ1 (ВШ2). Замыкающий блок-контакт BUH в цепи катушки напряжения реле РП2 обеспечивает правильную последовательность включения реле переходов, размыкающий блок-контакт В Uli (BUI2) подготавливает реле РП1 (РП2) к выключению, вводя в цепь катушек напряжения добавочные сопротивления.
Защита при боксовании. При бок-совании какой-либо колесной пары тепловоза частота вращения якоря связанного с ней тягового двигателя может превысить допустимую. Для прекращения боксования необходимо уменьшить вращающий момент тягового двигателя. На тепло-
возах для этого уменьшают возбуждение, а следовательно, и мощность тягового генератора. При этом уменьшается вращающий момент и небоксующих тяговых двигателей, а значит, и сила тяги всего тепловоза, что является недостатком такого способа.
Для обнаружения и прекращения боксования установлены реле боксо-вания РБ]—РБЗ, катушки которых включены в диагонали мостов, образованных якорями и обмотками главных и добавочных полюсов соответствующих пар тяговых двигателей. При отсутствии боксования токи тяговых двигателей равны (мост в равновесии) и ток в катушке реле боксования РБ равен нулю. При возникновении боксования ток в цепи тягового двигателя боксующей колесной пары резко уменьшается, равновесие моста нарушается и в катушке РБ, включенной в диагональ моста, появляется ток. Реле включается и своим размыкающим блок-контактом выключает контактор ВВ, снижая возбуждение тягового генератора, а замыкающий блок-контакт реле включает звуковой сигнал боксования СБ на обеих секциях. Одновременно замыкающий блок-контакт ВВ включает сигнальную лампу «Сброс нагрузки» на обеих секциях. После прекращения боксования ток в катушке РБ исчезает, реле выключается и восстанавливается нормальный режим работы.
Недостатком этой системы защиты является ее малая чувствительность при ослабленном возбуждении тяговых электродвигателей. В реальных условиях из-за расхождения характеристик тяговых двигателей, разных диаметров бандажей колесных пар и отклонений в сопротивлениях ослабления возбуждения токи в параллельных тяговых двигателях не равны, особенно при работе на ослабленном возбуждении (разница токов до 20 %). Не равны и сопротивления обмоток возбуждения тяговых двигателей. Поэтому в катушке реле РБ даже при отсутствии боксования воз-
можен ток. Реле регулируют так, чтобы в этом случае (ложное бок-сование) оно не срабатывало. Но при малой разнице токов, а это также возможно, реле не сработает, пока не разовьется значительное бок-сование и ток в катушке реле не достигнет заданного значения. Кроме того, при одновременном боксовании двух колесных пар реле может вообще не сработать. Поэтому на современных тепловозах находят применение системы, основанные на непосредственном измерении и сравнении скоростей и ускорений колесных пар.
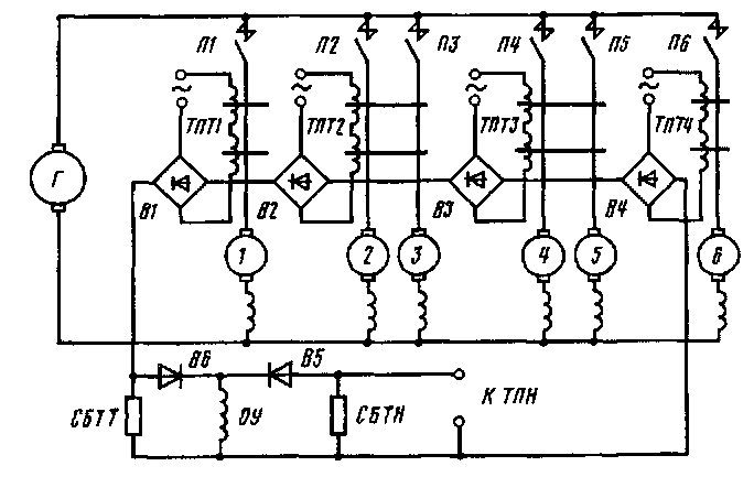
Процессы боксования на тепловозах осложняются еще и тем, что из-за уменьшения тока якоря тяговых двигателей боксующих колесных пар уменьшается и ток тягового генератора. В результате по внешней характеристике генератора увеличивается напряжение, подводимое к тяговым двигателям, а это способствует развитию боксования. Поэтому на части тепловозов 2ТЭ10Л и ТЭП60 и на тепловозах 2ТЭ10В и 2ТЭ116 применена так называемая система жестких динамических характеристик (ЖДХ).
Трансформаторы постоянного тока ТПТ1—ТПТ4 (рис. 10.2) измеряют токи, протекающие в тяговых двигателях / и 6 и группах двигателей 2—3 и 4—5. Токи рабочих обмоток ТПТ выпрямляются мостами В1—В4, соединенными между собой последовательно. Поэтому на выход схемы (в балластный резистор СБТТ селективного узла) поступает наибольший из токов ТПТ. При боксовании одного из двигателей уменьшается ток в цепи его якоря, но в селективный узел продолжает поступать сигнал от ТПТ, установленного в другой группе, где боксование в данный момент отсутствует. В результате напряжение тягового генератора остается постоянным, хотя ток якоря его уменьшается. В этом заключается отличие от схемы, где трансформатор ТПТ измеряет полный ток якоря тягового генератора, и, следовательно, при любом уменьше-

Рис. 10.2. Схема включения трансформаторов постоянного тока при жестких динамических характеристиках
нии тока генератора, вызванном бок-сованием, происходит увеличение напряжения генератора по селективной характеристике.
Однако система динамических жестких характеристик эффективна лишь при кратковременных боксо-ваниях, когда регулятор мощности дизеля не успевает привести в соответствие мощность дизеля и тягового генератора. Действительно, если напряжение тягового генератора остается постоянным при уменьшении тока якоря, то это означает уменьшение мощности генератора. Объединенный регулятор частоты вращения и мощности дизеля через индуктивный датчик должен увеличивать напряжение, т. е. и мощность генератора, так, чтобы восстановить равенство
![]()
Однако из-за большой инерционности регулятора мощности этот процесс происходит медленно, и при кратковременном боксовании напряжение тягового генератора не успевает увеличиваться. Поэтому такая система и называется системой динамических жестких характеристик.
Очевидно, что при одновременном боксовании всех колесных пар описанная схема не имеет существенных отличий от схемы на рис. 10.1.
Защита при заземлении силовой цепи. Первое замыкание силовой цепи на корпус не нарушает работу тепловоза. Однако при этом потенциалы некоторых точек относительно земли могут оказаться выше допустимых, а второе замыкание на землю может вызвать тяжелые повреждения оборудования. Поэтому на тепловозах предусмотрено заземление силовой цепи через катушку реле заземления РЗ. При включении реле заземления его размыкающий блок-контакт выключает контакторы ВВ и КВ, полностью снимая напряжение с тягового генератора. Замыкающий блок-контакт реле заземления включает сигнальные лампы на обеих секциях.
Отключение тягового двигателя.
При аварии одного из тяговых двигателей его можно отключить тумблерами ОМ!—ОМ6. При этом один контакт тумблера размыкает цепь катушки электропневматического клапана соответствующего силового контактора, а второй шунтирует замыкающий блок-контакт этого контактора, обеспечивая включение контактора КВ. Третий контакт тумблера вводит резистор в цепь задающей обмотки амплистата, что приводит к уменьшению мощности тягового генератора.
Размыкающий и замыкающий блок-контакты силового контактора в
цепи катушки контактора ВВ и сигнала боксования СБ обеспечивают в этом случае нормальную работу РБ в цепях включенных двигателей.
Защита дизеля. На тепловозе предусмотрены следующие защиты дизеля:
по давлению масла — при снижении давления ниже заданного реле РДМ1 выключает катушку блокировочного магнита БМ и останавливает дизель;
по давлению масла — если на 12— 15-й позициях контроллера давление станет ниже заданного, то реле РДМ2 выключит контактор КВ и снимет нагрузку с дизеля (до 12-й позиции блок-контакт реле РДМ2 шунтирован блок-контактом РУ4);
по температуре воды и масла — если температура воды или масла превысит заданное значение, то реле ТРВ или ТРМ выключит контактор КВ и снимет нагрузку с дизеля;
по давлению газов в картере — при появлении давления замкнутся блок-контакты дифференциального манометра К ДМ и включат реле РУ7, размыкающий блок-контакт которого выключит реле РУЗ и остановит дизель.
Замыкающий блок-контакт реле давления воздуха РДВ исключает возможность включения нагрузки и движения тепловоза до тех пор, пока давление воздуха в главных резервуарах не достигнет заданного значения.










