§ 47. Общие сведения
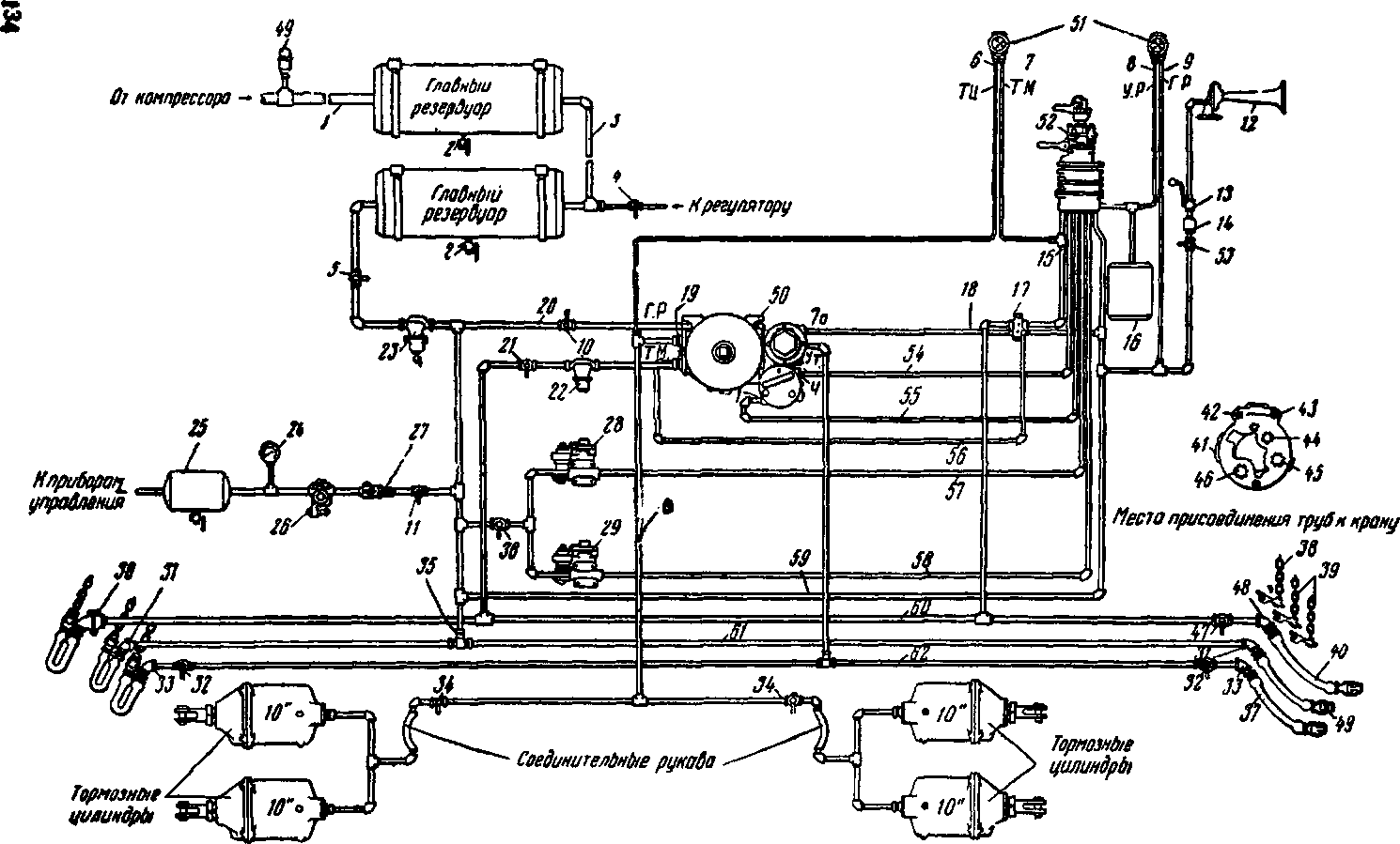
Тепловозы серии ДА оборудованы тормозами типа 14-ЕЬ системы Вестингауза, конструктивные особенности которых заключаются в следующем.
1. Для получения сжатого воздуха установлен трёхцилиндровый компрессор двойного сжатия, который приводится в действие от главного вала дизеля.
2. Имеются два крана машиниста: один поездной типа Н-6 и другой вспомогательный (независимый) типа Э-6. Применением поездного крана можно получить торможение и отпуск одновременно состава и тепловоза, а применением вспомогательного крана — только одного тепловоза.

3. Для автоматического поддержания давления в тормозной магистрали при втором и третьем положениях ручки крана машиниста служит питательный клапан типа М-З-А. Такого же типа понижающий (редукционный) клапан подводит воздух уменьшенного давления из главного резервуара к вспомогательному крану машиниста.
4. Для получения более надёжной устойчивости в работе автотормоза использован пря-модействующий воздухораспределитель типа б-ДгШ, который состоит собственно из воздухораспределителя, двухкамерного резервуара и укреплённой между^ ними промежуточной части.
5. Вдоль тепловоза укреплены три воздухопровода: тормозная магистраль 1", труба главных резервуаров 1" и уравнительный трубопровод 3/4" с соединительными рукавами у буферных брусьев.
6. Нажатие колодок на бандажи передаётся через восемь тормозных цилиндров диаметром 10", расположенных на четырёх боковых рамах обеих тележек (по два цилиндра с каждой стороны тележки).
7. Два главных резервуара укреплены между тележками поперёк кузова тепловоза.
8. На общем щите в кабине управления размещены один под другим два воздушных манометра размером З1/^' каждый.
9. На тормозной трубе под краном машиниста вместо крана двойной тяги установлен трёхходовой (комбинированный) кран. При третьем положении этого крана уравнительная труба, уложенная вдоль тепловоза, соединяет тормозные цилиндры двух или более сцепленных тепловозов при управлении по системе многих единиц. В этом случае при торможении независимым краном на головном действующем тепловозе давление в тормозных цилиндрах этого тепловоза распространяется через передаточный клапан на тормозные цилиндры остальных тепловозов.
10. При торможении воздух в тормозные цилиндры тепловоза поступает из главных резервуаров, что даёт возможность не ставить отдельные запасные резервуары.
11. При следовании недействующего тепловоза или с неисправным компрессором наличие
специального приспособления «недействующего тепловоза» позволяет заряжать главные резервуары из тормозной магистрали и включать в действие тормоз тепловоза как вагонный.










